Высокотемпературная установка для измерения коэффициента линейного расширения
- Авторы: Тарасиков В.П.1
-
Учреждения:
- АО “ГНЦ РФ Физико-энергетический институт им. А.И. Лейпунского”
- Выпуск: № 1 (2024)
- Страницы: 197-199
- Раздел: ЛАБОРАТОРНАЯ ТЕХНИКА
- URL: https://journal-vniispk.ru/0032-8162/article/view/263880
- DOI: https://doi.org/10.31857/S0032816224010274
- EDN: https://elibrary.ru/DTKRQD
- ID: 263880
Цитировать
Полный текст
Аннотация
Приведено описание высокотемпературной (до 1600 °С) установки по измерению коэффициента линейного расширения с использованием относительного метода. Измерительный блок установлен в защитном перчаточном боксе, что позволило проводить измерения на образцах, облученных в реакторе. Изменения длины образца при нагреве фиксировались индикаторной головкой часового типа с точностью 1 мкм с пределами измерения (0–10) мм. Установка использовалась для определения значений распухания облученных образцов при высокотемпературных отжигах и получения значений коэффициента линейного расширения перспективных реакторных материалов. Средняя относительная ошибка измерений составляет 8–11%.
Полный текст
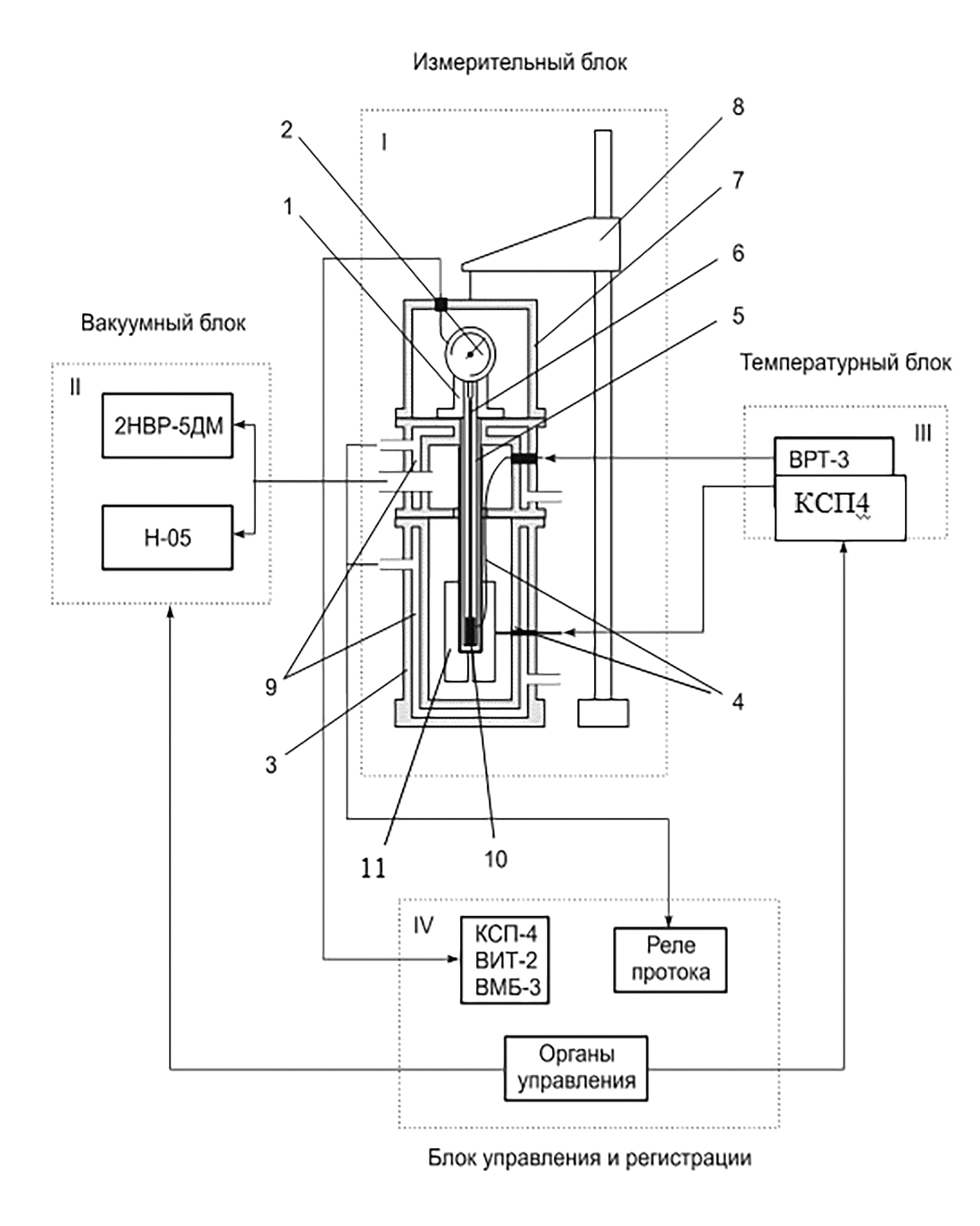
1. УСТРОЙСТВО УСТАНОВКИ
Принципиальная схема установки приведена на рис. 1 и состоит из измерительного блока (I), вакуумного блока (II), температурного блока (III) и блока органов управления и регистрации (IV). Измерительный блок установки помещается в защитный перчаточный бокс, что позволяет проводить измерения на образцах, прошедших реакторное облучение. Измерительный блок состоит из печи с нагревателем из молибдена, системы контроля температуры, измерительной части и соединен с вакуумной системой.
Рис. 1. Схема высокотемпературного вакуумного дилатометра: 1 – cтолик крепления измерительной головки, 2 – измерительная головка часового типа ИЧ 10 0.001, 3 – корпус печи, 4 – термопары, 5 – молибденовая трубка с заглушкой для установки образца, 6 – молибденовый шток, 7 – колпак измерительного блока, 8 – подъемник колпака, 9 – рубашка охлаждения корпуса печи, 10 – образец, 11 – электропечь с экранами.
2. ПРИНЦИП ИЗМЕРЕНИЯ
Измерения коэффициента линейного расширения и изменения высоты облученных образцов при различных температурах проводились на высокотемпературном вакуумном дилатометре с использованием контрольных образцов [1, 2]. Контрольные образцы изготавливались из молибдена, кварца, стали Х18Н10Т и карбида бора с размерами, идентичными испытуемым образцам.
Измерения проводились в вакууме 10-2 Па при температурах на образцах (300–1600) °С.
Вакуум внутри системы обеспечивался вакуумным пластинчато-роторным 2НВР–5ДМ [3] и высоковакуумным паромасляным Н-05 [4] насосами и контролировался вакуумметрами ионизационно-термопарным ВИТ-2 и магнитным блокировочным типа ВМБ-3 [5, 6].
Заданная температура поддерживалась высокоточным регулятором температуры ВРТ-3 [7], контроль температур на образце осуществлялся автоматическим самопишущим прибором КСП-4 [8]. В качестве задающей и контрольной использовались платино-платинородиевые термопары 4.
Образец 10 устанавливался на столике в молибденовой трубе 5 через вырезанное боковое окно в трубке. Изменение длины образца при нагревании с помощью молибденового штока 6 передавалось на часовой индикатор 2. Для отсчета изменения длины контрольного и испытуемого образцов использовалась часовая индикаторная головка 2 с ценой деления 1 мкм с пределами измерения (0–1) мм.
3. МЕТОДИКА ИЗМЕРЕНИЯ
Отработка методики измерения изменения длины образца заключалась в получении поправок для образцов с заданной высотой при каждой температуре по контрольным образцам с известными значениями температурного коэффициента линейного расширения. Контрольные образцы изготавливались из молибдена, кварца, стали Х18Н10Т и карбида бора с размерами, идентичными испытуемым образцам. Величины температурного коэффициента линейного расширения для контрольных образцов взяты из работ [9–11]. Удлинение образца вычислялось из соотношения
Δl = A · (n2 − n1 ) + Δlд.яч., (1)
где А – постоянная прибора, для индикаторной головки А = 1 мкм; n2, n1 – отсчет изменения длины образца при температурах t2 и t1; ∆lд.яч. – поправка, учитывающая удлинение внешней части дилатометрической ячейки на длине образца в температурном интервале ∆t = t2–t1. Расчет температурного коэффициента линейного расширения исследуемых образцов проводился по известной формуле [1]:
α = Δl / l0 · Δt, (2)
где ∆l – удлинение образца при заданной температуре t2, l0 – длина (высота) образца при t1 = 20 °С, ∆t = t2–t1. Для повышения достоверности на контрольных и испытуемых образцах измерения проводились 5–6 раз при выдержках при заданной температуре около 2 ч.
4. РЕЗУЛЬТАТЫ ИЗМЕРЕНИЯ
Высокотемпературная установка использовалась для определения значений температурного коэффициента линейного расширения перспективных реакторных материалов в исходном и облученном в реакторе состояниях и распухания облученных образцов карбида бора при высокотемпературных отжигах (рис. 2, 3) [12, 13]. По результатам многочисленных полученных данных определена средняя относительная ошибка измерений в пределах 8–11%.
Рис. 2. Зависимость коэффициента линейного расширения (КЛР) сплава V–4Ni–4Cr от температуры [12].
Рис. 3. Зависимость увеличения длины образцов карбида бора от температуры и выгорания бора [13].
5. ЗАКЛЮЧЕНИЕ
Установка позволяет с достаточно хорошей достоверностью (8–11%) получать значения температурного коэффициента линейного расширения исследуемых материалов, а также их распухание при высокотемпературных отжигах после реакторного облучения.
Об авторах
В. П. Тарасиков
АО “ГНЦ РФ Физико-энергетический институт им. А.И. Лейпунского”
Автор, ответственный за переписку.
Email: vptarasikov@mail.ru
Россия, 249033, Обнинск, Калужская обл., пл. Бондаренко, 1
Список литературы
- Новикова С.И. Тепловое расширение твердых тел. М.: Наука, 1974.
- Аматуни Я.Н. Методика и приборы для определения температурных коэффициентов линейного расширения материалов. М.: Изд. стандартов, 1972.
- Насос вакуумный пластинчато-роторный 2НВР-5ДМ. Паспорт 2057 364813 2508 00 4 ПС, Казань, 1980.
- Вакуумметр ионизационно-термопарный ВИТ-2. Техническое описание и инструкция по эксплуатации. М.: Изд. стандартов, 1980.
- Вакуумметр магнитный блокировочный типа ВМБ-3 Выпускной аттестат, техн. описание и инструкция по эксплуатации. М.: Изд. стандартов, 1980.
- Высоковакуумный паромасляный насос Н-5. Паспорт ди2.960.006. Казань: Тат. ЦНТИ, 1980.
- Высокоточный регулятор температуры ВРТ-3. Техническое описание и инструкция по эксплуатации. Каунас: “Райде”, 1980.
- Потенциометр КСП-4 автоматический. Техническое описание инструкция по эксплуатации. Паспорт 4АО.072.004 ПС.
- Физические свойства сталей и сплавов, применяемых в энергетике. Справочник / под редакцией Б.Е. Неймарка. М.: Энергия, 1967.
- Кржижановский Р.Е. Теплофизические свойства неметаллических материалов (окислы). Справочная книга / под редакцией Р.Е. Кржижановского, З.Ю. Штерна. Л.: Энергия, 1973.
- Кржижановский Р.Е. Теплофизические свойства неметаллических материалов (карбиды). Справочная книга / под редакцией Р.Е. Кржижановского, З.Ю. Штерна. Л.: Энергия, 1973.
- Биржевой, Г.А., Захарова М.И., Артёмов Н.А., Алексеев А.Б., Тарасиков В.П. // Металлы. 1996. № 5. С. 61.
- Тарасиков В.П. Атомная энергия. 2009. Т. 106. № 3. С. 173.
Дополнительные файлы





