Method for studying the form changing of connecting rod bearings of the crankshaft of a car engine in operation (using the example of KAMAZ-740)
- Authors: Kulakov O.A.1, Gafiyatullin A.A.2, Kalimullin R.F.3
-
Affiliations:
- Non-commercial partnership «KAMAZ-Avtosport»
- Engine Plant, Public Joint Stock Company KAMAZ
- Federal State Autonomous Educational Institution of Higher Education «Kazan (Volga region) Federal University»
- Issue: No 6 (2023)
- Pages: 79-91
- Section: Transport
- URL: https://journal-vniispk.ru/2077-7175/article/view/287410
- DOI: https://doi.org/10.25198/2077-7175-2023-6-79
- ID: 287410
Cite item
Full Text
Abstract
The relevance of the topic of the article is due to the unresolved problem of failures of automobile engines, in particular, modern mass-produced engines of the KAMAZ-740.10, 7403 families, due to cranking of the connecting rod bearings, and the need for deeper studies of the processes and phenomena that lead to them, and the development of solutions that exclude them in operation.
The purpose of the study is to ensure the reliability of automobile engines by reducing the risk of crankshaft connecting rod bearings turning in operation by developing a method for studying their shape change and applying it when substantiating and implementing various design, technological and operational solutions.
A prototype is described and a developed method and device for determining the clearance in a connecting rod bearing, suitable for studying the formation of connecting rod bearings under engine test bench conditions. The prototype was a differential-type pneumatic device used in active control devices for honing cylinder liners. With the use of the described device, a method for studying the formation of connecting rod bearings under the conditions of bench tests of KAMAZ-740.10 diesel engines was developed and tested.
The use of new methods, devices and techniques makes it possible to investigate the patterns of shape changes of connecting rod bearings in relation to lubrication conditions, temperature and load conditions of the engine, and other factors.
The presented experimental results show that the gap in the connecting rod bearing is not stable, is caused not only by wear, but also by the resulting deflection of the liner, and significantly depends on the temperature regime of the engine - with an increase in oil temperature, the gap decreases due to an increase in deflection. The authors explain the formation of deflection and shape change of the liners by the loss of its stability from the action of loads and internal stresses under conditions of instability of the oil supply.
The results of experimental studies presented in the article have a scientific novelty, since a previously undescribed and not fixed decrease in the gap due to the deflection of the liners, which is formed immediately from the start of operation after the engine is assembled, is established, and its value is variable and determined by the temperature regime.
Practical significance – the developed method makes it possible to study the formation patterns of crankshaft connecting rod bearings to test the effectiveness of design, technological and operational solutions to prevent their turning during the operation of an automobile engine.
The main directions of promising research is the substantiation of practical solutions to ensure the stability of the shape of the liners during long-term operation of the engine.
Full Text
Введение
Одним из опасных по последствиям и трудно предсказуемых в эксплуатации отказов автомобильной техники является проворачивание шатунных вкладышей коленчатого вала двигателей [2; 4; 7; 10]. Несмотря на большое количество научно-исследовательских и опытно-конструкторских работ в области повышения надежности автомобильных двигателей как отечественного, так и зарубежного производства, обоснования и внедрения различных конструктивных, технологических, эксплуатационных решений [2; 3; 8; 14; 15; 16; 18; 19; 20], проблема проворачивания шатунных вкладышей полностью не решена до настоящего времени.
Исследованию причин проворачивания шатунных вкладышей посвящены многочисленные работы [4; 6; 8; 20]. Считается, что основная причина – это нарушение режима гидродинамической смазки в шатунных подшипниках, приводящее к увеличению тепловыделений и коэффициента трения, росту момента трения на трущуюся поверхность вкладышей и срывание их с посадки в расточке шатуна. Отказ относится к категории эксплуатационных, причем он может внезапно появиться как на новых двигателях, так и после ремонта. При ремонте могут быть различные ошибки, приводящие к проворачиванию вкладышей:
- ошибка при дефектовке – её недостаточные объём и качество приводит к тому, что не были обнаружены какие-либо неисправности (например, изношенный масляный насос, разбитые и перепутанные крышки шатунов, забитые масляные каналы, разбитое посадочное место вкладыша);
- ошибки при подборе запчастей – несоответствие вкладышей определенной группе приводит к установке их с неправильной толщиной (слишком тонкие чрезмерно увеличивают масляный зазор и уменьшают натяг, толстые вкладыши – уменьшают зазор или даже зажимают вал), а при подборе аналогов вероятность ошибки возрастает, поскольку добавляются другие, кроме толщины, факторы неправильной конструкции – другой размер, отсутствие замков, отсутствие отверстия для смазки и т. д.);
- ошибки при сборке – отсутствие смазки вкладышей маслом, неправильная установка вкладышей и шатунных крышек, недостаточная или избыточная затяжка крышек.
При производстве двигателей ошибки, аналогичные при ремонте, практически исключены. В качестве основной причины проворачивания шатунных вкладышей на дизельных двигателях ЯМЗ-238, -240; КАМАЗ-740 специалистами заводов ЯМЗ [2] и КАМАЗ [10] считалось попадание в подшипники с маслом абразивных загрязняющих примесей. Проведенные конструкторские и эксплуатационные мероприятия по исключению абразива в системе смазки, однако, не исключили отказов двигателей из-за проворачивания шатунных вкладышей. Причем проворачивание нередко наблюдалось у двигателей с исправной системой смазки, при отсутствии заметных износов в сопряжении, даже у относительно новых двигателей в начальный период эксплуатации. Так, по данным исследований [4], основное количество отказов (54%) двигателей КАМАЗ-740.10 происходит при эксплуатации до 10 тыс. км, а на отказ «проворачивание» шатунных вкладышей приходится самое большое количество (24%). Таким образом, исследования процессов и явлений, приводящих к проворачиванию шатунных вкладышей у современных двигателей, актуально в настоящее время.
Шатунные подшипники содержат, как правило, два триметаллических вкладыша, наружная поверхность каждого из которых изготовлена из стальной ленты с нанесенным на ее внутреннюю поверхность антифрикционным материалом. Вкладыши охватывают шейку коленчатого вала и стыкуются между собой в диаметральной плоскости.
Зазор в шатунном подшипнике неизбежно увеличивается в процессе длительной эксплуатации из-за износов шатунной шейки коленчатого вала и рабочей поверхности шатунных вкладышей. Практически установлено, что износ происходит в первой половине межремонтного периода, вследствие чего возрастает величина зазора и снижается давление в системе смазки.
Вместе с тем, исследованиями установлено [4; 5], что проворачивание вкладышей является итогом двух процессов – изнашивания сопрягаемых поверхностей и его последовательного формоизменения (рисунок 1), который выражается в образовании прогиба по образующей и уменьшении фактического зазора в шатунном подшипнике вследствие пластической деформации из-за сложного комплексного действия напряжений различной природы.
Рисунок 1. Схема формоизменения (развития деформации) шатунного вкладыша (S − зазор в сопряжении): а) вкладыш в нормальном состоянии; б) начальная стадия деформации (снижение зазора); в) последняя стадия деформации (зазор отсутствует)
Источник: заимствовано из [4]
На первой стадии этого процесса (рисунок 1, б) в наиболее нагруженной зоне (совпадающей с осью цилиндра двигателя), посередине образующей вкладыш, появляются натиры. При дальнейшей работе двигателя в зоне натиров образуются прижоги с нарастающим прогибом в сторону шейки вала, снижением проектного зазора в сопряжении «вал - вкладыш» и нарушением процесса смазки и гидродинамики подшипника. В этих условиях происходит снижение фактического зазора до нуля (рисунок 1, в), увеличение стрелы прогиба вкладыша с последующим схватыванием, заеданием рабочей поверхности и проворотом вкладыша в расточке шатуна, часто с местным перегревом шейки вала и его деформацией.
Таким образом, такой структурный параметр, как «зазор в шатунном подшипнике», является результатом суммарного действия двух разнонаправленных процессов – его увеличения при изнашивании и уменьшения при деформации в виде прогиба. При этом отказы двигателей вызываются в итоге уменьшением зазора из-за образования прогиба вкладыша, которые, также как и износы, надо уметь диагностировать.
Анализ известных способов оценки технического состояния подшипников коленчатого вала [11; 12] показывает необходимость определения более глубоких связей структурного параметра с диагностическими, и учет не только изнашивания, но и формоизменения вкладышей.
Цель исследования – обеспечение надежности автомобильных двигателей уменьшением риска проворачивания шатунных вкладышей коленчатого вала в эксплуатации за счет разработки метода исследования их формоизменения и применения его при обосновании и внедрении различных конструктивных, технологических и эксплуатационных решений.
Описание способа и устройства для определения зазора в шатунном подшипнике коленчатого вала двигателя внутреннего сгорания
В рамках решений задач для достижения цели разработан способ и устройство для определения зазора в шатунном подшипнике коленчатого вала работающего двигателя [5; 9; 13; 17]. Способ направлен на контроль уменьшения зазора в шатунном подшипнике из-за образования прогиба шатунных вкладышей.
В основу разработки положен прототип – пневматическое устройство дифференциального типа, применяемое в приборах активного контроля при хонинговании гильз цилиндров [1].
В измерительной схеме [5; 17] устройства-прототипа (рисунок 2, а) применяется подготовленный сжатый воздух, и производится сравнение двух давлений р1 и р2. В качестве измерителя давлений применяются сильфонные, мембранные дифференциальные манометры, реагирующие на разность давлений Δр = р1 – р2 в двух ветвях системы. На схеме дифференциального сильфонного прибора (рисунок 2, б) сжатый воздух из пневмосети, пройдя через блок фильтра и стабилизатора, под постоянным давлением истекает через входные сопла 3 и 8 в полости сильфонов (металлические гофрированные пружины). Из левого сильфона воздух через кольцевой зазор S, образованный торцом измерительного сопла 6 и поверхностью контролируемой детали, истекает в атмосферу. В этом сильфоне создается измерительное давление р1, величина которого зависит от размера контролируемой детали. Из правого сильфона воздух истекает в атмосферу через узел противодавления 5, а в полости сильфона создается постоянное давление р2. Свободные концы сильфонов жестко связаны стяжкой 2, подвешенной на плоских пружинах 4 и 7. Положение подвижной системы прибора определяется разностью измерительного давления p1 и некоторого постоянного противодавления р2.
1 – сопло-заслонка; 2 – объект измерения; 3 – сопло; 4 – показывающий прибор; 7 – механизм; 2 – стяжка; 3 и 8 – входные сопла; 4, 7 и 11 – плоские пружины; 5 – узел противодавления; 6 – измерительное сопло; 9 – винты; 10 – упоры
Рисунок 2. Дифференциальный пневматический прибор: а) измерительная схема; б) схема дифференциального сильфонного прибора
Источник: заимствовано из [5; 13]
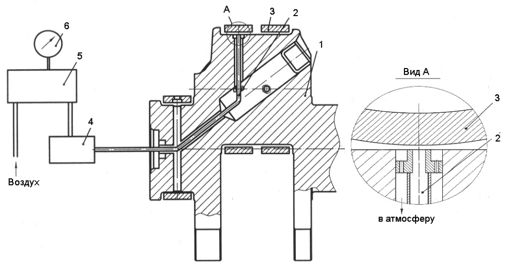
На основе описанного прототипа разработан способ [13] для определения зазора в шатунном подшипнике двигателя КАМАЗ-740.10, и на рисунке 3 показана схема реализующего его измерительного устройства.
1 – коленчатый вал; 2 – трубки подвода воздуха к жиклерам; 3 – шатунный вкладыш; 4 – переходная муфта; 5 – узел подготовки воздуха; 6 – электронное измерительное устройство
Рисунок 3. Схема определения зазора в шатунном подшипнике двигателя КАМАЗ-740.10
Источник: заимствовано из [13]
В общем случае определение зазора заключается в следующем [5]. В масляных каналах коленчатого вала 1 проложены трубки, образующие общий канал подвода воздуха 2, из которого в зазор между шейкой коленчатого вала и вкладышами 3 через выполненную измерительную систему сопло-заслонка в окончании канала на поверхности шатунной шейки подается воздух. Конструкция сопла выполнена в виде ввёртыша с наружным диаметром 4 мм, калиброванного отверстия в нем с внутренним диаметром 1 мм на носике, заглубленном на 2 мм от поверхности шейки, с отводящими отверстиями отработавшего воздуха через масляные каналы внутрь картера и в атмосферу. Функцию прикрывающей выход воздуха заслонки выполняют рабочая поверхность верхнего шатунного вкладыша 3. Сжатый воздух с давлением 0,2 МПа от узла подготовки воздуха 5, электронное измерительное устройство 6 по воздушной магистрали подается в переходную муфту 4, давление контролируется манометром. Воздух проходит через переходную муфту 4 во вращающийся коленчатый вал и в систему двух сопло-заслонок 2, выходящих диаметрально противоположно на поверхность шатунной шейки, функцию заслонки выполняют вкладыши 2 (на рисунке 3 показано сечение вкладыша с прогибом). Разность объемов воздуха, проходящего через сопла, определяет перепад давления между сильфонами в преобразователе давления. Перепад давления преобразуется в электрический сигнал и показания индикатора измерительного прибора со шкалой, проградуированной от 0% до 100% [5].
Коленчатый вал двигателя доработан по передней шейке 5-го цилиндра для подвода измерительного воздуха по оси коленчатого вала с выходом через два жиклера, расположенных диаметрально противоположно в плоскости 30о от оси кривошипа после ВМТ 5-го цилиндра по центру шейки [7]. В разработанном устройстве применялся преобразователь давления «Сапфир-22Д» и измерительное устройство типа «Marposs».
С применением описанного устройства разработана и апробирована методика исследования формоизменения шатунных вкладышей в условиях стендовых испытаний дизельных двигателей КАМАЗ-740.10.
Методика исследования формоизменения шатунных вкладышей в условиях стендовых испытаний дизельных двигателей
Перед сборкой двигателя проводили микрометраж вкладышей по величине выступания над стыком в контрольном приспособлении, по размеру в плоскости стыков диаметр в свободном состоянии, наличию прогиба до и после монтажа. Точность измерения выступания вкладышей в контрольном приспособлении – 0,001 мм; диаметра по стыку в свободном состоянии – 0,01 мм, прогиба – 0,01 мм. Вкладыши для испытания и замены подбирали в пределах чертежных допусков. Перед установкой вкладышей проводили также микрометраж расточек нижних головок шатунов. Шатунные болты при этом затягивали до удлинения 0,25–0,27 мм. Также снимали круглограммы на приборе «Talirond». После установки вкладышей (шатунные болты также затягивали до удлинения 0,25–0,27 мм.) повторно снимали круглограммы расточек шатунов и профилограммы рабочей поверхности вкладышей по образующей [7].
После замера диаметра шатунной шейки рассчитан фактический зазор в сопряжении «шатунная шейка – вкладыш». Зазор в первом шатунном подшипнике в исходном состоянии составил Sо = 105 мкм. По результатам микрометража установлено, что шатун в сборе с вкладышами и зазор в шатунном подшипнике соответствует конструкторской документации.
На коленчатом валу перед установкой в двигатель с использованием измерительной системы производили подгонку и тарировку жиклеров по расходам воздуха совместно с вкладышами.
Измерительная система позволяет определить изменение зазора в шатунном подшипнике относительно начального.
Измерения проводятся на остановленном двигателе в положении оси жиклеров вдоль оси шатуна в такте сжатия при закрытых клапанах. Для этого путем ручного поворота совмещаются специальные метки на маховике и неподвижном картере маховика и фиксировались показания индикатора. Индикатор по фактическому расходу воздуха, преобразованному в электрический сигнал через перепад давления на мембране преобразователя 2, показывал величину зазора в процентах [7].
После предварительной холодной прокрутки на моторном стенде до запуска двигателя открывалась подача воздуха на измерительную систему и стрелка индикатора устанавливалась на отметку 100%, показывая исходный зазор. Затем на моторном стенде двигатель запускался и работал кратковременно (время выдержки на каждом режиме от 1 до 3 минут) при различных нагрузочных режимах и параметрах, определенные методикой (температура охлаждающей жидкости, давление в системе смазки, продолжительность и другие).
Определяли начало образования прогиба вкладышей по увеличению разницы исходного зазора Sо и зазоров после работы на режимах Si и ее росту (накоплению).
Исследования проводились на Заводе двигателей ПАО «КАМАЗ» на стенде для контрольных испытаний фирмы «AVL» с гидротормозом фирмы «SCHENCK». На рисунке 4 представлены фотографии элементов устройства, подключенного к двигателю КАМАЗ-740.10.
Рисунок 4. Фотографии элементов устройства для определения зазора в шатунном подшипнике коленчатого вала двигателя: а) измерительный блок, узел подготовки воздуха, дифференциальный манометр; б) приемный штуцер ДВС и переходная муфта для подвода воздуха
Источник: заимствовано из [5; 13]
Применение новых способа, устройства и методики позволило исследовать закономерности формоизменений шатунных вкладышей во взаимосвязи с условиями смазки, температурными и нагрузочными режимами двигателя в процессе его работы, и другими факторами.
Результаты экспериментальных исследований формоизменения шатунных вкладышей
Программа первого этапа экспериментальных исследований содержала пять опытов, каждый их которых включал в общем случае четыре стадии: I – «настройка» – циклы из холодной (холостой) прокрутки и останова для выставления индикатора на исходный зазор (S = 100%), II – «поджарка» – циклы из наброса и сброса частоты вращения коленчатого вала (без нагрузки), III – «восстановление» – циклы из холодной прокрутки и останова двигателя и IV – «выдержка» – остывание остановленного двигателя и замер фактического зазора.
Кроме частоты вращения n контролировались температура масла tм в главной масляной магистрали и параметр S. Причем параметр S фиксировался также на работающем двигателе, однако достоверным для определения зазора считается его определение на остановленном двигателе (при n = 0). Давление в масляной магистрали соответствовало номинальным значениям.
На рисунке 5 показан пример диаграмм контролируемых параметров от продолжительности испытания для одного из опытов.
Рисунок 5. Пример диаграмм контролируемых параметров от продолжительности испытания
Источник: разработано авторами
На рисунке 6 на примере одного из опытов показаны стадии и характерные закономерности изменения параметра S.
Рисунок 6. Диаграмма изменения параметра S на разных стадиях опыта от продолжительности (числа на диаграмме – частота вращения коленчатого вала)
Источник: разработано авторами
Из анализа графика на рисунке 6 установлено искомое формоизменение вкладышей с вероятным образованием прогиба, которое выражается характерными изменениями и областями значения параметра S:
- на стадии «настройки» значение параметра S при частоте холостой прокрутки (n = 300 мин-1) на 25 % меньше, чем при n = 0;
- на стадии «прожарки» значение параметра S уменьшилось до 15–17% при n = 2900 мин-1; после «прожарки» – увеличилось до 80 % при n = 300 мин-1;
- преломилась направленность изменения параметра S при прокрутке с n=300 мин-1 и остановке на противоположное до и после «прожарки» при n = 2900 мин-1;
- на стадии «восстановления» значение параметра S далее увеличилось до 90% при n = 300 мин-1 и стало больше значения при n = 0, которое увеличилось с 50% до 76%;
- при «выдержке» продолжительностью около 520 минут зазор с 76% вернулся к практически исходной величине 97%.
Отмеченные особенности изменения значения параметра S отражают картину не «мертво сидящего» вкладыша в расточке, а «дышащего» под воздействием напряженного состояния и внешних факторов – уменьшение и увеличение зазора по времени, и возвращение к исходному размеру при достаточно большой продолжительности, а при более напряженном состоянии накопление и образование остаточных деформаций за счет упругих напряжений при полученном формоизменении.
Были сгруппированы данные по параметру S, измеренному при n = 0, и соответствующей температуре масла tм для стадий «прожарки» и «остывания». На рисунке 7 показаны полученные зависимости S – tм для этих стадий.
Рисунок 7. Экспериментальные зависимости параметра S от температуры масла tм для разных стадий опытов: а) «прожарки», б) «остывания»
Источник: разработано авторами
Результаты анализа зависимостей показывают, что зазор в шатунном подшипнике существенно зависит от температурного режима двигателя – с увеличением температуры масла зазор уменьшается. Диапазон варьирования параметра S составляет от 90 ± 5% при tм = 15 ± 5 °С до 40 ± 10 % при tм =70 ± 15 °С.
В целом, в ходе испытаний получены и зафиксированы фазы образования и нарастания прогиба до величины, равной 0,01∆S · Sо= 0,01 · 60 · 105 = 63 мкм, а также его релаксации за длительное время (от 3 ч до 9 ч), если режимы смазки сохраняются штатными (давление масла номинальное).
Был проведен второй этап исследований с аналогично описанными циклами испытаний, но с уменьшенным в 2,5 раза давлением масла (до 0,22–0,23 МПа) на стадии «прожарки». При таких условиях режим смазки в шатунных подшипниках существенно ухудшается и увеличивается температура вкладышей. Установлено увеличение деформации вкладыша (до S = 35%), которое полностью не восстановилось через 24 часа (до S = 75%). Таким образом, в процессе испытаний на двигателе по первой шатунной шейке зазор уменьшился за счет деформации вкладышей на ΔS = 0,01 · 25 · 105 = 26 мкм.
После разборки двигателя, подвергнутого таким испытаниям, при экспертизе вкладышей обнаружены следы натира по горбинке, установлены наличие прогиба величиной 10–15 мкм, незначительное снижение выступания до 10 мкм, снижение распрямления на 0,2 мм.
Таким образом, было доказано соответствие изменений измеряемого параметра и зазора в шатунном подшипнике, а также подтверждена гипотеза о постоянстве формоизменений изначально идеальных вкладышей в процессе работы, и в целом адекватность предложенного метода.
Заключение
Решение проблемы проворачивания шатунных вкладышей коленчатых валов автомобильных двигателей авторами видится в недопустимости или минимизации прогиба и формоизменения в эксплуатации двигателей. Явление образования прогиба и формоизменения вкладышей считается недостаточно изученным, хотя объясняется многими исследователями потерей его устойчивости от действия нагрузок и внутренних напряжений в условиях нестабильности подвода масла.
При анализе работоспособности шатунных подшипников и закономерностей изменения зазора в них необходимо исследовать не только изнашивание трущихся поверхностей, но и формоизменение вкладышей. Для экспериментального определения зазора в шатунном подшипнике коленчатого вала двигателя при испытании и диагностике запатентован способ и разработано устройство. С использованием устройства разработана и апробирована методика экспериментального исследования формоизменения шатунных вкладышей в условиях стендовых испытаний дизельных двигателей КАМАЗ-740.10.
Представленные в статье результаты экспериментальных исследований обладают научной новизной, поскольку установлено ранее не описанное и не фиксированное уменьшение зазора из-за прогиба вкладышей, который образуется сразу с момента начала работы после сборки двигателя, а его величина переменна и определяется температурным режимом. Установлено влияние снижения уровня давления масла до критического 0,22 МПа на образование и нарастание прогиба до размера зазора в шатунном подшипнике, в том числе нерелаксируемого остаточного прогиба и его последующее накопление.
Разработанный метод экспериментального определения фактического зазора в шатунном подшипнике коленчатого вала позволяет проводить исследования формоизменения вкладышей для проверки эффективности принимаемых конструктивных, технологических и эксплуатационных решений для исключения их проворачивания при работе автомобильного двигателя.
Основными направлениями перспективных исследований является обоснование практических решений для обеспечения стабильности формы вкладышей в процессе длительной работы двигателя. Одним из таких решений является совершенствование ремонтного комплекта шатунных вкладышей, заключающееся в улучшении технологии изготовления триметаллической ленты, увеличении толщины стальной основы, оптимизации величин выступания и распрямления вкладышей.
В целом, применительно к автомобильным двигателям, разработанный метод и выявленные явления и закономерности вносят вклад в развитие методов диагностирования, изучение закономерностей изменения технического состояния, совершенствование конструкции, системы технического обслуживания и ремонта, обеспечение эксплуатационной надежности, что свидетельствует о ценности проведенного исследования для развития отрасли науки «Эксплуатация автомобильного транспорта».
About the authors
Oleg A. Kulakov
Non-commercial partnership «KAMAZ-Avtosport»
Author for correspondence.
Email: kulakov.o@mail.ru
master mechanic
Russian Federation, Naberezhnye ChelnyAskhat A. Gafiyatullin
Engine Plant, Public Joint Stock Company KAMAZ
Email: gafiatullin@kamaz.ru
Candidate of Technical Sciences, Deputy Chief Engineer for Production
Russian Federation, Naberezhnye ChelnyRuslan F. Kalimullin
Federal State Autonomous Educational Institution of Higher Education «Kazan (Volga region) Federal University»
Email: rkalimullin@mail.ru
ORCID iD: 0000-0003-4016-2381
Scopus Author ID: 6602711766
ResearcherId: E–9031–2015
Naberezhnye Chelny Institute; Professor of the Department of Operation of Road Transport, Acting Head of the Department of Operation of Road Transport
Russian Federation, Naberezhnye ChelnyReferences
- Volosov, S. S. et al. (1984) Aktivnyy kontrol’ razmerov [Active Dimension Control]. Moscow: Mechanical engineering, 223 р.
- Antropov, B. S., Yanovsky, M. A., Nesterov, D. A. (2007) [Improving the performance of crankshaft bearings]. Traktory i sel’skokhozyaystvennyye mashiny [Tractors and agricultural machines]. Vol. 12, pp. 35–36. (In Russ.).
- Bykov, V. G., Saltykov, M. A., Gorbunov, M. N. (1985) [A new way to ensure the stability of the geometric parameters of liners for heavily loaded diesel bearings]. Dvigatelestroyeniye [Engine building]. Vol. 8, pp. 32–35, 48. (In Russ.).
- Denisov, A. S., Kulakov, A. T. (2007) Obespecheniye nadezhnosti avtotraktornykh dvigateley [Ensuring the reliability of automotive engines]. Saratov: Saratov State Technical University, 422 р.
- Kulakov, A. T. et al. (2019) [Diagnostics of the technical condition of the crankshaft bearings during the operation of the vehicle]. Problemy ekonomichnosti i ekspluatatsii avtotraktornoy tekhniki: sbornik materialov Mezhdunarodnogo nauchno-tekhnicheskogo seminara imeni V.V. Mikhaylova, Saratov, 15–16 maya 2019 g. [Problems of efficiency and operation of automotive and tractor equipment: a collection of materials of the International Scientific and Technical Seminar named after V. V. Mikhailova, Saratov, May 15–16, 2019] Saratov: Amirit LLC, рр. 189–196. (In Russ.).
- Korolev, A. E., Frolov, V. K. (2003) [Internal stresses in the bimetallic liners of the crankshaft of diesel engines D49]. Mekhanika i fizika frikcionnogo kontakta [Mechanics and physics of frictional contact]. Vol. 10, pp. 61–71. (In Russ.).
- Kulakov, A. T., Denisov, A. S. (2006) [Instability of clearances in connecting rod bearings due to the formation of deflection of the liners]. Vestnik Saratovskogo gosudarstvennogo tekhnicheskogo universiteta [Bulletin of the Saratov State Technical University]. Vol. 3. No 1(14), pp. 83–91. (In Russ.).
- Kulakov, A. T., Sakhapov, I. A. (2010) [Methodology and results of the computational and experimental study of the deformation of the liners]. Mir transporta i tekhnologicheskikh mashin [The world of transport and technological machines]. Vol. 1(28), pp. 27–32. (In Russ.).
- Kulakov, O. A., Sakhapov, I. A., Kulakov, A. T. (2008) [Diagnosis of Form Changes in Connecting Rod Bearings of Diesel Engines]. Avtotransportnoye predpriyatiye [Motor transport company]. Vol. 1, pp. 47–49. (In Russ.).
- Barun, V. N. et al. (1983) [Causes and elimination of cases of scuffing and turning of the bearing shells of the crankshaft of the KamAZ automobile diesel engine]. Dvigatelestroyeniye [Engine building]. Vol. 4, pp. 3–5. (In Russ.).
- Method for in-place diagnostics of internal combustion engine bearings and filter elements: Pat. 2398200 Ros. Federation. No. 2009123745/06; dec. 06/22/2009; publ. 27.08.2010, Bull. No. 24. (In Russ.).
- Method for measuring gaps in the bearing units of the connecting rod of an internal combustion engine: Pat. 2295703 Ros. Federation. No. 2005116816/28; dec. 06/01/2005; publ. 03/20/2007, Bull. No. 8. (In Russ.).
- Method for determining the gap in the connecting rod bearing of the crankshaft during testing and diagnostics of the internal combustion engine of automobiles, transport and transport-technological machines: Pat. 2691259 Ros. Federation. No. 2018105459; dec. 02/13/2018; publ. 06/11/2019, Bull. No. 17. (In Russ.).
- Das, San., Das, Shub. (2019) Applications of Tribology on Engine Performance. Automotive Tribology, pp. 307–325. – https//doi.org/10.1007/978-981-15-0434-1_16 (In Eng.).
- Dong, Q., Yin, Zn., Li, H. (2019) Simulation and Experimental Verification of Fatigue Strength Evaluation of Journal Bearing Bush. Engineering Failure Analysis. No 109(1), рр. 104275. – https//doi.org/10.1016/j.engfailanal.2019.104275 (In Eng.).
- Ghiasvand, A., Abdollahi, S. A. (2023) Designing a Connecting Rod for an Internal Combustion Engine. Conference: 7thInternational Conference on Applied Researches In Science And Engineering At: Aachen, Germany (In Eng.).
- Kulakov, A. T., Barylnikova, E. P., Kulakov, O. A. (2019) Machine elements evaluation diagnostic devices development using compressed air on crankshaft bearings example. IOP Conference Series: Materials Science and Engineering. Vol. 570, Is. 1, pp. 012064. – https//doi.org/10.1088/1757-899X/570/1/012064. (In Eng.).
- Someya, T., Okamoto, Y. (2003) On the Standardization of Damages in Plain Bearings. Journal Japanese Society of Tribologists. No 48(10), рр. 776–781. (In Eng.).
- Sun, J. et al. (2019) Lubrication Performance of Connecting-Rod and Main Bearing in Different Engine Operating Conditions. Chinese Journal of Mechanical Engineering. No 32(1). – https//doi.org/10.1186/s10033-019-0335-9 (In Eng.).
- Vencl, A., Rac, A. (2014) Diesel engine crankshaft journal bearings failures: Case study. Engineering Failure Analysis. Vol. 44, рр. 217–228. – https//doi.org/10.1016/j.engfailanal.2014.05.014 (In Eng.).
Supplementary files








