Formation of the model of an intellectual software analytical complex in the electric power industry
- Authors: Antonov V.V.1, Rodionova L.E.1, Kromina L.A.1, Fakhrullina A.R.1
-
Affiliations:
- Ufa University of Science and Technology
- Issue: Vol 13, No 4 (2023)
- Pages: 507-519
- Section: APPLIED ONTOLOGIES OF DESIGNING
- URL: https://journal-vniispk.ru/2223-9537/article/view/267327
- DOI: https://doi.org/10.18287/2223-9537-2023-13-4-507-519
- ID: 267327
Cite item
Full Text
Abstract
The paper considers the model of an intelligent software analytical complex that allows electric power industry organizations to remotely apply electricity metering systems designed to take consumer's meter readings online, register deviations, and determine the quality of electricity. The software analytical complex is presented in the form of a set of models: a model for ensuring the sustainability of the quality of electric power, which makes it possible to create rules for the information environment and a unified data repository to systematize the processes of collecting, processing and transmitting data, simplify the search and increase the speed of access to data; a model of the product knowledge base, designed to search for solutions in the process under consideration and evaluate the search results; a dynamic graph of deviations of the Descartes square, which makes it possible to manage electrical power parameters in order to increase the efficiency of the organization and improve the process of managing the technical strategy of the energy system; and ontological and network models of electric energy quality indicators. The diagrams of the software analytical complex algorithm as well as the developed neural network node designed to analyze deviations for the presence or absence of malfunctions in the hardware operation are presented. The application of the presented models in the software analytical complex will help to promptly identify emerging deviations and analyze them.
Full Text
Введение
Применение программных средств автоматизации в электроэнергетике является одним из приоритетных направлений в этой отрасли. Например, программный комплекс «Аварийность» позволяет автоматизировать процесс ввода записей в журнал отключений и актов расследования, их корректировки, а также дальнейшего анализа результатов расследования причин аварий [1]. Программное обеспечение АПК ЦЕНСОР, предназначенное для хранения, сбора и отображения информации, позволяет формировать сводки и отчёты [2]. Системы сбора данных и оперативного контроля SCADA (от англ. Supervisory Control And Data Acquisition) позволяют организовать дистанционный мониторинг параметров [3].
Востребованными являются решения в области аналитики данных, направленные на обеспечение надёжности и устойчивости работы энергосистем. К ним относятся: оперативный анализ ситуаций, поддержка принятия решений, формирование аналитической отчётности. Сформирована энергетическая стратегия России на период до 2030 года, которая направлена на стимулирование разработки и внедрения инновационных, в т.ч. цифровых, технологий в области энергетики [4]. Актуальны вопросы разработки методов моделирования интеллектуального программного аналитического комплекса (ПАК), позволяющего прогнозировать и оптимизировать показатели производственных процессов в энергетике.
1. Модель обеспечения устойчивости качества электрической энергии
Разработка методов моделирования интеллектуального ПАК позволит организациям электроэнергетики дистанционно использовать интеллектуальные информационные системы (ИС) учёта электрической энергии (ЭЭ), в онлайн-режиме снимать показания потребителей, регистрировать отклонения и определять качество ЭЭ. Интеллектуальный ПАК должен обеспечить надёжность и устойчивость работы системы.
Интеллектуальный ПАК – комплекс инструментов, содержащих хранилище данных, базу знаний (БЗ), средства извлечения данных, средства преобразования и загрузки данных, аналитические средства [5].
При обследовании предметной области (ПрО) образуется много данных и знаний, которые необходимо своевременно обрабатывать и передавать в ПАК. К модулям ПАК, которые являются информационными объектами (ИО), можно применить положения теории категорий [6]. В этом случае ПАК проектируется в виде совокупности объектов, которые имеют свойства категорий. Организация взаимодействия функциональных программ обеспечивает объединение системы анализа объектов ПрО с учётом динамических свойств ПрО, а состояния интеллектуального ПАК образуют категорию множеств. Представление ПАК в виде совокупности ИО позволяет рассматривать его в качестве модели цифрового двойника (ЦД), что расширяет его «электронную прозрачность» во многих аспектах, в т.ч. управленческих и технологических [7, 8].
Разработка семантической модели системы с учётом внешнего контура качества на основе цикла Деминга [9], отражающей реализацию процессов в интеллектуальном ПАК, позволит представить модель контура на формальном уровне в терминах объектов и их характеристик, рассмотреть правила взаимодействия процессов и подпроцессов при помощи функций (рисунок 1).
Рисунок 1 – Модель обеспечения устойчивости качества электрической энергии с учётом внешнего контура качества с использованием интеллектуального программного аналитического комплекса
АСКУЭ – автоматизированная система коммерческого учёта электроэнергии; ERP – система управления и планирования ресурсов; SCADA – диспетчерское управление и сбор данных, программный пакет
Все функции, введённые в данную модель, реализуются в виде конечного множества определённых сценариев в онлайн-режиме.
В системе электроснабжения на предприятии электроэнергетики на основе нормативной документации формируются Ppli – плановые показатели/индикаторы и нормы качества ЭЭ. – множество показателей зависит от конкретного объекта электроснабжения и категории потребителей. Пусть Ф(P) – функция, характеризующая нормативные показатели/индикаторы и нормы качества ЭЭ, поступающие из внешней среды S. Показатели и нормы качества ЭЭ должны соответствовать нормативной документации (регламенты, положения и др.) отображает учёт внешней среды при формировании нормативной документации.
ИС относится к классу открытых систем, которые активно взаимодействуют с окружающей средой, т.е. со всей совокупностью элементов окружающего ИС мира, оказывающих на неё воздействия. Внешняя среда характеризуется тремя видами воздействия на ИС: энергетическим, информационным, нагрузочным.
Изменения нормативной документации Ф'(P) пополняются новыми нормативными показателями/индикаторами и нормами качества ЭЭ, что отражается в изменении Ppli и соответствует новым значениям Ppli' .
По истечении определённого периода, регламентируемого стандартами объекта электроснабжения, формируются Pfi – фактические показатели/индикаторы качества ЭЭ; {Pf1,…,Pfn} – множество фактических показателей/индикаторов. Pfi сравниваются с Ppli и выявляются Oi – отклонения в виде маркированных показателей/индикаторов O1, …, On, при этом отклонения показателей/индикаторов и нормы качества ЭЭ не должны превышать установленные значения, иначе при выявлении отклонений формируются управляющие воздействия, что ведёт к изменению Pfi и новым значениям Pfi'. Под маркированными показателями/индикаторами понимаются данные – результаты измерений показателей качества ЭЭ и результаты объединения измеренных значений показателей на временных интервалах [10]. В процессе формирования управляющих воздействий новых значений Pfi' изменяются значения маркированных показателей/индикаторов на новые Oi'.
В объекте управления выделяются количественные характеристики ИО, а на их основе формируются качественные характеристики ИО в интеллектуальном ПАК. К ним относятся группы показателей качества ЭЭ (ПКЭЭ) (рисунок 2), которые состоят из видов ПКЭЭ (ВПКЭЭ), причин отклонений показателей качества ЭЭ (ПОПКЭЭ) и видов норм качества ЭЭ (ВНКЭЭ).
Рисунок 2 – Группы показателей качества электрической энергии
Модель представления знаний имеет вид: «ЕСЛИ условие, ТО действие». Под условием понимается некоторое предложение-образец, по которому осуществляется поиск в БЗ, а под действием – действия, выполняемые при успешном исходе поиска. При использовании модели БЗ состоит из набора правил [11]. БЗ и логические правила необходимы для поиска решения рассматриваемого процесса лицами принимающие решения (ЛПР) и оценки результатов поиска [12]. В основе логических правил лежит нечёткая логика, базирующаяся на понятии нечёткого множества. J1, …, JN – перекрёстки соединения «И» или «ИЛИ», означающие, что: все предшествующие процессы должны быть завершены и все следующие процессы должны быть запущены; или что одно или несколько исходных действий должны завершиться и одно или несколько конечных действий инициируется. Такие логические правила перекрёстков J1, …, JN целесообразно объединить в виде БЗ логических условий с учётом имеющегося опыта, накопленного в интеллектуальном ПАК. Таким образом, модель представления знаний в ПАК состоит из множества показателей/индикаторов плановых и множества фактических показателей/индикаторов, базы правил с логическими условиями, базы знаний с множеством управляющих воздействия (см. рисунок 3). Для любого показателя индикатора действует схема продукционных правил. Если определены и , то , где k – индекс маркированных показателей индикаторов, k=1,…,n.
Рисунок 3 – Модель представления знаний в ПАК
Использование справочника логических условий БЗ в ПАК позволяет имитировать процессы и принимать решения в ситуациях отнесённых к компетенциях ЛПР, с визуализацией алгоритма поиска решения, т.е. каким образом достигается цель и пути её достижения или не достижения. При формировании модели ПАК осуществляется разделение его на множество объектов с учётом установленных между ними отношений, и полученное множество отношений между категориями выделяется в новый объект.
Таким образом, при формализации ПрО с использованием положений теории категорий описываются все отношения объектов проектируемой системы между собой [13].
В интеллектуальных ИС, работающих на базе алгоритмов и моделей машинного обучения, используется большое количество данных, в т.ч. справочных размеченных данных для обучения алгоритмов. Использование динамического графа, его объединений позволяет не только повысить точность работы таких систем, но и обеспечить объяснимость получаемых результатов. Динамический граф представляет собой упорядоченную во времени последовательность статических графов, не имеющих параллельных рёбер и петель, переход между которыми описывается в терминах теории категорий [14, 15].
В динамическом графе существует определённое количество узлов. Каждую цепочку узла можно будет достроить до квадрата Декарта (рисунок 4) [6]. Декартов квадрат морфизмов для плановых показателей/индикаторов представлен и – это объект и морфизмы и , такие что и для любого объекта и морфизмов и , если , то существует уникальный морфизм , такой что и , в результате получается множество отношений между объектами с плановыми показателями/индикаторами, представленные квадратом Декарта.
Рисунок 4 – Динамический граф поиска отклонений фактических показателей/индикаторов от плановых
Для фактических показателей/индикаторов следующий Декартов квадрат и – это объект и морфизмы и , такие что f'°p' = g'°q' и для любого объекта и морфизмов и , если , то существует уникальный морфизм , такой что и .
Коммутативная диаграмма является ориентированным графом, где вершины – это объекты, а стрелки – морфизмы, а результат композиции морфизмов не зависит от выбранного пути между этими объектами (рисунок 4).
– плановые показатели/индикаторы, показатели и входят в отдельные категорию и подкатегории. Взаимодействие подкатегорий, внутри которых расположены ИО, приводит к коммутативному треугольнику по категории и отдельным подкатегориям (рисунок 4). Категория образует класс объектов с заданным отношением для любых пар и , отношения которых определены множеством морфизмов: . Процесс взаимодействия можно представить декартовым произведением , где n является единственным морфизмом, выражающимся результатом взаимодействия указанных показателей/индикаторов.
Таким образом, формализуется в виде морфизмов, обладающих следующими свойствами: результат взаимодействия ИО может быть представлен декартовым произведением с морфизмами и такими, что для любого объекта с морфизмами и существует единственный морфизм , при котором выделяется диаграмма в форме коммутативного треугольника (рисунок 4). Рассматривая – фактические показатели/индикаторы, показатели и , процесс взаимодействия можно представить декартовым произведением , где nʹ является единственным морфизмом, выражающимся результатом взаимодействия параметров.
Таким образом, формализуется в виде морфизмов, обладающих следующими свойствами: результат взаимодействия ИО может быть представлен декартовым произведением с морфизмами и такими, что для любого объекта с морфизмами и существует единственный морфизм (отклонение графа) , при котором выделяется диаграмма в форме коммутативного треугольника (рисунок 4).
В результате достраивания до квадрата Декарта каждой цепочки отношений получается итерационная составляющая (рекурсия). Пока ИС сохраняет свою целостность, он остаётся уникальным. Решается задача прослеживаемости всех объектов ИС, а в качестве объектов могут выступать и отношения. В результате появляются ещё требования идентифицируемости и прослеживаемости на всех стадиях создания и эксплуатация ПАК.
При декомпозиции системы на подсистемы увеличивается количество частично перекрытых областей. Размер формализованной части определяется суммой, состоящей из количества объектов и числа связей. В результате получается множество объектов, идентифицируемых и прослеживаемых в пространстве и во времени. Когда обеспечивается прослеживаемость в пространстве, получается маршрут поиска отклонений. Графическим представлением Декартова произведения является информационное покрытие - метрика, объекты которой пересекаются друг с другом, и на месте этих пересечений возникают новые метрики. Между двумя объектами всегда существуют отношения, они образуют маршрут, маршрут преобразуется в адрес, который становится новым объектом, в данном случае новым отклонением. Эти категории отношений описаны функторными отношениями. В качестве объектов представлены группы ПКЭЭ (рисунок 2), которые состоят из ВПКЭЭ и ПОПКЭЭ. Применение динамического графа отклонений квадрата Декарта позволяет связать модель ПКЭЭ с моделью решения задачи цифровой трансформации процесса управления качеством предоставления ЭЭ на основе применения ПАК.
На рисунке 5 представлена структура ПАК, состоящая из ПКЭЭ, в которую входят ВПКЭЭ, ПОПКЭЭ, ВНКЭЭ, нормально и предельно допустимые значения показателей. Показатель колебания напряжения состоит из ВНКЭЭ, который включает размах изменения напряжения и дозу мерцания (фликер), у которых ПОПКЭЭ - потребитель с резкопеременной нагрузкой и ВНКЭЭ - предельно допустимое значение показателей. Показатель несимметрии напряжений в трёхфазной системе состоит из ВПКЭЭ – коэффициента несимметрии напряжений по обратной последовательности и коэффициента несимметрии напряжений по нулевой последовательности. ПОПКЭЭ – это потребитель с несимметричной нагрузкой, а ВНКЭЭ – нормально и предельно допустимые значения показателей.
Рисунок 5 – Структура программного аналитического комплекса
1 – группа показателей качества электроэнергии; 2 – вид показателя качества электроэнергии; 3 – причина отклонения значения показателей качества электроэнергии; 4 – вид нормы качества электроэнергии
ПКЭЭ несинусоидальность формы кривой напряжения состоит из: коэффициента искажения синусоидальности кривой напряжения, коэффициента n-ой гармонической составляющей напряжения; ПОПКЭЭ – потребитель с нелинейной нагрузкой, а ВНКЭЭ предельно и нормально допустимое значение показателей.
К прочим показателям относятся следующие ВПКЭЭ: отклонение частоты, длительность провала напряжения, импульсное напряжение, коэффициент временного перенапряжения. ПКЭЭ – особенности работы сети, климатические условия или природные явления и ВНКЭЭ - предельно и нормально допустимые значения показателей.
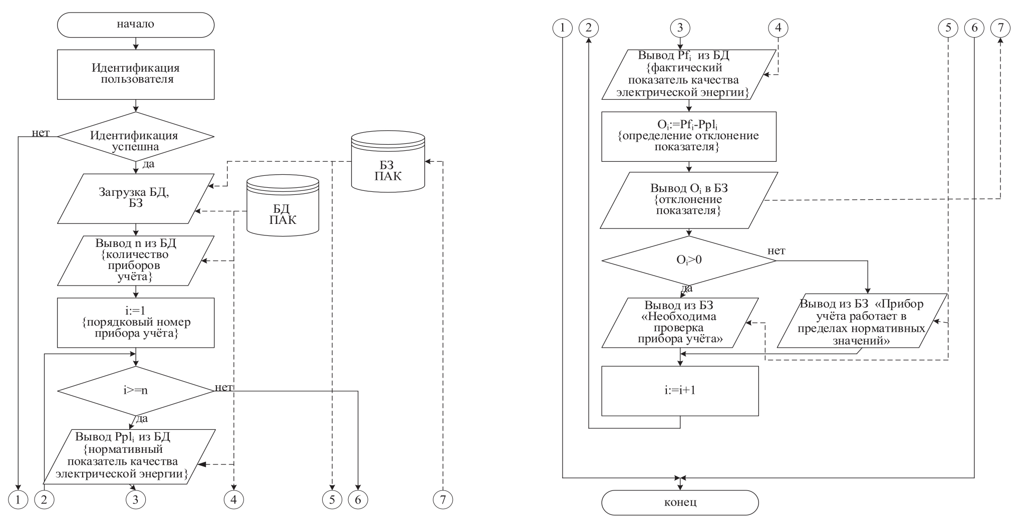
2. Схема алгоритма работы ПАК
Разработанная модель знаний служит основой для формирования БЗ экспертной системы (рисунок 3). Работа алгоритма основана на значениях нормативного ПКЭЭ (Ppli) и фактического ПКЭЭ (Pfi), загружаемых из БД ПАК для каждого прибора учёта в отдельности. БЗ после загрузки значения отклонения показателя (Oi) позволяет осуществлять анализ отклонения значения фактического ПКЭЭ от значения нормативного ПКЭЭ. В результате пользователь получает соответствующее сообщение (рисунок 6).
Рисунок 6 – Схема алгоритма работы программно-аналитического комплекса
Для ПАК требуется построить узел нейронной сети (НС) [16], представляющий собой схему искусственного нейрона, входными сигналами которого являются величины, соответствующие значениям фактических ПКЭЭ для каждого прибора учёта Pfi. Весами являются нормативные ПКЭЭ для каждого прибора учёта Ppli. Функция , указанная в блоке сумматора, позволяет определить величину отклонения значения фактического ПКЭЭ Pfi от значения нормативного ПКЭЭ Ppli – Oi (см. рисунок 7).
Рисунок 7 – Схема обработки отклонений плановых показателей/индикаторов от фактических в программно-аналитическом комплексе
Представленный блок предназначен для проведения аналитики отклонений в целях выявления отсутствия или наличия неполадок в работе аппаратного обеспечения. Результатом работы узла НС является сообщение, формируемое интеллектуальной системой на основе позиционных правил, которое может быть использовано при принятии управленческих решений о работе приборов учёта, выводимое пользователю.
Результаты работы НС поступают в блок запоминания состояний, из которого переходит в архив хранилища данных. Семантический слой позволяет пользователю получать данные, являющиеся результатом работы узла НС. Витрины данных, в свою очередь, являются хранилищем данных, предназначенным для определённых категорий пользователей.
При работе с НС особое внимание уделяется способности НС к обучению на основе данных, поступающих из внешней среды (см. рисунок 7). Представленная схема узла НС предполагает применение алгоритма обучения с учителем, который позволит выполнять корректировку возникающих ошибок. В процессе обучения знания учителя будут передаваться в сеть в полном объёме. После завершения обучения можно отключить учителя, что позволит НС работать самостоятельно [17].
НС контролирует значения показателей, при обнаружении интеллектуальным анализатором отклонений выдаётся сообщение k-пользователям, например, руководителям, практическим работникам, аналитикам и др., в зависимости от выявленных отклонений показателей. K-пользователи = {К1,…,Кi} - множество категорий пользователей.
Построенную модель узла НС можно использовать для автоматизации других бизнес-процессов в сфере электроэнергетики, например для контроля перегрузок в электрической сети [18].
Заключение
Рассмотрена задача управления качеством предоставления ЭЭ на основе ПАК, как эффективного способа достижения заданных параметров в условиях действующих ограничений. Построенные схема алгоритма работы ПАК и узел НС предоставляют возможность осуществлять аналитику отклонений на наличие неисправностей в работе энергосистем. Предложенные модели целесообразно применять в рамках реализации ПАК, что в полной мере обеспечит оперативность выявления возникающих отклонений, а также анализа причин непредвиденных ситуаций.
About the authors
Vyacheslav V. Antonov
Ufa University of Science and Technology
Email: antonov.v@bashkortostan.ru
Scopus Author ID: 57200254522
ResearcherId: AAH-5121-2019
(b. 1956) graduated from the Bashkir State University (1979), PhD (1985), D. Sc. Eng. (2015). Professor of the Department of Automated Control Systems of the Ufa University of Science and Technology, Professor of the Department of Management in Internal Affairs Bodies of the Ufa Law Institute of the Ministry of Internal Affairs of Russia. The list of scientific papers contains more than 130 works in the field of building intelligent decision support systems.
Russian Federation, UfaLyudmila E. Rodionova
Ufa University of Science and Technology
Author for correspondence.
Email: lurik@mail.ru
ORCID iD: 0000-0003-4041-0365
Scopus Author ID: 57219160976
ResearcherId: AAU-3498-2020
(b. 1984) graduated from the Ufa State Aviation Technical University (2007), PhD (2019). Senior Lecturer of the Department of Automated Control Systems of the Ufa University of Science and Tech-nology. The list of scientific papers contains about 10 works in the field of designing software analytical complexes.
Russian Federation, UfaLyudmila A. Kromina
Ufa University of Science and Technology
Email: luyda-kr@yandex.ru
Scopus Author ID: 0000-0002-5226-0512
ResearcherId: AAO-7905-2021
(b. 1983) graduated from the Ufa State Aviation Technical University (2005), Candidate of Technical Sciences (2012), Associate Professor (2019). Associate Professor at the Department of Auto-mated Control Systems of the Ufa University of Science and Technology. The list of scientific works includes about 40 works works in the field of management in social and economic systems.
Russian Federation, UfaAlmira R. Fakhrullina
Ufa University of Science and Technology
Email: lilabay@mail.ru
ORCID iD: 0009-0009-1996-0494
(b. 1982) graduated from the Kumertau branch of Ufa State Aviation Technical Uni-versity (2004), Candidate of Technical Sciences (2017), Associate Professor (2020). Director of the branch of Ufa University of Science and Technology in Kumertau. The list of scientific works includes about 50 works in the field of mathematical software. AuthorID (RCI): 31294902; Author ID (Scopus): ORCID 0000-0002-3482-4169; Research-er ID (WoS): AAT-3738-2021. almirafax@mail.ru. Liliya Iftarovna Baimurzina (b. 1987) graduated from the Ufa State Aviation Technical University (2009). Senior Lecturer of the Department of Aircraft Production Technology of the Ufa University of Science and Technology. The list of scientific papers includes about 10 works in the field of designing information analytical systems.
Russian Federation, UfaReferences
- “Accidentity of ESC”, Software complex [In Russian]. https://platforms.su/platform/21629.
- APC CENSOR software [In Russian]. https://www.censor-m.ru/decisions/peredacha-i-obrabotka-informatsii/programmnoe-obespechenie-apk-tsensor/.
- Topolsky DV, Topolskaya IG. Analysis of modern SCADA-systems in the electric power industry [In Russian]. Science of SUSU: Proceedings of the 66th scientific conference of the Section of Technical Sciences. P.1378-1381. https://dspace.susu.ru/xmlui/bit stream/handle/0001.74/4522/55.pdf.
- Energy Strategy of Russia for the period up to 2030 (approved by Decree No. 1715-r of the Government of the Russian Federation on November 13, 2009) [In Russian]. https://www.garant.ru/pro ducts/ipo/prime/doc/96681.
- Nozhenkova LF, Shaidurov VV. OLAP technologies for operational information and analytical support of organizational management [In Russian]. Information technologies and computing systems. 2010; 2: 15-27.
- Kulikov GG, Antonov VV, Navalikhina ND, Rodionova LE, Suvorova VA, Shilina MA. Methodology for designing a software and analytical complex of the problem area under study based on the identification of logical contradictions of the Cartesian square and structural self-organization [In Russian]. Bulletin of Perm National Research Polytechnic University. Electrical engineering, information technologies, control systems. 2020; 34: 7-26. doi: 10.15593/2224-9397/2020.2.01.
- Antonov VV, Kulikov GG, Kromina LA, Rodionova LE, Fakhrullina AR, Kharisova ZI. The concept of a software and analytical complex of the educational process based on ontology and artificial neural networks [In Russian]. Ontology of Designing. 2021; 11(3): 339-350. doi: 10.18287/2223-9537-2021-11-3-339-350.
- Korovin GB. Possibilities of using digital twins in industry [In Russian]. Bulletin of Transbaikal State University. 2021; 27(8): 124–133. doi: 10.21209/2227-9245-2021-27-8-124-133.
- Deming Cycle [In Russian]. Encyclopedia of Production Management. http://www.up-pro.ru/encyclopedia/deming-cycle.html.
- GOST 30804.4.30-2013 (IEC 61000-4-30:2008) Electrical power. Electromagnetic compatibility of technical means. Methods of measurement of quality indicators of electric power (Amended edition). [In Russian]. https://base.garant.ru/70665936/.
- Gavrilova TA, Khoroshevsky VF. Knowledge Bases of Intelligent Systems [In Russian]. SPb: Peter, 2000. 384 р.
- Ilyasov BG, Gerasimova IB, Makarova EA, Khasanova NV, Chernyakhovskaya LR. Fundamentals of Systems Theory and Systems Analysis [In Russian]. Ufa: UGATU, 2014. 217 p.
- Goldblatt R. Topoi. The categorial analysis of logic. Topoi. The categorial analysis of logic [In Russian]. Moscow: Mir, 1983. 488 р.
- Faustova KI. Neural networks: application today and prospects for development [In Russian]. Territory of Science. Voronezh Institute of Economics and Law. 2017; 4: 83-87.
- Kalinin VF, Zyablov NM, Kochergin SV, Kobelev AV, Dzhaparova DA. Analysis of artificial neural network data representation methods for electric power systems control [In Russian]. Bulletin of Tambov State Technical University. 2017; 4: 609-616. doi: 10.17277/vestnik.2017.04.pp.609-616.
- Toropov AS, Tulikov AN. Forecasting of hourly power consumption of regional power system using artificial neural networks [In Russian]. Bulletin of Irkutsk State Technical University. 2017; 21(5): 143-151.
- Voronov IV, Politov EA, Efremenko VM. Review of types of artificial neural networks and methods of their leaning [In Russian]. Bulletin of Kuzbass State Technical University. 2007; (3): 38-42.
- Kulikov G, Antonov V, Rodionova L, Suleymanova A, Abdulnagimov A. A digital twin model for electricity systems // Proceedings - ICOECS 2021: 2021 International Conference on Electrotechnical Complexes and Systems, 2021, P.239–244. doi: 10.1109/ICOECS52783.2021.9657362.
Supplementary files








