Evaluation of Combustion Performance and Heat Release in Preheated Fuel Consumed Diesel Engines
- Authors: Plotnikov S.А.1, Kartashevich A.N.1, Motovilova M.V.1
-
Affiliations:
- Vyatka State University
- Issue: Vol 31, No 3 (2021)
- Pages: 349-363
- Section: Processes and Machines of Agroengineering Systems
- Submitted: 31.07.2025
- Accepted: 31.07.2025
- Published: 30.09.2021
- URL: https://journal-vniispk.ru/2658-4123/article/view/303524
- DOI: https://doi.org/10.15507/2658-4123.031.202103.349-363
- ID: 303524
Cite item
Full Text
Abstract
Introduction. The expansion of the fleet of tractors and vehicles causes increased requirements for internal combustion engines. This problem can be solved by improving the work process in a diesel engine that can be achieved by heating the diesel fuel in the fuel supply system. External thermal action is carried out on the high pressure line directly in front of the injectors.
Materials and Methods. To analyze and calculate the process of combustion and heat release in a diesel engine with preliminary thermal fuel preparation, bench tests were carried out using the National Instruments software and the necessary equipment.
Results. Experimental data of the diesel fuel combustion process in the cylinder of the 4CHN 11.0/12.5 engine are obtained. The analysis of the combustion performance and heat release of diesel with a preliminary high-temperature effect on the fuel was carried out. Indicator diagrams, graphs of heat release, the maximum average temperature of gases in the engine cylinder, and graphs of active and total heat release were constructed. The experimental data showed a decrease in the ignition delay period, the maximum cycle temperature in the engine cylinders, and an acceleration of the start of heat release and combustion process. The values of the parameters of the diesel fuel combustion process are obtained.
Discussion and Conclusion. On the basis of the conducted studies, the dependences of the parameters of the combustion process of a diesel engine with fuel heating to high temperatures are revealed. Indicator diagrams allow drawing a conclusion about the influence of the fuel heating temperature on the intensification of the combustion process. There is an acceleration of the beginning of heat release, a decrease in the rate of pressure build-up and in the rigidity of the engine.
Full Text
Введение
Исследования по улучшению процесса сгорания в дизельных двигателях проводятся на протяжении десятков лет. К дизельным транспортным средствам предъявляются высокие эксплуатационные и экологические требования. Выполнение данных условий возможно при улучшении рабочего процесса дизельного двигателя. Учеными обоснованы методы дополнительного воздействия на дизельное топливо (ДТ) в топливной системе.
На основе экспериментальных данных предложен ряд способов воздействия на ДТ. К способам внешнего физического воздействия на ДТ можно отнести магнитные, электромагнитные, электрические поля, радиоактивное облучение низкой интенсивности. Химическое воздействие направлено на процессы, происходящие в жидкой фазе ДТ. При химическом и физическом воздействии на ДТ происходит изменение его свойств: уменьшение плотности, вязкости и поверхностного натяжения, распад углеводородных молекул по связям углерода1 [1].
Одним из перспективных направлений является термическое воздействие на ДТ в системе топливоподачи, оказывающее влияние на процесс сгорания.
При дополнительном воздействии на топливо наблюдается деструкция топливного факела на мелкодисперсные фракции. В результате улучшаются качество распыливания, условия смесеобразования, испарения и горения в цилиндре. Одним из распространенных и эффективных способов получения данных по тепловыделению является установка датчика давления в цилиндре двигателя в определенной точке камеры сгорания. Сигнал, поступающий с датчика, регистрируется и обрабатывается системой National Instruments (NI).
Считается, что скорость распространения газодинамических колебаний давлений при самовоспламенении неравномерно распределяется в камере сгорания, но за счет своей величины (500–600 м/с) процесс выравнивания давления происходит быстро, и распределение давления можно считать равномерным2 [2].
Определение численных значений тепловыделения производится на основе индикаторных диаграмм, построенных в результате эксперимента. С их помощью анализируется процесс сгорания и тепловыделения дизельного двигателя.
На основании первого закона термодинамики тепловыделение определяется:
dQx = CvdT + PdV + dQw, (1)
где dQx – количество тепла, Дж; Cv – изохорная теплоемкость, Дж/(моль∙ºС); dT – изменение температуры, К (ºС); P – давление, МПа; dV – изменение объема, м3; dQw – количество тепла на потери, Дж.
Изменение температуры вычисляется по уравнению Клапейрона – Менделеева. Найденный показатель подставляем в выражение первого закона термодинамики (1) и находим значение тепловыделения.
В научной литературе данные по высокотемпературному воздействию на топливо в дизеле отсутствуют, а процесс сгорания и тепловыделения недостаточно изучен.
Цель исследования – получение экспериментальных зависимостей, анализ процесса сгорания, а также тепловыделения двигателя 4ЧН 11,0/12,5 при работе на ДТ, предварительно подогретом до температуры 300 ºС.
Обзор литературы
Группой исследователей Национального университета Ченг Кунг (Тайнань, Тайвань) был исследован процесс сгорания дизельного топлива с добавлением водорода во впускной коллектор с использованием системы рециркуляции отработавших газов (EGR), а также дана оценка параметров токсичности отработавших газов [3].
В работе польских ученых основной темой исследования было влияние водорода на процесс сгорания в дизельном двигателе и на показатели отработавших газов (ОГ) [4]. Результаты исследований показывают влияние H2 (5 % по отношению к процентному содержанию энергии ДТ) на улучшение процесса сгорания, при этом сокращается период задержки воспламенения, улучшается распыливание и смесеобразование ДТ. Увеличение соотношения количества водорода к углероду в топливе приводит к уменьшению содержания СО2. Однако отмечается, что если водорода в ДТ более 20 %, то это приводит к его быстрому сгоранию, увеличению максимального давления в цилиндрах двигателя и повышению температуры, что влияет на концентрацию NOx в ОГ [3–5].
Индийские исследователи проанализировали характеристики дизельного двигателя и параметры его токсичности при магнитном кондиционировании ДТ. В работе уделялось внимание режимам магнитного воздействия на ДТ с добавкой присадки CuO. Выявлено, что при обработке ДТ сильным магнитным полем процесс сгорания ДТ улучшается, механический и термический КПД увеличиваются на 7,0 и 6,7 % соответственно. Показатели токсичности CO, CO2 и NOx в ОГ снижаются на 17, 13 и 19 % соответственно [6].
Рассмотрены вопросы скорости выгорания углеводородов топлива при воздействии электрического заряда [7]. С помощью численного моделирования изучен процесс деструкции капель углеводородного топлива и его сгорания при ионизации стационарным разрядом. С помощью программного пакета представлены результаты проведения численных экспериментов по взаимосвязи возбужденных гидроксильных радикалов, отрицательных ионов, атомарного кислорода со скоростью сгорания капли топлива. В статье автор дал оценку влиянию активирования топлива электрическим воздействием на рабочий процесс двигателя внутреннего сгорания (ДВС). Стендовые испытания показали снижение расхода топлива при режиме номинальной мощности на 2,15 % [7].
В совместной статье ученых Шанхайского университета Цзяо Тонг (Китай) и Мичиганского университета (США) рассматривается смешанное низкотемпературное сгорание дизельного топлива и бензина: увеличивается период задержки воспламенения, необходимый для создания более однородного заряда в цилиндре, а образование сажи снижается за счет сокращения зон, локально богатых топливом. В экспериментальном исследовании наблюдается небольшое снижение концентрации NOx в ОГ [8].
Экспериментально исследовано влияние двухступенчатого впрыска на процесс сгорания и концентрацию токсичных веществ в ОГ при высоком уровне рециркуляции. Выявлено снижение сажевыделения, а также увеличение максимальной скорости нарастания давления в цилиндрах [9].
Доказана высокая эффективность сгорания при средней нагрузке с небольшим увеличением выбросов NOx в ОГ [10].
В работе иракских ученых представлены результаты экспериментов с добавлением присадок на металлической основе Al2O3, ZnO в дизельное топливо [11; 12]. При добавлении 100 ppm оксида алюминия снижается удельный расход топлива на 8,7 %, увеличивается КПД на 6 %, снижается содержание CO, SO2, H2S на 17, 19 и 19 % соответственно, но при этом содержание NOx увеличивается на 10 %. Было обнаружено уменьшение концентрации токсичных веществ в ОГ с применением присадок на металлической основе [11; 13; 14].
Определено влияние присадок на биметаллической основе на дизельное топливо. Выявлено снижение параметров монооксида углерода и углеводородов благодаря улучшению характеристик воспламенения. Концентрация NOx в ОГ увеличивается из-за добавки CuNO3, которая воздействует на процесс сгорания с повышением максимальной температуры [15].
Проведены исследования особенностей топливоподачи и экономичности дизеля при подогреве топлива. В работе определены основные факторы, которые обуславливают изменение процессов топливоподачи при предварительном подогреве дизельного топлива. Представлены результаты лабораторных испытаний и эксплуатационных проверок по результатам исследований. Приведены обоснования целесообразности подогрева ДТ в топливопроводе низкого давления, а также исследовано влияние процессов распыливания и смесеобразования при двух параметрах: коэффициенте интенсивности смесеобразования и интенсивности окисления3.
Результаты исследований английских ученых показывают повышение температуры многокомпонентного ДТ с увеличением давления от нагрева, вызванного трением и увеличением давления пара в топливной форсунке. Полученный эффект кавитации способствует распылению струи топлива, увеличению угла конусности распыления, который влияет на смесеобразование и процесс сгорания углеводородного топлива [16].
Выявлен сильный нагрев ДТ при его сжатии и при прохождении через форсунку при сверхвысоких давлениях, а также представлена методика расчета нагрева топлива под воздействием сверхвысокого давления. Установлено, что данный способ обеспечивает нагрев до 50–200 ºС при давлении 200–400 МПа [17].
Исследовались показатели работы дизеля с термофорсированием [18]. Проведены стендовые испытания дизеля на подогретом топливе. Результаты подтвердили сделанные ранее предположения: предварительный подогрев ДТ положительно влияет на тепловыделение в цилиндре двигателя, улучшается процесс сгорания, снижается удельный эффективный расход топлива в пределах 1,5–3,4 %, а температура ОГ падает на 20–55 ºС.
Целью другого исследования стал анализ процесса сгорания и тепловыделения тракторного дизеля в зависимости от различных значений температур предварительной подготовки топлива. Данное воздействие позволяет сократить период задержки воспламенения, ускорить начало тепловыделения, а также уменьшить осредненную температуру цикла [19; 20].
На основе анализа методов предварительного подогрева ДТ и проведенного эксперимента отмечается повышение КПД цикла, снижение показателей токсичности и дымности в ОГ [21; 22].
Резюмируя обзор литературы, стоит отметить, что в работе двигателя значение имеют полноценные процессы топливоподачи, смесеобразования, воспламенения и сгорания ДТ в цилиндре. Химическое и физическое воздействие на ДТ в жидкой фазе приводит к изменению его свойств (плотности, вязкости, поверхностного натяжения, ориентации молекул ДТ), что положительно влияет на показатели работы дизельного двигателя. При применении некоторых способов воздействия необходимо сложное оборудование, что требует дополнительных вложений [18]. Эффективным способом воздействия на ДТ является его предварительный подогрев в системе топливоподачи. Авторами отмечается положительное влияние подогрева топлива на процесс сгорания и тепловыделения в дизельном двигателе [19–22].
Предварительный подогрев ДТ до высоких температур целесообразно осуществлять при помощи локального воздействия на топливопровод высокого давления перед форсунками. При данном способе передачи тепла топливу улучшается процесс смесеобразования за счет лучшей испаряемости мелкодисперсного топлива. Время индукционного периода сокращается, а также наблюдается снижение жесткости процесса сгорания. Предполагается повышение эффективности рабочего процесса в дизельном двигателе.
Материалы и методы
Экспериментальные исследования проводились на дизельном двигателе 4ЧН 11,0/12,5 (Д-245.5S2) в испытательной лаборатории УО «Белорусская государственная сельскохозяйственная
академия» (Республика Беларусь). Внешний вид экспериментальной установки представлен на рисунке 1. Техническая характеристика оборудования, приборов и системы вывода полученных экспериментальных данных на компьютер приведены в таблице.
Fig. 1. General view: a) load stand; b) heating element on the high-pressure line
Исследовался дизельный двигатель Д-245.5S2 при номинальной частоте вращения коленчатого вала 1 800 мин–1. Согласно руководству по эксплуатации вначале производился предварительный прогрев двигателя на стенде4, затем он выводился на скоростной режим с частотой вращения коленчатого вала 1 800 мин–1. Испытания проводились при стандартных атмосферных условиях, температуре и плотности топлива5.
Таблица Приборы и оборудование в составе экспериментальной установки
Table Devices and equipment as a part of experimental installation
Оборудование / Equipment | Тип, марка / Type, model | Примечание / Note |
Датчик динамического давления / Dynamic pressure sensor | PS-01 | Измерение динамического давления в различных средах. Диапазон измеряемых давлений 0–25 МПа / Measurement of dynamic pressure in various media. Measured pressure range 0–25 MPa |
Усилитель / Amplifier | AQ02-001 | Преобразование высокоимпедансного пьезоэлектрического сигнала заряда в низкоимпедансный сигнал напряжения / Converting a high-impedance piezoelectric charge signal to a low-impedance voltage signal |
Модульная USB-система сбора данных NI COMPACT DAQ / Modular USB data acquisition System NI COMPACT DAQ | NI cDAQ-9178 | Четырехканальный модуль измерения динамических сигналов вибрации и акустики NI 9234 / Four-channel dynamic vibration and acoustic signal measurement module NI 9234 |
Датчик контроля частоты вращения / Rotation speed control sensor | DI6001 | Индуктивный датчик бесконтактного действия. Диапазон частоты вращения 0–6 000 мин–1 / Inductive sensor of non-contact action. Speed range 0–6,000 min–1 |
Измеритель-регулятор микропроцессорный / Microprocessor regulator meter | ТРМ 148 | Измерение и автоматическое регулирование температуры / Temperature measurement and automatic control |
Программное обеспечение / Software | NI | NI использует автоматизацию для быстрого выполнения измерений и оценки результатов тестирования / NI uses automation to perform quickly measurements and evaluate test results |
Автотракторный дизель / Autotractor diesel engine | Д-245.5S2 / D-245.S2 | Мощность 70 кВт / Power 70 kW |
Нагрузочный, электротормозной стенд с балансирной маятниковой машиной / Load electric brake stand with pendula balancing | RAPIDO SAK N670 | Нагрузочный стенд оборудован устройствами и приборами для экспериментальных исследований / The loading stand is equipped with devices for experimental research |
Предварительное воздействие на топливо осуществлялось при помощи нагревательного устройства, которое устанавливалось на топливопроводе высокого давления перед форсунками. Контроль нагрева ДТ до температур 150 и 300 ºС фиксировался с помощью термопар, которые устанавливались между нагревательными элементами и форсунками. Термопары подключались к восьмиканальному измерителю-регулятору. Контроль нагрева топлива до нужной температуры корректировался регулятором мощности.
При использовании активированного топлива установочный угол опережения впрыскивания топлива соответствовал максимальному значению эффективного КПД.
Для снятия экспериментальных данных использовался датчик динамического давления PS-01 с пьезокварцевым чувствительным элементом, выдающий заряд в пКл. Резьбовой датчик PS-01 устанавливается в камеру сгорания (гнездо от свечи накаливания). Сигнал от заряда по высокоскоростному проводу передается на усилитель для преобразования высокоимпедансного сигнала и получения его в вольтах с коэффициентом трансформации 1 пКл в 1 мВ. После преобразователя сигнал поступает в устройство сбора данных с модульной системой в блок, позволяющий работать с датчиками-акселерометрами. Устройство сбора данных и программное обеспечение обслуживаются системой NI. Прибор подключается к персональному компьютеру через порт USB. Данное программное обеспечение позволяет получить на экране монитора зависимость преобразованного сигнала в мВ от времени в дифференцированной форме записи, а также формировать полученные экспериментальные данные в таблице Excel.
Также к устройству сбора данных (в тот же модульный системный блок) подключался индуктивный датчик, который фиксирует положение поршня в верхней мертвой точке (ВМТ). Подключенный датчик динамического давления PS-01 и индуктивный датчик представлены на рисунке 2.
Fig. 2. Connection of sensors: a) inductive sensor DI6001; b) dynamic pressure sensor PS-01
Результаты исследования
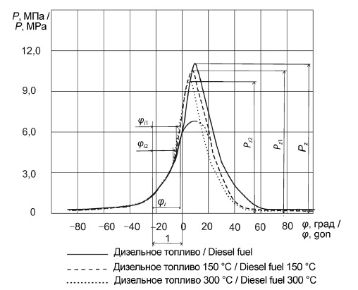
По результатам экспериментального исследования были построены индикаторные диаграммы при номинальной частоте вращения n = 1 800 мин–1, а также графики тепловыделения при работе двигателя на предварительно подогретом ДТ до 150 и 300 ºС. При анализе полученных совмещенных индикаторных диаграмм (рис. 3) наблюдается уменьшение периода задержки воспламенения (уменьшение угла φi). Известно, что при высокотемпературном воздействии на ДТ изменяются его физические и химические свойства. Происходит процесс распада углеводородных молекул по связям углерода при температуре выше 250 ºС. Изменяется процесс смесеобразования. Расчетные значения топливного факела при нагреве характеризуются увеличением угла распыливания, изменением длины топливной струи и уменьшением объемно-поверхностного диаметра капель топлива [23]. Уменьшение периода задержки воспламенения снижает скорость нарастания давления в цилиндре двигателя и снижает жесткость процесса сгорания.
частоте вращения n = 1 800 мин–1: 1 ‒ угол опережения впрыскивания
(до верхней мертвой точки) дизельного топлива Θ
Fig. 3. Combined indicator diagrams of a D-245.5S5 diesel engine at a speed of n = 1,800 min–1:
1 ‒ injection advance goal (up to top dead center) of diesel fuel Θ
Анализ индикаторных диаграмм показал, что работа дизеля с предварительным подогревом сопровождается понижением максимального давления цикла Pz. Значение Pz = 10,704 МПа соответствует работе двигателя без подогрева ДТ, а с подогревом составляет Pz = 10,513 МПа и Pz = 10,126 МПа при 150 и 300 ºС ДТ соответственно. Максимальное значение давления цикла Pz достигается при 12 градусах поворота коленчатого вала (ПКВ) после ВМТ, а при подогреве ДТ до температур 150 и 300 ºС – при 9,5 и 9,0 градусах ПКВ после ВМТ. Применение подогрева ДТ позволяет снизить максимальную температуру цикла на 40–60 К, что приведет к снижению теплонапряженности в цилиндрах двигателя и повысит ресурс его работы.
При анализе графиков (рис. 4) полного χ и активного χi выделения теплоты при работе дизельного двигателя на номинальном режиме можно сделать вывод, что процесс сгорания начинается раньше. В ВМТ доля активного тепловыделения составляет χi = 0,282, а при подогреве ДТ до 150 и 300 ºС она имеет значения 0,351 и 0,325 соответственно. По графикам динамики тепловыделения видно, что процесс сгорания при подогреве ДТ активизируется и заканчивается раньше.
Д-245.5S5: 1 ‒ верхняя мертвая точка
Fig. 4. Effect of diesel preheating on the heat release characteristics of the D-245.5S5 engine:
1 ‒ upper dead center
Скорость тепловыделения (dχ / dφ)max в кинетической фазе резко возрастает и в максимуме имеет значение при работе двигателя без подогрева (dχ / dφ)max = 0,1239, а с подогревом ДТ до 150 и 300 ºС равна 0,0893 и 0,0878 соответственно.
Первый максимум скорости тепловыделения обусловлен быстрым сгоранием паров ДТ с окислителем, которые образуются за период задержки воспламенения, а также за счет скорости предпламенных реакций. В камере сгорания имеются локальные зоны с избытком паров топлива и окислителя: в первом случае быстро расходуется окислитель, во втором – пары топлива, что приводит к резкому снижению скорости тепловыделения6 [2; 24; 25].
Скорость тепловыделения в диффузионной фазе при работе двигателя без подогрева составила 0,0549, а с подогревом ДТ до 150 и 300 ºС – 0,0397 и 0,0355 соответственно. В данной фазе основную роль играет скорость диффузии окислителя с парами топлива.
Изменение характера тепловыделения прослеживается на графике максимальных температур (рис. 4). При работе двигателя в номинальном режиме без подогрева ДТ температура в камере сгорания составляет Tmax = 2 561 К, а при работе с подогревом ДТ до 150 и 300 ºС температура равна 2 427 и 2 409 К соответственно.
Обсуждение и заключение
На основе проведенных исследований выявлены зависимости показателей процесса сгорания топлива дизельного двигателя с подогревом до высоких температур.
Полученные индикаторные диаграммы позволяют сделать вывод о влиянии температуры подогрева топлива на процесс сгорания. Работа дизеля с предварительным подогревом топлива сопровождается понижением максимального давления цикла Pz. Уменьшается период задержки воспламенения, что снижает скорость нарастания давления в цилиндре двигателя и жесткость процесса сгорания. В связи с изменением показателей процесса сгорания и тепловыделения возможно предположить повышение эффективности рабочего процесса в двигателе.
Анализ графиков динамики тепловыделения при работе дизельного двигателя на номинальном режиме позволяет сделать вывод, что процесс сгорания эффективен. Активное тепловыделение χi предварительно подогретого ДТ до 150 ºС немного меньше по сравнению с активным тепловыделением при подогреве.
1 Ассад М. С., Пенязьков О. Г. Продукты сгорания жидких и газообразных топлив: образование, расчет, эксперимент. Минск: Белорусская наука, 2010. 305 с. URL: https://www.iprbookshop.ru/12312 (дата обращения: 26.03.21); Образование и разложение загрязняющих веществ в пламени / Н. А. Чигир [и др.]; под ред. Ю. Ф. Дитякина. М.: Машиностроение, 1981. 407 с. URL: https://search.rsl.ru/ru/record/01001031175 (дата обращения: 26.03.21).
2 Кавтарадзе Р. З. Теория поршневых двигателей. Специальные главы. М.: Издательство МГТУ им. Н. Э. Баумана, 2016. 589 с.
3 Мартынова И. Б. Исследование особенностей топливоподачи и экономичности дизеля на долевых нагрузках при подогреве топлива: автореф. дис. ... канд. техн. наук. Калининград, 1996. 23 с. URL: https://www.dissercat.com/content/issledovanie-osobennostei-toplivopodachi-i-ekonomichnosti-dizelya-na-dolevykh-nagruzkakh-pri (дата обращения: 26.03.2021).
4 Руководство по эксплуатации «Беларус 812/822/912/922» 822-0000010РЭ. Минск: ПО «Минский тракторный завод», 1999. 339 с. URL: https://dizelmmz.ru/f/245s2-0000100-re.pdf (дата обращения: 26.03.21).
5 ГОСТ 18509–88. Дизели тракторные и комбайновые. Методы стендовых испытаний. М.: Издательство стандартов, 1988
6 Кавтарадзе Р. З. Теория поршневых двигателей…
About the authors
Sergey А. Plotnikov
Vyatka State University
Author for correspondence.
Email: PlotnikovSA@bk.ru
ORCID iD: 0000-0002-8887-4591
ResearcherId: R-8491-2016
Professor, D.Sc. (Engr.)
Russian Federation, 36 Moskovskaya St., Kirov 610000Anatoly N. Kartashevich
Vyatka State University
Email: vestnik_mrsu@mail.ru
ORCID iD: 0000-0002-3649-1521
Researcher of the Chair of Mechanical Engineering Technology, D.Sc. (Engr.), Professor
Russian Federation, 36 Moskovskaya St., Kirov 610000Marina V. Motovilova
Vyatka State University
Email: vestnik_mrsu@mail.ru
ORCID iD: 0000-0002-6857-3126
Postgraduate Student
Russian Federation, 36 Moskovskaya St., Kirov 610000References
- Rezaei J., Riess S., Wensing M. Phase Change in Fuel Sprays at Diesel Engine Ambient Conditions:Impact of Fuel Physical Properties. Journal of Supercritical Fluids. 2021; 170. (In Eng.) DOI: https://doi.org/10.1016/j.supflu.2020.105130
- Kavtaradze Z.R., Kavtaradze R.Z. The Analysis of No-Formation and Methods of Calculation of No-Concentration in the Piston Engines Working on Traditional and Alternative Fuel. Transport na alternativnom toplive = Alternative Fuel Transport. 2011; (5):65-70. Available at: https://elibrary.ru/item.asp?id=17031174 (accessed 26.03.2021). (In Russ., abstract in Eng.)
- Wu H.-W., Wu Z.-Y. Investigation on Combustion Characteristics and Emissions of Diesel/Hydrogen Mixtures by Using Energy-Share Method in a Diesel Engine. Applied Thermal Engineering. 2012;42:154-162. (In Eng.) DOI: https://doi.org/10.1016/j.applthermaleng.2012.03.004
- Szwaja S., Grab-Rogalinski K. Hydrogen Combustion in a Compression Ignition Diesel Engine.International Journal of Hydrogen Energy. 2009; 34(10):4413-4421. (In Eng.) DOI: https://doi.org/10.1016/j.ijhydene.2009.03.020
- Nag S., Sharma P., Gupta A., Dhar A. Combustion, Vibration and Noise Analysis of Hydrogen-Diesel Dual Fuelled Engine. Fuel. 2019; 241:488-494. Available at: https://scienceon.kisti.re.kr/srch/selectPORSrchArticle.do?cn=NART95330387&dbt=NART (accessed 26.03.2021). (In Eng.)
- Sahoo R.R., Jain A. Experimental Analysis of Nanofuel Additives with Magnetic Fuel Conditioning for Diesel Engine Performance and Emissions. Fuel. 2019; 236:365-372. (In Eng.) DOI: https://doi.org/10.1016/j.fuel.2018.09.027
- Boguslaev V.A., Dolmatov D.A. Effect of Discharge-Induced Components on Hydrocarbon Fuel Drops Burning Rate. Vestnik dvigatelestroeniya = Drive Engineering Bulletin. 2013; (1):41-45. Available at: https://clck.ru/WEAiR (accessed 26.03.2021). (In Russ., abstract in Eng.)
- Han D., Ickes A.M., Bohac S.V., et al. Premixed Low-Temperature Combustion of Blends of Diesel and Gasoline in a High Speed Compression Ignition Engine. Proceedings of the Combustion Institute.2011; 33(2):3039-3046. (In Eng.) DOI: https://doi.org/10.1016/j.proci.2010.07.045
- Zheng Z., Yue L., Liu H., et al. Effect of Two-Stage Injection on Combustion and Emissions under High EGR Rate on a Diesel Engine by Fueling Blends of Diesel/Gasoline, Diesel/N-Butanol, Diesel/Gasoline/N-Butanol and Pure Diesel. Energy Conversion and Management. 2015; 90:1-11. (In Eng.) DOI:https://doi.org/10.1016/j.enconman.2014.11.011
- Liu H., Wang Z., Wang J., He X. Effects of Gasoline Research Octane Number on Premixed Low-Temperature Combustion of Wide Distillation Fuel by Gasoline/Diesel Blend. Fuel. 2014; 134:381-388.(In Eng.) DOI: https://doi.org/10.1016/j.fuel.2014.06.019
- Dhahad H.A., Chaichan M.T. The Impact of Adding Nano-Al2O3 and Nano-Zno to Iraqi Diesel Fuel in Terms of Compression Ignition Engines’ Performance and Emitted Pollutants. Thermal Science and Engineering Progress. 2020; 18. (In Eng.) DOI: https://doi.org/10.1016/j.tsep.2020.100535
- Venu H., Madhavan V. Effect of Al2O3 Nanoparticles in Biodiesel-Diesel-Ethanol Blends at Various Injection Strategies: Performance, Combustion and Emission Characteristics. Fuel. 2016;186:176-189. (In Eng.) DOI: https://doi.org/10.1016/j.fuel.2016.08.046
- Keskin A., Gürü M., Altiparmak D. Influence of Metallic Based Fuel Additives on Performance and Exhaust Emissions of Diesel Engine. Energy Conversion and Management. 2011; 52(1):60-65.(In Eng.) DOI: https://doi.org/10.1016/j.enconman.2010.06.039
- Lenin M.A., Swaminathan M.R., Kumaresan G. Performance and Emission Characteristics of a DI Diesel Engine with a Nanofuel Additive. Fuel. 2013; 109:362-365. (In Eng.) DOI: https://doi.org/10.1016/j.fuel.2013.03.042
- Yasar A., Keskin A., Yildizhan S., Uludamarc E. Emission and Vibration Analysis of Diesel Engine Fuelled Diesel Fuel Containing Metallic Based Nanoparticles. Fuel. 2019; 239:1224-1230. (In Eng.)DOI: https://doi.org/10.1016/j.fuel.2018.11.113
- Vidal A., Kolovos K., Gold M.R., et al. Preferential Cavitation and Friction-Induced Heating of Multi-Component Diesel Fuel Surrogates Up to 450MPa. International Journal of Heat and Mass Transfer.2021; 166. (In Eng.) DOI: https://doi.org/10.1016/j.ijheatmasstransfer.2020.120744
- Zhao J., Grekhov L., Ma X., Denisov A. Specific Features of Diesel Fuel Supply under Ultra-High Pressure. Applied Thermal Engineering. 2020; 179. (In Eng.) DOI: https://doi.org/10.1016/j.applthermaleng.2020.115699
- Plotnikov S.A., Buzikov Sh.V., Atamanyuk V.F. The Study of Operation Indices of Diesel Engine with Fuel Pre-Heating. Vestnik Mariyskogo gosudarstvennogo universiteta = Bulletin of the Mari State University. 2015; (2):39-44. Available at: https://www.agriscience.ru/journal/2411-9687/2015/2%20(2)/39-44 (accessed 26.03.2021). (In Russ., abstract in Eng.)
- Plotnikov S.A., Buzikov Sh.V., Biryukov A.L. Analysis of Combustion and Heat Release of a Tractor Diesel Engine with Pre-Heat Fuel Treatment. Molochnokhozyaystvennyy vestnik = Dairy Bulletin. 2017; (3):114-124. Available at: https://clck.ru/WEBbD (accessed 26.03.2021). (In Russ.,abstract in Eng.)
- Buzikov Sh.V. Influence of Initial Fuel Temperature on the Characteristics of Fuel Injection and Ignition Delay Period in Thediesel Engine. Kontsept = Concept. 2014; (10):6-10. Available at: https://ekoncept.ru/2014/14617.htm (accessed 26.03.2021). (In Russ., abstract in Eng.)
- Khramov M.Yu., Sadekov M.Kh. The Improvement of Engine Characteristics by Means of Thermal Boosting. Vestnik AGTU = Bulletin of Astrakhan State Technical University. 2007; (6):84-86. Available at: https://clck.ru/WECFN (accessed 26.03.2021). (In Russ., abstract in Eng.)
- Balabin V.N., Vasilyev V.N. Features of Application of Thermospeeding Up of Fuel on Locomotive Die. Sovremennye naukoemkie tekhnologii = Modern High Technologies. 2015; (4):107-113. Available at:http://top-technologies.ru/ru/article/view?id=35025 (accessed 26.03.2021). (In Russ., abstract in Eng.)
- Plotnikov S.A., Kantor P.Ya., Motovilova M.V. Activated Fuel as a Means to Improve Engine Performance.Dvgatelestroyeniye = Engines Construction. 2020; (2):19-23. Available at: http://rdiesel.ru/DVIGATELESTROYENIYE/YEAR/2020/r2-2020.html (accessed 26.03.2021). (In Russ., abstract in Eng.)
- Lazarev Ε.А. Physical Concertion and Mathematical Models of the Fuel Combustion Process in the Diesel Engine. Vestnik YuUrGU = Bulletin of the South Ural State University. 2010; (10):32-39. Available at: https://dspace.susu.ru/xmlui/bitstream/handle/0001.74/1072/4.pdf?sequence=1&isAllowed=y(accessed 26.03.2021). (In Russ., abstract in Eng.)
- Chernetsov D.A., Kapustin V.P. Analysis of the Building-up Process of Toxic Components in a Combustion Chamber of Diesel Engines. Voprosy sovremennoy nauki i praktiki = Problems of Contemporary Science and Practice. 2011; (1):54-58. Available at: http://masters.donntu.org/2012/feht/nikolaenko/library/article5.pdf (accessed 26.03.2021). (In Russ., abstract in Eng.)
Supplementary files






















