УПРАВЛЕНИЕ МОБИЛЬНЫМ РОБОТОТЕХНИЧЕСКИМ КОМПЛЕКСОМ ДЛЯ ОБСЛУЖИВАНИЯ ВЕРТИКАЛЬНЫХ ПОВЕРХНОСТЕЙ
- Авторы: Алхаддад М.1, Чащухин В.Г.2
-
Учреждения:
- МФТИ
- ИПМех РАН
- Выпуск: № 3 (2023)
- Страницы: 156-176
- Раздел: РОБОТОТЕХНИКА
- URL: https://journal-vniispk.ru/0002-3388/article/view/136894
- DOI: https://doi.org/10.31857/S0002338823020038
- EDN: https://elibrary.ru/JGFQJB
- ID: 136894
Цитировать
Полный текст
Аннотация
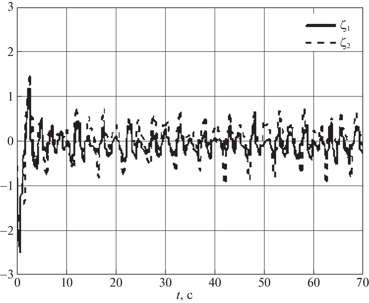
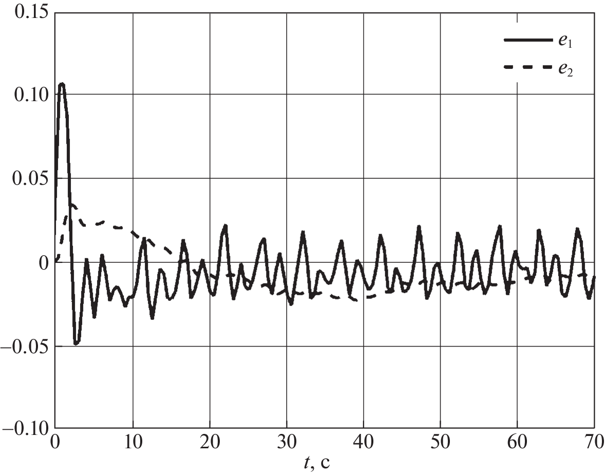
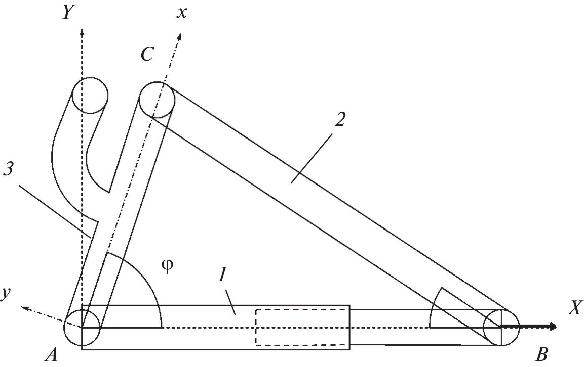
Рассмотрен робототехнический комплекс, состоящий из транспортно-манипуляционной платформы и установленного на ней робота вертикального перемещения. Платформа предназначена для перемещения робота по горизонтальной поверхности и его установки на вертикальную поверхность. Описывается практическая реализация алгоритма управления платформой, позволяющего автоматизировать процесс установки робота на вертикальную поверхность.
Об авторах
М. Алхаддад
МФТИ
Email: alkhaddad.m@phystech.edu
Россия, Москва
В. Г. Чащухин
ИПМех РАН
Автор, ответственный за переписку.
Email: ketlk@mail.ru
Россия, Москва
Список литературы
- Нунупаров А.М., Чащухин В.Г. Система управления робота вертикального перемещения с аэродинамическим прижатием // Изв. РАН. ТиСУ. 2020. № 2. С. 168–176.
- Chashchukhin V.G. Orientation System of the Aerodynamically Adhesive Wall Climbing Robot // Extreme Robotics. 2019. V. 1. № 1. P. 145–148.
- Чащухин В.Г. Исследование параметров движения робота со скользящим уплотнением // Вестн. Нижегородск. ун-та им. Н.И. Лобачевского. 2011. № 4 (1.2). С. 347–349.
- Алхаддад М. Моделирование и управление движением манипулятора с замкнутой кинематической цепью и линейным приводом // Изв. РАН. ТиСУ. 2021. № 3. С. 168–176.
- Алхаддад М. Адаптивное управление движением мобильного колесного робота с учетом неидеальности приводов // Изв. РАН. ТиСУ. 2022. № 5. С. 144–158.
- Wang H., Fukao T., Adachi N. An Adaptive Tracking Control Approach for Nonholonomic Mobile Robot // IFAC Proceedings. 1999. V. 32. № 2. P. 8184–8189.
- Fukao T., Nakagawa H., Adachi N. Adaptive Tracking Control of a Nonholonomic Mobile Robot // IEEE Transactions on Robotics and Automation. 2000. V. 16. № 5. P. 609–615.
- Pourboghrat F., Karlsson M.P. Adaptive Control of Dynamic Mobile Robots with Nonholonomic Constraints // Computers and Electrical Engineering. 2002. V. 28. № 4. P. 241–253.
- Koubaa Y., Boukattaya M., Dammak T. An Adaptive Control for Uncertain Mobile Robot Considering Skidding and Slipping Effects // 5th Intern. Conf. on Systems and Control (ICSC). Marrakesh, 2016. P. 13–19.
- Wu J., Xu G., Yin Z. Robust Adaptive Control for a Nonholonomic Mobile Robot with Unknown Parameters // J. Control Theory Appl. 2009. V. 7. P. 212–215.
- Ye J. Adaptive Control of Nonlinear PID-based Analog Neural Networks for a Nonholonomic Mobile Robot // Neurocomputing. 2008. V. 71. P. 1561–1565.
- Canigur E., Ozkan M. Model Reference Adaptive Control of a Nonholonomic Wheeled Mobile Robot for Trajectory Tracking // Intern. Sympos. on Innovations in Intelligent Systems and Applications. Trabzon, 2012. P. 1–5.
Дополнительные файлы



































