On advanced manned spacecraft motion control using jet thrusters
- Authors: Sumarokov A.V.1,2
-
Affiliations:
- Korolev Energia Rocket and Space Corporation
- Moscow Institute of Physics and Technology (National Research University)
- Issue: No 2 (2024)
- Pages: 154-168
- Section: CONTROL SYSTEMS FOR MOVING OBJECTS
- URL: https://journal-vniispk.ru/0002-3388/article/view/264497
- DOI: https://doi.org/10.31857/S0002338824020137
- EDN: https://elibrary.ru/VOBQLW
- ID: 264497
Cite item
Full Text
Abstract
The motion control of the advanced manned spacecraft “Orel” is considered. For maneuvering and angular stabilization, a propulsion system is used as an actuator. In order to ensure simultaneous control of the motion of the center of mass of the spacecraft (SC) and its stabilization with the help of engines at each moment of time, it is necessary to solve the problems of determining the required change in the speed of the SC, choosing the optimal configuration of the engines, and the problem of predicting the motion parameters of the SC. Methods for solving these problems, applied in the development of the control system of the manned spacecraft “Orel”, are presented. The operability of the described algorithms is confirmed by the results of mathematical modeling on a ground test bench for onboard software.
Full Text
Введение. Пилотируемый транспортный корабль (ПТК) нового поколения «Орел», разработка которого в настоящий момент завершается, должен прийти на смену пилотируемым кораблям серии «Союз» и стать основным средством доставки экипажей на проектируемую Российскую орбитальную станцию [1]. Вместе с тем технический задел, реализованный в данном корабле, должен обеспечить России доступ пилотируемых полетов как на низкие околоземные, так и на окололунные орбиты. Кроме того, этот корабль должен стать средством для проведения различных космических экспериментов, связанных с изучением жизнедеятельности человека в космосе, созданием новых материалов и технологий [2], исследованием Земли из космоса [3, 4]. С точки зрения системы управления движением корабль «Орел» отчасти подобен транспортным пилотируемым и грузовым кораблям типа «Союз», «Прогресс», решающим в ходе своего полета схожие задачи [5]. Как и на данных кораблях, на ПТК для осуществления угловых и пространственных маневров используется набор ракетных двигателей, размещенных в различных точках двигательного отсека. Однако вместе с тем в корабле «Орел» имеется и ряд особенностей, позволивших значительно расширить функционал системы управления движением [6]. В частности, одной из особенностей является возможность индивидуального управления каждым двигателем ориентации, в то время как на кораблях «Союз» и «Прогресс» управляющие воздействия, рассчитанные в бортовых алгоритмах, выдаются сразу на группы двигателей. Данное обстоятельство дает возможность оптимизировать конфигурацию включаемых двигателей в зависимости от величины и направления требуемого приращения линейной и угловой скоростей с точки зрения расхода топлива, необходимого на их реализацию. Это достигается с помощью алгоритма, подобного использованному ранее на многофункциональном лабораторном модуле «Наука» [7, 8]. Как и на данном модуле, указанная особенность позволяет значительно расширить возможности системы управления с точки зрения автоматической реконфигурации набора применяемых двигателей в случае отказов отдельных двигателей. Однако в отличие от модуля «Наука» в ПТК «Орел» предлагается использовать методы оптимизации не только для управления угловым движением, но и при реализации орбитальных маневров с помощью двигателей причаливания и ориентации.
- Постановка задачи. Рассматривается алгоритм формирования совокупности управляющих сигналов на двигатели ПТК «Орел». Алгоритм обеспечивает одновременное управление движением как центра масс корабля, так и вокруг его центра масс на участке автономного полета. Двигательная установка (ДУ) ПТК состоит из 32 двигателей двух типов: 30 двигателей причаливания и ориентации (ДПО) тягой ~248 Н, которые используются для управления движением и центра масс и осуществления угловых маневров; 2 маршевых двигателя (МД) тягой ~20000 Н, имеющие возможность отклонения вектора тяги – для осуществления орбитальных маневров. Рассматриваемый в работе алгоритм управления не затрагивает применение МД.
Для перемещений центра масс аппарата и его вращения с помощью ракетных двигателей управление осуществляется с использованием широтно-импульсной модуляции длительности включения двигателей. Все ДПО распределены по поверхности двигательного отсека ПТК для обеспечения возможности создания управляющих воздействий по любому из 12 каналов управления (6 пространственных и 6 угловых). На рис. 1 черными стрелками для каждого ДПО изображены направления истечения продуктов сгорания. Направление тяги, создаваемой ДПО, имеет соответственно противоположное направление. Двигатели расположены в восьми блоках, которые образуют три пояса двигателей. Первый пояс находится на донном экране двигательного отсека и состоит из восьми ДПО (ДПО1-ДПО8 на рис. 1,б). Указанный набор двигателей используется для перемещения в направлении +X и создания моментов в каналах рысканья и тангажа. Средний пояс размещен вблизи положения центра масс на продольной оси ПТК и состоит из восьми ДПО (ДПО23-ДПО30 на рис. 1). Данные двигатели создают небольшие управляющие моменты (по сравнению с ДПО донного торца) и применяются в основном для перемещений в боковых каналах ±Y и ±Z. Наконец, передний пояс расположен ближе к возвращаемому аппарату и состоит из 14 ДПО (ДПО9-ДПО22 на рис. 1). Предназначение двигателей данного пояса: обеспечение перемещения в направлении –X и создание моментов в каналах тангажа и рысканья (ДПО9-ДПО14 на рис. 1) и в канале крена (ДПО15-ДПО22 на рис. 1). Двигатели разделены на два гидравлических коллектора (в одном – 14 ДПО в другом – 16 ДПО), каждый из которых отдельно позволяет решать поставленную задачу управления пространственным движением ПТК. В качестве основного варианта управления рассматривается одновременное использование всех 30 ДПО. Одной из проблем при формировании управляющих длительностей включения двигателей является то обстоятельство, что направления тяг подавляющего большинства двигателей не совпадают ни с каналами измерителя угловой скорости, ни с направлениями осей связанной системы координат ПТК. В основном практически все двигатели создают воздействия сразу по всем каналам управления, что затрудняет возможности их комбинирования для формирования управляющего воздействия только по одному или нескольких выбранным каналам.
Рис. 1. Положение осей связанной системы координат ПТК и расположение двигателей
В качестве связанного базиса ПТК применяется система координат с началом в центре масс: продольная ось Ox направлена в сторону стыковочного узла, ось Oy – в сторону кронштейна крепления штанги, на которой установлена остронаправленная антенна, а ось Oz совпадает с осью вращения солнечных батарей и дополняет систему до правой тройки (рис. 1, а).
Как и в случае модуля «Наука», задача управления пространственным движением с помощью двигателей состоит из трех основных частей: определение потребного изменения скорости космического аппарата (КА) на каждом такте управления бортовой центральной вычислительной машины; реализация потребного изменения угловой скорости с помощью ДУ путем выбора оптимальной схемы включения двигателей; прогнозирование изменения параметров движения КА.
- Определение потребного изменения скорости КА. Введем орбитальную систему координат. Расположение осей этой системы аналогично описанному в [9]: ось Oy′ направлена вдоль радиус вектора от центра Земли, ось Oz′ – против вектора угловой скорости орбитального движения, ось Ox′ – в сторону вектора линейной скорости и дополняет систему до правой тройки. На рис. 1, а показано взаимное расположение осей орбитального базиса и связанного при нулевых угловых рассогласованиях. В подавляющем большинстве случаев в качестве целевой ориентации ПТК «Орел» в контур управления задается некоторое постоянное положение относительно орбитального базиса, определяемое R – кватернионом перехода из орбитального в целевой базис. Данный базис вращается вместе с орбитальным. Относительно целевого базиса в контуре управления рассчитываются угловые ошибки ориентации в виде управляющего кватерниона . В случае, если при помощи показаний позиционных датчиков известно рассогласование между орбитальным и связанным базисом Λ, управляющий кватернион определяется как
,
где ~ означает операцию сопряжения кватерниона R, задающего целевую ориентацию ПТК относительно орбитального базиса.
В [7] показано, что решение задачи определения потребного изменения скорости КА при малых угловых рассогласованиях может быть осуществлено при помощи фазовой плоскости, а в случае, если угол рассогласования между целевой ориентацией и связанным базисом велик, осуществляется поворот вокруг оси Эйлера [10–12].
На рис. 2 изображены параметры управления ПТК на фазовой плоскости для каждого канала управления в координатах угла рассогласования , , N0 ≥ 0, между заданным положением корабля относительно целевой системы координат и реальным его положением (по оси абсцисс) и разности между проекцией на оси управления текущей оценки угловой скорости и программной угловой скоростью вращения целевого базиса , (по оси ординат). Оценка угловой скорости получена непосредственно по показаниям датчика угловой скорости ωi(t), , с помощью фильтра упругих колебаний, представляющего собой фильтр Калмана [13, 14]. На фазовой плоскости изображена зона нечувствительности, ограниченная линиями переключения, ширина которой по вертикали составляет град/с. В [15] показано, что уравнение динамики углового движения в фазовых переменных будет иметь вид
, (2.1)
здесь d – знак дифференциала.
Рис. 2. Линии переключения на фазовой плоскости
В этом случае вся фазовая плоскость оказывается разделенной на три зоны. Внутри зоны нечувствительности отсутствует управление, и движение определяется . Снизу от зоны нечувствительности будет зона, в которой движение задается положительным моментом, согласно уравнению (εi > 0), а сверху – отрицательным (εi < 0)). Здесь εi, – ускорение, создаваемое двигателями в каждом канале управления. Значение произвольной постоянной в приведенных выше уравнениях определяется начальными величинами угловых рассогласований и угловых скоростей.
Как и в [7] для каждого канала управления потребное приращение угловой скорости (управляющий сигнал , ) находится как расстояние по вертикали от точки А, соответствующей текущему состоянию системы, до ближайшей границы зоны нечувствительности с учетом гистерезиса. Будем понимать под суммарным угловым рассогласованием величину угла Эйлерова поворота от целевой к связанной ориентации. При суммарном угловом рассогласовании, превышающем 15°, происходит поворот вокруг оси Эйлера [12], которая определяется кватернионом рассогласования , . Управляющий сигнал в этом случае запишем следующим образом:
,
где ω0 – угловая скорость поворота, ka ≥ 1 – коэффициент углового гистерезиса, δωcl – ближайшая граница зоны нечувствительности по угловой скорости. При приближении в процессе разворота угла к границам зоны нечувствительности, изображенной на рис. 2, если угловое рассогласование νi в канале пока еще превышает 6.1°, а суммарное угловое рассогласование (угол кратчайшего поворота) по всем каналам уже менее 15°, то линия переключения в этом канале управления определяется движением с постоянным ускорением , . Таким образом, согласно (2.1), в первом приближении можно считать, что управляющий сигнал находится по формуле
. (2.2)
Когда угловое рассогласование νi в канале становится менее 6.1º, непосредственно используется закон управления с помощью фазовой плоскости (рис. 2). Считается, что управляющая скорость в каналах, отвечающих за пространственные перемещения центра масс, задается извне и рассчитывается в алгоритмах сближения или управления движением центра масс.
- Реализация потребного изменения угловой скорости с помощью ДУ. Подобно системе управления многоцелевого лабораторного модуля «Наука» при решении задачи реализации потребного изменения угловой скорости с помощью ДУ для выбора оптимальной схемы включения двигателей применяется алгоритм, основанный на методах линейного программирования [16]. Однако в отличие от того алгоритма, который использовался в этом модуле, в системе управления ПТК помимо расчета длительностей включения отдельных двигателей для реализации потребного изменения параметров углового движения также задействуется алгоритм расчета длительностей отключения части включенных двигателей при выдаче корректирующего импульса на этих же ДПО. Указанный алгоритм основан на методах линейного программирования и применяется при реализации орбитальных маневров как с помощью ДПО в качестве корректирующих двигателей, так и с применением МД. Использование данного алгоритма в ходе коррекций орбиты на МД обусловлено необходимостью создания продольной перегрузки перед его включением для обеспечения прижатия топлива к заборным горловинам баков низкого давления. Так как требуемая длительность такой перегрузки составляет несколько десятков секунд, то для угловой стабилизации в этом режиме может потребоваться отключать часть ДПО.
В результате при отсутствии требования на перемещение центра масс по продольной оси корабля задача линейного программирования (ЗЛП) для NDO = 30 двигателей формулируется таким же образом, как в [7]. Требуется найти времена включения произвольной комбинации двигателей для того, чтобы достичь по всем трем каналам управления угловым движением границ зоны нечувствительности по угловой скорости (рис. 2), затратив при этом минимальное количество топлива.
Поэтому необходимо минимизировать целевую функцию:
, (3.1)
где rn – секундный расход топлива для каждого из выбранных двигателей, τn – длительность работы каждого двигателя. При этом следует удовлетворить следующим шести условиям на приращение угловой скорости:
(3.2)
Здесь – угловое ускорение, создаваемое n-м двигателем, и – векторы расстояний по вертикали в каждом канале управления от текущего фазового состояния системы соответственно до нижней и верхней границ зоны нечувствительности.
Следует отметить, что для максимизации линейных ускорений предусмотрено, что длительности включения двигателей для управления движением центра масс рассчитываются по заранее заложенным таблицам, после чего рассчитываются длительности включения оставшихся незадействованными двигателей при помощи решения задачи (3.1), (3.2), в результате чего формируются управляющие воздействия в каналах управления угловым движением.
В случае необходимости значительного приращения линейной скорости вдоль продольной оси корабля в режим постоянной работы включаются NDO = 4, 6 или восемь ДПО (в зависимости от готовности коллекторов и задания конфигурации используемых ДПО), и управление в каналах тангажа и рысканья происходит путем полного или частичного отключения некоторых ДПО. Ввиду того, что в ходе коррекции орбиты для минимизации длительности выдачи импульса необходимо обеспечить как можно большее ускорение центра масс вдоль продольной оси, таким образом, фактически в этом случае необходима не минимизация длительностей включения ДПО, а минимизация отключений работающих ДПО для создания максимального приращения пространственной скорости вдоль продольной оси. Кроме того, ввиду отсутствия заметных компонент ускорений от данных ДПО в канале крена управление по данному каналу исключается из ЗЛП, а реализуется отдельно при помощи ДПО15-ДПО22 с применением табличного метода:
, (3.3)
где – номера пары ДПО, создающих ускорения в каналах +X или –X. В результате ЗЛП переформулируется следующим образом: необходимо минимизировать целевую функцию (3.1) с ограничениями на не отрицательность получившегося решения и требованием приведения угловой скорости внутрь зоны нечувствительности при минимизации отключений всех работающих двигателей:
(3.4)
Здесь, в отличие от (3.2) и (3.3), под τn понимается длительность отключения отдельного двигателя.
К сожалению, формулировать и решать задачу оптимизации путем задания ограничений во всех шести каналах (три пространственных и три угловых) ввиду ее чрезвычайной вычислительной сложности для бортового компьютера не представляется возможным. В итоге используется следующая последовательность расчетов для решения задачи управления. Во-первых, при необходимости, длительности включения двигателей для управления движением центра масс в боковых каналах (±Y и ±Z) рассчитываются по заранее заложенным таблицам. Применение в данном случае таблиц оправдано тем, что пояс двигателей, создающих ускорения в боковых каналах, расположен достаточно близко к центру масс, что обеспечивает сравнительно малый уровень возмущающих угловых ускорений вокруг центра масс. Данные возмущения компенсируются остальными двигателями на последующих тактах управления. Вторым этапом следует расчет длительности отключения ДПО, формирующих ускорение в продольном канале для управления тангажом и рысканьем. Таким образом здесь решается задача совместного управления угловым движением в каналах тангажа и рысканья и линейным движением в продольном канале. На последнем этапе рассчитываются длительности включения двигателей крена путем выбора необходимой конфигурации двух ДПО из восьми создающих угловые ускорения в данном канале. Обособление канала крена также оправдано тем, что для управления используется пара двигателей, создающих силы в противоположных направлениях и, соответственно, никак не влияющих на движение центра масс. Ввиду расположения пояса этих двигателей вблизи центра масс угловые возмущения в оставшихся угловых каналах также будут невелики и в последствии будут скомпенсированы на втором этапе расчета.
Решение каждой из этих задач линейного программирования в бортовом алгоритме производится с помощью модифицированного симплекс-метода [13]. Полученные при помощи решения задачи (3.1)–(3.4) длительности включения двигателей , если их максимальное значение превысило величину такта управления, составляющую 0.2 с, нормируются на это максимальное значение, и результат масштабируется к величине такта управления путем умножения на его длительность. В результате при включении найденной комбинации двигателей параметры движения КА будут изменяться в необходимом направлении. Ввиду небольших величин угловых скоростей вращения (при поворотах, не превышающих 3.5 град/с) нелинейность уравнений движения не окажет особого влияния на процесс управления, к тому же на следующем такте управления через 0.2 с задача (3.1), (3.2) или (3.1), (3.3), (3.4) будет решена заново с изменившимися начальными условиями.
- Прогнозирование изменения параметров движения КА. После определения оптимальной на данном такте бортовой цифровой вычислительной машины (БЦВМ) комбинации двигателей и длительностей их включения найденные длительности нормируются на длительность такта, затем дискретизуются с учетом характеристик конкретных двигателей. А именно, необходимо соблюсти минимальное время работы двигателя и для обеспечения возможности их использования на следующем такте управления нужно выдержать паузу между включениями. Для ДПО минимальная длительность включения двигателей составляет 30 мс, и минимальная пауза между включениями двигателей ДПО – также 30 мс. Управляющее воздействие на каждый двигатель формируется на основе вычисленной дискретизованной длительности его включения, величина дискрета составляет 10 мс. В результате на каждый ДПО передается управляющая длительность, которая на данном такте управления длительностью 200 мс может принимать одно из следующих значений: {0, 30, 40, 50, 60, 70, 80, 90, 100, 110, 120, 130, 140, 150, 160, 170, 200} мс, .
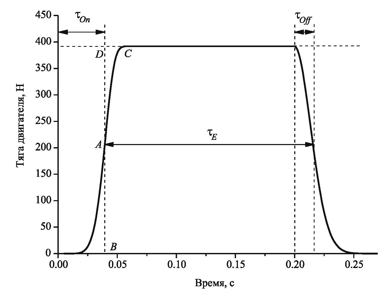
После задания управляющих воздействий на двигатели необходимо спрогнозировать изменение угловой и линейной скоростей от срабатывания двигателей. Реальный профиль импульса двигателя не является прямоугольным, а приблизительно выступает следующей функцией:
(4.1)
Здесь TR – время «электрической» задержки прохождения команды на включение двигателя, Pnom – номинальная тяга двигателя, а коэффициенты k1, k2, n1, n2 можно подобрать экспериментально. На рис. 3 изображен график тяги импульса длительностью 0.2 с. Проводить точный учет профиля импульса (4.1) ввиду ограниченности вычислительных возможностей БЦВМ не является целесообразным, поэтому, как и в [7], задача прогнозирования изменения параметров движения КА решается путем расчета эффективной длительности работы двигателя в случае его включения на текущем такте БЦВМ по следующей формуле:
,
Рис. 3. Профиль тяги импульса двигателя
где τOn – задержка включения двигателя, τOff – задержка выключения двигателя. Задержки τOn и τOff рассчитываются из условий равенства интегралов:
и ,
здесь τ0.99 и τ0.01 – длительность нарастания тяги до значения 0.99PNom и время спада тяги до значения 0.01PNom соответственно. Суть данных соотношений состоит в равенстве криволинейных треугольников ОAB и ACD на рис. 3 при включении двигателя и аналогичных треугольников при его выключении.
После расчета эффективных длительностей работы каждого двигателя вычисляется прогнозируемое приращение за такт управления угловой Δω(t) и линейной Δv(t) скоростей:
.
где an и εn – линейное и угловое ускорения, создаваемые каждым двигателем. В частности, для ДПО задержка включения составляет 30 мс, а задержка выключения – 27 мс.
- Результаты численного моделирования. Результаты работы алгоритма выбора набора включаемых ДПО на основе решения задачи (3.1), (3.2) были приведены в [7], для ПТК «Орел» поведение параметров ориентации и движения центра масс имеют похожий характер. Поэтому в данной статье более подробно рассмотрим решение задачи (3.1), (3.3), (3.4). Для демонстрации работы алгоритма расчета длительностей включения ДПО на основе решения задачи (3.1), (3.3), (3.4) далее приведены результаты моделирования реализации орбитальных маневров по декартовой (когда требуемое направление приращения линейной скорости перепроектируется на оси связанного базиса и реализация импульса осуществляется с использованием ДПО, работающих в разных направлениях) и по полярной схемам (когда в связанной системе существует некое выделенное направление, в котором имеется возможность создания большой тяги, в частности для ПТК это направления +Х и –Х, и связанный базис разворачивается в пространстве таким образом, чтобы совместить указанное направление тяги с необходимым направлением выдачи импульса в инерциальном базисе). Для разнообразия продемонстрированы варианты реализации импульсов как на «разгон» (в направлении +Х), так и на «торможение» (в направлении –Х). Данные были получены в результате моделирования полета ПТК на наземном комплексе отработки программного обеспечения. В состав стенда входит: реальная бортовая БЦВМ с прошитым бортовым программным обеспечением; наземная модель динамики и бортовых систем; модели аппаратуры системы управления движением и внешней среды; модель упругих колебаний конструкции КА; сервисное программное обеспечение. Моделировались профили импульсов, согласно (4.1), задержки измерений и исполнения команд, ошибки установки и тяг двигателей.
На рис. 4 изображено поведение угловых скоростей и рассогласований в каналах крена, рысканья и тангажа при выполнении коррекции орбиты по декартовой схеме с импульсом величиной . Причем реализация его компоненты вдоль продольной оси и стабилизация в каналах тангажа и рысканья осуществляется четырьмя хвостовыми ДПО первого коллектора (ДПО1, ДПО3, ДПО5, ДПО7), управление в боковых каналах – включением ДПО среднего пояса, а для управления в канале крена используются ДПО переднего пояса ДПО17, ДПО18, ДПО21, ДПО22. На рис. 5 изображено поведение требуемых приращений скорости в линейных каналах в проекциях на оси связанного базиса. Из приведенных графиков видно, что в процессе управления угловое рассогласование не превышает 0.8°, а угловая скорость не превышает границ зоны нечувствительности, составляющих 0.12 град/с.
Рис. 4. Поведение угловой скорости и углового рассогласования в процессе коррекции орбиты по декартовой схеме в направлении +Х
Рис. 5. Поведение линейной скорости в процессе коррекции орбиты по декартовой схеме в направлении +Х
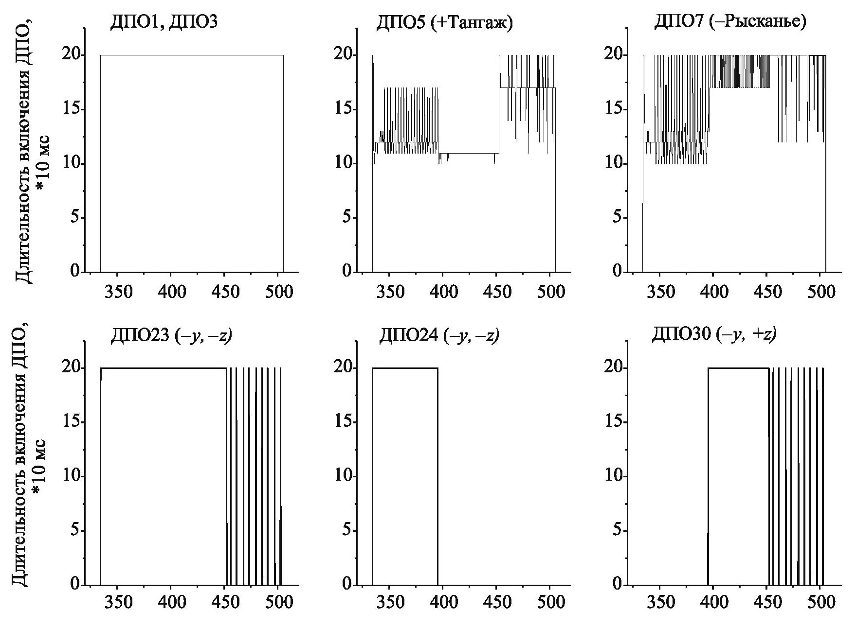
На рис. 6 изображены циклограммы включения ДПО, отвечающих за непосредственную реализацию импульса в продольном канале (графики в верхней части рис. 6) и в боковых каналах (графики в нижней части рис. 6). На циклограммах изображены рассчитанные алгоритмом длительности включения ДПО, представленные в квантах по 10 мс. Ввиду того что длительность такта управления составляет 200 мс, значение 20 квантов означает непрерывную работу двигателя на такте управления, меньшая величина говорит об его импульсной работе на данном такте. Графики рис. 6 демонстрируют, что для реализации импульса одновременно в двух боковых каналах –Y и –Z включились ДПО23 и ДПО24, создающие тягу в данном направлении. По мере отработки импульса в канале –Z ДПО24 был отключен и включен ДПО30 для обеспечения тяги только в канале –Y. Как только реализация требуемого приращения скорости в боковых каналах была завершена, оба ДПО были отключены и включались лишь периодически для компенсации накопленных ошибок, возникших при отработке импульса в продольном канале. В свою очередь в продольном канале вначале были включены все четыре ДПО. Ввиду того что центр масс ПТК «Орел» не расположен на продольной оси, а незначительно смещен в направлениях +Y и +Z, часть двигателей периодически отключалась для компенсации возмущающего момента, возникающего как от разности моментов двух противоположных ДПО, вызванной смещением центра масс, так и от работы ДПО, создающих тягу в боковых каналах и канале крена.
Рис. 6. Циклограмма работы ДПО при коррекции орбиты по декартовой схеме в направлении +Х
Наиболее интересной представляется работа алгоритма при реализации импульса в направлении –X. Все двигатели, создающие тягу в направлении +X, дополнительно создают тягу в основном в одном из угловых каналов или тангажа, или рысканья, в то время как двигатели, создающие тягу в направлении –X, дополнительно создают тягу одновременно в обоих этих угловых каналах. Поэтому создание таблицы включений для данных ДПО является достаточно сложной задачей. На рис. 7 изображено поведение угловых скоростей и рассогласований в каналах крена, рысканья и тангажа при реализации коррекции орбиты по декартовой схеме с импульсом величиной . Причем компонента импульса вдоль продольной оси и стабилизация в каналах тангажа и рысканья осуществляется четырьмя ДПО переднего пояса, входящими в состав второго гидравлического коллектора (ДПО9, ДПО10, ДПО12, ДПО13), управление в боковых каналах – включением ДПО среднего пояса, а для управления в канале крена также используются ДПО переднего пояса ДПО17, ДПО18, ДПО21, ДПО22. На рис. 8 рассмотрено поведение требуемых приращений скорости в линейных каналах в проекциях на оси связанного базиса. Из приведенных графиков видно, что в процессе управления угловое рассогласование не превышает 0.8°, а угловая скорость незначительно превышает границы зоны нечувствительности, составляющие 0.12 град/с только в моменты реакций системы управления на перестройку возмущающих моментов, что находится в допустимых пределах.
Рис. 7. Поведение угловой скорости и углового рассогласования в процессе коррекции орбиты по декартовой схеме в направлении –Х
Рис. 8. Поведение линейной скорости в процессе коррекции орбиты по декартовой схеме в направлении –Х
На рис. 9 показаны циклограммы включения ДПО, отвечающих за непосредственную реализацию импульса в продольном (графики в верхней части рис. 9 и левый график нижней части) и в боковых каналах (центральных и правый графики в нижней части рис. 9). На циклограммах изображены рассчитанные алгоритмом длительности включения ДПО, представленные в квантах по 10 мс. Графики рис. 9 демонстрируют, что, как и в предыдущем случае, для реализации импульса одновременно в двух боковых каналах –Y и –Z включились ДПО23 и ДПО24, создающие тягу в данном направлении, и по мере отработки импульса в канале –Z ДПО24 был отключен и включен ДПО30 для обеспечения тяги только в канале –Y. Как только реализация требуемого приращения скорости в боковых каналах была завершена, оба ДПО были отключены. В свою очередь в продольном канале вначале были включены все четыре ДПО. Далее одна пара двигателей работала непрерывно, а вторая периодически отключалась для компенсации возмущающих моментов, возникающих как различия тяг противоположных ДПО, вызванных смещением центра масс, так и от работы ДПО, создающих тягу в боковых каналах и канале крена. Следует отметить, что состав каждой из пар периодически менялся по мере изменения состава ДПО, включённых для реализации импульса в боковых каналах.
Рис. 9. Циклограмма работы ДПО при коррекции орбиты по декартовой схеме в направлении –Х
Крайне интересным представляется также рассмотреть пример коррекции орбиты по полярной схеме с использованием всех восьми ДПО донного экрана. Данный режим предполагается достаточно часто применять в полете, ввиду того что в этом режиме на осаждение топлива в баках низкого давления перед включением МД требуется минимальное время, что делает необходимым включение восьми ДПО донного экрана перед каждым включением МД. Дополнительно данный режим является резервным вариантом выдачи спускового импульса для обеспечения посадки возвращаемого аппарата и основным вариантом коррекции орбиты при автономном полете двигательного отсека после отделения от него возвращаемого аппарата. На рис. 10 изображено поведение угловых скоростей и угловых рассогласований в каналах крена, рысканья и тангажа при реализации коррекции орбиты по полярной схеме с импульсом величиной . Причем компонента импульса вдоль продольной оси и стабилизация в каналах тангажа и рысканья осуществляется восемью ДПО донного экрана, входящими в состав сразу обоих гидравлических коллекторов (ДПО1-ДПО8), управление в боковых каналах при реализации импульса по полярной схеме не осуществляется. Для управления в канале крена, как и ранее, используются ДПО переднего пояса ДПО17, ДПО18, ДПО21, ДПО22. На рис. 11 рассмотрено поведение требуемых приращений скорости в линейных каналах в проекциях на оси связанного базиса. Из приведенных графиков видно, что в процессе управления угловое рассогласование не превышает 0.8°, а угловая скорость незначительно превосходит границы зоны нечувствительности, составляющие 0.12 град/с только в момент включения всех ДПО донного экрана, что находится в допустимых пределах.
Рис. 10. Поведение угловой скорости и углового рассогласования в процессе коррекции орбиты по полярной схеме в направлении +Х
Рис. 11. Поведение линейной скорости в процессе коррекции орбиты по полярной схеме в направлении +Х
На рис. 12 изображены циклограммы включения ДПО, отвечающих за непосредственную реализацию импульса в продольном канале (графики в верхней части рис. 12 и левый график нижней части) и в канале крена (центральный и правый графики в нижней части рис. 12). На циклограммах приведены рассчитанные алгоритмом длительности включения ДПО, представленные в квантах по 10 мс. Графики рис. 12 демонстрируют, что в продольном канале вначале были включены все восемь ДПО, а далее пять ДПО работали непрерывно, а ДПО5, ДПО6 и ДПО7 периодически отключались для компенсации возмущающих моментов, возникающих от смещения центра масс. Ввиду того что ДПО5 и ДПО6 создают управляющий момент одного знака в канале тангажа, но при этом дополнительно создают небольшие моменты противоположных знаков в канале рысканья, алгоритмом выбиралось, какой из этих ДПО должен быть отключен в зависимости от угловых скоростей и угловых рассогласований в канале рысканья. Значительные моменты в данном канале создавались ДПО7. ДПО, создающие тягу в канале крена, практически не включались.
Рис. 12. Циклограмма работы ДПО при коррекции орбиты по полярной схеме в направлении +Х
Заключение. Рассмотрен алгоритм управления движением ПТК «Орел» с помощью двигателей на его участке автономного полета. Алгоритм обеспечивает одновременное управление как движением центра масс ПТК, так и движением вокруг центра масс. Подробно рассмотрены схемы одновременной реализации импульсов, корректирующих движение центра масс с одновременной стабилизацией углового движения как при формировании импульсов по декартовой схеме, так и по полярной схеме. Представленные результаты моделирования движения КА на наземном комплексе обработки бортового программного обеспечения доказывают его эффективность и работоспособность.
About the authors
A. V. Sumarokov
Korolev Energia Rocket and Space Corporation; Moscow Institute of Physics and Technology (National Research University)
Author for correspondence.
Email: anton.sumarokov@rsce.ru
Russian Federation, Korolev; Dolgoprudny
References
- Соловьев В.А., Коваленко А.А. Высокоширотная пилотируемая орбитальная станция. Задачи управления полетом // Матер. общих заседаний 15-й мультиконф. по проблемам управления. СПб.: ГНЦ РФ ОАО «Концерн «ЦНИИ «Электроприбор», 2022. С. 7–9.
- Сумароков А.В. О бортовом алгоритме усреднения параметров орбитального движения Международной космической станции в эксперименте ICARUS // Изв. РАН. ТиСУ. 2018. № 2. С. 102–111.
- Беляев М.Ю., Десинов Л.В., Караваев Д.Ю. и др. Особенности проведения и использования результатов съемок земной поверхности, выполняемой экипажами Российского сегмента МКС // Космическая техника и технологии. 2015. № 1. С. 17–30.
- Сумароков А.В. Наведение камеры высокого разрешения при видеосъёмке поверхности Земли с МКС // Навигация и управление движением. Матер. XVII конф. молодых ученых «Навигация и управление движением» // Под. общ. ред. В.Г. Пешехонова. СПб.: ГНЦ РФ ОАО «Концерн «ЦНИИ «Электроприбор», 2015. С. 561–568.
- Борисенко Н.Ю., Борисенко Ю.Н., Платонов В.Н. и др. Анализ статистики ускоренного построения орбитальной системы координат транспортных пилотируемых и грузовых кораблей и методы повышения точности // Космическая техника и технологии. 2018. № 2. С. 58–65.
- Сумароков А.В. Об управлении движением Многоцелевого лабораторного модуля с помощью реактивных двигателей на автономном участке полета // Навигация и управление движением. Матер. XIV конф. молодых ученых «Навигация и управление движением» // Под. общ. ред. В.Г. Пешехонова. СПб.: ГНЦ РФ ОАО «Концерн «ЦНИИ «Электроприбор», 2012. С. 157–164.
- Сумароков А.В. Управление движением Многоцелевого лабораторного модуля с помощью двигательной установки // Изв. РАН. ТиСУ. 2023. № 3. С. 141–155.
- Прутько А.А., Сумароков А.В. О нагрузках на элементы конструкции Многоцелевого лабораторного модуля на автономном участке полета // Вестн. МГТУ им. Н.Э. Баумана. Сер. Приборостроение. 2017. № 2. С. 123–138.
- Богданов К.А., Зыков А.В., Субботин А.В. и др. Применение обобщенных полиномов Баттерворта для стабилизации положения равновесия космической станции // Изв. РАН. ТиСУ. 2020. № 3. С. 148–163.
- Платонов В.Н., Сумароков А.В. Управление космическим аппаратом с помощью двухстепенных гироскопов при их раскрутке и торможении // Изв. РАН. ТиСУ. 2020. № 2. С. 156–167.
- Платонов В.Н., Сумароков А.В. Обеспечение точностных характеристик стабилизации перспективного космического аппарата дистанционного зондирования Земли // Изв. РАН. ТиСУ. 2018. № 4. С. 193–205.
- Бранец В.Н., Шмыглевский И.П. Введение в теорию бесплатформенных инерциальных навигационных систем. М.: Наука, 1992. 280 с.
- Микрин Е.А., Тимаков С.Н., Зыков А.В. и. др. Опыт и перспективы создания бортовых алгоритмов управления движением космических аппаратов // Вестн. РФФИ. 2017. № 3 (95). С. 23–45.
- Квакернаак Х., Сиван Р. Линейные оптимальные системы управления. М.: Мир, 1977. 650 с.
- Бранец В.Н., Севастьянов Н.Н., Федулов Р.В. Лекции по теории систем ориентации, Управления движением и навигации. Учебное пособие / Под общ. ред. Н.Н. Севастьянова. Томск: Томский государственный ун-т, 2013. 313 с.
- Банди Б. Основы линейного программирования. М.: Радио и связь, 1989. 176 с.
Supplementary files














