Ультразвуковой метод обработки локальных участков анизотропной электротехнической стали для улучшения динамических магнитных характеристик
- Авторы: Тиунов В.Ф.1
-
Учреждения:
- Институт физики металлов имени М.Н. Михеева УрО РАН
- Выпуск: Том 126, № 1 (2025)
- Страницы: 23-29
- Раздел: ЭЛЕКТРИЧЕСКИЕ И МАГНИТНЫЕ СВОЙСТВА
- URL: https://journal-vniispk.ru/0015-3230/article/view/288515
- DOI: https://doi.org/10.31857/S0015323025010038
- EDN: https://elibrary.ru/BZYKOE
- ID: 288515
Цитировать
Аннотация
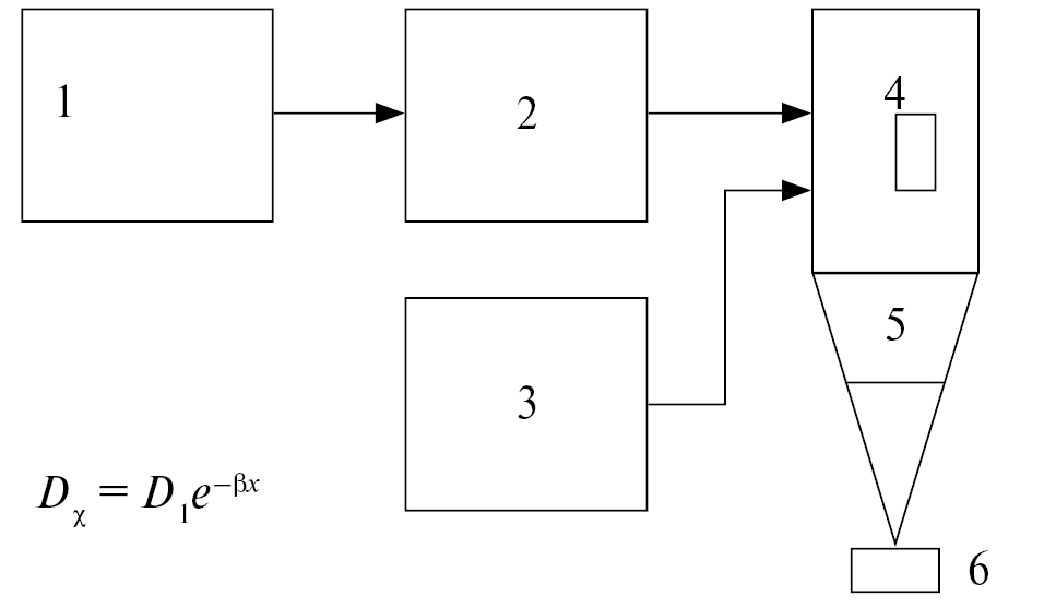
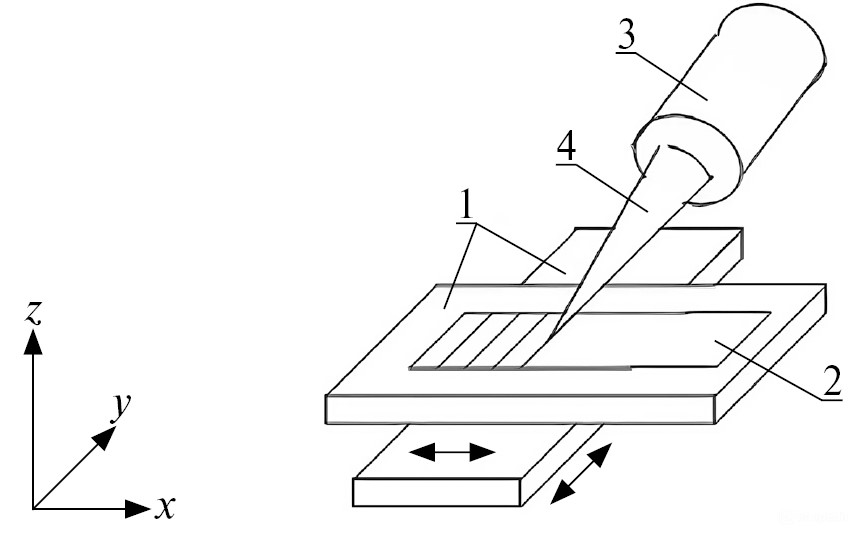
Описан новый способ избирательного нанесения структурных барьеров на поверхность образцов анизотропной электротехнической стали с целью дробления доменной структуры для снижения полных магнитных потерь на перемагничивание. Применение избирательной обработки участков анизотропной электротехнической стали с максимальным значением магнитной проницаемости при воздействии на рабочий инструмент ультразвука позволило снизить на 10–15% полные магнитные потери обрабатываемых образцов. Подобная обработка приведет к наименьшему повреждению их магнитоактивного покрытия и, соответственно, к увеличению коррозионной стойкости анизотропной стали, применяемой для изготовления магнитопроводов трансформаторов различного назначения.
Полный текст
Об авторах
В. Ф. Тиунов
Институт физики металлов имени М.Н. Михеева УрО РАН
Автор, ответственный за переписку.
Email: tiun46@yandex.ru
Россия, ул. С. Ковалевской, 18, Екатеринбург, 620108
Список литературы
- Дружинин В.В. Магнитные свойства электротехнической стали. М.: Энергия, 1974. 240 с.
- Ргу R.Н., Веаn С.Р. Calculation of the energy loss in magnetic sheet materials using a domain model // J. Appl. Phys. 1958. V. 29. P. 532–533.
- Соколов Б.К., Драгошанский Ю.Н., Губернаторов В.В. Совершенствование магнитных свойств анизотропной электротехнической стали, обработанной лазером // ФММ. 1989. Т. 68. С. 570–577.
- Пужевич Р.Б., Каренина Л.С. Дефекты электроизоляционного покрытия, образующиеся в процессе лазерной обработки анизотропной стали и их влияние на магнитные свойства // Дефектоскопия. 2011. № 4. С. 17–21.
- Буханова И.Ф., Дивинский В.В., Журавель В.М. Лазерная обработка пластин магнитопроводов силовых трансформаторов // Электричество. 2004. № 1. С. 39–42.
- Тиунов В.Ф., Соколов Б.К., Губернаторов В.В. Влияние деформированных зон на динамическое поведение доменной структуры и магнитных потерь в кристаллах Fе–3 мас. %Si // ФММ. 1991. № 11. С. 79–84.
- Тиунов В.Ф. Влияние особенностей искусственного дробления доменной структуры анизотропной электротехнической стали Fe–3% Si на эффективность снижения величины ее магнитных потерь // ФММ. 2022. Т. 3. № 3. С. 326–332.
- Wang H., Li C., Zhu T., Chukwuchekwa N., Cai B., Huo G. Effect of Ball Scribing on Relative Permeability of Grain-oriented Electrical Steel // Acta Metall. Sin. (Engl. Lett.). 2013. V. 26. Р. 618–622.
- Suzuki H., Misawa H., Akita K., Imafuku M. Mechanism of Magnetic Domain Refinement on Grain-Oriented Silicon Steel by Laser Irradiation // J. Soc. Mater. Sci. Japan. 2002. V. 51. Р. 207–212.
- Вонсовский С.В., Шур Я.С. Ферромагнетизм. М.–Л.: Гостехиздат, 1948. 816 с.
- Nesser M., Maloberti O., Dupuy J., Salloum E., Panier S., Fortin J., Dassonvalle P. Correlation between laser energetic parameters and magnetic properties of GO laminations under surface treatments with long or short pulsed lasers // J. Magn. Magn. Mater. 2020. V. 504. Р. 166696.
- Каюков С.И., Зайчиков Е.Г., Дудоров И.А., Крысанов С.А., Поляков В.Н. Оптимизация режимов лазерной обработки анизотропной электротехнической стали // Изв. Самарского научного центра РАН. 2003. Т. 5. С. 66–73.
- Rauscher P., Nikolai S., Hauptmann J., Wetzig A., Beyer E. Effects of laser irradiation on the isolation layer of grain oriented electrical steel / 6th International Conference on Magnetism and Metallurgy, WMM 2014: Cardiff, UK, 2014. Р. 434–441.
- Тиунов В.Ф., Корзунин Г.С. Контроль неоднородности магнитной проницаемости листовой анизотропной электротехнической стали // Дефектоскопия. 2019. № 3. С. 46–49.
- Корзунин Г.С., Чистяков В.К., Рубцов В.И., Кожевников Р.В. Устройство для контроля неоднородности структуры и магнитных свойств движущейся полосы рулонной электротехнической стали / Авторское свид. № 612019. Бюллетень № 32 от 30.08.1978 г.
- Попилов Л.Я. Справочник по электрическим и ультразвуковым методам обработки материалов. М.–Л.: Мангиз, 1963. 400 с.
- Nakamura M., Hirose K., Iuchi T., Yamaguchi S., Ichiyama T., Ohya Y. Characteristics of laser irradiated grain-oriented silicon steel // JEEE Trans. Magn. 1982. V. 18. Р. 1508–1510.
- Kuroki K., Fukawa K., Wada T. Application of artificial domain control // J. Appl. Phys. 1981. V. 52. № 3. P. 2422–2424.
- Пудов В.И., Драгошанский Ю.Н. Способ улучшения магнитных свойств анизотропной электротехнической стали лазерной обработкой / Патент № 2501866. Бюл. № 35. 20.12.2013.
- Коновалов Д.А. Новые технологии в изготовлении магнитопроводов. Минск: БНТУ, 2020. С. 37–41.
Дополнительные файлы







