Dynamic Surface Properties of Styrene and Hydrophobized 4-Vinylbenzyl Chloride Copolymers at the Air-Water Interface
- Authors: Khrebina A.D.1, Vlasov P.S.1, Zorin I.M.1, Lezov A.A.1, Rafikova A.R.1, Chelushkin P.S.1, Noskov B.A.1
-
Affiliations:
- Санкт-Петербургский государственный университет
- Issue: Vol 86, No 5 (2024)
- Pages: 667-676
- Section: Articles
- Submitted: 30.11.2024
- Accepted: 30.11.2024
- Published: 15.09.2024
- URL: https://journal-vniispk.ru/0023-2912/article/view/271790
- DOI: https://doi.org/10.31857/S0023291224050127
- EDN: https://elibrary.ru/WGMACL
- ID: 271790
Cite item
Full Text
Abstract
The kinetic dependences of surface tension, dilatational dynamic surface elasticity and ellipsometric angles of solutions of copolymers of styrene and 4-vinylbenzyl chloride modified with N,N-dimethyldodecylamine, as well as the micromophology of adsorption and spread layers of this polyelectrolyte were determined. All kinetic dependences of the dynamic surface elasticity were found to be monotonic, in contrast to the results for previously studied polyelectrolyte solutions without polystyrene fragments. The peculiarities of surface properties of the studied solutions may be related to the formation of microaggregates in the surface layer, preventing the formation of loops and tails of polymer chains at the interfacial boundary, and, consequently, the decrease in surface elasticity after the local maximum. The occurrence of aggregates with sizes of 1–4 nm in the Z-direction in the surface layer is also indicated by atomic force microscopy data. The obtained results confirm the earlier conclusions about the formation of aggregates in the surface layer of polyelectrolyte solutions containing sodium polystyrene sulfonate (PSS) fragments. A two-dimensional phase transition to a denser surface phase at surface pressures of 25–30 mN/m and the formation of aggregates with a size of 40 nm in the Z-direction were found for applied polyelectrolyte layers without styrene monomers on an aqueous substrate.
Full Text
ВВЕДЕНИЕ
Варьирование химической структуры молекул амфифильных полиэлектролитов позволяет получать материалы с заданными свойствами, в частности, с заданной поверхностной активностью и вязкостью объемной фазы. Адсорбция синтетических и природных полиэлектролитов на границе раствор/воздух изучалась многими авторами в последние десятилетия [1–11]. Синтетические полиэлектролиты часто не проявляют поверхностной активности при низких концентрациях, в отличие от неионных амфифильных полимеров [6, 9, 11]. Повышение ионной силы раствора приводит к появлению поверхностной активности. При этом скорость адсорбции зависит от ионной силы раствора, влияющей на величину электростатического барьера адсорбции. При достаточно высокой ионной силе поверхностные свойства полиэлектролитов могут приближаться к свойствам нейтральных полимеров. Так, например, для растворов сополимера 2-акриламидо-2-метил-1-пропансульфоната натрия с N-изопропилакриламидом (ПАМПС-НИПАМ) при добавлении NaCl на кинетических зависимостях динамической поверхностной упругости появляются локальные максимумы, характерные для растворов неионных амфифильных полиэлектролитов и связанные с формированием петель и хвостов полимерных цепей в дальней области поверхностного слоя [10].
В то же время динамические поверхностные свойства растворов ПСС при высокой ионной силе (0.1 М) значительно отличаются от свойств растворов неионных полимеров. Вместо резкого падения динамической поверхностной упругости, ожидаемого для растворов полиэлектролитов при высокой ионной силе, наблюдается ее небольшой рост. Кроме того, кинетические зависимости поверхностной упругости растворов ПСС остаются монотонными во всей области концентраций полиэлектролита. Такое поведение объясняется взаимодействием между макромолекулами у межфазной границы, приводящим к образованию микроагрегатов и препятствующим обмену сегментами полимерной цепи между дальней и ближней областями поверхностного слоя [11].
Полимыла, состоящие из ковалентно связанных поверхностно-активных мономеров, представляют особый класс амфифильных полиэлектролитов. Их поверхностную активность можно регулировать в широких пределах, изменяя соотношение между гидрофильными и гидрофобными группами [12–14]. Несмотря на то, что объемные свойства растворов полимыл изучены достаточно подробно, информация об их поверхностных свойствах очень ограничена [15–19], что может препятствовать практическому применению этих систем, в частности, при получении стабильных дисперсий и нанесении тонких пленок [20–22].
Цель данной работы состоит в исследовании поверхностных свойств растворов недавно синтезированных сополимеров стирола и винилбензилхлорида, модифицированных N,N-диметилдодециламином [23]. Сополимеры содержат катионные группы, расположенные между полистирольной основной цепью и алкильными боковыми группами и частично экранирующие взаимодействие гидрофобных групп с водой. В отличие от многих полимыл, эти полимеры остаются растворимыми в воде в широком диапазоне концентраций [23]. С другой стороны, исследуемые сополимеры содержат фрагменты полистирола, что позволяет сопоставить полученные результаты с данными для растворов ПСС.
ЭКСПЕРИМЕНТАЛЬНАЯ ЧАСТЬ
Материалы
Полиэлектролиты были синтезированы по методике Лимузина-Мореля и др. [23]. Первый этап заключался в сополимеризации (100-x) мол. % стирола и x мол. % винилбензилхлорида, с использованием азобисизобутиронитрила (АИБН) в качестве инициатора. Реакцию останавливали при конверсии 60%, чтобы ограничить изменение состава соответствующих сополимеров. В этих условиях два мономера случайным образом распределяются в сополимере, поскольку их реакционные способности приблизительно равны. На втором этапе сополимер растворяли в дихлорметане (ДХМ), добавляли амин и смесь перемешивали в плотно закрытой колбе в течение трех дней при комнатной температуре. Продукт был осажден в гексане и повторно осажден из ДХМ в гексан.
Состав определяли методом 1H ЯМР, а молекулярно-массовое распределение характеризовали гельпроникающей хроматографией в тетрагидрофуране при 40°С (рис. 1 и табл. 1). Для очистки полиэлектролитов от низкомолекулярных примесей проводился диализ в трижды дистиллированной воде через мембрану Spectra/por (MWCO 6-8000).
Рис. 1. Структура полимеров, использованных в данной работе
Таблица 1. Состав и характеристики полимеров, использованных в данной работе
Полимер | x | Mw | Đ | P |
p1 | 0.707 | 22200 | 1.84 | 102 |
p2 | 0.462 | 25400 | 1.82 | 107 |
p3 | 0.241 | 26100 | 1.83 | 101 |
p4 | 0 | 440000* | – | 1300**– |
* Определено методом статического светорассеяния.
** Рассчитано как P = MW/M.
В табл. 1: MW – среднемассовая молекулярная масса, Đ – индекс полидисперсности, P – среднечисловая степень полимеризации, рассчитываемая с помощью соотношения P = MW/(Đ‧M), где M – средняя молекулярная масса мономерной единицы, определяемая соотношением M = xM1 + (1 – x)M2, где M1 – молекулярная масса N,N-диметил-N-(4-винилбензил)-додециламмония хлорида, M2 – молекулярная масса стирола.
Подготовка образцов
Все водные растворы полиэлектролитов готовили в трижды дистиллированной воде. Для удаления органических примесей хлорид натрия (“Вектон”, Россия) нагревали в муфельной печи в течение 8 часов при температуре около 900°С. Монослои полиэлектролитов на поверхности воды наносили последовательно по каплям из 0.2 г/л раствора в хлороформе с помощью хроматографического микрошприца (Гамильтон, Швейцария) до достижения желаемой поверхностной концентрации.
Методы
- Дилатационная поверхностная упругость и поверхностное натяжение
Динамическая дилатационная поверхностная упругость измерялась методом осциллирующего барьера [24]. Периодические расширения/сжатия поверхности жидкости создавались тефлоновым барьером, движущимся вперед-назад по полированным краям прямоугольной ванны Ленгмюра. Частота и амплитуда колебаний поддерживались постоянными и составляли 0.17 Гц и 1.2% соответственно. Вызванные движением барьера колебания поверхностного натяжения регистрировались методом пластинки Вильгельми. Прямоугольная стеклянная пластинка, отшлифованная для обеспечения полного смачивания, подключалась к электронным микровесам.
Действительная εr и мнимая εi компоненты дилатационной динамической поверхностной упругости ε рассчитывались по следующему соотношению:
, (1)
где – модуль динамической поверхностной упругости, δγ и δA – инкременты поверхностного натяжения и площади поверхности соответственно, φ – фазовый сдвиг между колебаниями этих величин. Экспериментальные ошибки метода осциллирующего барьера в основном определяются погрешностями измерений поверхностного натяжения и не превышают ±5%.
Статическая упругость поверхности рассчитывалась по изотермам сжатия в соответствии с уравнением:
. (2)
Перед нанесением монослоя поверхность раствора очищалась пипеткой Пастера, подключенной к водоструйному насосу. Все измерения проводились при температуре 20±1°C. Вся используемая стеклянная посуда и тефлоновая ванна Ленгмюра очищались хромовой смесью, промывались дистиллированной водой и высушивались перед использованием.
- Эллипсометрия
Для исследования кинетики адсорбции исследуемых веществ в данной работе использовался нуль-эллипсометр (“Multiskop”, Optel GbR, Германия) с гелий-неоновым лазером (длина волны 632.8 нм) и фиксированным компенсатором (45°). Измерения эллипсометрических углов проводились под углом падения, близкому к углу Брюстера для чистой воды (49°) для обеспечения высокой чувствительности прибора.
Электрическое поле эллиптически поляризованного света можно разделить на две компоненты: параллельную (p) и перпендикулярную (s) к плоскости падения. Отражение света от исследуемой границы изменяет амплитуду и фазу этих двух компонент. Отношение двух скалярных коэффициентов отражения двух компонент света определяет эллипсометрический угол ψ:
, (3)
где – амплитуда электрического поля отраженной компоненты p, – амплитуда электрического поля падающей компоненты p, – амплитуда электрического поля отраженной компоненты s, – амплитуда электрического поля отраженной компоненты s.
Эта величина и соответствующее изменение разности фаз Δ после отражения связаны с комплексными коэффициентами отражения rp и rs следующим образом:
. (4)
Отношение коэффициентов отражения зависит от показателя преломления, длины волны падающего света и толщины пленки на поверхности. Точное соотношение можно получить в рамках конкретной модели исследуемой системы.
- Измерение поверхностного давления
Изотермы поверхностного давления монослоев полиэлектролитов регистрировали с помощью пленочных весов Ленгмюра (“KSV NIMA”, Финляндия-Швеция). Сжатие/растяжение монослоев на поверхности осуществлялось двумя тефлоновыми барьерами, движущимися в противоположных направлениях вдоль полированных краев ванны Ленгмюра. Поверхностное натяжение определялось методом пластинки Вильгельми с использованием бумажной пластинки.
- Атомно-силовая микроскопия
Пленки полиэлектролитов переносились с поверхности воды на свежеочищенную пластинку слюды по методике Ленгмюра-Шефера [25] и высушивались не менее 3 суток в эксикаторе при 4°C перед исследованием методом атомно-силовой микроскопии (АСМ) на установках NTEGRA Prima и NTEGRA Spectra (“НТ-МДТ”, Россия) в полуконтактном режиме.
РЕЗУЛЬТАТЫ И ОБСУЖДЕНИЕ
Динамические свойства адсорбционных слоев полиэлектролитов
Полиэлектролиты p1 (x = 0.707) и p4 (x = 0) характеризуются крайне низкой растворимостью в воде. В связи с этим, для этих двух полиэлектролитов исследовались только нанесенные пленки на водной поверхности, тогда как динамические поверхностные свойства адсорбционных слоев определялось только для полиэлектролитов p2 (x = 0.462) и p3 (x = 0.241).
Для растворов полиэлектролитов характерны относительно медленные изменения поверхностных свойств с возрастом поверхности, что обусловлено электростатическим барьером адсорбции. В то же время для полиэлектролитов p2 и p3 была обнаружена относительно быстрая адсорбция при малых временах жизни поверхности, присущая растворам низкомолекулярных поверхностно-активных веществ (рис. S1–S4)*.
Для исключения влияния низкомолекулярных поверхностно-активных веществ был проведен диализ против тридистиллированной воды. При этом скорость изменения поверхностных свойств на начальном этапе сильно уменьшается (рис. 2 и 3).
Рис. 2. Кинетические зависимости поверхностного натяжения диализованных растворов p3 с добавлением NaCl. Концентрации полиэлектролита: 0.030 масс. % (квадраты), 0.010 масс. % + 0.010 М NaCl (треугольники), 0.010% + 0.013 М NaCl (круги), 0.010 масс. % + 0.016 М NaCl (перевернутые треугольники), 0.010 масс. % + 0.020 М NaCl (ромбы), 0.010 масс. % + 0.030 М NaCl (звезды)
Рис. 3. Кинетические зависимости динамической поверхностной упругости диализованных растворов p3 с добавлением NaCl. Концентрации полиэлектролита: 0.030 масс. % (квадраты), 0.010 масс. % + 0.010 М NaCl (треугольники), 0.010 масс. % + 0.013 М NaCl (круги), 0.010 масс. % + 0.016 М NaCl (перевернутые треугольники), 0.010 масс. % + 0.020 М NaCl (ромбы), 0.010 масс. % + 0.030 М NaCl (звезды)
Повышение ионной силы очищенных растворов приводит к заметному увеличению поверхностной активности полиэлектролитов. При концентрации NaCl 0.05 М поверхностное натяжение достигает примерно 35 мН/м. Кроме того, увеличение ионной силы также приводит к увеличению динамической поверхностной упругости, превышающей 200 мН/м. Высокая поверхностная упругость наблюдалась ранее для растворов ПСС и может быть результатом образования агрегатов в поверхностном слое [11].
Увеличение гидрофобности полиэлектролита не вносит существенных изменений в кинетику адсорбции. Для исследованных в данной работе полиэлектролитов все кинетические зависимости динамических поверхностных свойств остаются монотонными (рис. S5 и S6). В то же время растворы неионных амфифильных полимеров и ранее исследованных полиэлектролитов без стирольных групп при повышенн ой ионной силе обычно имеют по крайней мере один локальный максимум на кинетической зависимости динамической поверхностной упругости [26].
В базовой модели однокомпонентного тонкого изотропного слоя между двумя однородными фазами разность эллипсометрических углов Δs между значениями для исследуемой системой (∆) и субфазы (Δ0) пропорциональна поверхностной концентрации Γ [27]. При низкой ионной силе адсорбция полиэлектролита p3 не приводит к существенному увеличению Δs (рис. S7). Повышение ионной силы раствора ускоряет адсорбцию полиэлектролита за счет снижения электростатического барьера адсорбции. Следует отметить, что значение угла Δs флуктуирует при низких и средних ионных силах. Такие флуктуации представляют следствие гетерогенности адсорбционного слоя и могут служить дополнительным подтверждением наличия агрегатов в адсорбционном слое полиэлектролита [28].
Атомно-силовая микроскопия адсорбционных пленок полиэлектролитов
Перенос адсорбционных слоев полиэлектролита с поверхности жидкости на свежеочищенную поверхность слюды с помощью метода Лангмюра-Шефера и их исследование с помощью АСМ позволяют получить дополнительную информацию о морфологии поверхности.
Известно, что при высоких концентрациях исследуемые полиэлектролиты образуют агрегаты в объемной фазе [23]. Такого рода агрегаты образуются и на границе раздела вода-воздух. При низкой ионной силе адсорбция p3 приводит к формированию неоднородного поверхностного слоя, состоящего из относительно малых агрегатов, размер которых в Z-направлении не превышает 1 нм (рис. 4а).
Рис. 4. АСМ-изображения адсорбционных пленок p3 при различных концентрациях NaCl 0 (а) и 0.05 М (б) и полиэлектролита 0.05 масс. % (а) и 0.01 масс. % (б)
Увеличение ионной силы раствора приводит к увеличению размера агрегатов и может быть связано с уменьшением отталкивания между заряженными участками полимерной цепи полиэлектролита при повышенной ионной силе, что приводит к формированию более крупных агрегатов в поверхностном слое, размер которых в Z-направлении примерно в четыре раза превышает размер монослоя (~4 нм) (рис. 4б).
Таким образом, результаты АСМ подтверждают выводы, сделанные на основе результатов измерения динамических поверхностных свойств, о микрогетерогенной поверхности растворов исследованных полиэлектролитов. Образование микроагрегатов в поверхностном слое приводит к монотонным кинетическим зависимостям динамической поверхностной упругости, в отличие от соответствующих данных для растворов полиэлектролитов, не содержащих полистирольных групп. В то же время сделанные выводы согласуются с полученными ранее результатами для растворов ПСС [11].
Изотермы сжатия нанесенных пленок полиэлектролитов
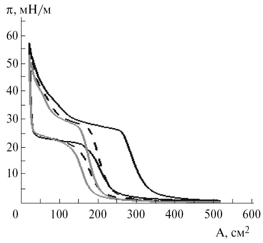
Поверхностное давление и динамическая поверхностная упругость нанесенных монослоев полиэлектролитов p1 и p2 быстро возрастают при их сжатии, достигая в первом случае 31 мН/м и 158 мН/м соответственно (рис. 5). Дальнейшее сжатие пленки p1 приводит к уменьшению поверхностной упругости и возникновению локального максимума, тогда как поверхностное давление практически не изменяется (рис. S8). Области квазиплато на изотермах поверхностного давления могут соответствовать частичному растворению поверхностной пленки в субфазе. При последующем растяжении пленок поверхностное давление резко падает, и на зависимостях поверхностного давления от площади поверхности возникает гистерезис (рис. 7 и S8). Увеличение числа циклов растяжения/сжатия приводит к смещению изотерм в сторону меньших площадей, и гистерезис становится менее заметным.
Рис. 5. Зависимость динамической поверхностной упругости (ε) от поверхностного давления (π) для нанесенного монослоя p1. Серые треугольники соответствуют модулю динамической поверхностной упругости, незаполненные квадраты соответствуют действительной части динамической поверхностной упругости, а черные квадраты соответствуют мнимой части динамической поверхностной упругости
Рис. 6. Зависимость динамической поверхностной упругости (ε) от поверхностного давления (π) для нанесенного монослоя p2. Серые треугольники соответствуют модулю динамической поверхностной упругости, незаполненные квадраты соответствуют действительной части динамической поверхностной упругости, а черные квадраты соответствуют мнимой части динамической поверхностной упругости
Рис. 7. Изотермы сжатия/растяжения для нанесенного монослоя p1. Черная, пунктирная и серая линии соответствуют первому, второму и третьему циклам сжатия/растяжения, соответственно
Для полимера р2 пленка оказывается более жесткой, чем в случае пленок полимера р1, и динамическая поверхностная упругость достигает более высоких значений – 220 мН/м, по сравнению с 160 мН/м для пленки р1, что может соответствовать образованию более плотного слоя (рис. 5 и 6).
Действительная часть динамической поверхностной упругости для всех исследованных систем превышает мнимую часть примерно на один десятичный порядок, что указывает на чисто упругую пленку.
Статическая поверхностная упругость пленок полиэлектролита p1 близка к динамической поверхностной упругости (рис. 5 и S9). В то же время динамическая поверхностная упругость пленок полиэлектролитов p2 и p4 превышает статическую поверхностную упругость при высоких поверхностных давлениях (рис. 6, S10, 8 и S11). Это различие означает, что в поверхностном слое протекают релаксационные процессы с характеристическим временем, сравнимым или большим периода колебаний площади поверхности. Если поверхность оказывается гетерогенной и содержит участки различных поверхностных фаз, то релаксационные процессы могут сводиться к обмену молекулами или их сегментами между сосуществующими поверхностными фазами в процессе сжатия/растяжения межфазной границы.
Рис. 8. Зависимость динамической поверхностной упругости (ε) от поверхностного давления (π) для нанесенного монослоя p4. Серые треугольники соответствуют модулю динамической поверхностной упругости, незаполненные квадраты соответствуют действительной части динамической поверхностной упругости, а черные квадраты соответствуют мнимой части динамической поверхностной упругости
Для пленок полиэлектролита p4, в отличие от пленок p1 и p2, на изотермах поверхностного давления после области квазиплато начинается рост поверхностного давления, что может быть связано с фазовым переходом от жидкорастянутой к жидкоконденсированной пленке (рис. 9). Динамическая поверхностная упругость при этом достигает более низких значений (~100 мН/м), а область квазиплато появляется при более низких поверхностных давлениях (~27 мН/м) по сравнению с изотермами поверхностного давления для полиэлектролитов p1 и p2 (рис. 7 и 9). Хотя гистерезис изотерм сжатия также проявляется, он меньше, чем для пленок p1 и p2. Отношение между действительной и мнимой частью поверхностной упругости также увеличивается. Эти результаты указывают на то, что квазиплато на изотермах поверхностного давления для монослоя p4 имеет отличную природу от соответствующих особенностей для пленок p1 и p2, что может быть связано с фазовым переходом, а не с растворением поверхностной пленки. Наблюдаемые различия поверхностных свойств позволяют предположить, что упаковка молекул в нанесенных слоях p4, с одной стороны, и в слоях p1 и p2, с другой стороны, значительно отличаются. АСМ-изображения поверхностной пленки p4 подтверждают эту гипотезу (рис. S12). При низких поверхностных давлениях можно наблюдать только отдельные агрегаты (рисунок S12А). В районе плато видны участки новой фазы, напоминающие складки в слое полимера. В области плато эти агрегаты объединяются в более крупные образования (рис. S12Б и В). При высоких поверхностных давлениях, соответствующих конечной области изотермы сжатия, можно наблюдать плотную пленку, состоящую из большого числа поверхностных агрегатов (рис. S12Г).
Рис. 9. Изотермы сжатия/растяжения для нанесенного монослоя p4. Черная, пунктирная и серая линии соответствуют первому, второму и третьему циклам сжатия/растяжения, соответственно
ЗАКЛЮЧЕНИЕ
Определены поверхностные свойства новой группы полиэлектролитов с различным содержанием гидрофобных мономеров: сополимеров стирола и хлорида винилбензила, функционализированного N,N-диметилдодециламином. Измерения кинетических зависимостей поверхностных свойств показали, что поверхностное натяжение и динамическая поверхностная упругость растворов полиэлектролитов p2 и p3 с содержанием полистирольных групп 46.2 и 24.1% при концентрации 0.03 масс. % совпадают с соответствующими значениями для воды. Однако увеличение ионной силы раствора приводит к заметному росту поверхностной активности и к резкому ускорению адсорбции. Поверхностное натяжение растворов полиэлектролитов 2 и 3 может снижаться до 35 мН/м при повышении концентрации NaCl до 0.05 М. Увеличение ионной силы растворов полиэлектролитов приводит также к росту динамической поверхностной упругости вплоть до примерно 200 мН/м, что связано с образованием агрегатов в поверхностном слое, как и в случае ранее исследованных адсорбционных пленок растворов ПСС.
Увеличение гидрофобности полиэлектролитов не оказывает значительного влияния на кинетические зависимости поверхностных свойств. В отличие от адсорбционных пленок неионных амфифильных полимеров и полиэлектролитов, не содержащих полистирольных групп, для которых характерны локальные максимумы динамической поверхностной упругости, все кинетические зависимости этой величины для растворов исследованных веществ оказались монотонными. Эти результаты согласуются с ранее сделанным выводом о том, что наличие полистирольных групп в полиэлектролитах приводит к увеличению жесткости адсорбционных пленок в результате образования агрегатов в поверхностном слое [11].
Соотношение чисел гидрофобных и амфифильных мономеров в исследованных сополимерах сильно влияет на изотермы поверхностной упругости и поверхностного давления нанесенных пленок, что связано с изменением конформации молекул полиэлектролитов в поверхностном слое. Для полиэлектролита с содержанием полистирольных групп 46.2% наблюдается более высокая динамическая поверхностная упругость, чем для полиэлектролита с содержанием полистирольных групп 70.1%. Более компактная упаковка полимера в поверхностном слое приводит к большей жесткости пленки полиэлектролита с меньшим числом полистирольных групп. Для полиэлектролита без полистирольных групп был обнаружен двумерный фазовый переход, свидетельствующий об образовании плотной поверхностной фазы и поверхностной пленки толщиной около 40 нм. С помощью атомно-силовой микроскопии подтверждено образование агрегатов на межфазной границе, размеры которых увеличиваются при росте ионной силы субфазы.
Дополнительные материалы размещены в электронном виде по doi статьи.
БЛАГОДАРНОСТЬ
Авторы благодарны д-ру Theo Merland, Университет Ле Ман, за информацию о свойствах сополимеров стирола и модифицированного 4-винилбензилхлорида.
ФИНАНСИРОВАНИЕ РАБОТЫ
Работа выполнена при финансовой поддержке РНФ (грант 24-13-00261).
СОБЛЮДЕНИЕ ЭТИЧЕСКИХ СТАНДАРТОВ
В данной работе отсутствуют исследования человека или животных.
КОНФЛИКТ ИНТЕРЕСОВ
Авторы данной работы заявляют, что у них нет конфликта интересов.
About the authors
A. D. Khrebina
Санкт-Петербургский государственный университет
Author for correspondence.
Email: st076362@student.spbu.ru
Russian Federation, Санкт-Петербург
P. S. Vlasov
Санкт-Петербургский государственный университет
Email: st076362@student.spbu.ru
Russian Federation, Санкт-Петербург
I. M. Zorin
Санкт-Петербургский государственный университет
Email: st076362@student.spbu.ru
Russian Federation, Санкт-Петербург
A. A. Lezov
Санкт-Петербургский государственный университет
Email: st076362@student.spbu.ru
Russian Federation, Санкт-Петербург
A. R. Rafikova
Санкт-Петербургский государственный университет
Email: st076362@student.spbu.ru
Russian Federation, Санкт-Петербург
P. S. Chelushkin
Санкт-Петербургский государственный университет
Email: st076362@student.spbu.ru
Russian Federation, Санкт-Петербург
B. A. Noskov
Санкт-Петербургский государственный университет
Email: st076362@student.spbu.ru
Russian Federation, Санкт-Петербург
References
- Ishimuro Y., Ueberreiter K. The surface tension of poly(acrylic acid) in aqueous solution // Colloid Polym Sci. 1980. Vol. 258, № 8. P. 928–931. https://doi.org/10.1007/BF01584922
- Yim H., Kent M., Matheson A., Ivkov R., Satija S., Majewski J., Smith G.S. Adsorption of poly(styrenesulfonate) to the air surface of water by neutron reflectivity // Macromolecules. 2000. Vol. 33, № 16. P. 6126–6133. https://doi.org/10.1021/ma000266q
- Yim H., Kent M.S., Matheson A., Stevens M.J., Ivkov R., Satija S., Majewski J., Smith G.S. Adsorption of sodium poly(styrenesulfonate) to the air surface of water by neutron and x-ray reflectivity and surface tension measurements: polymer concentration dependence // Macromolecules. 2002. Vol. 35, № 26. P. 9737–9747. https://doi.org/10.1021/ma0200468
- Owiwe M.T., Ayyad A.H., Takrori F.M. Surface tension of the oppositely charged sodium poly(styrene sulfonate)/benzyldimethylhexadecylammonium chloride and sodium poly(styrene sulfonate)/polyallylamine hydrochloride mixtures // Colloid Polym Sci. 2020. Vol. 298, № 9. P. 1197–1204. https://doi.org/10.1007/s00396-020-04692-7
- Dickhaus B.N., Priefer R. Determination of polyelectrolyte pKa values using surface-to-air tension measurements // Colloids Surf A: Physicochem Eng Asp. 2016. Vol. 488. P. 15–19. https://doi.org/10.1016/j.colsurfa.2015.10.015
- Okubo T., Kobayashi K. Surface tension of biological polyelectrolyte solutions // J Colloid Interface Sci. 1998. Vol. 205, № 2. P. 433–442. https://doi.org/10.1006/jcis.1998.5632
- Ríos H.E., González-Navarrete J., Vargas V., Urzúa M.D. Surface properties of cationic polyelectrolytes hydrophobically modified // Colloids Surf A: Physicochem Eng Asp. 2011. Vol. 384, № 1–3. P. 262–267. https://doi.org/10.1016/j.colsurfa.2011.03.063
- Millet F., Nedyalkov M., Renard B., Perrin P., Lafuma F., Benattar J.-J. Adsorption of hydrophobically modified poly(acrylic acid) sodium salt at the air/water interface by combined surface tension and x-ray reflectivity measurements // Langmuir. 1999. Vol. 15, № 6. P. 2112–2119. https://doi.org/10.1021/la981481r
- Théodoly O., Ober R., Williams C.E. Adsorption of hydrophobic polyelectrolytes at the air/water interface: Conformational effect and history dependence // The European Physical Journal E. 2001. Vol. 5, № 1. P. 51–58. https://doi.org/10.1007/s101890170086
- Noskov B.A., Bilibin A.Y., Lezov A. V., Loglio G., Filippov S.K., Zorin I.M., Miller R. Dynamic surface elasticity of polyelectrolyte solutions // Colloids Surf A: Physicochem Eng Asp. 2007. Vol. 298, № 1–2. P. 115–122. https://doi.org/10.1016/j.colsurfa.2006.12.003
- Noskov B.A., Nuzhnov S.N., Loglio G., Miller R. Dynamic surface properties of sodium poly(styrenesulfonate) solutions // Macromolecules. 2004. Vol. 37, № 7. P. 2519–2526. https://doi.org/10.1021/ma030319e
- Laschewsky A. Molecular concepts, self-organisation and properties of polysoaps // Polysoaps/Stabilizers/Nitrogen-15 NMR. Berlin/Heidelberg: Springer-Verlag, 1995. P. 1–86. https://doi.org/10.1007/BFb0025228
- Summers M., Eastoe J., Davis S., Du Z., Richardson R.M., Heenan R.K., Steytler D., Grillo I. Polymerization of cationic surfactant phases // Langmuir. 2001. Vol. 17, № 17. P. 5388–5397. https://doi.org/10.1021/la010541h
- Summers M., Eastoe J., Richardson R.M. Concentrated polymerized cationic surfactant phases // Langmuir. 2003. Vol. 19, № 16. P. 6357–6362. https://doi.org/10.1021/la034184h
- Moussa W., Colombani O., Benyahia L., Nicolai T., Chassenieux C. Structure of a self-assembled network made of polymeric worm-like micelles // Polymer Bulletin. 2016. Vol. 73, № 10. P. 2689–2705. https://doi.org/10.1007/s00289-016-1615-5
- Moussa W. Self-assembly of comb-like amphiphilic copolymers in aqueous solution // Polymer Bulletin. 2017. Vol. 74, № 4. P. 1405–1419. https://doi.org/10.1007/s00289-017-1910-9
- Talantikite M., Aoudia K., Benyahia L., Chaal L., Chassenieux C., Deslouis C., Gaillard C., Saidani B. Structural, viscoelastic, and electrochemical characteristics of self-assembled amphiphilic comblike copolymers in aqueous solutions // J Phys Chem B. 2017. Vol. 121, № 4. P. 867–875. https://doi.org/10.1021/acs.jpcb.6b11237
- Dutertre F., Gaillard C., Chassenieux C., Nicolai T. Branched wormlike micelles formed by self-assembled comblike amphiphilic copolyelectrolytes // Macromolecules. 2015. Vol. 48, № 20. P. 7604–7612. https://doi.org/10.1021/acs.macromol.5b01503
- Dutertre F., Benyahia L., Chassenieux C., Nicolai T. Dynamic mechanical properties of networks of wormlike micelles formed by self-assembled comblike amphiphilic copolyelectrolytes // Macromolecules. 2016. Vol. 49, № 18. P. 7045–7053. https://doi.org/10.1021/acs.macromol.6b01369
- Merland T., Drou C., Legoupy S., Benyahia L., Schmutz M., Nicolai T., Chassenieux C. Self-Assembly in water of C60 fullerene into isotropic nanoparticles or nanoplatelets mediated by a cationic amphiphilic polymer // J Colloid Interface Sci. 2022. Vol. 624. P. 537–545. https://doi.org/10.1016/j.jcis.2022.05.113
- Wu A., Gao X., Liang L., Sun N., Zheng L. Interaction among worm-like micelles in polyoxometalate-based supramolecular hydrogel // Langmuir. 2019. Vol. 35, № 18. P. 6137–6144. https://doi.org/10.1021/acs.langmuir.9b00627
- Zhang X., Shen Y., Shen G., Zhang C. Simple and effective approach to prepare an epoxy-functionalized polymer and its application for an electrochemical immunosensor // ACS Omega. 2021. Vol. 6, № 5. P. 3637–3643. https://doi.org/10.1021/acsomega.0c05183
- Limouzin-Morel C., Dutertre F., Moussa W., Gaillard C., Iliopoulos I., Bendejacq D., Nicolai T., Chassenieux C. One and two dimensional self-assembly of comb-like amphiphilic copolyelectrolytes in aqueous solution // Soft Matter. 2013. Vol. 9, № 37. P. 8931. https://doi.org/10.1039/C3SM51895G
- Noskov B.A., Akentiev A. V., Bilibin A.Y., Zorin I.M., Miller R. Dilational surface viscoelasticity of polymer solutions // Adv Colloid Interface Sci. 2003. Vol. 104, № 1–3. P. 245–271. https://doi.org/10.1016/S0001-8686(03)00045-9
- Langmuir I., Schaefer V.J. Activities of urease and pepsin monolayers // J Am Chem Soc. 1938. Vol. 60, № 6. P. 1351–1360. https://doi.org/10.1021/ja01273a023
- Novikova A.A., Vlasov P.S., Lin S.Y., Sedláková Z., Noskov B.A. Dynamic surface properties of poly(methylalkyldiallylammonium chloride) solutions // J Taiwan Inst Chem Eng. 2017. Vol. 80. P. 122–127. https://doi.org/10.1016/j.jtice.2017.08.042
- Manning-Benson S., Bain C.D., Darton R.C. Measurement of dynamic interfacial properties in an overflowing cylinder by ellipsometry // J Colloid Interface Sci. 1997. Vol. 189, № 1. P. 109–116.
- Tummino A., Toscano J., Sebastiani F., Noskov B.A., Varga I., Campbell R.A. Effects of aggregate charge and subphase ionic strength on the properties of spread polyelectrolyte/surfactant films at the air/water interface under static and dynamic conditions // Langmuir. 2018. Vol. 34, № 6. P. 2312–2323. https://doi.org/10.1021/acs.langmuir.7b03960
Supplementary files











