Study of the features of concentration inhomogeneities during the on ground-based processing of the space experiment of the Ge(Ga) crystals growth
- Authors: Korobeynikova E.N.1, Strelov V.I.1, Supel’nyak S.I.1, Vlasov V.N.1
-
Affiliations:
- National Research Centre “Kurchatov Institute”
- Issue: Vol 69, No 4 (2024)
- Pages: 700-704
- Section: CRYSTAL GROWTH
- URL: https://journal-vniispk.ru/0023-4761/article/view/264436
- DOI: https://doi.org/10.31857/S0023476124040176
- EDN: https://elibrary.ru/XBPZGM
- ID: 264436
Cite item
Full Text
Abstract
The article presents the results of the preparation and ground testing of the space experiment for growing Ge (Ga) crystals, planned on board the multifunctional laboratory module as part of the ISS RS. Under the conditions simulating microgravity, the features of the formation of concentration inhomogeneity in the form of growth bands when growing crystals under various thermal conditions (in the presence or absence of a free melt surface (Marangoni convection)), as well as when changing technological parameters (variations in growth rate) were investigated. Based on the obtained results of metallographic and electrophysical studies, conclusions were made about the peculiarities of the influence of the technological parameters of the crystallization process on the structural perfection of the grown crystals under microgravity conditions
Full Text
Введение
В связи с развитием субмикронной и наноэлектроники одной из важнейших задач современного материаловедения является повышение микрооднородности распределения легирующей примеси в кристаллах в процессе их выращивания. Однородность состава растущего кристалла, в первую очередь, определяется диффузией, конвективными течениями в расплаве, а также параметрами роста. В условиях нестационарной конвекции в расплаве осцилляции мгновенной скорости роста, связанные с флуктуациями температуры, и величины переходного пограничного слоя вблизи фронта кристаллизации приводят к неравномерному захвату примеси растущим кристаллом и формированию концентрационных неоднородностей (микронеоднородность) в виде микросегрегационных полос роста [1–7]. Такие концентрационные неоднородности отражают особенности процессов тепломассопереноса вблизи фронта кристаллизации и являются в настоящее время основным источником информации как об особенностях процесса кристаллизации, так и о возмущающих эффектах различных внешних факторов [3]. Поэтому при росте кристаллов полупроводников из расплава решение проблемы повышения их микрооднородности однозначно связано с управлением процессами тепломассопереноса. Минимизация интенсивности конвективных процессов в расплаве позволяет значительно повысить однородность выращиваемых кристаллов. В пределе необходимо приближение к такому режиму тепломассопереноса, который будет обеспечивать стабильный процесс кристаллизации и позволит получать более однородные кристаллы. Такие условия естественным способом реализуются при выращивании кристаллов полупроводников в условиях микрогравитации на борту космических аппаратов, где практически отсутствует термогравитационная конвекция.
В представленной работе обобщаются результаты наземной отработки космического эксперимента по выращиванию кристаллов Ge(Ga) на полетном варианте ростовой установки в условиях, создающих конвективные процессы, приближенные к реальному космическому полету, планируемому на борту многофункционального лабораторного модуля в составе российского сегмента Международной космической станции (РС МКС).
Экспериментальная часть
Объекты исследований. Рост кристаллов осуществлялся вертикальным методом Бриджмена на установке МЭП-01 (разработчик филиал АО “ЦЭНКИ” – НИИ СК), созданной специально для космических экспериментов. Конструкция ампулы и расположение затравки снизу позволяют приблизиться по структуре и особенности конвективных течений к условиям, характерным для микрогравитации (условия диффузионного тепломассопереноса), и тем самым минимизировать влияние термогравитационной конвекции [8, 9].
В качестве объекта исследований выбран материал, который будет использован в космическом эксперименте в условиях реальной микрогравитации на борту РС МКС: германий Ge (температура плавления Тпл = 937°C), легированный галлием (Ga). Исходные заготовки монокристаллов Ge(Ga) были выращены методом Чохральского в направлении <111>. Концентрация галлия в исходном материале составляла CGa = (1–5) × 1019 см–3. Равновесный коэффициент распределения галлия в германии kGa = 0.087 [10]. В процессе эксперимента каждый слиток частично расплавлялся (с сохранением нерасплавленной части в качестве затравки). Затем проводили перекристаллизацию с различными скоростями роста при открытой и закрытой поверхности расплава (табл. 1) для изучения влияния конвекции Марангони на однородность выращиваемых кристаллов в условиях ослабленной тепловой конвекции.
Таблица 1. Условия выращивания кристаллов Ge(Ga)
Образец | Скорость роста, мм/ч |
1 | 5 |
2 | 5 |
3 | 0.5 |
Примечание. Свободная поверхность расплава имеется только у образца 3.
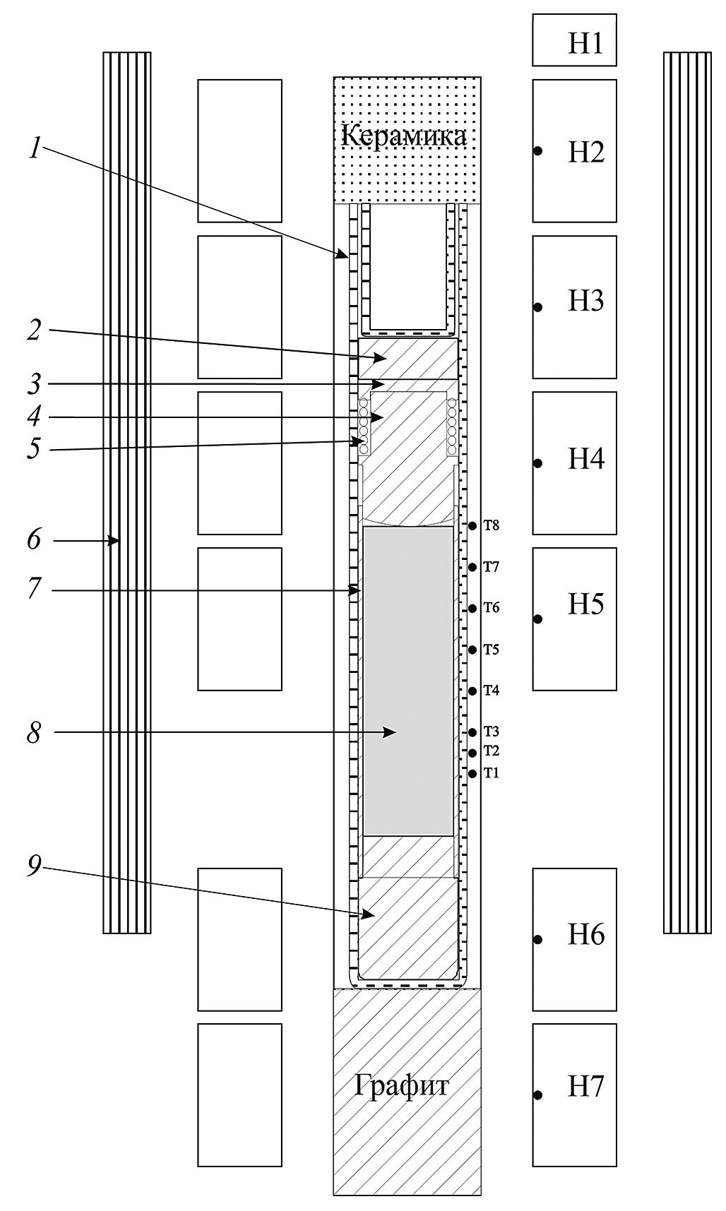
На рис. 1 представлена схема расположения ампулы в ростовом блоке-кристаллизаторе установки МЭП-01. Конструкция ампулы включает в себя, в частности, специально разработанный графитовый плунжер, поджимаемый графитовой пружиной. Вместе они предназначены для устранения свободной поверхности расплава, которая появляется в процессе плавления материала и приводит к развитию капиллярной конвекции Марангони.
Рис. 1. Схема устройства ростовой ампулы с полупроводником и ее расположения в нагревательном блоке установки МЭП-01: 1 – кварцевая ампула, 2 – компенсирующая прокладка (графитовый войлок), 3 – крышка (графит), 4 – плунжер (графит), 5 – пружина (графит), 6 – магнитный индуктор, 7 – цилиндр (графит), 8 – перекристаллизуемый слиток, 9 – дно (графит), Т1–Т8 – измерительные термопары, Н1–Н7 – нагреватели.
После проведения перекристаллизации полученные слитки имели диаметр D = 23 мм и длину l ~ 75 мм. Остаточная затравочная часть имела длину ~ 15 мм и перекристаллизованная часть ~ 60 мм. Эти части кристаллов существенно различались условиями тепломассопереноса в расплаве при их кристаллизации. Затравочная часть была получена методом Чохральского в условиях интенсивной нестационарной тепловой конвекции [11, 12], а перекристаллизованная – в условиях ослабленной тепловой конвекции [13].
Пластины для исследований вырезали вдоль оси роста кристаллов по плоскости (110). Толщина пластин составляла 2.5 мм. После шлифовки, финишной химико-механической полировки и избирательного химического травления методами металлографии и электрофизики изучали микрооднородность структуры выращенных кристаллов.
Методы исследований. Исследование полос роста и границы затравливания в кристаллах Ge(Ga) осуществляли методом металлографии с использованием селективного травления для выявления полос роста в составе HNO3:HF:СH3СООН = 5:3:3 при комнатной температуре [14].
Измерение неоднородности распределения легирующей примеси по длине кристаллов (метод измерения RS, обладающий высокой локальностью) проводили методом микротермоэдс [15] по методике, описанной в [16]. Локальность измерений величины RS составляла ~20 мкм.
Результаты и их обсуждение
На рис. 2 представлены результаты металлографического исследования пластин, вырезанных вдоль кристаллов по плоскости (110), совмещенные с результатами измерения RS. На изображениях показаны образцы, которые представляют собой пластины, собранные в единое целое из последовательных отдельных снимков. Отчетливо выявляются полосы роста в затравочных и перекристаллизованных частях, а также границы раздела между этими участками.
Рис. 2. Особенности распределения концентрационной неоднородности в кристаллах Ge(Ga) (ГЗ – граница затравливания, RS – сопротивление растекания): образцы 1 (а), 2 (б), 3 (в).
Общим для всех образцов является то, что в затравочной части наблюдается характерная для метода Чохральского картина распределения примесных неоднородностей. Нестационарная конвекция, характерная для этого метода, приводит к образованию регулярно расположенных полос роста с высокой плотностью их распределения.
В перекристаллизованных частях наблюдается существенно меньшая микронеоднородность, при этом распределение примеси вдоль кристалла зависит от условий выращивания. На пластинах, вырезанных из кристаллов 1 и 2 (рис. 2а и 2б соответственно), выращенных со скоростью 5 мм/ч и закрытой поверхностью расплава, визуализируются всего несколько полос роста (очевидно, связанных с неравномерностью механизма перемещения ампулы относительно нагревателя [17]). Это говорит о том, что в расплаве во время кристаллизации реализуются условия слабых конвективных течений. Наличие такого характера конвекции подтверждают и расчеты, выполненные для этих условий, скорость конвективных течений вблизи фронта кристаллизации составляет ~7.0 × 10–3 см/с. [18].
Характер распределения RS свидетельствует о том, что на участках между полосами роста примесь распределена равномерно в соответствии с равновесным коэффициентом распределения галлия в германии.
Образец 3 существенно отличается по микрооднородности от первого и второго большим количеством полос роста в перекристаллизованной части. При этом расположены они неравномерно, о чем дополнительно свидетельствует неравномерный характер распределения сопротивления растекания. Такой характер распределения концентрационной неоднородности свидетельствует о том, что в расплаве на протяжении всего процесса кристаллизации (даже при меньшей скорости роста) присутствует интенсивная нестационарная конвекция. Это объясняется влиянием термокапиллярной конвекции Марангони, образовавшейся на свободной поверхности расплава. Данный случай подтверждает ранее проведенные для подобных условий расчеты [19], показавшие, что при пониженном уровне термогравитационной конвекции доминирующую роль в структуре и интенсивности конвективных процессов играет конвекция Марангони. При открытой поверхности расплава скорость конвективных течений достигает величины ~0.1 см/с и становится сравнимой с обычным уровнем термогравитационной конвекции. Кроме того, вибрации от механизма перемещения, воздействуя на ампулу, дополнительно увеличивают интенсивность конвективных течений в расплаве [19].
Заключение
Результаты металлографических и электрофизических исследований показали, что для получения при микрогравитации на борту многофункционального лабораторного модуля в составе РС МКС на установке МЭП-01 условий диффузионного тепломассопереноса и, соответственно, высокооднородных кристаллов Ge(Ga) необходимо устранить свободную поверхность расплава, что было достигнуто с помощью специально разработанного графитового плунжера, поджимаемого графитовой пружиной. Для устранения влияния внешних возмущений (вносимых механизмом перемещения ампулы) на образование концентрационных неоднородностей процесс кристаллизации необходимо осуществлять с помощью перемещения теплового поля, без перемещения ампулы с образцом в ростовой установке.
Работа проведена в рамках выполнения государственного задания НИЦ “Курчатовский институт”.
About the authors
E. N. Korobeynikova
National Research Centre “Kurchatov Institute”
Author for correspondence.
Email: enkorob@mail.ru
Russian Federation, Moscow
V. I. Strelov
National Research Centre “Kurchatov Institute”
Email: enkorob@mail.ru
Russian Federation, Moscow
S. I. Supel’nyak
National Research Centre “Kurchatov Institute”
Email: enkorob@mail.ru
Russian Federation, Moscow
V. N. Vlasov
National Research Centre “Kurchatov Institute”
Email: enkorob@mail.ru
Russian Federation, Moscow
References
- Мюллер Г. Выращивание кристаллов из расплава. Конвекция и неоднородности. М.: Мир, 1991. 143 с.
- Carlson D.J., Witt A.F. // J. Cryst. Growth. 1991. V. 108. P. 508. https://doi.org/10.1016/0022-0248(91)90228-W
- Wang C.A., Carlson D., Motakef S. et al. // J. Cryst. Growth. 2004. V. 264. P. 565. https://doi.org/10.1016/j.jcrysgro.2003.12.043
- Голышев В.Д., Гоник М.А. Устройство для выращивания кристаллов. Патент РФ № 1800854, 1990.
- Ostrogorsky A.G. // J. Cryst. Growth. 1990. V. 104. P. 233. https://doi.org/10.1016/0022-0248(90)90122-2
- Волков П.К., Захаров Б.Г., Серебряков Ю.А. // Кристаллография. 2000. Т. 45. № 5. С. 935. https://doi.org/10.1134/1.1312937
- Моризейн К., Витт А., Гейтос Х. // Проблемы роста кристаллов / Под ред. Шефталя Н.Н., Гиваргизова Е.И. М.: Мир, 1968. С. 251.
- Serebryakov Yu.A., Prokhorov I.A., Vlasov V.N. et al. // J. Cryst. Growth. 2007. V. 304. P. 11. https://doi.org/10.1016/j.jcrysgro.2007.01.045
- Серебряков Ю.А., Сидоров В.С., Прохоров И.А. и др. // Поверхность. Рентген., синхротр. и нейтр. исслед. 2014. № 7. С. 49. https://doi.org/10.7868/S0207352814070166
- Trumbore F.A., Porbansky E.M., Tartaglia A.A. // J. Phys. Chem. Solids. 1959. V. 11. P. 239. https://doi.org/10.1016/0022-3697(59)90220-3
- Bottago A., Zebib A. // J. Cryst. Growth. 1989. V. 97. P. 50.
- Полежаев В.И., Простомолотов А.И., Верезуб Н.А. и др. // Процессы тепломассопереноса и рост монокристаллов и тонкопленочных структур. Труды второго симпозиума. Обнинск, 1998. С. 310.
- Сидоров B.C., Захаров Б.Г., Серебряков Ю.А. и др. // Приборы и техника эксперимента. 1999. № 2. С. 148.
- Сангвал К. Травление кристаллов: Теория, эксперимент, применение. М: Мир, 1990. 492 с.
- Власов В.Н., Серебряков Ю.А., Стрелов В.И. // Устройство для измерения распределения удельного сопротивления в полупроводниковых материалах. Патент РФ № 145584. Заявка № 2014115440 от 15.08.2014. Приоритет от 18.04.2014. Бюл. № 26. 20.09.2014.
- Власов В.Н., Стрелов В.И., Коробейникова Е.Н. // Приборы и техника эксперимента. 2019. № 5. С. 114. https://doi.org/10.1134/S0032816219040311
- Картавых А.В. // Кристаллография. 2000. Т. 45. № 6. С. 1108.
- Стрелов В.И., Захаров Б.Г., Сидоров В.С. и др. // Поверхность. Рентген., синхротр. и нейтр. исслед. 2003. № 6. С. 77.
- Стрелов В.И., Захаров Б.Г., Сидоров В.С. и др. // Поверхность. Рентген., синхротр. и нейтр. исслед. 2005. № 10. С. 80.
Supplementary files




