Методические аспекты изучения эродируемости почв методом размыва
- Авторы: Краснов С.Ф.1, Горобец А.В.1, Бушуева О.Г.1
-
Учреждения:
- МГУ им. М.В. Ломоносова
- Выпуск: № 7 (2024)
- Страницы: 1034-1044
- Раздел: ДЕГРАДАЦИЯ, ВОССТАНОВЛЕНИЕ И ОХРАНА ПОЧВ
- URL: https://journal-vniispk.ru/0032-180X/article/view/273742
- DOI: https://doi.org/10.31857/S0032180X24070081
- EDN: https://elibrary.ru/XUOFZM
- ID: 273742
Цитировать
Полный текст
Аннотация
Проведенные ранее экспериментальные исследования интенсивности смыва почв методом размыва образцов водным потоком на различном оборудовании (гидравлический лоток, струйная установка, гидродинамическая труба), как правило, сопровождались высокой вариабельностью результатов. Стремление ее снизить, привело к разработке нового горизонтального способа формирования образцов, отличающегося от предыдущего загрузкой образца через съемную боковую стенку кассеты, расположенной горизонтально. При этом послойная загрузка и уплотнение образца остались неизменными. Расположение слоев образца перпендикулярно по отношению к потоку, а не параллельно как прежде, позволило получить более однородное сопротивление образца смыву. Использование измерительного устройства “Посейдон”, разработанного для определения средней глубины волнового потока, дало возможность не только кратно увеличить число измерений интенсивности смыва в течение опыта (с 1 до 14–15), но и оценить качество подготовки образцов, что повысило точность и достоверность исследований. Установлено, что коэффициенты вариации эродируемости практически всегда были ниже при горизонтальной загрузке по сравнению с вертикальной как по повторностям варианта опыта, так и в опыте в целом, в среднем на 13 и 12% соответственно.
Полный текст
Введение
Эродируемость (смываемость) почв – понятие обратное противоэрозионной стойкости, комплексная характеристика податливости почв размыву склоновыми потоками и/или ударному действию дождевых капель, а также эрозионно значимых гидравлических параметров самих потоков [8]. Для количественной оценки эродируемости, используемой как в статистических, так и в физически обоснованных моделях смыва почв, предложено более десятка различных подходов и способов [10]. В свою очередь, в большинстве этих предложений в качестве одного из определяющих параметров, помимо свойств самой почвы, предлагаются кинетические характеристики склоновых потоков – неразмывающая скорость [4, 11], критическое касательное напряжение [16], мощность горизонтальной струи воды [1]. Экспериментально интенсивность размыва и эродируемость почв и грунтов определяют в полевых и лабораторных условиях с помощью различных методов и систем оборудования: гидравлических лотков, дождевальных установок, стоковых площадок с обязательным во всех случаях привлечением оценок гранулометрического состава, влажности и физико-химических свойств почв [14, 20–23, 26].
Устройства различного типа широко используются для экспериментальной оценки сопротивления почв и грунтов размыву в лабораторных и полевых условиях как российскими исследователями [1, 5, 7], так и зарубежными авторами [13, 15, 17–20, 25, 27].
В работе [27] приведена классификация методов, используемых зарубежными исследователями для экспериментальной оценки эродируемости почв и грунтов в лабораторных и полевых условиях (in situ). Эти подходы, моделирующие различные условия воздействия на почвы и грунты, авторы сгруппировали в следующие 6 категорий [27]:
1) эксперименты в гидравлических лотках – оценивают эрозию почв в каналах;
2) испытания на струйной установке (Jet Erosion Test (JET)) – определяют эрозию грунтов в водосбросах для небольших плотин;
3) опыты с вращающимся цилиндром – определяют критическое касательное напряжение сдвига и интенсивность эрозии почвы;
4) эксперименты по определению дисперсности почвы – не измеряют эродируемость, но определяют дисперсность как показатель вероятности начала эрозии;
5) испытания, моделирующие эрозию вдоль отверстий или трещин (Hole Erosion Test (HET) и Slot Erosion Test (SET));
6) специализированные устройства для измерения эрозии (например, размыв грунтов вокруг опор моста).
Из перечисленных установок, зарубежными исследователями широко применяется устройство для струйного размыва JET, разработанное для измерения эродируемости почв и грунтов, как в полевых [17, 18], так и в лабораторных условиях [13, 17, 19, 25]. Лабораторная версия струйного прибора JET может использоваться для тестирования образцов почвы диаметром до 10 см и позволяет определять как коэффициент эродируемости (kd, см3/(Н с)), так и критическое касательное напряжение сдвига (τc, Па) [17].
В данной работе для оценки эродируемости применен показатель в виде частного от деления интенсивности размыва почвы на куб скорости потока, который для водных потоков численно равен половине удельной мощности потока [24]. Теоретически правомерность использования этого параметра была показана в рамках гидрофизической модели эрозии [6] и подтверждена экспериментально опытами по размыву почв на гидравлическом лотке [5].
В экспериментальных исследованиях по размыву монофракционных образцов чернозема неоднократно отмечалась неравномерность размыва образца в течение опыта и предпринимались методические попытки по снижению вариабельности величин интенсивности размыва и эродируемости. Особое внимание уделялось процессу подготовки образцов из предварительно увлажненных навесок почвенных агрегатов и стандартизации условий проведения экспериментов. Также было оценено влияние плотности и влажности почвы на эродируемость [7]. Во всех экспериментах использовался вертикальный способ загрузки почвенных агрегатов, для формирования образца в кассете с целью его последующего размыва на одной из установок – гидравлическом лотке [5, 7], струйной установке [9] или гидродинамической трубе [7].
Цели работы: 1) оценка интенсивности размыва почвы в динамике с помощью модернизированного измерительного устройства “Посейдон”; 2) разработка новой методики и приспособлений для формирования модельных почвенных образцов; 3) сравнительная оценка результатов экспериментов для разных способов формирования образцов.
Оборудование
Эксперименты по размыву модельных образцов почв проводили на гидродинамической трубе (рис. S1), которую в соответствии с классификацией устройств, приведенной выше в работе [27], можно отнести к закрытым гидравлическим лоткам с подачей образца поршневого типа. Подробное описание трубы приведено в работе [7].
В настоящих исследованиях гидродинамическая труба была оснащена модернизированным измерительным устройством “Посейдон”. Это устройство, фиксирующее время контакта датчика прибора с водой, разработано для оценки уровня волновой водной поверхности. Автором разработки устройства и компьютерной программы “Посейдон” для обработки показаний и создания файла результатов эксперимента является А.С. Тесаков [3].
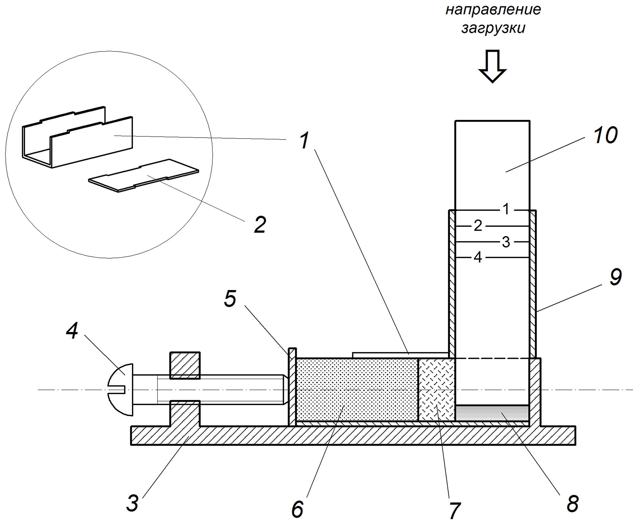
Измерительное устройство состоит из датчика, приемника сигналов, ноутбука (компьютера) и программного обеспечения. На рис. 1 представлена подробная схема кассетоприемника гидродинамической трубы, оснащенной измерительным устройством “Посейдон”.
Рис. 1. Схема кассетоприемника, оборудованного измерительным устройством: 1 – корпус кассетоприемника; 2 – крышка кассетоприемника; 3 – кассета с почвенным образцом 4; 5 – проставка; 6 – плунжер; 7 – уплотняющая резиновая прокладка; 8 – сальник подающего винта 9; 10 – датчик сигнала (герконовый выключатель), закрепленный на крышке кассетоприемника; 11 – миниатюрный магнит на ручке 12 подающего винта.
Модернизация устройства заключалась в том, что роль датчика (10) выполняет миниатюрный герконовый выключатель, закрепленный на крышке кассетоприемника (2). При вращении подающего винта (9) происходит срабатывание выключателя каждый раз, как только тот попадает в магнитное поле минимагнита (11), установленного на ручке винта (12). Сигнал от датчика поступает в приемник сигналов, подключенный к компьютеру, где программа формирует файл отчета, содержащий количество сигналов и временной интервал между ними. Таким образом, зная шаг винта и время между его полными оборотами, легко рассчитать интенсивность размыва образца почвы в процессе эксперимента.
После проведения серии экспериментов и сохранения отчета по каждому из них можно сразу приступать к обработке и анализу результатов, с использованием специально разработанного расчетного файла-шаблона в формате “xls”, с учетом всех повторностей (до 10) проведенного опыта. Отметим, что использование данного устройства больше, чем на порядок, увеличивает количество измерений в одном эксперименте, продолжительность которого определяется временем, необходимым для полного размыва образца (от первых десятков секунд до первого часа и более). Например, при шаге подающего винта 1.25 мм и высоте образца в 20 мм, количество измерений возрастает от 1 (среднее за время эксперимента) до 14–15 (по количеству полных оборотов), но не 16 (20/1.25), как можно было ожидать, поскольку первый и последний оборот винта практически никогда не бывают полными.
Объекты и методы
В качестве объектов исследований отобраны образцы из пахотных горизонтов агросерой среднесуглинистой почвы (Greyic Phaeozem) (Тульская область, Щекинский район) и агрочернозема глинисто-иллювиального легкоглинистого (Luvic Chernozem (Pachic)) (Тульская область, Воловский район). Выбор агрочернозема и агросерой почвы обусловлен тем, что эти почвы занимают значительные площади сельскохозяйственных земель России, при этом они являются самыми плодородными и в наибольшей степени подвержены водной эрозии.
Исследуемые почвы сильно отличаются между собой по гранулометрическому составу. Например, содержание физической глины (сумма частиц <0.01 мм) в пахотном горизонте агросерой почвы и агрочернозема составляет 35.0 и 50.4% соответственно.
Для проведения экспериментов использовали фракции почвенных агрегатов размером 1–2 мм, полученные из воздушно-сухих почв методом сухого просеивания. По данным, приведенным в монографии [12], при изучении распределения воздушно-сухих агрегатов в типичных черноземах для данной фракции агрегатов характерна наибольшая устойчивость и ее содержание практически не меняется в зависимости от вида использования и нагрузки на почву.
Модельные образцы почв с заданной плотностью готовили по методикам, подробно изложенным ранее в работе [7]. При проведении экспериментов для агрочернозема использовали модельные образцы плотностью 1.3 г/см3, для агросерой почвы – 1.4 г/см3. Принятые различия в заданной плотности были обусловлены более высокой эродируемостью агросерой почвы по сравнению с агрочерноземом [2], что затрудняло подготовку образцов и проведение экспериментов при скоростях водного потока более 1 м/с. В связи с этим, для увеличения времени размыва и повышения точности экспериментов с агросерой почвой использовали бо́льшую плотность.
На рис. 2 представлены экспериментальные зависимости изменения интенсивности смыва образцов агрочернозема и агросерой почвы от влажности, полученные для первой серии опытов. В соответствии с проведенными экспериментами установлено, что при влажности образцов агросерой почвы и агрочернозема соответственно равной 22 и 24% от массы воздушно-сухой почвы интенсивность смыва была минимальной. В дальнейшей работе данные величины влажности были приняты при подготовке модельных образцов почв.
Рис. 2. Зависимость интенсивности размыва почвенных образцов от их влажности при скорости потока в гидродинамической трубе 1.2 м/с: 1 – агрочернозем при вертикальной загрузке; 2 – агрочернозем при горизонтальной загрузке; 3 – агросерая почва при горизонтальной загрузке.
Аналогичные зависимости изменения интенсивности смыва (г/мин) и коэффициента эродируемости (см3/(Н с)) от влажности размываемых образцов почв и грунтов получены и зарубежными исследователями [19, 23].
Методические особенности приготовления модельных образцов почв. Первые эксперименты с использованием измерительного устройства “Посейдон” позволили получить данные, подтверждающие предположения и наблюдения о неравномерности размыва образцов в процессе экспериментов, что привело к радикальному изменению метода подготовки почвенного образца. Целью нового метода являлось формирование образца таким образом, чтобы его слои, возникающие в процессе послойной загрузки и уплотнения, при размыве водным потоком были не параллельны ему, а перпендикулярны, что обеспечивало бы более равномерный размыв образца. Для решения этой задачи был предложен горизонтальный метод формирования образца, когда почвенные агрегаты загружаются через съемную боковую стенку кассеты, а сама кассета лежит горизонтально.
Для сравнения результатов экспериментов использовали оба метода подготовки образцов.
Вертикальный метод формирования образцов почвы подробно описан как во всех предыдущих исследованиях эродируемости пахотного горизонта чернозема [7], так и в экспериментах по сравнительной оценке интенсивности размыва и эродируемости модельных образцов из пахотных горизонтов агрочернозема и агросерой почвы с заданной плотностью (1.3 г/см3) [2]. В день проведения экспериментов, предварительно увлажненные навески почв на технических электронных весах делили на четыре равные части, которые поочередно переносили в металлическую кассету (размер 17 × 17 × 64 мм) с подвижным вкладышем. Кассету устанавливали на столе в специальном штативе в вертикальном положении. Каждую порцию навески разравнивали и уплотняли до заданной плотности с помощью ручного пресса. Последнюю часть навески переносили в кассету после установки на нее надставки, такого же сечения, что и кассета (17 × 17 мм), чтобы уместить всю навеску. Затем ручным или винтовым прессом плунжер, рабочая часть которого равна высоте надставки, полностью погружали в надставку. Таким образом, образец приобретал заданную плотность, а его поверхность находилась на уровне верхнего края кассеты [7].
При горизонтальном методе подготовку образцов модельных почв проводили аналогичным способом. Отличие заключалось в использовании другой оснастки (рис. 3), позволяющей загружать кассету (1), расположенную горизонтально, через съемную боковую стенку кассеты (2), где сразу устанавливалась надставка (9) сечением 17 × 20 мм, обеспечивающая послойную полную загрузку навески. Кроме этого, при уплотнении слоев надставку использовали как кондуктор для уплотняющего стержня (10). Послойный контроль осуществляли по отметкам на стержне, путем их совмещения с верхним краем надставки.
Рис. 3. Устройство приспособления для горизонтального формирования почвенного образца: 1 – кассета со снятой боковой стенкой 2; 3 – корпус устройства с прижимным винтом 4; 5 – прижимная пластина; 6 – технологический вкладыш; 7 – проставка; 8 – 1-й, уплотненный слой почвы; 9 – надставка; 10 – уплотняющий стержень.
Размер монофракционной пробы в кассете независимо от способа приготовления образцов составлял 17 × 17 × 20 мм.
В процессе обработки экспериментальных данных интенсивность смыва почв (q, г/(м2 с)) рассчитывали как среднюю за время эксперимента по зависимости:
,
где P – масса смытой почвы, г; t – время смыва образца, с; S – площадь размываемой поверхности (поверхность образца), м2.
Или, при использовании измерительного устройства “Посейдон”, по формуле:
,
где b – доля смытой почвы за полный оборот подающего винта (при шаге винта 1.25 мм, высоте образца 20 мм b = 1.25/20 = 0.0625); P – масса образца почвы, г; tоб – время полного оборота подающего винта, с. Остальные обозначения прежние.
Эродируемость почвы (k, с2/м2) оценивали по формуле в соответствии с гидрофизической моделью эрозии [6]:
,
где q – интенсивность смыва, г/(м2с) u3 – куб скорости потока, м3/с3; r0 – плотность воды, Мг/м3.
Температуру воды в системе во время проведения опытов поддерживали на уровне 18–23°С, поскольку ранее было показано влияние температуры потока на интенсивность смыва и эродируемость почвы [7]. Опыты проводили до полного размыва образцов. Повторность опытов в каждом варианте – 5–6 измерений. Расход воды устанавливали по водомерному счетчику, а скорость потока рассчитывали как частное от деления расхода на площадь поперечного сечения гидродинамической трубы. Скорость потока в трубе для первой серии экспериментов по оценке влияния влажности почв на эродируемость составила 1.2 м/с. Во второй серии опытов скорость потока в трубе изменяли в широком диапазоне (0.5–2.5 м/с).
Результаты и обсуждение
Полученные результаты свидетельствуют, что даже тщательное соблюдение разработанной технологии подготовки модельных образцов почв не позволяет избежать формирования слоистости образца по плотности. Это приводит к неравномерности смыва образца в процессе эксперимента.
Изучение динамики смыва в процессе проведения экспериментов с использованием измерительного устройства выявило волнообразность процесса с уменьшением его интенсивности при выходе уплотненной поверхности очередного слоя образца вровень с поверхностью дна лотка и последующим увеличением смыва при дальнейшем экструдировании.
Максимальные значения интенсивности смыва во время экспериментов при использовании вертикального способа загрузки превышали минимальные в 5–6 раз (рис. S2, S3, кривые 1), что обусловливается слоистостью сформированного образца почвы и неоднородностью самого слоя по плотности. Подготовить образец заданной плотности сразу из необходимой навески почвенных агрегатов не представляется возможным из-за еще большей разницы плотностей его верхней и нижней частей.
Исходя из вышесказанного, было принято решение формировать почвенный образец путем горизонтальной загрузки. Сразу отметим, что слоистость, возникающая при подготовке образца по методике с горизонтальной загрузкой, также остается, как и в случае использования вертикальной загрузки. Однако теперь слои, при установке кассеты в кассетоприемник располагаются не параллельно, а перпендикулярно направлению водного потока, что обеспечивает большую равномерность сопротивления почвенного образца смыву по всей его высоте при экструдировании из кассеты (рис. 4).
Рис. 4. Схема расположения слоев, сформированных модельных образцов почвы, по отношению к водного потоку при вертикальном (a) и горизонтальном (b) направлениях загрузки: 1 – кассета; 2 – проставка; 3 – слои почвенных агрегатов; 4 – съемная боковая стенка кассеты.
Проведенные эксперименты показали значительные изменения в характере кривых интенсивности смыва (рис. S2, S3, кривые 2). Максимальные значения ее величины отличаются от минимальных не более, чем в 2 раза. Кривые стали более плавными, и их волнообразность, чаще всего, можно объяснить техническим несовершенством экспериментального оборудования.
На графиках, представленных на рис. 5a и 5b, хорошо видно насколько отличаются зависимости интенсивности смыва агросерой почвы плотностью 1.4 г/см3 от скорости потока при разных способах формирования образца. Например, зависимость между интенсивностью смыва агросерой почвы и скоростью потока в случае вертикальной загрузки можно описать степенной функцией с коэффициентом детерминации равным 0.745 при довольно низком значении показателя степени – 1.16. В то время как при использовании методики с горизонтальной загрузкой, зависимость лучше описывается степенной функцией с очень высоким коэффициентом детерминации (R² = 0.991) и показателем степени, близким к 3.
Рис. 5. Зависимость интенсивности смыва агросерой почвы от скорости водного потока при вертикальном (a) и горизонтальном (b) направлениях загрузки образцов.
Статистическая обработка экспериментальных данных изначально включала расчет значений средних арифметических и стандартных отклонений величин эродируемости как для вертикального, так и для горизонтального направления загрузки модельных образцов в кассеты. Однако как мера варьирования стандартное отклонение не всегда оказывается удобной, в частности при необходимости сравнения вариабельности случайных величин. В связи с этим в дальнейшем использовали коэффициенты вариации как безразмерную величину отношения стандартного отклонения к среднему, выраженную в процентах.
В табл. 1 приведены значения коэффициентов вариации эродируемости агрочернозема в вариантах опытов по смыву при различной влажности почвы для вертикального и горизонтального направлений загрузки образцов в кассеты. Коэффициенты вариации рассчитывали как средние для диапазона значений по повторностям, так и для всего варианта в целом. Приведенные результаты свидетельствует о том, что при использовании горизонтального направления загрузки коэффициенты вариации несколько ниже по сравнению с вертикальным способом формирования образцов как по повторностям варианта опыта, так и за вариант в целом. При этом во всех вариантах опытов абсолютные значения средних коэффициентов вариации по повторностям были ниже, чем за вариант в целом для обоих методов формирования образцов.
Таблица 1. Коэффициенты вариации величин эродируемости агрочернозема в вариантах опытов с различной влажностью почвы, %
Влажность образца, % | Вертикальная загрузка | Горизонтальная загрузка | ||
средний/(диапазон) по повторностям варианта | за вариант в целом | средний/(диапазон) по повторностям варианта | за вариант в целом | |
20 | 28/(16–37) | 33 | – | – |
22 | 23/(8.5–37) | 46 | 23/(17–28) | 28 |
24 | 42/(35–49) | 43 | 20/(17–22) | 27 |
26 | 31/(26–44) | 33 | 28/(21–44) | 48 |
28 | 36/(25–46) | 43 | 26/(17–33) | 43 |
30 | – | – | 28/(21–34) | 46 |
Анализ значений коэффициентов вариации, полученных при определении эродируемости агросерой почвы во второй серии экспериментов с разной скоростью потока (0.5–2.5 м/с) в гидродинамической трубе, показал те же тенденции, как и в вариантах опытов по размыву агрочернозема при различной влажности почвы. Практически во всех случаях коэффициенты вариации были ниже при использовании методики с горизонтальной загрузкой по сравнению с вертикальным способом формирования образцов как по повторностям варианта опыта, так и за вариант в целом (табл. 2).
Таблица 2. Коэффициенты вариации значений эродируемости агросерой почвы в вариантах опытов при разной скорости потока, %
Скорость потока, м/с | Вертикальная загрузка | Горизонтальная загрузка | ||
средний/(диапазон) по повторностям варианта | за вариант в целом | средний/(диапазон) по повторностям варианта | за вариант в целом | |
0.49 | – | – | 40/(17–53) | 48 |
0.74–0.75 | – | – | 26/(14–37) | 34 |
0.98–0.99 | 35/(16–72) | 64 | 19/(11–29) | 44 |
1.20–1.21 | 27/(20–40) | 34 | 15/(9–28) | 27 |
1.38–1.48 | 42/(38–46) | 48 | 24/(10–41) | 32 |
1.82–1.84 | 23/(15–39) | 32 | – | – |
2.02–2.03 | 23/(16–33) | 28 | 17/(13–20) | 24 |
2.22–2.25 | 15/(9–21) | 29 | – | – |
2.44–2.46 | – | – | 20/(11–40) | 23 |
Заключение
Проведенные исследования показали, что условия подготовки модельных образцов почв сильно влияют при экспериментальной оценке величин интенсивности смыва и эродируемости. В результате предложена новая методика с горизонтальным направлением загрузки кассет почвенными агрегатами и разработано новое оборудование (оснастка). Предложенный горизонтальный способ формирования модельных почвенных образцов позволил получить более однородное сопротивление образца в процессе его смыва водным потоком, к которому слои образца располагаются перпендикулярно.
Для оценки динамики интенсивности смыва в течение эксперимента в гидродинамической трубе была проведена некоторая модернизация измерительного устройства “Посейдон” в части датчика сигнала, обеспечивающая учет оборотов подающего винта. Это позволило использовать устройство и программу “Посейдон” для регистрации временных интервалов смываемого слоя почвенного образца в гидродинамической трубе.
Формирование программой “Посейдон” файла-отчета с данными продолжительности временных интервалов оборотов подающего винта (при известном шаге резьбы) позволяет изучить динамику интенсивности смыва в течение самого эксперимента и значительно увеличить число измерений (с 1 до 14–15). Это также дает возможность оценить качество подготовки модельных образцов почв, что в целом повышает точность и достоверность самих исследований при уменьшении числа повторностей в варианте опыта.
Сравнительная оценка динамики интенсивности смыва показала, что ее величина остается более постоянной (стабильной) в течение экспериментов при использовании методики с горизонтальной загрузкой по сравнению с вертикальным способом формирования образцов. При использовании новой методики подготовки образцов коэффициенты вариации для величины эродируемости практически во всех случаях были ниже как по повторностям варианта опыта, так и за вариант в целом.
Проведенные исследования по оценке интенсивности смыва агросерой почвы и агрочернозема в широком диапазоне скоростей водного потока выявили существенные различия в эродируемости почв. Так, эродируемость агросерой почвы оказалась в 5 раз выше, чем агрочернозема и составила 196 × 10–6 против 39 × 10–6 с2/м2. Вероятно, данный результат обусловлен различным гранулометрическим составом и физико-химическими свойствами исследуемых почв.
Финансирование работы
Работа выполнена по плану НИР в рамках темы по государственному заданию ( № 121051100166-4) Научно-исследовательской лаборатории эрозии почв и русловых процессов им. Н.И. Маккавеева Географического факультета МГУ.
Соблюдение этических стандартов
В данной работе отсутствуют исследования человека или животных.
Конфликт интересов
Авторы заявляют об отсутствии конфликта интересов.
Дополнительная информация
Онлайн-версия содержит дополнительные материалы, доступные по адресу https://doi.org/10.31857/S0032180X24070081
Об авторах
С. Ф. Краснов
МГУ им. М.В. Ломоносова
Автор, ответственный за переписку.
Email: GorobetsAV@geogr.msu.ru
Россия, Москва
А. В. Горобец
МГУ им. М.В. Ломоносова
Email: GorobetsAV@geogr.msu.ru
Россия, Москва
О. Г. Бушуева
МГУ им. М.В. Ломоносова
Email: GorobetsAV@geogr.msu.ru
Россия, Москва
Список литературы
- Бастраков Г.В. Эрозионная устойчивость рельефа и противоэрозионная защита земель. Брянск: Изд-во БГПИ, 1994. 260 с.
- Бушуева О.Г., Горобец А.В., Добровольская Н.Г., Краснов С.Ф., Литвин Л.Ф. Экспериментальная оценка противоэрозионной стойкости агропочв лесостепи // Маккавеевские чтения – 2022. Сб. матер. М.: Географический факультет МГУ, 2023. С. 50–59.
- Горобец А.В., Краснов С.Ф., Митюхина Н.В., Бушуева О.Г. Использование электроконтактного уровнемера для определения отметки поверхности мелководных бурных потоков // Маккавеевские чтения – 2013. Сб. матер. М.: Географический факультет МГУ, 2014. С. 95–101.
- Кузнецов М.С. Противоэрозионная стойкость почв. М.: Изд-во МГУ, 1981. 135 с.
- Ларионов Г.А., Бушуева О.Г. Добровольская Н.Г., Кирюхина З.П., Краснов С.Ф., Литвин Л.Ф., Муракаев Р.Р. Определение гидрофизических параметров почвы в модели эрозии // Почвоведение. 2010. № 4. С. 488–494.
- Ларионов Г.А., Краснов С.Ф. Вероятностная модель размыва почв и связных грунтов // Почвоведение. 2000. № 2. С. 235–242.
- Ларионов Г.А., Краснов С.Ф., Литвин Л.Ф., Горобец А.В. Основы эрозии и оценка эродируемости почв (теория, эксперимент). М.: Географический факультет МГУ им. М.В. Ломоносова, 2022. 167 с.
- Ларионов Г.А., Краснов С. Ф., Литвин Л.Ф., Горобец А.В. Эродируемость почвы (факторы, теория, эксперименты) // Эрозия почв и русловые процессы. Тр. науч.-исслед. лаборатории эрозии почв и русловых процессов им. Н.И. Маккавеева. Вып. 22. М.: Географический факультет МГУ им. М.В. Ломоносова, 2022. С. 6–37.
- Ларионов Г.А., Краснов С.Ф., Литвин Л.Ф., Горобец А.В., Кобыльченко (Куксина) Л.В., Крючков Н.Р. Экспериментальная оценка механизма размыва в начальной стадии формирования оврага // Геоморфология и палеогеография. 2023. Т. 54. № 2. С. 97–104. https://doi.org/10.31857/S2949178923010085
- Лисецкий Ф.Н., Светличный А.А., Черный С.Г. Современные проблемы эрозиоведения. Белгород: Константа, 2012. 456 с.
- Мирцхулава Ц.Е. Инженерные методы расчета и прогноза водной эрозии. М.: Колос, 1970. 240 с.
- Холодов В.А., Ярославцева Н.В. Агрегаты и органическое вещество почв восстанавливающихся ценозов. М.: ГЕОС, 2021. 120 с.
- Al-Madhhachi A.T., Fox G.A., Hanson G.J., Tyagi A.K., Bulut R. Mechanistic detachment rate model to predict soil erodibility due to fluvial and seepage forces // J. Hydraul. Eng. 2014. V. 140. P. 1–10. https://doi.org/10.1061/(ASCE)HY.1943-7900.0000836
- Choo H., Zhao Q., Burns S.E., Sturm T.W., Hong S.H. Laboratory and theoretical evaluation of impact of packing density, particle shape, and uniformity coefficient on erodibility of coarse-grained soil particles // Earth Surf. Process. Landforms. 2020. V. 45. P. 1499–1509. https://doi.org/10.1002/esp.4825
- Crowley R.W., Robeck C., Thieke R.J. Computational modeling of bed material shear stresses in piston-type erosion rate testing devices // J. Hydraul. Eng. ASCE. 2014. V. 140. № 1. P. 24–34. https://doi.org/10.1061/(ASCE)HY.1943-7900.0000797
- Foster G.R. Modeling the erosion process // Hydrologic Modeling of Small Watersheds. ASAE Monograph No. 5. ASAE, St. Joseph, MI. 1982. P. 297–380.
- Haddadchi A., Rose C.W., Olley J.M., Brooks A.P., McMahon J., Pietsch T. An alternative method for interpreting JET erosion test (JET) data: P. 2. Application // Earth Surf. Process. Landforms. 2017. V. 43. № 3. P. 743–754. https://doi.org/10.1002/esp.4270
- Hanson G.J., Cook K.R. Apparatus, test procedures, and analytical methods to measure soil erodibility in situ // Applied Engineering in Agriculture. American Society of Agricultural Engineers. 2004. V. 20. № 4. P. 455–462. https://doi.org/10.13031/2013.16492
- Hanson G.J., Hunt S.L. Lessons learned using laboratory JET method to measure soil erodibility of compacted soils // Appl. Eng. Agric. 2007. V. 23. № 3. P. 305–312. https://doi.org/10.13031/2013.22686
- Kimiaghalam N., Clark S.P., Ahmari H. An experimental study on the effects of physical, mechanical, and electrochemical properties of natural cohesive soils on critical shear stress and erosion rate // Int. J. Sediment Res. 2016. V. 31. № 1. P. 1–15. https://doi.org/10.1016/j.ijsrc.2015.01.001
- Knapen A., Poesen J., Govers G., Gyssels G., Nachtergaele J. Resistance of soils to concentrated flow erosion: A review // Earth-Science Reviews. 2007. V. 80. P. 75–109. https://doi.org/10.1016/j.earscirev.2006.08.001
- Li M., Liu Q., Zhang H., Wells R.R., Wang L., Geng J. Effects of antecedent soil moisture on rill erodibility and critical shear stress // Catena. 2022. V. 216. № 106356. P. 1−10. https://doi.org/10.1016/j.catena.2022.106356
- Moragoda N., Kumar M., Cohen S. Representing the role of soil moisture on erosion resistance in sediment models: challenges and opportunities // Earth-Science Reviews. 2022. V. 229. № 104032. P. 1−16. https://doi.org/10.1016/j.earscirev.2022.104032
- Nearing M.A., Bradford J.M., Parker S.C. Soil detachment by shallow flow at low slopes // Soil Sci. Soc. Am. J. 1991. V. 55. № 2. P. 339–344. https://doi.org/10.2136/sssaj1991.03615995005500020006x
- Nguyen V.-N., Courivaud J.-R., Pinettes P., Souli H., Fleureau J.-M. Using an improved jet-erosion test to study the influence of soil parameters on the erosion of a silty soil // J. Hydraul. Eng. 2017. V. 143 (8). P. 04017018. https://doi.org/10.1061/(ASCE)HY.1943-7900.0001305
- Song Y., Liu L., Yan P., Cao T. A review of soil erodibility in water and wind erosion research // J. Geogr. Sci. 2005. V. 15. № 2. P. 167–176. https://doi.org/10.1007/BF02872682
- Wan C.F., Fell R. Investigation of rate of erosion of soils in embankment dams // J. Geotech. Geoenviron. Eng. ASCE. 2004. V. 130. № 4. P. 373–380. https://doi.org/10.1061/(ASCE)1090-0241(2004)130:4(373)
Дополнительные файлы







