Bellows Chamber as a Booster Stage for Obtaining a Pressure of 1 GPa in a Gas Medium
- Autores: Ninenko S.I.1
-
Afiliações:
- Vereshchagin Institute of High Pressure Physics, Russian Academy of Sciences
- Edição: Nº 4 (2023)
- Páginas: 97-100
- Seção: ОБЩАЯ ЭКСПЕРИМЕНТАЛЬНАЯ ТЕХНИКА
- URL: https://journal-vniispk.ru/0032-8162/article/view/138434
- DOI: https://doi.org/10.31857/S0032816223030254
- EDN: https://elibrary.ru/CWVCRP
- ID: 138434
Citar
Texto integral
Resumo
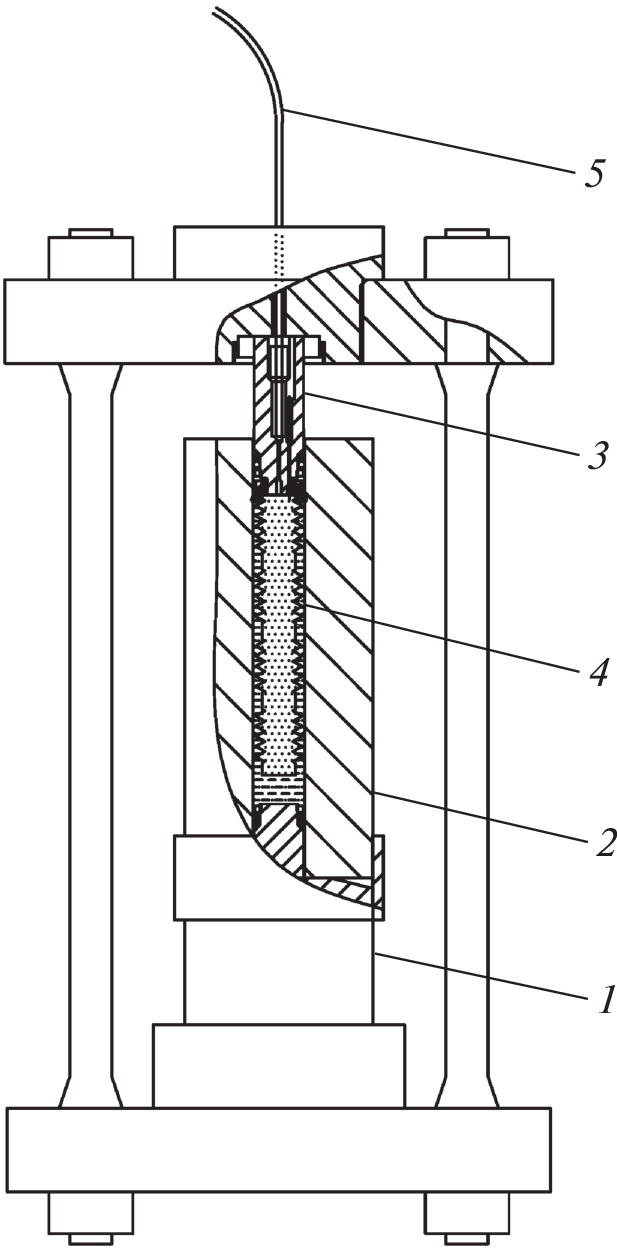
The booster stage of a plant for compressing a gaseous medium to 1 GPa is described, which is a thin-walled bellows chamber immersed in a hydrostatically compressed medium. This design allows for creating the required pressure in the working volume of more than 1.5 cm3, which is sufficient for both optical studies and accurate pressure measurements in the working chamber.
Sobre autores
S. Ninenko
Vereshchagin Institute of High Pressure Physics, Russian Academy of Sciences
Autor responsável pela correspondência
Email: ninenko@hppi.troitsk.ru
108840, Moscow, Russia
Bibliografia
- Верещагин Л.Ф., Иванов В.В. А.с. № 97915 СССР // Опубл. 1952.
- Стишов С.М., Уваров А.Ф. // ПТЭ. 1975. № 4. С. 191.
- Boksha S.S. // Journal of Crystal Growth. 1968. V. 3–4. P. 426.
- Ninenko S.I., Brazhkin V.V. // Review of Scientific Instruments 2022. V. 93. Issue 11. P. 113905 https://doi.org/10.1063/5.0094655
- Полянин А.Б., Алексеев А.Б., Турчин С.И. Патент № 2690316 РФ // Опубл. 31.05.2019. Бюл. № 16.
Arquivos suplementares




