ОПТИМИЗАЦИЯ БЕССЕПАРАЦИОННОГО ТРЕХФАЗНОГО РАСХОДОМЕРА НЕФТЬ−ВОДА−ГАЗ ГОРИЗОНТАЛЬНОЙ ОРИЕНТАЦИИ С ДВУХИЗОТОПНЫМ ГАММА-ПЛОТНОМЕРОМ
- Авторы: Филиппов А.Ю.1, Филиппов Ю.П.2, Коврижных А.М.2
-
Учреждения:
- Научно-исследовательский университет “Московский энергетический институтˮ
- Объединенный институт ядерных исследований
- Выпуск: № 4 (2023)
- Страницы: 132-144
- Раздел: ФИЗИЧЕСКИЕ ПРИБОРЫ ДЛЯ ЭКОЛОГИИ, МЕДИЦИНЫ, БИОЛОГИИ
- URL: https://journal-vniispk.ru/0032-8162/article/view/138449
- DOI: https://doi.org/10.31857/S0032816223030047
- EDN: https://elibrary.ru/IRIZAW
- ID: 138449
Цитировать
Полный текст
Аннотация
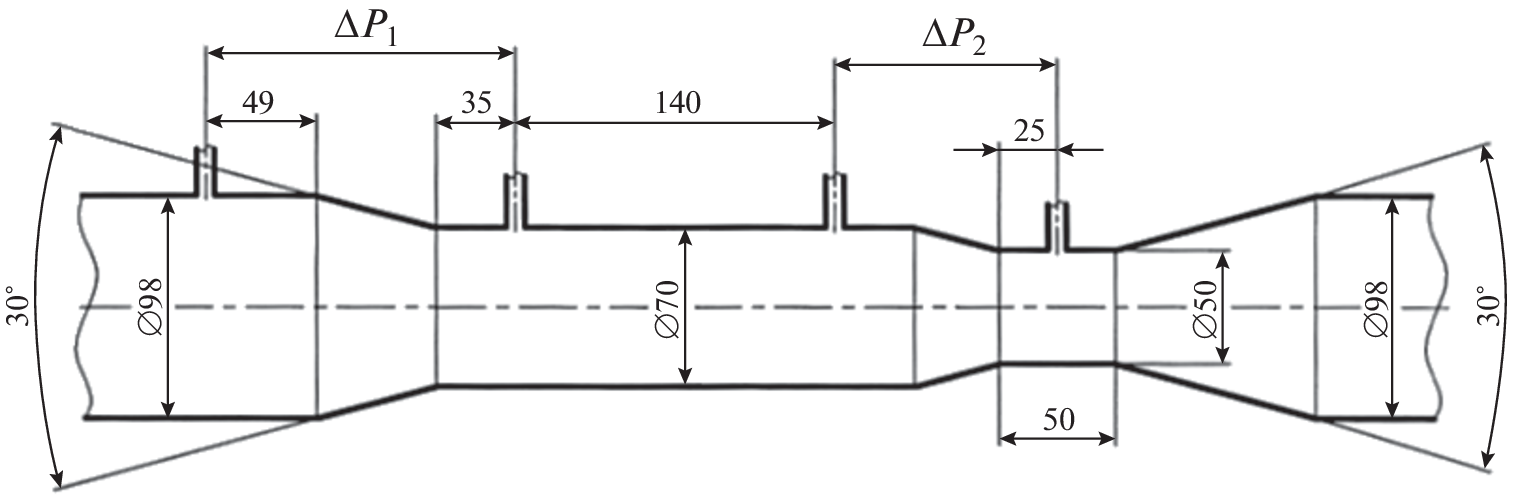
Вероятно, впервые представлена информация о характеристиках бессепарационных трехфазных расходомеров нефть−вода−газ горизонтальной ориентации, связанная с оптимизацией конструкции по результатам экспериментальных исследований одноизотопных и двухизотопных γ-плотномеров и комбинированного конического сужающего устройства (СУ), состоящего из двух последовательно установленных конусов различных размеров. Эксперименты проводились как на смесях “реальная нефть−газ−соленая водаˮ на стенде фирмы TUV SUD NEL, г. Глазго, так и на модельных потоках “эксол−газ−пресная водаˮ на эталоне многофазных потоков ГЭТ195-2011 во ВНИИР, г. Казань, для типичных расходомеров с номинальным диаметром DN 100. Показано, что γ-плотномер целесообразно устанавливать в сечении с промежуточным диаметром D = 70 мм, в качестве измерительного СУ использовать конус 70/50 мм, а конус 100/70 мм применять для предварительного ускорения потока с целью уменьшения разнообразия режимов течения двухфазных и трехфазных потоков в измерительном СУ и в проточной части γ-плотномера. Это позволяет существенно улучшить характеристики макета расходомера. Проведено сравнение некоторых полученных характеристик с характеристиками известного вертикального аналога Vx Schlumberger и представлены варианты конструкций усовершенствованного горизонтального трехфазного расходомера, позволяющих также увеличить срок его службы и повысить рабочее давление.
Об авторах
А. Ю. Филиппов
Научно-исследовательский университет “Московский энергетический институтˮ
Email: forsc2231@gmail.com
Россия, 111250, Москва, ул. Красноказарменная, 14
Ю. П. Филиппов
Объединенный институт ядерных исследований
Email: fyp@dubna.ru
Россия, 141980, Дубна, Московской обл., ул. Жолио-Кюри, 6
А. М. Коврижных
Объединенный институт ядерных исследований
Автор, ответственный за переписку.
Email: fyp@dubna.ru
Россия, 141980, Дубна, Московской обл., ул. Жолио-Кюри, 6
Список литературы
- Babelli I.M.M. // Proceedings of International Nuclear Conference. Kuala Lumpur, 1997. P. 371.
- Atkinson I., Berard M., Hanssen B.-V., Segeral G. // The 19-th International North Sea Flow Measurement Workshop. Oslo, Norwegian, 1999. P. 154.
- Bukur D.B., Daly J.G., Patel S.A. // Ind. Eng. Chem. Res. 1996. V. 35. P. 70.
- Pan L. PhD. London: Imperial College, 1996.
- Filippov Y.P., Panferov K.S. // International Journal of Multiphase Flow. 2012. V. 41. P. 36. https://doi.org/10.1016/j.ijmultiphaseflow.2011.12.005
- Филиппов Ю.П., Филиппов А.Ю. // Тепловые процессы в технике. 2021. Т. 13. № 3. С. 98. doi 1034759/tpt-2021-13-398-110
- Филиппов А.Ю., Филиппов Ю.П. // Теплоэнергетика. 2022. № 5. С. 18. https://doi.org/10.1134/S0040363622050010
- Филиппов А.Ю., Филиппов Ю.П. // Тепловые процессы в технике. 2022. Т. 14. № 5. С. 225. doi 1034759/tpt-2022-14-5-225-240
- Pinguest B.G., Miller G.J., Moksnes P.O. // The 26-th International North Sea Flow Measurement Workshop. 21−24 October 2008. TUV NEL Publisher. Paper 3.1. P. 1. https://nfogm.no/wp-content/uploads/2019/02/2008- 08-The-Influence-of-Liquid-Viscosity-on-Multiphase-Flow-Meters-Pinguet-Schlumberger.pdf
- Коврижных А.М., Панферов К.С., Филиппов Ю.П., Демьянов А.А., Кепещук Т.В., Поярков С.А.// Автоматизация, телемеханизация и связь в нефтяной промышленности. 2007. № 8. С. 3.
- https://www.tuvsud.com/en-gb/industries/chemical-and-process/flow-measurement
- The State Primary Special Standard Unit of Mass Flow of Gas-Liquid Mixtures. https://vniir.org/standards/ get-195-2011
- Свешников Б.Н., Смирнов С.Н., Филиппов А.Ю., Филиппов Ю.П. // Письма в журнал Физика ЭЧАЯ. 2021. Т. 18. № 1(233). С. 58.
- Абрамов Г.С. // Автоматизация, телемеханизация и связь в нефтяной промышленности. 2012. № 1. С. 5.
- Filippov Y.P., Kakorin I.D. // Flow Measurement and Instrumentation. 2016. V. 52. P. 163.
- Экспериментальные исследования многофазных бессепарационных расходомеров на полигонах TUV SUD NEL и ГЭТ195-2011: протоколы и файлы. Дубна: ОИЯИ, ЛФВЭ, 2012/13.
- Filippov Yu.P., Kakorin I.D., Kovrizhnykh A.M., Miklayev V.M. // Physics of Particles and Nuclei Letters. 2017. V. 14. № 4. P. 602. https://doi.org/10.1134/S1547477117040082
- Filippov Yu.P., Filippov A.Yu. // Flow Measurement and Instrumentation. 2019. V. 68. P. 101578. doi org/https://doi.org/10.1016/j.flowmeasinst.2019.101758
- Filippov Y.P., Romanov S.V., Panferov K.S., Svesh-nikov B.N. // Proc. of the 22-th International Cryogenic Engineering Conf. (ICEC 22) (Seoul, Korea, 2008) Gyeongnam: KIASC, 2009. P. 419. ISBN 9788995713822
- Влагомеры поточные моделей L и F. Описание типа средства измерений, 56767-14.pdf.
- Какорин И.Д., Филиппов Ю.П. // Измерительная техника. 2013. № 11. С. 33.
- ГОСТ Р 8.615-2005. ГСИ. Измерения количества извлекаемых из недр нефти и нефтяного газа. Общие метрологические и технические требования.
- Плoтнoмep 804. piezoelectric.ru/Products/Densitometer804/
Дополнительные файлы












