High-Etendue High-Resolution Spectrometer−Polychromator Equipped with Novel sCMOS Cameras for Tokamak Plasma Spectroscopy
- Authors: Kuz’min N.V.1, Tugarinov S.N.1, Serov V.V.1, Serov S.V.1, Pavlova G.S.1, Naumenko N.N.2
-
Affiliations:
- Institution “Project Center ITER,” ROSATOM State Atomic Energy Corporation
- ZAO Solar
- Issue: No 6 (2023)
- Pages: 85-97
- Section: ОБЩАЯ ЭКСПЕРИМЕНТАЛЬНАЯ ТЕХНИКА
- URL: https://journal-vniispk.ru/0032-8162/article/view/233265
- DOI: https://doi.org/10.31857/S0032816223060046
- EDN: https://elibrary.ru/WXEOIE
- ID: 233265
Cite item
Full Text
Abstract
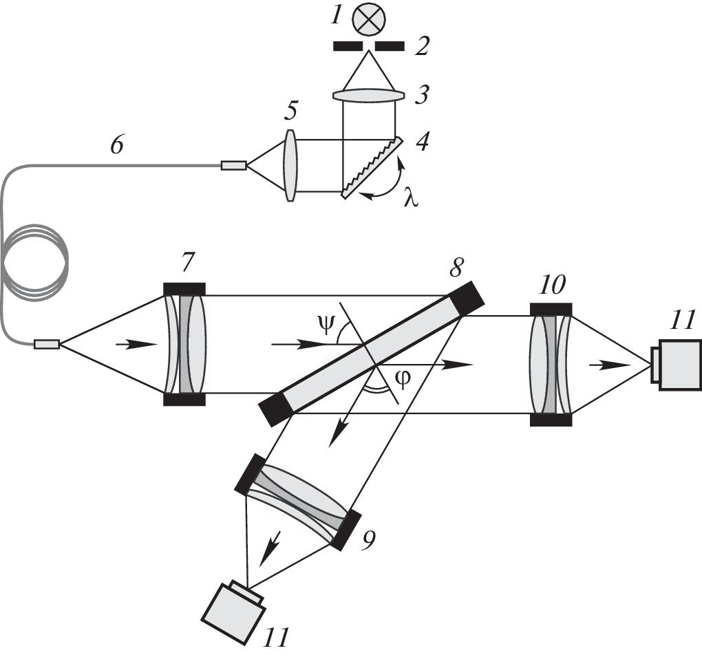
An improved prototype of the large-aperture, high-resolution spectrometer−polychromator (the so-called high-etendue spectrometer, HES) has been designed for spectroscopy diagnostics of plasma, in particular, for the Charge-eXchange Recombination Spectroscopy (CXRS) diagnostics at the ITER facility. Ion temperature profiles, poloidal and toroidal plasma rotation velocities, and low-Z impurity densities can be measured using the CXRS technique. The HES is equipped with novel, high-efficiency compact sCMOS cameras with low noise level, wide dynamic range, high quantum efficiency, and almost 100% working cycle. The HES is based on three transmission holographic gratings, which allow its simultaneous operation in three spectral bands: 468 ± 5, 529 ± 5, and 656 ± 6 nm. The main performance characteristics of the cameras, transmission gratings, and the spectrometer as a unit have been measured. It has been established that the characteristics of the developed HES satisfy the requirements for the spectroscopic equipment intended for measurements of the ITER CXRS diagnostic system.
About the authors
N. V. Kuz’min
Institution “Project Center ITER,” ROSATOM State Atomic Energy Corporation
Email: n.kuzmin@iterrf.ru
123060, Moscow, Russia
S. N. Tugarinov
Institution “Project Center ITER,” ROSATOM State Atomic Energy Corporation
Email: n.kuzmin@iterrf.ru
123060, Moscow, Russia
V. V. Serov
Institution “Project Center ITER,” ROSATOM State Atomic Energy Corporation
Email: n.kuzmin@iterrf.ru
123060, Moscow, Russia
S. V. Serov
Institution “Project Center ITER,” ROSATOM State Atomic Energy Corporation
Email: n.kuzmin@iterrf.ru
123060, Moscow, Russia
G. S. Pavlova
Institution “Project Center ITER,” ROSATOM State Atomic Energy Corporation
Email: n.kuzmin@iterrf.ru
123060, Moscow, Russia
N. N. Naumenko
ZAO Solar
Author for correspondence.
Email: n.kuzmin@iterrf.ru
220034, Minsk, Belarus
References
- Серов С.В., Тугаринов С.Н., Серов В.В., Крупин В.А., Земцов И.А., Красильников А.В., Кузьмин Н.В., Павлова Г.С., Науменко Н.Н. // Физика плазмы. 2022. Т. 48. № 8. С. 700. https://doi.org/10.31857/S0367292121110196
- Serov S.V., Tugarinov S.N., Serov V.V., Krupin V.A., Zemtsov I.A., Krasilnikov A.V., Kuz’min N.V., Pavlova G.S., Naumenko N.N. // Plasma Phys. Rep. 2022. V. 48. P. 844. https://doi.org/10.1134/S1063780X22600542
- Jiang D., Li Y.Y., Wu X.Q., Zhang T., Lyu B., Gao X., Xu G.S. // Fusion Sci. Technol. 2020. V. 76. P. 723. https://doi.org/10.1080/15361055.2020.1777670
- Lee H.H., Lee J.K., Ko W.H. // Fusion Sci. Technol. 2020. V. 76. P. 787. https://doi.org/10.1080/15361055.2020.1790712
- Ford O.P., Vanó L., Alonso J.A., Baldzuhn J., Beurs-kens M.N.A., Biedermann C., Bozhenkov S.A., Fuchert G., Geiger B., Hartmann D., Jaspers R.J.E., Kappatou A., Langenberg A., Lazerson S.A., McDermott R.M., McNeely P., Neelis T.W.C., Pablant N.A., Pasch E., Rust N., Schroeder R., Scott E.R., Smith H.M., Wegner Th., Kunkel F., Wolf R.C. // Rev. Sci. Instrum. V. 91. P. 023507. 2020. https://doi.org/10.1063/1.5132936
- Диагностика плазмы / Под ред. М.И. Пергамента. М.: Энергоатомиздат, 1990. Вып. 7. С. 56.
- Fonck R.J., Darrow D.S., Jaehnig K.P. // Phys. Rev. A. 1984. V. 29. P. 6. https://doi.org/10.1103/PhysRevA.29.3288
- Serov S.V., De Bock M., von Hellermann M.G., Tugarinov S.N. // Rev. Sci. Instrum. V. 92. P. 053517. 2021. https://doi.org/10.1063/5.0042029
- Тугаринов С.Н., Белокопытов А.А., Кулаков Д.М., Лукин А.В., Науменко Н.Н., Саттаров Ф.А., Серов В.В., Усольцева М.А., Хабанов Ф.О., Шигапова Н.М., Ярцев В.П. // ПТЭ. 2016. № 1. С. 102. https://doi.org/10.7868/S0032816216010158
- Tugarinov S.N., Belokopytov A.A., Kulakov D.M., Lukin A.V., Naumenko N.N., Sattarov F.A., Serov V.V., Usoltseva M.A., Khabanov F.O., Shigapova N.M., and Yartsev V.P. // Instr. Exp. Tech. 2016. V. 59. № 1. P. 104. https://doi.org/10.1134/S0020441216010152
- Лукин А.В. // Оптический журнал. 2007. Т. 74. С. 80.
- https://www.ximea.com
- https://www.zemax.com
- Зайдель А.Н., Островская Г.В., Островский Ю.И. Техника и практика спектроскопии. М.: Физматлит, 1972. С. 163.
- Стриганов А.Р., Одинцова Г.А. Таблицы спектральных линий атомов и ионов. М.: Энергоиздат, 1982.
Supplementary files









