Модернизация системы криостатирования эмиссионного детектора РЭД-100 для работы с жидким аргоном
- Authors: Александров И.С.1,2, Белов В.А.3,1, Болоздыня А.И.1, Васин А.А.1, Галаванов А.В.4,1, Гусаков Ю.В.4,1, Коваленко А.Г.3,1, Козлова Е.С.5,1, Корноухов В.Н.1,6, Кумпан А.В.1, Лукьяшин А.В.1, Пинчук А.В.1, Разуваева О.Е.1, Разуваева О.Е.1,3, Рудик Д.Г.1, Симаков Г.Е.3,1, Сосновцев В.В.1, Хромов А.В.1,2, Шакиров А.В.1, Этенко А.В.3,1
-
Affiliations:
- Национальный исследовательский ядерный университет “МИФИ”
- Национальный исследовательский Томский политехнический университет
- Национальный исследовательский центр “Курчатовский институт”
- Объединенный институт ядерных исследований
- Физический институт им. П.Н. Лебедева, Российской академии наук Россия
- Институт ядерных исследований Российской академии наук
- Issue: No 4 (2024)
- Pages: 89-92
- Section: ТЕХНИКА ЯДЕРНОГО ЭКСПЕРИМЕНТА
- URL: https://journal-vniispk.ru/0032-8162/article/view/279967
- DOI: https://doi.org/10.31857/S0032816224040109
- EDN: https://elibrary.ru/NYRXMI
- ID: 279967
Cite item
Full Text
Abstract
Приведено описание модернизации криогенной системы двухфазного эмиссионного детектора РЭД-100 для обеспечения возможности работы с жидким аргоном в качестве рабочей среды с целью поиска эффекта упругого когерентного рассеяния реакторных электронных антинейтрино на ядрах аргона.
Full Text
СИСТЕМА ТЕРМОСТАТИРОВАНИЯ ДЕТЕКТОРА РЭД-100
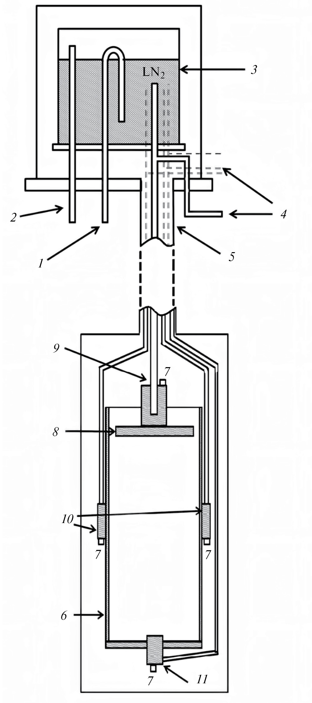
Система термостатирования детектора РЭД-100 первоначально была разработана для ожижения и стабилизации температуры жидкого ксенона, используемого в качестве рабочей среды детектора для изучения процесса упругого когерентного рассеяния реакторных электронных антинейтрино (УКРН) на тяжелых ядрах [1, 2]. Система основана на технологии трубчатых термосифонов [3] и включает 4 трубчатых термосифона диаметром 12 мм (рис. 1), в которых в качестве теплоносителя используется азот, а в качестве холодильника – бассейн свободно кипящего жидкого азота, размещенный в резервуаре над детектором (рис. 2). Теплообменники термосифонов установлены на охлаждаемом внутреннем сосуде криостата. Медные теплообменники 8 и 11 термосифонов ТС-1 и ТС-2 установлены в верхнем фланце и днище внутреннего сосуда криостата и задают градиент температур по высоте дрейфового объема детектора. Эти же термосифоны используются для конденсации рабочей среды детектора из газообразного состояния при заполнении детектора жидкостью. Дополнительные два боковых термосифона ТС-3 и ТС-4 10 охлаждают теплообменники, установленные на медном экране, окружающем камеру для выравнивания градиентов температур по окружности камеры (рис. 2). Состояние термосифонов (температура теплообменников и давление азота) контролируются с помощью датчиков, установленных в стойке станции контроля вместе с вентилями ручного управления заполнением термосифонов азотом. В качестве температурных датчиков используются терморезисторы Pt-100. На теплообменниках термосифонов установлено по два терморезистора Pt-100. Сигналы от одного из них идут на панель визуального контроля температуры, от другого – к модулю серии Adam-6000 (фирма Advantech) для непрерывного электронного мониторинга температуры теплообменников с выводом информации на экран компьютера. Станция контроля содержит две системы управления работой четырех термосифонов РЭД-100: ручную, содержащую 8 независимых каналов с ручными вентилями, и дублирующую ее автоматическую, в которой потоками азота управляют контролируемые с помощью компьютера клапаны. Управление термосифонами для каждого канала выполняется независимо в основных режимах работы:
1) ожижение благородного газа при заполнении РЭД-100 рабочей средой,
2) стабилизация температуры при непрерывной циркуляционной очистке рабочего газа со скоростью 8–10 л/мин через горячий металлический геттер типа SAES MonoTorr.
Рис. 1. Схема работы трубчатого термосифона из публикации [4].
Рис. 2. Схема термосифонной системы криостатирования детектора РЭД-100 [2]: 1 – трубка заливки жидкого азота в резервуар 3 , 2 – вентиляционная трубка, 3 – резервуар с жидким азотом, 4 – трубки для заполнения термосифонов газообразным азотом, 5 – вакуумированный металлорукав с трубчатыми термосифонами, 6 – охлаждаемый внутренний сосуд криостата, 7 – термодатчики, 8 – верхний теплообменник, 9 – термосифон ТС-1, 10 — теплообменники боковых термосифонов ТС-3 и ТС-4, 11 – теплообменник нижнего термосифона ТС-2, 12 – внешний кожух криостата детектора.
Устойчивая работа разработанной системы термостатирования позволила провести эксперимент с детектором РЭД-100, заполненным жидким ксеноном (200 кг), на Калининской АЭС в период 2021–2022 гг. [5]. На рис. 3а представлены зависимости температуры теплообменников термосифонов от времени охлаждения РЭД-100 при работе с ксеноном.
МОДИФИКАЦИЯ СИСТЕМЫ ТЕРМОСТАТИРОВАНИЯ ДЛЯ РАБОТЫ С АРГОНОМ
В настоящее время коллаборация РЭД-100 приступила к подготовке следующего этапа эксперимента на АЭС с использованием жидкого аргона в качестве рабочей среды детектора. Для поставленной задачи регистрации УКРН жидкий аргон выглядит более перспективной рабочей средой детектора по сравнению с ксеноном, поскольку обеспечивает более высокую энергию ядер отдачи в процессе рассеяния антинейтрино, что позволяет повысить эффективность разделения полезных событий и фона одноэлектронных шумов [6]. Использование жидкого аргона в качестве рабочей среды детектора подразумевает необходимость охлаждения детектора до температуры –183 °С, что на 80° ниже, чем при использовании жидкого ксенона.
Для работы с жидким аргоном в качестве рабочей среды система термостатирования детектора РЭД-100 была модифицирована: внутренний диаметр основного трубчатого термосифона ТС-1, охлаждающего верхний теплообменник, на котором происходит ожижение рабочего вещества, был увеличен с 11 до 26 мм при сохранении длины и диаметра зоны испарения и длины зоны конденсации (рис. 1). Согласно проведенным измерениям (рис. 3), в случае “ксеноновой” версии системы термостатировния (рис. 3а) в диапазоне температур от +20 °С; до –100 °С скорость охлаждения составляла примерно 4 град/ч, а в случае модифицированной “аргоновой” версии системы термостатирования в диапазоне температур от +20 °С до –180 °С составила примерно 5 град/ч и позволила охлаждать детектор до температуры –183 °С, как показано на рис. 3б.
Рис. 3. Зависимости температур теплообменников, охлаждаемых трубчатыми термосифонами, от времени охлаждения детектора РЭД-100 при работе с ксеноном (а) и аргоном (б): 1 – для теплообменника термосифона ТС-4, 2 – для теплообменника термосифона ТС-3, 3 – для теплообменника термосифона ТС-2, 4 − для теплообменника термосифона ТС-1.
Криогенная система РЭД-100 для аргона прошла лабораторные испытания в 2023 году в НИЯУ МИФИ. Было установлено, что модернизированная система криостатирования способна охлаждать детектор до температуры жидкого аргона (–183 °С) примерно за 30 ч, а конденсация 100 кг аргона занимает примерно трое суток. Помимо возможности эффективного охлаждения РЭД-100 для работы с жидким аргоном, была также испытана процедура стабилизации температуры детектора с точностью около 0.1° при непрерывной циркуляционной очистке аргона, включающей процессы испарения жидкой рабочей среды, циркуляции газообразного аргона через горячий металлический геттер типа MonoTorr и ожижение очищенного аргона в детектор со скоростью около 8–10 литров газа в минуту в течение трех недель. Это позволило достичь времени жизни квазисвободных электронов до захвата электроотрицательными примесями более 300 мкс. После выхода системы на стационарный температурный режим интервал между заливками очередной порции жидкого азота объемом 40 л в резервуар составил около 10 ч.
ЗАКЛЮЧЕНИЕ
Таким образом показано, что модернизированная криогенная система установки РЭД-100 позволяет полноценно обеспечивать температурные режимы работы детектора при использовании жидкого аргона в качестве рабочего вещества детектора.
БЛАГОДАРНОСТИ
Авторы выражают благодарность сотрудниками кафедры № 7 НИЯУ МИФИ В.В. Дмитренко, В.Ф. Власику, З.М. Утешеву, А.И. Маджидову, руководству Института ядерной физики и технологий НИЯУ МИФИ за помощь в проведении работ.
ФИНАНСИРОВАНИЕ РАБОТЫ
Работа выполнена при поддержке Российского научного фонда по модернизации установки РЭД-100 в рамках контракта № 22-12-00082 от 13 мая 2022 года.
About the authors
И. С. Александров
Национальный исследовательский ядерный университет “МИФИ”; Национальный исследовательский Томский политехнический университет
Email: aibolozdynya@mephi.ru
Russian Federation, Москва; Томск
В. А. Белов
Национальный исследовательский центр “Курчатовский институт”; Национальный исследовательский ядерный университет “МИФИ”
Email: aibolozdynya@mephi.ru
Russian Federation, Москва; Москва
А. И. Болоздыня
Национальный исследовательский ядерный университет “МИФИ”
Author for correspondence.
Email: aibolozdynya@mephi.ru
Russian Federation, Москва
А. А. Васин
Национальный исследовательский ядерный университет “МИФИ”
Email: aibolozdynya@mephi.ru
Russian Federation, Москва
А. В. Галаванов
Объединенный институт ядерных исследований; Национальный исследовательский ядерный университет “МИФИ”
Email: aibolozdynya@mephi.ru
Russian Federation, Дубна, Московская обл.; Москва
Ю. В. Гусаков
Объединенный институт ядерных исследований; Национальный исследовательский ядерный университет “МИФИ”
Email: aibolozdynya@mephi.ru
Russian Federation, Дубна, Московская обл.; Москва
А. Г. Коваленко
Национальный исследовательский центр “Курчатовский институт”; Национальный исследовательский ядерный университет “МИФИ”
Email: aibolozdynya@mephi.ru
Russian Federation, Москва; Москва
Е. С. Козлова
Физический институт им. П.Н. Лебедева, Российской академии наук Россия; Национальный исследовательский ядерный университет “МИФИ”
Email: aibolozdynya@mephi.ru
Russian Federation, Москва; Москва
В. Н. Корноухов
Национальный исследовательский ядерный университет “МИФИ”; Институт ядерных исследований Российской академии наук
Email: aibolozdynya@mephi.ru
Russian Federation, Москва; Москва
А. В. Кумпан
Национальный исследовательский ядерный университет “МИФИ”
Email: aibolozdynya@mephi.ru
Russian Federation, Москва
А. В. Лукьяшин
Национальный исследовательский ядерный университет “МИФИ”
Email: aibolozdynya@mephi.ru
Russian Federation, Москва
А. В. Пинчук
Национальный исследовательский ядерный университет “МИФИ”
Email: aibolozdynya@mephi.ru
Russian Federation, Москва
О. Е. Разуваева
Национальный исследовательский ядерный университет “МИФИ”
Email: aibolozdynya@mephi.ru
Russian Federation, Москва
О. Е. Разуваева
Национальный исследовательский ядерный университет “МИФИ”; Национальный исследовательский центр “Курчатовский институт”
Email: aibolozdynya@mephi.ru
Russian Federation, Москва; Москва
Д. Г. Рудик
Национальный исследовательский ядерный университет “МИФИ”
Email: aibolozdynya@mephi.ru
Russian Federation, Москва
Г. Е. Симаков
Национальный исследовательский центр “Курчатовский институт”; Национальный исследовательский ядерный университет “МИФИ”
Email: aibolozdynya@mephi.ru
Russian Federation, Москва; Москва
В. В. Сосновцев
Национальный исследовательский ядерный университет “МИФИ”
Email: aibolozdynya@mephi.ru
Russian Federation, Москва
А. В. Хромов
Национальный исследовательский ядерный университет “МИФИ”; Национальный исследовательский Томский политехнический университет
Email: aibolozdynya@mephi.ru
Russian Federation, Москва; Томск
А. В. Шакиров
Национальный исследовательский ядерный университет “МИФИ”
Email: aibolozdynya@mephi.ru
Russian Federation, Москва
А. В. Этенко
Национальный исследовательский центр “Курчатовский институт”; Национальный исследовательский ядерный университет “МИФИ”
Email: aibolozdynya@mephi.ru
Russian Federation, Москва; Москва
References
- Акимов Д.Ю., Александров И.С., Белов В.А., Болоздыня А.И. и др. // ПТЭ. 2017. Т. 2. С. 2. https://doi/org/10.7868/S0032816217010141
- Болоздыня А.И., Ефременко Ю.В., Сидоренко А.В., Сосновцев В.В. и др. // ПТЭ. 2016. Т. 3. С. 149.
- Lock G.S.H. The Tubular Thermosyphon. Variations on a Theme. Oxford University Press, 1992.
- Фролов В.П., Шелгинский А.Я. // Энергосбережение. 2004. Т. 6. С. 58.
- Akimov D.Yu, Aleksandrov I.S., Alyev R.R., Belov V.A. et al. // JINST. 2022. V.17. P. T11011.
- RED-100 Collaboration // Physics. 2023. V. 5. P. 492.
Supplementary files





