Радиопоглощение в структурах типа искусственных магнитных проводников при больших углах падения волн TM-поляризации
- Авторы: Казанцев Ю.Н.1, Крафтмахер Г.А.1, Мальцев В.П.1, Солосин В.С.1,2
-
Учреждения:
- Институт радиотехники и электроники им. В.А. Котельникова РАН
- Институт теоретической и прикладной электродинамики РАН
- Выпуск: Том 69, № 2 (2024)
- Страницы: 115-121
- Раздел: ЭЛЕКТРОДИНАМИКА И РАСПРОСТРАНЕНИЕ РАДИОВОЛН
- URL: https://journal-vniispk.ru/0033-8494/article/view/265586
- DOI: https://doi.org/10.31857/S0033849424020029
- EDN: https://elibrary.ru/KMYZVJ
- ID: 265586
Цитировать
Полный текст
Аннотация
Представлены частотно-угловые характеристики отражения волн TM-поляризации от тонких (толщиной до 1/200 длины волны) искусственного магнитного проводника (ИМП) и радиопоглотителя (РП) на основе полосно-отражающих и полосно-пропускающих решеток. Показано, что полосы рабочих частот ИМП и РП расширяются в десятки раз при изменении угла падения от 0° до 89°. При этом значение отношения Δλ/D (Δλ – разность длин волн на краях полосы поглощения и D – толщина РП) увеличивается до 30.
Полный текст
ВВЕДЕНИЕ
Искусственные магнитные проводники (ИМП) обычно относят к классу так называемых метаматериалов, т.е. материалов с необычными электромагнитными характеристиками. Особенностью ИМП является то, что коэффициент отражения от него равен +1, а не –1, как от металлической поверхности. Типичная конструкция ИМП включает в свой состав емкостную [1–5], либо частотно-селективную [6–9] решетку, помещенную на слой диэлектрика, металлизированный с противоположной стороны.
В последнее время был опубликован ряд работ, посвященных различным применениям ИМП в радиоэлектронике и, в частности, в технике радиопоглощения [10–12]. Поглощающим элементом в РП такого типа является либо слой диэлектрика с потерями [11], либо резистивная пленка на поверхности ИМП [10, 12]. Известные РП на основе ИМП обладают хорошими частотно-угловыми характеристиками в ограниченном интервале углов падения () при малых (по сравнению с длиной волны) толщинах конструкций. При больших углах падения () эффективность поглощения волн TE- и TM-поляризаций падает. В то же время проблема поглощения электромагнитных волн и, в частности, волн TM-поляризации при больших углах падения остается актуальной, поскольку они являются источником, возбуждающим так называемые ползущие (creeping) волны и поверхностные бегущие (surface travelling) волны на токопроводящих поверхностях [13, 14].
В настоящей статье предложен тонкий РП со структурой ИМП на основе полосно-отражающих и полосно-пропускающих решеток и изучены его частотно-угловые характеристики отражения при больших углах падения волн TM-поляризации.
1. ИМП НА ОСНОВЕ ЧАСТОТНО-СЕЛЕКТИВНЫХ ПОЛОСНО-ОТРАЖАЮЩИХ И ПОЛОСНО-ПРОПУСКАЮЩИХ РЕШЕТОК
На рис. 1 представлена схема ИМП, в состав которого входят: полосно-отражающая или полосно-пропускающая частотно-селективная решетка 1, слой диэлектрика 2 и металлический экран 3. Полосно-отражающая решетка состоит из металлических элементов, расположенных, например, на тонкой диэлектрической пленке, а полосно-пропускающая решетка – из отверстий в тонком металлическом экране.
Рис. 1. Схема ИМП: 1 – частотно-селективная решетка, 2 – слой диэлектрика толщиной D, 3 – металлический экран, ϑ– угол падения электромагнитной волны.
В работе [9] были исследованы функциональные связи между характеристиками решетки (резонансная частота и Q-фактор) и характеристиками ИМП на ее основе (положение и ширина полосы рабочих частот). При этом было показано, что при диэлектрической проницаемости слоя ε = 1 полоса рабочих частот ИМП лежит ниже резонансной частоты полосно-отражающей решетки и выше резонансной частоты полосно-пропускающей. Ширина полосы рабочих частот ИМП зависит в основном от Q-фактора решетки, а также от электрической толщины слоя диэлектрика.
Предварительные численные расчеты угловых зависимостей фазы коэффициента отражения от ИМП показали, что при увеличении угла падения смещение резонансной частоты для волн TE-поляризации существенно больше, чем для TM-поляризации, а также имеет место расширение полосы рабочих частот ИМП для волн TM-поляризации и сужение для волн TE-поляризации.
Эффективным способом повышения угловой стабильности резонансной частоты является увеличение диэлектрической проницаемости слоя между решеткой и экраном, хотя при этом сужается полоса рабочих частот ИМП.
2. ЧАСТОТНО-УГЛОВЫЕ ЗАВИСИМОСТИ ФАЗЫ КОЭФФИЦИЕНТА ОТРАЖЕНИЯ ВОЛН TM-ПОЛЯРИЗАЦИИ ОТ ИМП НА ОСНОВЕ ЧАСТОТНО-СЕЛЕКТИВНОЙ РЕШЕТКИ
В данном разделе подтверждена целесообразность применения в слое материала с высокой диэлектрической проницаемостью ε 1 и уменьшения толщины слоя до значения меньше 1 мм, поскольку даже при таких условиях полоса ИМП при больших углах падения волн TM-поляризации составляет десятки процентов. Размеры элементов на рисунках указаны в мм.
На рис. 2 представлены два типа элементов частотно-селективных решеток: полосно-отражающих 1, 2 и полосно-пропускающих 3. Элементы полосно-отражающих решеток – это квадратные металлические петли, а элементы полосно-пропускающих решеток – квадратные щели в металлическом экране, период решеток P = 10.3 мм. Толщина слоя диэлектрика между решеткой и экраном D = 0.5 мм, а его диэлектрическая проницаемость ε = 10.2. Характеристики решеток, состоящих из элементов 1–3, в условиях свободного пространства (резонансная частота fр и Q-фактор) приведены в табл. 1. В дальнейшем нумерацию ИМП и РП будем использовать ту же, что и для элементов решеток.
Рис. 2. Три типа элементов частотно-селективных решеток: полосно-отражающих 1 и 2 и полосно-пропускающих 3.
Таблица 1. Характеристики решеток из элементов 1, 2, 3 в условиях свободного пространства
Номер типа решетки | fр, ГГц | Q-фактор |
1 | 7.72 | 0.81 |
2 | 17.68 | 0.8 |
3 | 7.65 | 0.73 |
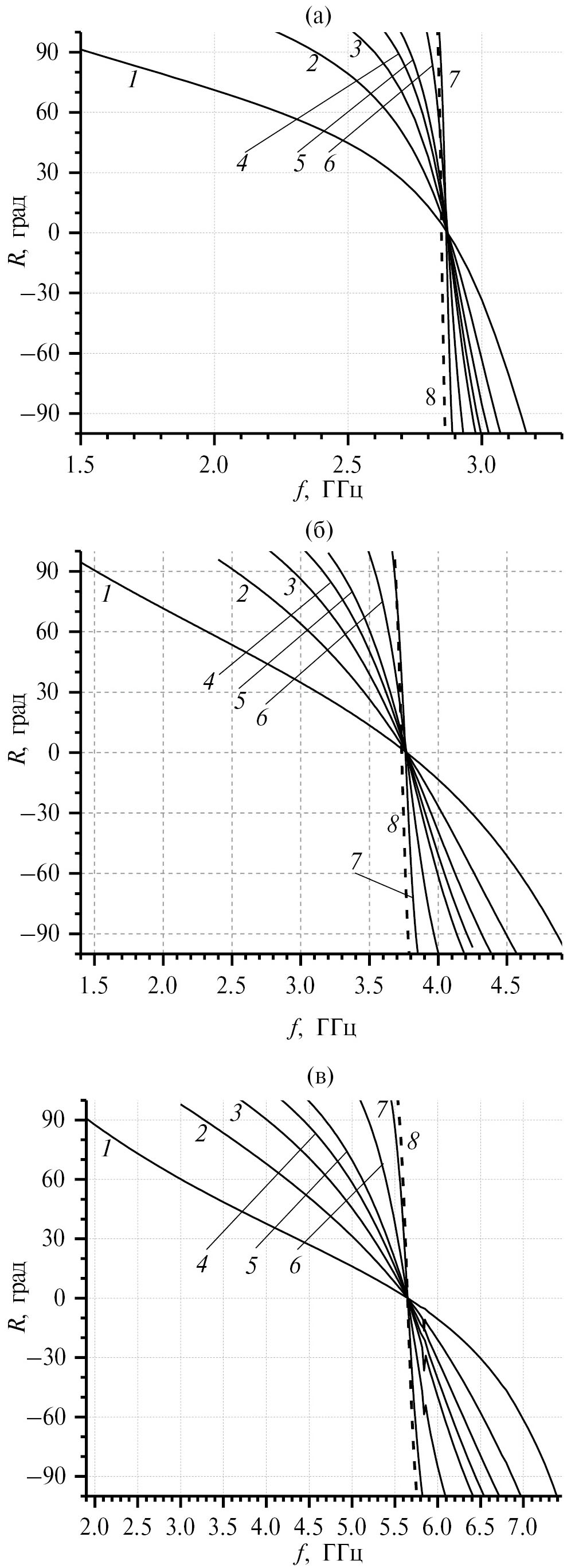
На рис. 3а–3в представлены частотно-угловые зависимости фазы коэффициента отражения от ИМП на основе решеток с элементами всех трех типоразмеров.
Рис. 3. Частотно-угловые зависимости фазы коэффициента отражения от ИМП на основе решеток с элементами трех типоразмеров 1 (а), 2 (б) и 3 (в). Углы падения ϑ равны 89° (1), 88° (2), 87° (3), 85° (4), 83° (5), 80° (6), 60° (7) и 0° (8).
В табл. 2 для различных углов падения ϑ указаны резонансные частоты fр, на которых фаза коэффициента отражения равна нулю, и относительные полосы частот Δf/fр, в которых фаза меняется в интервале ±90°.
Таблица 2. Резонансные частоты и ширины полосы частот ИМП, в которых фаза меняется в интервале при различных углах падения
ϑ, град | ИМП 1 | ИМП 2 | ИМП 3 | |||
fр, ГГц | ∆ f / fр, % | fр, ГГц | ∆ f / fр, % | fр, ГГц | ∆ f / fр, % | |
0 | 2.85 | 0.8 | 3.734 | 2.4 | 5.648 | 3.3 |
60 | 2.867 | 1.4 | 3.762 | 4.2 | 5.649 | 5.5 |
80 | 2.87 | 4.0 | 3.77 | 11.4 | 5.65 | 14.9 |
85 | 2.87 | 8.1 | 3.77 | 22.5 | 5.65 | 29.0 |
86 | 2.87 | 10.2 | 3.77 | 24.4 | 5.65 | 35.9 |
87 | 2.87 | 14.3 | 3.77 | 36.7 | 5.65 | 46.1 |
88 | 2.87 | 23.1 | 3.77 | 52.1 | 5.65 | 63.7 |
89 | 2.87 | 56.4 | 3.77 | 89.0 | 5.65 | 95.5 |
Из рис. 3 и табл. 2 следует, что при увеличении угла падения ϑ резонансные частоты практически не меняются, а полосы частот Δf/fр увеличиваются в десятки раз.
3. ЧАСТОТНО-УГЛОВЫЕ ЗАВИСИМОСТИ КОЭФФИЦИЕНТА ОТРАЖЕНИЯ ОТ РАДИОПОГЛОТИТЕЛЯ НА ОСНОВЕ ИМП
В научной литературе рассмотрены два способа реализации радиопоглотителя на основе ИМП. Первый способ – использование слоя диэлектрика с потерями между решеткой и экраном [10, 12], а второй – помещение на поверхность решетки резистивной пленки с сопротивлением, равным волновому сопротивлению свободного пространства 120p Ом [11]. Нами рассмотрены частотно-угловые характеристики ИМП-радиопоглотителя (ИМП РП) на основе частотно-селективных решеток, реализованного по первому способу.
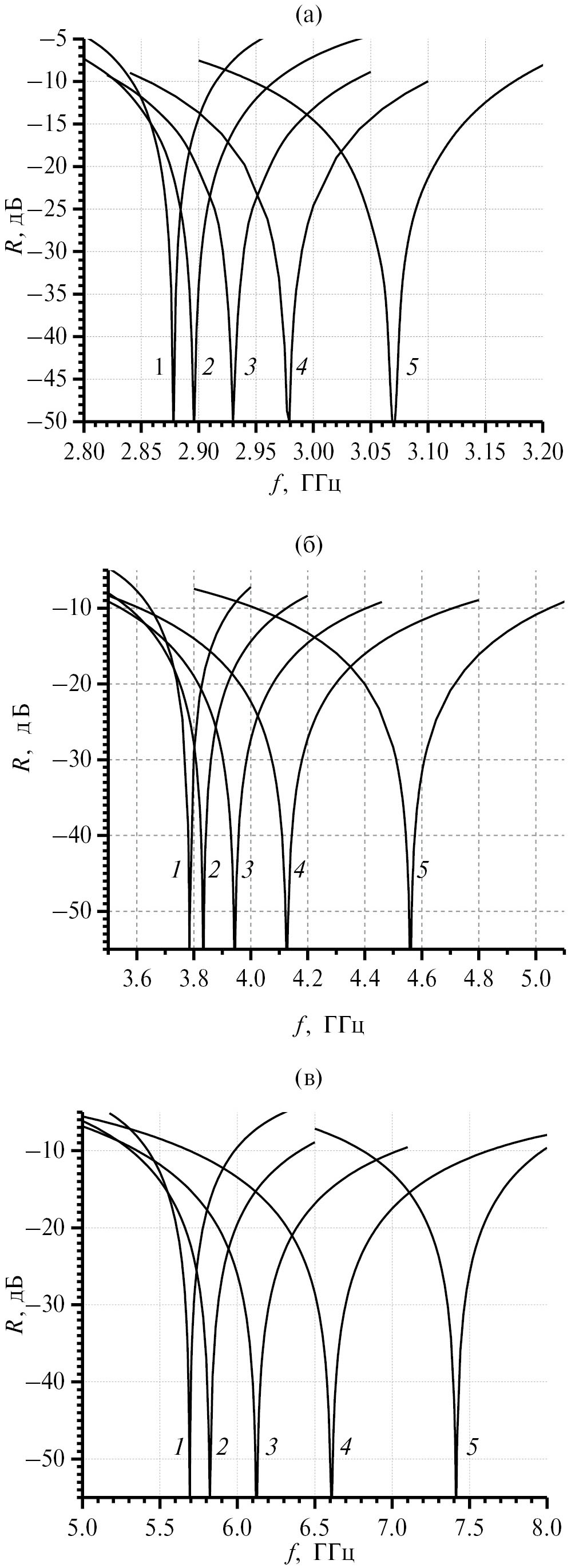
Структура и размеры расчетной модели ИМП РП такие же, как и в модели, рассмотренной в разд. 1. Для каждого угла падения подбиралась оптимальная величина тангенса угла потерь диэлектрического слоя, обеспечивающая минимальный уровень отражения (<–25 дБ) на резонансной частоте. На рис. 4а–4в представлены частотно-угловые зависимости коэффициента отражения от ИМП РП на основе частотно-селективных решеток трех типоразмеров.
В табл. 3 приведены резонансные частоты fр, полосы поглощения Δf/fр по уровню коэффициента отражения –10 дБ и оптимальные тангенсы угла потерь tg δ слоя диэлектрика.
Таблица 3. Резонансные частоты, ширины полосы частот ИМП РП и тангенсы угла потерь слоя диэлектрика при различных углах падения
ϑ, град | ИМП РП 1 | ИМП РП 2 | ИМП РП 3 | ||||||
fр, ГГц | ∆ f / fр, % | tgδ | fр, ГГц | ∆ f / fр, % | tgδ | fр, ГГц | ∆ f / fр, % | tgδ | |
0 | 2.85 | 0.56 | 0.008 | 3.735 | 1.61 | 0.026 | 5.65 | 2.23 | 0.034 |
80 | 2.878 | 2.56 | 0.04 | 3.784 | 7.66 | 0.114 | 5.694 | 9.82 | 0.15 |
83 | 2.885 | 3.50 | 0.056 | 3.802 | 9.71 | 0.160 | 5.736 | 13.81 | 0.208 |
85 | 2.896 | 4.77 | 0.075 | 3.834 | 14.53 | 0.218 | 5.822 | 18.72 | 0.277 |
86 | 2.908 | 5.71 | 0.09 | 3.870 | 17.62 | 0.263 | 5.920 | 22.62 | 0.33 |
87 | 2.93 | 7.06 | 0.112 | 3.944 | 21.73 | 0.327 | 6.120 | 27.73 | 0.391 |
88 | 2.979 | 8.26 | 0.137 | 4.126 | 26.66 | 0.407 | 6.610 | 30.32 | 0.421 |
89 | 3.07 | 7.46 | 0.158 | 4.560 | 22.62 | 0.437 | 7.414 | 22.52 | 0.304 |
Из рис. 4 и табл. 3 следует, что с увеличением угла падения ϑ полосы поглощения быстро расширяются, но при этом резонансные частоты несколько растут. При увеличении угла падения растет и такая характеристика РП, как отношение Δλ/D, где Δλ – разность длин волн на краях полосы поглощения, а D – толщина РП (диэлектрического слоя). Так, при угле падения 87° это отношение равно 14, 33 и 30 для ИМП РП 1, 2 и 3 соответственно.
Рис. 4. Частотно-угловые зависимости коэффициента отражения от ИМП РП на основе решеток с элементами трех типоразмеров 1 (а), 2 (б) и 3 при оптимальном значении tgδ диэлектрического слоя и ϑ = 80° (1), 85° (2), 87° (3), 88° (4) и 89° (5).
На рис. 5 приведены частотно-угловые зависимости коэффициента отражения от ИМП РП 1 при фиксированном значении угла потерь tg δ = 0.112, которое является оптимальным для угла падения ϑ = 87°.
Рис. 5. Частотно-угловые зависимости коэффициента отражения от ИМП РП на основе решетки с элементами 1 при фиксированном значении tgδ = 0.112 диэлектрического слоя и ϑ = 85° (1), 86° (2), 87° (3), 88° (4) и 89° (5).
Определенный интерес представляет собой случай поглощения волн TM-поляризации при угле падения ϑ, стремящегося к 90°. Моделью такого случая может служить волна H10 в волноводе прямоугольного сечения, поскольку эта волна представляет собой суперпозицию двух плоских волн, распространяющихся под углом падения 90° по отношению к широким стенкам волновода.
4. ВОЛНОВОД ПРЯМОУГОЛЬНОГО СЕЧЕНИЯ С ИМП РП НА ШИРОКИХ СТЕНКАХ
На рис. 6 представлен волновод прямоугольного сечения 72.1 × 34 мм длиной 120 мм, на широкие стенки которого помещен ИМП РП на основе полосно-отражающих решеток первого типоразмера. Толщина диэлектрического слоя между решеткой и стенкой волновода 0.5 мм, его диэлектрическая проницаемость – 10.2, тангенс угла потерь – 0.112. Число элементов решетки на каждой стенке 7 × 10 = 70 (размер решетки 72.1 × 103 мм2).
Рис. 6. Волновод прямоугольного сечения, на широкие стенки которого помещен ИМП РП на основе полосно-отражающих решеток с элементами 1.
На рис. 7 представлена частотная зависимость коэффициента прохождения S1,2 и коэффициента отражения S1,1 в таком волноводе.
Рис. 7. Частотная зависимость коэффициентов прохождения S1,2 и отражения S1,1 волновода с ИМП РП на основе полосно-отражающих решеток с элементами 1.
При сравнении рис. 7 и 4а видно, что частота минимума S1,2, равная 2.9 ГГц, находится в интервале частот поглощения ИМП РП при больших углах падения.
Все численные расчеты проведены методом моментов в программе FEKO.
ЗАКЛЮЧЕНИЕ
Предложен тонкий РП со структурой ИМП на основе полосно-отражающей и полосно-пропускающей решеток.
Путем численного расчета получены частотно-угловые зависимости фазы и модуля коэффициента отражения волн TM-поляризации от тонких (до 1/200 длины волны) ИМП и ИМП РП на основе полосно-отражающих и полосно-пропускающих решеток. Показано, что при увеличении угла падения частотные полосы ИМП и ИМП РП расширяются до нескольких десятков процентов. При этом, как положительный фактор, увеличивается и отношение Δλ/D (Δλ – разность длин волн на краях полосы поглощения по уровню отражения –10 дБ, а D – толщина РП). Так, при угле падения 87° это отношение достигает 30.
На модели волновода прямоугольного сечения с волной H10 показана возможность поглощения энергии плоской волны при ее распространении вдоль поверхности ИМП РП.
Авторы заявляют об отсутствии конфликта интересов.
ФИНАНСИРОВАНИЕ РАБОТЫ
Работа выполнена за счет бюджетного финансирования в рамках государственного задания ИРЭ им. В.А. Котельникова РАН.
Об авторах
Ю. Н. Казанцев
Институт радиотехники и электроники им. В.А. Котельникова РАН
Автор, ответственный за переписку.
Email: yukazantsev@mail.ru
Фрязинский филиал
Россия, Фрязино Московской обл., 141190Г. А. Крафтмахер
Институт радиотехники и электроники им. В.А. Котельникова РАН
Email: yukazantsev@mail.ru
Фрязинский филиал
Россия, Фрязино Московской обл., 141190В. П. Мальцев
Институт радиотехники и электроники им. В.А. Котельникова РАН
Email: yukazantsev@mail.ru
Фрязинский филиал
Россия, Фрязино Московской обл., 141190В. С. Солосин
Институт радиотехники и электроники им. В.А. Котельникова РАН; Институт теоретической и прикладной электродинамики РАН
Email: yukazantsev@mail.ru
Фрязинский филиал
Россия, Фрязино Московской обл., 141190; Москва, 125412Список литературы
- Sievenpiper D., Zhang L., Broas R.F. J. et al. // IEEE Trans. 1999. V. MTT-47. № 11. P. 2059.
- Broas R.F.J., Sievenpiper D.F., Yablonovitch E. // IEEE Trans. 2005. V. AP-53. № 4. P. 1377.
- Feresidis A.P., Goussetis G., Shenhong Wang, Vardaxoglou J.C. // IEEE Trans. 2003. V. AP-51. № 1. P. 209.
- Fan Yang, Rahmat-Samii Y. // IEEE Trans. 2003. V. AP-51. № 10. P. 2691.
- Казанцев Ю.Н., Аплеталин В.Н. // РЭ. 2007. Т. 52. № 4. С. 415.
- Kern D.J., Werner D.H., Monorchio A. et al. // IEEE Trans. 2005. V. AP-53. № 1. P. 8.
- Sohn J.R., Kim K.Y., Tae H.-S., Lee H.J. // Progress in Electromagnetics Research. 2006. V. 61. P. 27.
- Fei-Ran Yang, Kuang-Ping Ma, Yongxi Qian, Itoh T. // IEEE Trans. 1999. V. MTT-47. № 11. P. 2092.
- Казанцев Ю.Н., Крафтмахер Г.А., Мальцев В.П. // РЭ. 2019. Т. 64. № 9. С. 874.
- Engheta N. // IEEE Antennas and Propagation Soc. Int. Symp. San Antonio 16–21 Jun. 2002. N.Y.: IEEE, 2002. V. 2. P. 392.
- Tretyakov S., Maslovski S. // Proc. 33rd Europ. Microwave Conf. Munich. 07 Oct. 2003. N.Y.: IEEE, 2003. P. 1107.
- Казанцев Ю.Н., Крафтмахер Г.А., Мальцев В.П. // РЭ. 2022. Т. 67. № 4. С. 339.
- Skolnik M. Radar Handbook. 3rd ed. N.Y.: Mc-Grow-Hill Education, 2000.
- Zheng L., Yang H., Gong W. et al. // J. Appl. Phys. 2021. V. 130. № 10. Р. 105304.
Дополнительные файлы










