Research of the efficiency of Kravchenko weighting functions and combinations based on them in the problem of narrow band interference rejection
- Authors: Kuzmin E.V.1
-
Affiliations:
- Siberian Federal University
- Issue: Vol 69, No 2 (2024)
- Pages: 146-156
- Section: THEORY AND METHODS OF SIGNAL PROCESSING
- URL: https://journal-vniispk.ru/0033-8494/article/view/265589
- DOI: https://doi.org/10.31857/S0033849424020058
- EDN: https://elibrary.ru/KMPFSU
- ID: 265589
Cite item
Full Text
Abstract
The influence of weight functions (WFs) of preliminary weighting on the quality of narrowband interference rejection based on direct and inverse discrete Fourier transforms has been studied. Classical and modern WFs are considered: Kravchenko, Kravchenko–Dolph–Chebyshev, Kravchenko–Gauss, Kravchenko–Bernstein–Rogozinsky. Quantitative estimates of efficiency were obtained – the coefficients of interference suppression and signal transmission, as well as their product – the total efficiency coefficient. Graphic examples of the behavior of the total efficiency coefficient depending on the interference frequency are shown. Estimates of the indicated quality indicators are presented when a fixed number of frequency samples are removed from the spectrum. The families of dependences of the probabilities of correctly performing a search for a spread spectrum signal on the “interference/signal” ratio when using modern WFs to weigh the implementations of an additive mixture of signal, interference and noise are presented. The significant advantage of modern WFs formed through combinations with Kravchenko functions in the problem of interference rejection has been demonstrated and confirmed.
Full Text
ВВЕДЕНИЕ
Обработка сигналов с расширенным спектром (СРС) на фоне узкополосных помех (УП) неизменно продолжает вызывать интерес исследователей, о чем свидетельствует постоянное появление новых публикаций [1–7]. Борьба с УП при обработке СРС, как известно, осуществляется различными методами, среди которых следует выделить субканальную обработку [8, 9], адаптивную фильтрацию [10], а также частотную режекцию (ЧР) на основе прямого и обратного дискретного преобразования Фурье (ДПФ, ОДПФ) [1, 2, 10–14], которая при практической реализации оказывается наиболее эффективной [10]. Реализация ЧР на основе цифровых методов и средств с использованием ДПФ-ОДПФ включает важный и неотъемлемый процесс – предварительное взвешивание обрабатываемой реализации – умножение аддитивной смеси сигнала, помехи и шума на весовую функцию, что необходимо для снижения возникающих отрицательных эффектов, а именно: сужения спектрального пьедестала и подавления “краевых” осцилляций (так называемого эффекта Гиббса) [13, 14]. Таким образом, обоснованный выбор ВФ является чрезвычайно важным, поскольку во многом определяет эффективность борьбы с узкополосными помехами за счет выполнения ЧР на основе ДПФ [1, 4, 7, 14].
В известных публикациях вопрос влияния и рационального выбора ВФ для ЧР на основе ДПФ-ОДПФ неоднократно рассматривался (см., например, [1, 2, 4, 7, 13, 14]. В статье [14] для подавления УП за счет ЧР сделан выбор путем перебора различных вариантов и обоснована целесообразность применения ВФ Парзена. В статье [4] справедливость этого выбора подтверждена, а дополнительные исследования показали целесообразность применения кубической вариации ВФ Хеннинга. В [7] задача рассмотрена с наиболее общих позиций, подтверждено преимущество применения ВФ Хеннинга перед ВФ Парзена. Таким образом, для задачи обработки фазоманипулированного (ФМ) СРС на фоне УП, вопрос о выборе ВФ среди подавляющего большинства классических ВФ, решен. Вместе с тем, учитывая общую тенденцию развития технических систем, заключающуюся в постоянном возрастании предъявляемых к ним требований, часто опережающих алгоритмические и аппаратурные возможности для их реализации, а также учитывая наличие значительного числа современных ВФ [15–17], представляется актуальной задача их выбора и апробации для ЧР. Среди недавних публикаций в данной области следует отметить труды [1–3], в которых изучается применение ВФ Кравченко [1, 2] и Кайзера [3] при нейтрализации УП. Результаты, достигнутые в [1–3] и ориентированные на повышение эффективности систем передачи информации при действии УП, однозначно сравнить с результатами, полученными в [4, 7, 13, 14], затруднительно. Однако направление исследований [1, 2] показывает потенциальную возможность повышения эффективности обработки СРС на фоне УП за счет выбора для взвешивания современных весовых функций – относящихся к семейству функций Кравченко (К) и комбинированных ВФ на их основе, получаемых произведением на ВФ Дольфа–Чебышева (ДЧ), Гаусса (Г), Бернштейна–Рогозинского (БР) [1, 2, 15, 16].
Цель данной статьи – исследовать возможность повышения эффективности частотной режекции узкополосных помех за счет применения современных ВФ предварительного взвешивания, основанных на комбинациях с функциями Кравченко (К, КДЧ, КГ, КБР).
1. АЛГОРИТМ РЕЖЕКЦИИ УЗКОПОЛОСНОЙ ПОМЕХИ И ЕГО ПОКАЗАТЕЛИ КАЧЕСТВА
1.1. Алгоритм режекции УП
Рассматриваемый алгоритм режекции УП на основе ДПФ-ОДПФ предполагает выполнение следующих шагов обработки (см., например, [10–14]). Сначала вычисляется ДПФ от вектора отсчетов () аддитивной смеси сигнала 1 , узкополосной помехи 2 и дискретизированного белого шума ( Т– шаг дискретизации), взвешенного умножением на отсчеты (коэффициенты) весовой функции 3 [10, 18]:
(1)
где N – объем выборки на интервале наблюдения , и – номера временных и частотных выборок (ЧВ), соответственно. Далее осуществляется обработка частотных выборок (1), предполагающая их удаление (обнуление) или ограничение, на основе сравнения с пороговым уровнем 4 [10]:
(2)
где – значения, записываемые в массив комплексного спектра вместо превышающих пороговый уровень p = const (в частности, возможно ). Возможным является и другой подход к обработке (1), заключающийся в удалении (обнулении, ограничении) фиксированного числа Nуд ЧВ за счет анализа максимальных значений и определения номеров соответствующих ЧВ. Заключительным шагом алгоритма режекции УП является вычисление ОДПФ от вектора обработанных частотных выборок (2), что приводит к отсчетам временной реализации с существенно ослабленной помеховой компонентой [10, 18]:
(3)
1.2. Показатели качества алгоритма режекции УП
Количественную характеризацию эффективности алгоритма режекции УП (1)–(3) с общих методических позиций представляется целесообразным дать на основе коэффициента подавления УП, являющегося отношением мощности УП mn, подаваемой на вход режектора (1)–(3), к мощности подавленной помехи , образующейся на его выходе [19]. В рассматриваемом случае дискретных наблюдений оценка коэффициента подавления, очевидно, записывается так
(4)
Применение в (1) предварительного взвешивания реализации аддитивной смеси, содержащей полезный сигнал sn, неизбежно приводит к энергетическим потерям последнего (snwn). Кроме того, реализация режекции (2), приводящая к вынужденной обработке сигнальной компоненты по аналогии с УП, дополнительно увеличивает данные потери в зависимости от количества Nуд удаляемых ЧВ. Таким образом, помимо глубины подавления УП, оцениваемой по (4), характеризацию качества режектора целесообразно дополнить коэффициентом прохождения сигнала – отношением его мощностей на выходе и входе режектора [19]. По аналогии с (4) для коэффициента прохождения сигнала запишем
(5)
Суммарный коэффициент эффективности режектора (в радиолокационных приложениях – коэффициент подпомеховой видимости [19]), учитывающий как подавление помехи (4), так и энергетические потери полезного сигнала (5), определяется произведением [19]
(6)
Далее на основе (4)–(6) изучим поведение показателей качества обработки (1)–(3) при режекции УП в условиях применения в (1) различных ВФ, с обязательным учетом возможных энергетических потерь полезного СРС.
2. РЕЗУЛЬТАТЫ ВЫЧИСЛИТЕЛЬНОГО И СТАТИСТИЧЕСКОГО МОДЕЛИРОВАНИЯ РЕЖЕКТОРА ПРИ ПРИМЕНЕНИИ ВФ КРАВЧЕНКО
Рассмотрим современные весовые функции – основанные на комбинациях с функциями Кравченко (К, КДЧ, КГ, КБР), а также некоторые классические ВФ для визуального и количественного сравнения.
2.1. Результаты вычислительного моделирования режектора
Для изучения достигаемого качества режекции УП при взвешивании различными ВФ, а также для определения сопутствующих энергетических потерь СРС, обусловленных взвешиванием и режекцией, проведена серия вычислительных экспериментов. Сначала рассмотрено раздельное прохождение УП и СРС через режектор. Получены количественные оценки коэффициентов подавления УП (4), коэффициентов прохождения сигнала (5), а также коэффициентов суммарной эффективности (6). На рис. 1–5 представлены фрагменты зависимостей суммарного коэффициента эффективности режекции УП от ее нормированной частоты . Варьирование частотой УП обеспечивалось в окрестности центральной частоты спектра СРС в сравнительно узких интервалах для наглядности графического отображения зависимостей . Объем выборки УП на интервале наблюдения N = Ty/T = 4096. Отношение частоты дискретизации к центральной частоте СРС .
Рис. 1. Зависимости суммарного коэффициента эффективности режекции УП от нормированной частоты при удалении Nуд = 50 частотных выборок; взвешивание реализации ВФ Ханна (1) и ВФ Кравченко: (2), (3), (4).
Рис. 2. Зависимости суммарного коэффициента эффективности режекции УП от нормированной частоты при удалении Nуд = 50 частотных выборок; взвешивание реализации ВФ Дольфа–Чебышева и синус-окном: ДЧ5(1), синус-окно (2), ДЧ3.5(3), ДЧ3(4).
Рис. 3. Зависимости суммарного коэффициента эффективности режекции УП от нормированной частоты; взвешивание реализации ВФ Кайзера: β = 6, Nуд = 50 (1) и 10 (2); β = 5, Nуд = 50 (3) и 10 (4).
Рис. 4. Зависимости суммарного коэффициента эффективности режекции УП от нормированной частоты при удалении Nуд = 50 частотных выборок; взвешивание реализации ВФ (1), Парзена (2), (3) и (4).
Рис. 5. Зависимости суммарного коэффициента эффективности режекции УП от нормированной частоты при удалении Nуд = 50 частотных выборок; взвешивание реализации ВФ (1), (2), Хеннинга (3), (4), (5).
Рисунок 1 получен при взвешивании помехи и сигнала весовыми функциями Кравченко (, , ) и Ханна при удалении в (2) Nуд = 50 максимальных частотных выборок.
Здесь и далее верхние индексы b в сокращенных названиях ВФ Кравченко , являющихся атомарной функцией , и названиях других ВФ, в соответствии с [15, 16], означают показатель степени, в которую возводится функция. Нижние индексы являются “параметрическими” и определяют подвид ВФ в конкретном семействе [15, 16]. Рисунок 2 получен при Nуд = 50 ЧВ и выполнении предварительного взвешивания вариациями ВФ Дольфа–Чебышева (ДЧ3, ДЧ3.5, ДЧ5), а также синус-окном.
Здесь нижние индексы 3, 3.5 и 5 даны согласно [15, 16] и, соответственно, означают уровень боковых лепестков спектра данной ВФ: 60, 70 и 100 дБ. Рисунок 3 соответствует применению ВФ Кайзера и удалению Nуд = 10 и 50 ЧВ. Коэффициенты этой ВФ, в соответствии с ее известным описанием [16], вычислялись как отношение модифицированных функций Бесселя первого рода нулевого порядка, содержащих в своих аргументах фиксированный параметр β = 5 и 6.
Рисунок 4 получен при удалении Nуд = 50 частотных выборок и предварительном взвешивании реализаций ВФ Кравченко–Бернштейна–Рогозинского, Парзена, Кравченко–Дольфа–Чебышева, Кравченко–Гаусса.
Рисунок 5 соответствует Nуд = 50 и применению в (1) вариаций “высоких порядков” ВФ Кравченко–Бернштейна–Рогозинского (, , , ), а также кубической вариации ВФ Хеннинга.
На рис. 6, 7 представлены фрагменты зависимостей коэффициента прохождения сигнала от нормированной частоты УП. Рассмотрен ФМ-СРС, порождаемый бинарной псевдослучайной последовательностью длины Nпсп = 511.
Рис. 6. Зависимости коэффициента прохождения ФМ-СРС от нормированной частоты при удалении Nуд = 50 частотных выборок; взвешивание ВФ ДЧ5(1) и (2).
Рис. 7. Зависимости коэффициента прохождения ФМ-СРС от нормированной частоты при удалении Nуд = 50 частотных выборок; взвешивание ВФ (1) и (2).
Объем выборки за период СРС, а также отношение частоты дискретизации к частоте СРС прежние. Оба рисунка соответствуют случаям удаления Nуд = 50 частотных выборок из спектра СРС. Зависимости на рис. 6 получены при применении взвешивания сигнала ВФ Дольфа–Чебышева и Кравченко. Зависимости на рис. 7 получены при некоторых вариациях “высоких порядков” ВФ Кравченко–Бернштейна–Рогозинского.
В табл. 1 представлены усредненные значения суммарных коэффициентов эффективности подавления УП, полученные по фрагментам зависимостей на рис. 1–5, а также усредненные коэффициенты прохождения СРС , полученные аналогичным образом. Кроме того, в таблице представлены значения энергетических потерь сигнала, возникающих из-за умножения на ВФ. Значения коэффициентов прохождения сигнала, выраженные в логарифмических единицах, представлены без указания отрицательного знака. Для таблицы отобраны значения показателей качества обработки, полученные при тех ВФ, которые среди рассмотренных семейств весовых функций демонстрируют лучшие характеристики.
Таблица 1. Усредненные коэффициенты суммарной эффективности подавления узкополосной помехи, полученные путем соответствующей обработки зависимостей , а также усредненные коэффициенты прохождения сигнала .
Весовая функция | Кс, дБ | , дБ (, дБ) | |
| Nуд = 0 | Nуд = 10 | Nуд = 50 | |
Кайзера (β = 6) | 4.36 | 49.5 (4.43) | 58.4 (4.79) |
Ханна | 4.26 | 57.9 (4.34) | 92.4 (4.70) |
Кравченко () | 5.87 | 63.9 (5.92) | 77.7 (6.29) |
Дольфа–Чебышева (ДЧ5) | 5.77 | 85.1 (5.80) | 91.3 (6.16) |
Кравченко–Дольфа–Чебышева (К4ДЧ5) | 6.10 | 93.8 (6.15) | 99.9 (6.52) |
Кравченко–Гаусса () | 6.38 | 71.2 (6.42) | 87.6 (6.79) |
Кравченко–Бернштейна–Рогозинского () | 5.38 | 72.5 (5.43) | 108.1 (5.80) |
Кравченко–Бернштейна–Рогозинского () | 6.14 | 88.2 (6.19) | 140.8 (6.55) |
Кравченко–Бернштейна–Рогозинского () | 6.83 | 89.2 (6.87) | 183.1 (7.24) |
Кравченко–Бернштейна–Рогозинского () | 5.89 | 82.6 (5.94) | 134.8 (6.30) |
Кравченко–Бернштейна–Рогозинского () | 6.78 | 92.4 (6.82) | 181.4 (7.18) |
Хеннинга (кубическая вариация) | 5.05 | 68.9 (5.12) | 117.5 (5.46) |
Блэкмана–Хэрриса (четырехчленная вариация) | 5.89 | 93.4 (5.94) | 107.5 (6.21) |
Бомана | 5.33 | 65.4 (5.39) | 115.0 (5.76) |
Натталла | 5.83 | 88.3 (5.88) | 90.5 (6.30) |
Примечание. Случаи удаления Nуд = 10 и 50 частотных выборок из спектра помехи. При Nуд = 0 показаны энергетические потери сигнала Кс, обусловленные взвешиванием реализации. Полужирным шрифтом выделены значения .
2.2. Результаты статистического моделирования процедуры поиска фазоманипулированного СРС на фоне УП с предварительной режекцией
Рассмотрено применение частотного режектора в составе процедуры поиска СРС по задержке, наблюдаемого на фоне узкополосной помехи и шума. То есть рассмотрено прохождение аддитивной смеси yn полезного ФМ-СРС sn, УП mn и шума vn через режектор (1)–(3) с последующим выполнением беспорогового поиска СРС по отсчетам реализаций , в которых помеха существенно подавлена. Процедура поиска СРС по задержке реализована аналогично [5]. Для аттестации качества ее функционирования критерием выбрана вероятность P правильного выполнения поиска, получаемая по методике [5] методом статистического моделирования при выполнении 20 000 испытаний. Основные параметры модели прежние: γ = 4 , Nпсп = 511. Случай обработки отсчетов соответствует накоплению в корреляторах за один период ФМ-СРС (M = 1). Кроме того, осуществлялось выполнение пяти когерентных накоплений M = 5, при этом за интервал наблюдения ФМ-СРС обрабатывалось Ty/T = 5N = 20480 отсчетов. Задержка ФМ-СРС и начальная фаза УП в каждом испытании устанавливались случайными величинами с равномерным распределением. Реализации центрированного шума vn с постоянной дисперсией обновлялись в каждом испытании. Амплитуду ФМ-СРС Aс устанавливали исходя из требуемого отношения “сигнал/шум”, задаваемого значением энергетического потенциала , выраженного в логарифмических единицах. Режектор настраивали для удаления Nуд = 10 и 50 максимальных ЧВ. Рассмотрено два сценария действия УП в пределах главного лепестка спектра ФМ-СРС, предполагающих в одном случае фиксированное частотное положение помехи, а в другом – случайное.
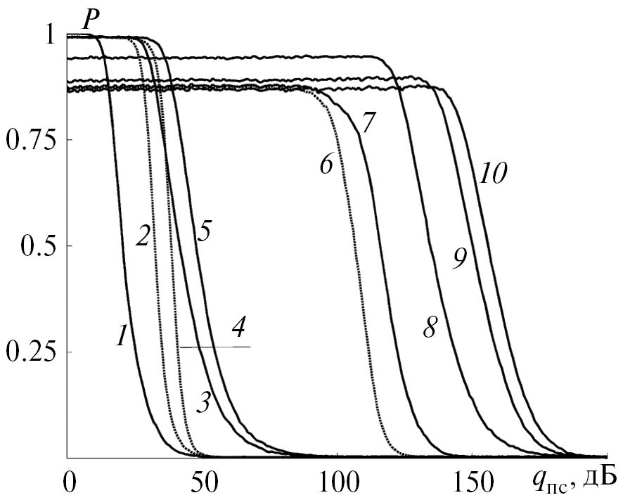
На рис. 8, 9 представлены зависимости вероятности P правильного выполнения беспорогового поиска ФМ-СРС от отношения “помеха/сигнал” , представленного в логарифмическом масштабе. Шаг изменения отношения равен 1 дБ. Рисунок 8 соответствует обработке аддитивной смеси за интервал одного периода ФМ-СРС (M = 1, N = 4096) при энергетическом потенциале qэп = 45 дБГц.
Рис. 8. Зависимости вероятности правильного выполнения поиска по задержке ФМ-СРС, наблюдаемого на фоне УП и шума, от отношения “помеха/сигнал” при qэп = 45 дБГц, M = 1: поиск ФМ-СРС без ЧР (кривая 1); единичная ВФ при Nуд = 10 (2, 3) и 50 (4, 5); ВФ К4ДЧ5 (6,7), ВФ Хеннинга (8), (9), (10) при Nуд = 50; фиксированная частота помехи – 1, 2, 4, 6, случайная – 3, 5, 7 и 8–10.
Рис. 9. Зависимости вероятности правильного выполнения поиска по задержке ФМ-СРС, наблюдаемого на фоне УП и шума, от отношения “помеха/сигнал” при qэп = 40 дБГц, M = 5, Nуд = 50: ВФ К4ДЧ5 (1, 2); Хеннинга (3, 4); (5, 6); (7, 8); нечетные кривые соответствуют фиксированной частоте помехи, четные – случайной.
Рисунок 9 получен для менее благоприятных входных условий с точки зрения интенсивности СРС, характеризуемых qэп = 40 дБГц, но при выполнении пяти M = 5 когерентных накоплений (N = 20480).
В табл. 2 представлены результаты сравнительно анализа эффективности применения некоторых из рассмотренных ВФ в составе частотного режектора, применяемого перед процедурой поиска ФМ-СРС при случайной частоте помехи, удалении Nуд = 50 ЧВ, энергетическом потенциале qэп = 40 дБГц и пяти когерентных накоплениях M = 5. Сравнение приведено для вероятностей P = 0.9 и P = 0.985, что приемлемо при мощном помеховом фоне. При требовании P = 0.99 не удается сравнить все полученные зависимости, поэтому выбрано ближайшее значение, при котором сравнение является корректным.
Таблица 2. Значения* отношений “помеха/сигнал” qпс, при которых совместное применение ЧР и поиска ФМ-СРС по задержке обеспечивает вероятность не хуже P = 0.9, 0.985.
Весовая функция | qпс, дБ | |
| P = 0.9 | P = 0.985 | |
| К4ДЧ5 | 116.6 | 107.5 |
Хеннинга | 133.8 | 127.0 |
149.5 | 140.7 | |
155.4 | 146.3 | |
*Обработка зависимостей 2, 4, 6 и 8 на рис. 9.
3. ОБСУЖДЕНИЕ РЕЗУЛЬТАТОВ
Как видно из рис. 1–5, зависимости суммарного коэффициента эффективности режекции узкополосной помехи от частоты обладают периодическим характером. Форма каждой из зависимостей индивидуальна, однако некоторые тенденции поведения, помимо их периодичности, устойчиво проявляются. Например, из рис. 1 и 2 видно, что зависимости , полученные при взвешивании реализаций помехи ВФ Кравченко и ВФ Дольфа–Чебышева, обладают “квазиколебательным” поведением. Обращают на себя внимание зависимости , полученные при взвешивании реализаций помехи ВФ Кайзера. В этих случаях имеют место умеренные значения , а поведение зависимостей характеризуется “причудливыми” формами (см. рис. 3, кривые 2, 4). Заметно отличающимися особенностями поведения характерны зависимости , полученные при взвешивании помехи ВФ Кравченко–Бернштейна–Рогозинского (см. рис. 4, кривая 1, рис. 5, кривые 1, 2, 4, 5).
Из рис. 6 и 7 следует, что зависимость коэффициента прохождения сигнала с расширенным спектром от частоты является достаточно равномерной, поскольку разброс значений Кс не превышает 0.1 дБ. Из рис. 7 видно, что зависимости для весовых функций и обладают практически полностью равномерным центральным участком. Из данных, представленных в табл. 1, следует, что энергетические потери СРС определяются главным образом взвешиванием, а вынужденная режекция части спектра СРС при рассмотренных значениях Nуд ≤ 50 не приводит к существенному дополнительному ухудшению коэффициента Кс – дополнительные энергетические потери сигнала из-за режекции не превышают 0.5 дБ.
Рис. 8 и 9 иллюстрируют преимущества ВФ Кравченко –Бернштейна–Рогозинского (, ) перед другими рассмотренными при режекции УП и последующем выполнении процедуры поиска ФМ-СРС по времени запаздывания. Из рис. 8 видно, что равномерный (“рабочий”) участок существенно расширяется. Вместе с тем уровень вероятности правильного поиска на данном участке оказывается несколько сниженным, что объясняется энергетическими потерями сигнала. Введение режима когерентного накопления (см. рис. 9), характерного для современных радиоэлектронных систем [10], даже при более слабом полезном сигнале (в сравнении с условиями рис. 8) позволяет естественным путем практически исключить данный естественный отрицательный эффект. Следует дополнительно отметить, что опробованное применение вариаций ВФ и потенциально способно дополнительно расширять равномерный участок вероятностных зависимостей, однако при M = 1 достигаемые значения вероятности оказываются не столь привлекательными, как при ВФ Хеннинга и других классических ВФ. Поэтому применение вариаций ВФ КБР “высоких порядков” следует сочетать с когерентным накоплением сигнала при M ≥ 5. Как видно из рис. 9 и данных табл. 2, применение весовых функций КБР для взвешивания реализаций аддитивной смеси ФМ-СРС, шума и УП позволяет достичь существенного повышения алгоритмических возможностей режекции помехи на основе ДПФ. Как видно из табл. 2, для принятых условий статистических экспериментов, выигрыш совокупной обработки ФМ-СРС на фоне УП в расширении “рабочего” диапазона отношений qпс, при применении ВФ , в сравнении с применением обоснованной ранее кубической вариацией ВФ Хеннинга [4, 7], в зависимости от требований к вероятности P составляет порядка 20 дБ.
ЗАКЛЮЧЕНИЕ
Таким образом, исследована возможность повышения эффективности обработки сигналов с расширенным спектром на фоне УП при применении для взвешивания реализаций современных ВФ, основанных на атомарных функциях – функциях Кравченко. Установлено, что среди рассмотренных ВФ рекордные характеристики подавления УП обеспечиваются при применении в (1) вариаций “высоких порядков” ВФ Кравченко –Бернштейна–Рогозинского. Также установлено, что при сравнительно малом числе удаляемых ЧВ (Nуд = 10) лидирует ВФ Кравченко –Дольфа–Чебышева (табл. 1). При повышении числа удаляемых ЧВ (Nуд = 50) рекордные характеристики отмечены для ВФ . Несколько повышенные значения энергетических потерь полезного сигнала, зарегистрированные при применении ВФ КБР (в сравнении с классическими ВФ, табл. 1), в значительной мере нивелируются при использовании режима когерентного накопления в целевой процедуре корреляционной обработки СРС, выполняемой после режекции УП. Таким образом, проведенное исследование установило возможность повышения эффективности частотной режекции узкополосных помех за счет применения ВФ Кравченко –Дольфа–Чебышева (К4ДЧ5) и Кравченко –Бернштейна–Рогозинского (, , , ).
1 С расширенным спектром (шумоподобного, широкополосного).
2 Полагается доминирующей компонентой смеси.
3 Описание ВФ Кравченко – атомарных функций, а также других ВФ (и соответствующих им коэффициентов wn), используемых в (1), опубликовано в [15, 16].
4 Знак “тильда” здесь и далее указывает на временной процесс, прошедший через режектор, а также на спектр, ему соответствующий.
About the authors
E. V. Kuzmin
Siberian Federal University
Author for correspondence.
Email: ekuzmin@sfu-kras.ru
Russian Federation, Krasnoyarsk
References
- Кравченко В.Ф., Назаров Л.Е., Пустовойт В.И. // РЭ. 2019. Т. 64. № 10. С. 976.
- Кравченко В.Ф., Назаров Л.Е., Пустовойт В.И. // Докл. РАН. Математика, информатика, процессы управления. 2020. Т. 495. С. 95.
- Назаров Л.Е. // Журн. радиоэлектроники. 2021. № 12. http://jre.cplire.ru/jre/dec21/2/text.pdf https://doi.org/10.30898/1684-1719.2021.12.2
- Кузьмин Е.В. // Цифровая обработка сигналов. 2021. № 4. С. 16.
- Кузьмин Е.В., Зограф Ф.Г. // РЭ. 2022. Т. 67. № 8. С. 774.
- Назаров Л.Е. // Журн. радиоэлектроники. 2022. № 8. http://jre.cplire.ru/jre/aug22/1/text.pdf https://doi.org/10.30898/1684-1719.2022.8.1
- Кузьмин Е.В. // Цифровая обработка сигналов. 2023. № 1. С. 48.
- Тузов Г.И., Сивов В.А., Прытков В.И. и др. Помехозащищенность радиосистем со сложными сигналами. М.: Радио и связь, 1985.
- Витязев В.В. Цифровая частотная селекция сигналов. М.: Радио и связь, 1993.
- ГЛОНАСС. Принципы построения и функционирования / Под ред. А.И. Перова, В.Н. Харисова. М.: Радиотехника, 2010.
- Davidovici S., Kanterakis E.G. // IEEE Trans. 1989. V. Com-37. № 7. P. 713.
- Борисов В.И., Зинчук В.М., Лимарев А.Е. и др. Помехозащищенность систем радиосвязи с расширением спектра сигналов модуляцией несущей псевдослучайной последовательностью. М.: Радио и связь, 2003.
- Шилов А.И., Бакитько Р.В., Польщиков В.П., Хацкелевич Я.Д. // Радиотехника. 2005. № 7. С. 31.
- Бакитько Р.В., Польщиков В.П., Шилов А.И., Хацкелевич Я.Д., Болденков Е.Н. // Радиотехника. 2006. № 6. С. 13.
- Кравченко В.Ф., Пустовойт В.И. // ДАН. 2002. Т. 386. № 1. С. 38.
- Дворкович В.П., Дворкович А.В. Оконные функции для гармонического анализа сигналов. М.: Техносфера, 2016.
- Будунова К.А., Кравченко В.Ф. // Физические основы приборостроения. 2022. Т. 11. № 1(43). С. 2.
- Марпл-мл. С.Л. Цифровой спектральный анализ и его приложения. М.: Мир, 1990.
- Ширман Я.Д., Манжос В.Н. Теория и техника обработки радиолокационной информации на фоне помех. М.: Радио и связь, 1981.
Supplementary files











