Density and Molar Volume of Liquid Amalgams of Thallium, Lead, and Bismuth
- Authors: Savvin V.S.1,2
-
Affiliations:
- National Research Nuclear University MEPhI
- Institute for Nuclear Power Engineering
- Issue: Vol 61, No 3 (2023)
- Pages: 370-375
- Section: Articles
- URL: https://journal-vniispk.ru/0040-3644/article/view/232637
- DOI: https://doi.org/10.31857/S0040364423030195
- ID: 232637
Cite item
Full Text
Abstract
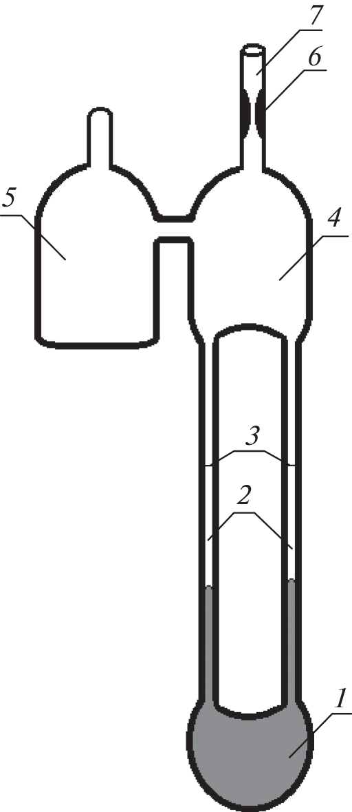
Using an evacuated two-capillary pycnometer, the density and molar volume of liquid solutions of thallium, lead, and bismuth in mercury were measured. The measurements were carried out over the entire range of compositions at temperatures from liquidus to 400–500°C.
About the authors
V. S. Savvin
National Research Nuclear University MEPhI; Institute for Nuclear Power Engineering
Author for correspondence.
Email: savvin-vs@yandex.ru
Moscow, Russia; Obninsk, Russia
References
- Степанов В.П. Плотность и адиабатическая сжимаемость смесей LiF + KBr в двухфазной области // ТВТ. 2019. Т. 57. № 3. С. 371.
- Алчагиров Б.Б., Мозговой А.Г., Шампаров Т.М. Плотность расплавленного висмута при высоких температурах // ТВТ. 2004. Т. 42. № 3. С. 487.
- Станкус С.В., Хайрулин Р.А., Мозговой А.Г., Рощупкин В.В., Покрасин М.А. Плотность жидкого сплава Pb–Bi эвтектического состава при температурах до 700 К // ТВТ. 2004. Т. 42. № 6. С. 982.
- Richards T.W., Daniels F. Concentrated Thallium Amalgams: Their Electro-chemical and Thermochemical Behavior, Densities and Freezing Points // J. Am. Chem. Soc. 1919. V. 41. № 11. P. 1732.
- Olsen D.A., Johnson D.C. The Surface Tension of Mercury–Thallium and Mercury–Indium Amalgams // J. Phys. Chem. 1963. V. 67. № 12. P. 2529.
- Olsen D.A., Bunde R.E., Johnson R.E., Johnson D.C. Viscosity and Density of Mercury–Thallium Amalgams // J. Chem. Eng. Data. 1970. V. 15. № 1. P. 190.
- Abowitz G., Gordon R.B. Compressibility of the Mercury Alloys // Trans. Met. Soc. AIME. 1963. V. 227. № 1. P. 51.
- Foley W.T., Basak A.K., Delorey J.R. Density and Viscosity of Thallium Amalgams // Can. J. Chem. 1964. V. 42. P. 2749.
- Predel B., Emam A. Überschuβvolumina flüssiger Legierungen der Systeme Bi–Sn, Sn–TI, Pb–Sn, Bi–TI, Hg–In, Hg–TI und Pb–TI // Mat. Sci. Eng. 1969. Bd. 4. № 5. S. 287.
- Kleppa O.J., Kaplan M., Thalmayer C.E. The Volume Change on Mixing in Liquid Metallic Solutions II. Some Binary Alloys Involving Mercury, Zinc and Bismuth // J. Phys. Chem. 1961. V. 65. № 5. P. 843.
- Sato T., Itami T., Shimoji M. The Volume of Liquid Hg–Tl and Hg–Cs Alloys // J. Phys. Soc. Jap. 1982. V. 51. № 8. P. 2493.
- Ибрагимов X.И., Покровский Н.Л., Пугачевич П.П. Вакуумный двухкапиллярный пикнометр для измерения плотности металлических расплавов // ЖФХ. 1966. Т. 40. № 4. С. 957.
- Пугачевич П.П. Работа со ртутью в лабораторных и производственных условиях. М.: Химия, 1972. 320 с.
- Вукалович М.П., Иванов А.И., Фокин Л.Р., Яковлев А.Т. Теплофизические свойства ртути. М.: Изд-во стандартов, 1971. 314 с.
- Карамурзов Б.С. Поверхностное натяжение, плотность и работа выхода электрона легкоплавких бинарных систем на основе галлия. Автореф. дис. … канд. физ.-мат. наук. Нальчик.: Каб.-Балк. гос. ун-т, 1975. 20 с.
- Crawley A.F. The Density and Viscosity of Liquid Thallium // Trans. Met. Soc. AIME. 1968. V. 242. № 11. P. 2309.
- Thresh H.R., Crawley A.F., While D.W.G. The Density of Liquid Tin, Lead and Tin–Lead Alloys // Trans. Met. Soc. AIME. 1968. V. 242. № 5. P. 819.
- Басин А.С., Соловьев А.Н. Исследование плотности жидких свинца, цезия и галлия гамма-методом // ПМТФ. 1967. № 6. С. 83.
- Crawley A.F., Kiff D.R. Density of Liquid Bismuth // Met. Trans. V. 2. № 2. P. 609.
- Bedon P., Desre P. Densite du bismuth et des allages bismuth–zine a l’etat liguide // C.r. Acad. Sci. C. 1972. V. 274. P. 40.
- Devis H.A., Leach J.S.L. Electron Transport Properties of Liquid Mercury Alloys. In: The Properties of Liquid Metals. London: Taylor & Francis, 1973. P. 229.
Supplementary files






