Исследование распространения водородно-воздушного пламени в плоском зазоре методом инфракрасной визуализации
- Авторы: Володин В.В.1, Голуб В.В.1, Ельянов А.Е.1
-
Учреждения:
- Объединенный институт высоких температур РАН
- Выпуск: Том 62, № 3 (2024)
- Страницы: 425-431
- Раздел: Тепломассообмен и физическая газодинамика
- URL: https://journal-vniispk.ru/0040-3644/article/view/276027
- DOI: https://doi.org/10.31857/S0040364424030123
- ID: 276027
Цитировать
Полный текст
Аннотация
В статье представлено экспериментальное исследование распространения водородно-воздушного пламени в плоском зазоре с центральным воспламенением. Впервые применена высокоскоростная инфракрасная визуализация, которая позволила детально рассмотреть начальную стадию формирования пламени в плоском зазоре и определить структуры, образующиеся в процессе сгорания смеси. При сгорании бедных водородно-воздушных смесей обнаружен распад дефлаграционного фронта пламени, приводящий к образованию отдельных очагов, распространяющихся радиально. Отмечено, что данный эффект наблюдается только при толщине зазора не более 5 мм и объемном содержании водорода в смеси не более 10%. Проанализирована интенсивность излучения продуктов сгорания в зависимости от состава смеси и толщины плоского зазора. Актуальность работы обусловлена требованиями безопасности водородной энергетики, в частности взрывобезопасности водородных топливных ячеек.
Полный текст
Введение
Спектральные характеристики излучения газового пламени сильно зависят от состава горящей смеси и геометрических характеристик объема, в котором происходит сгорание. Ультрафиолетовое излучение пламени связано с колебательными переходами двухатомных радикалов OH, CH и CN [1]. Излучение в видимом спектре обычно вызвано радикалом CN и непрерывным спектром излучения частиц углерода [2, 3]. Инфракрасное излучение пламени обусловлено колебательными переходами в конечных продуктах сгорания, таких как H2O и CO2 [4]. Особенностью бедного водородно-воздушного пламени является практически полное отсутствие излучения в видимой области спектра.
В пионерских работах, например [5], использовался метод спектрографии для определения излучения пламени. Развитие микроэлектроники привело к созданию многодетекторных инфракрасных матриц [6]. Одной из первых работ по визуализации водородно-воздушного пламени с помощью высокоскоростной инфракрасной (ИК) камеры можно считать работу Т. Моги [7]. Однако приведенные в [7] ИК-изображения водородно-воздушного пламени сделаны с большим временем экспозиции и не позволяют получить дополнительную информацию об излучении продуктов сгорания за фронтом пламени, т.е. часть потенциально полезной информации теряется. При правильном выборе времени экспозиции инфракрасная визуализация фронта пламени позволяет получить полутоновое изображение, интенсивность в каждой точке которого зависит от распределения интенсивности излучения по объему и от формы фронта пламени.
Интенсивность излучения зависит от различных факторов, однако основной определяющей величиной является температура на фронте водородно-воздушного пламени. Она исследуется как экспериментально [8], так и с помощью численных методов [9, 10].
Для дальнейшего анализа требуются дополнительные предположения. Например, в работе [11] в предположении постоянных температуры и состава газа за фронтом глобально сферического пламени получена структура фронта. Предполагая осесимметричность фронта пламени, можно получить распределение интенсивности свечения вдоль радиуса. Для этого потребуется использовать преобразования, основанные на решении сингулярного интегрального уравнения Абеля [12]. Требование осесимметричности невыполнимо при свободном горении бедных смесей с содержанием водорода менее 30 об. % из-за неустойчивости фронта пламени [13].
ИК-визуализация фронта пламени, распространяющегося в плоском зазоре, позволяет уйти от необходимости использования математических преобразований и дает возможность исследовать бедные смеси с содержанием водорода менее 30 об. %. При центральном воспламенении в плоском зазоре фронт пламени двигается по плоскости вдоль радиуса с центром в точке инициирования. Расположенная перпендикулярно плоскости инфракрасная камера регистрирует движущийся фронт пламени и интенсивность излучения продуктов сгорания за ним. После прохождения фронтом пламени расстояния больше, чем высота зазора, фронт пламени касается стенок и из сферического постепенно становится цилиндрическим. Таким образом, между объективом камеры и продуктами сгорания отсутствует зона реакции.
При этом ИК-камера регистрирует вдоль направления распространения фронта пламени излучение продуктов сгорания, т.е. паров воды, зону реакции и излучение несгоревшей смеси.
В последние годы наблюдается повышенный интерес к экологически чистым технологиям производства и потребления тепловой и электрической энергии. Так, в работе [14] рассматривается распространение пламени в плоских зазорах для решения задач безопасного использования топливных ячеек и блоков аккумуляторных батарей.
В [15–19] проведены эксперименты по изучению различных аспектов горения водорода с воздухом в плоских зазорах с использованием схожих экспериментальных установок. Исследовались как динамика, так и структура фронта пламени. Основным применявшимся методом визуализации является теневой метод. В [15] использовался плоский зазор прямоугольной формы с внутренним покрытием из металлической сетки и было выявлено, что без препятствий не происходит перехода горения в детонацию. В канале с сеткой была замечена конденсация пара, свидетельствующая о значительном отводе тепла из зоны реакции, что приводило к гашению пламени. В [16] с аналогичной установкой, но расположенной вертикально, было обнаружено распространение пламени в ультрабедных смесях, противоречащее бытующему мнению о невозможности самоподдерживающегося горения бедных смесей. В работе [17], посвященной изучению поведения водородного пламени в двумерной геометрии, выявлена ячеистая структура и рассчитан коэффициент складчатости, значение которого соотносится с теоретически предсказанным [20]. В [18] исследованы термоакустические колебания, выявлен переход между режимами в зависимости от коэффициента избытка горючего и ширины канала. В [19] представлены обобщенные данные о распространении водородно-воздушного пламени, выявлен переход неустойчивого фронта пламени в пальцеобразный, что связано с гидродинамической неустойчивостью Дарье–Ландау. Работа [21] обобщает морфологические признаки распространения бедных водородно-воздушных пламен. В [21] приводится классификация типов горения бедных пламен в плоском зазоре. Она включает в себя четыре типа пламен, общей характеристикой которых выступает пальцеобразное распространение пламени, свойственное в первую очередь пламенам, распространяющимся в каналах и трубах [22].
В [23] представлены результаты исследования распространения пламени в предварительно приготовленной пропано-воздушной смеси в каналах шириной от 2.5 до 4.4 мм. Визуализация осуществлялась в видимом спектре. Выявлено влияние ширины зазора на видимую скорость пламени и продемонстрирована общая эволюция ячеек на протяжении всего процесса распространения. Для анализа ячеистой структуры пламени использовался метод наложения последовательных изображений фронта пламени друг на друга.
Аналогичный экспериментальный метод лег в основу работы [24]. Одним из результатов этой работы является предложение нового метода классификации бедных пламен, распространяющихся в плоском зазоре. Развито понятие «дрейфующего шарового пламени». Важно отметить, что в [24] отсутствует анализ начальной стадии распространения пламени, отмечается, что для подобного анализа необходимо использование высокоскоростной инфракрасной съемки.
Изучение плоского пламени также проводится и с водородно-кислородными [25], и с углеводородно-воздушными [26] смесями. В [26] обнаружено, что скорость пламени зависит от размера зазора, а увеличение зазора может приводить к более нестабильному распространению пламени. В экспериментальной установке плоский зазор моделировался между стальной и стеклянной пластинами. Авторы [27] провели экспериментальное и численное исследование предварительно смешанных пламен в узких зазорах. Целью исследования было изучение механизмов распространения пламени и зависимости его скорости от расстояния между пластинами. В результате исследования было обнаружено, что уменьшение расстояния между пластинами приводит к увеличению скорости пламени, что может ускорить режимы горения и детонации.
Обзор литературы показывает, что практический интерес представляют пламена, распространяющиеся в бедных водородно-воздушных смесях в зазорах до 10 мм. В настоящей работе эксперименты проводились с водородно-воздушными смесями с содержанием водорода 10, 15 и 20 об. %. Фронт пламени распространялся в плоском зазоре толщиной от 3 до 10 мм. Зазоры толщиной менее 3 мм не рассматривались по причине превалирования теплопотерь [27], которые препятствуют воспламенению.
Детали эксперимента
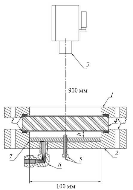
Схема экспериментальной установки показана на рис. 1. Плоский зазор заполнялся предварительно перемешанной водородно-воздушной смесью. Для создания необходимой водородно-воздушной смеси с объемным содержанием водорода от 10 до 20 об. % использовался газовый пульт, оснащенный вакуумным насосом, воздушным компрессором с системой очистки воздуха и необходимыми манометрами.
Рис. 1. Экспериментальная установка: 1 – прижимной фланец; 2 – нижний фланец (основание); 3 – отверстия крепления фланцев между собой; 4 – стекло КИ; 5 – искровой воспламенитель; 6 – газовый штуцер; 7 – пластина, формирующая исследуемый зазор h; 8 – резиновые уплотнители; 9 – инфракрасная камера.
Водородно-воздушная смесь приготавливалась в емкости для смешения газов объемом 10 л. Предварительно с помощью вакуумного насоса из емкости откачивались остатки газа до предельного разрежения, контролируемого вакуумметром. Далее емкость соединялась с атмосферой до полного выравнивания давлений, после чего полагалось, что емкость заполнена воздухом до абсолютного давления, равного 1 атм. После в емкость подавался водород до давления, равного парциальному давлению водорода исследуемой смеси. В конце емкость заполнялась воздухом из компрессора через систему двухступенчатой очистки до избыточного давления 5 атм согласно манометрам. Смесь выдерживалась не менее 24 ч перед проведением экспериментов.
Плоский зазор формировался между круглым стеклом марки КИ диаметром 120 мм и пластиной, изготовленной методом 3D-печати. Толщиной пластины задается и таким образом варьируется толщина плоского зазора.
Экспериментальная установка подключалась через штуцер (6 на рис. 1) к баллону с газовой смесью. Искровой разрядник 5 подключался к импульсному источнику высокого напряжения. Визуализация осуществлялась инфракрасной камерой Infratec ImageIR 8300 9, расположенной над экспериментальной сборкой, со скоростью до 400 кадр/с, время экспозиции составляло от 5 до 100 мкс в зависимости от исследуемой газовой смеси, разрешение матрицы камеры – 640 × 512 пкс в формате полного кадра. Экспериментальная установка предварительно вакуумировалась с помощью вакуумного насоса на многофункциональном газовом пульте, разрежение и герметичность контролировались вакуумметром на том же пульте. После вакуумирования сборка заполнялась газовой смесью до необходимого давления, также контролируемого вакуумметром и манометрами с пульта. Все эксперименты проводились при абсолютном давлении смеси 0.5 атм. Для начала эксперимента включалась запись ИК-камеры и осуществлялся поджиг смеси.
Результаты и обсуждение
Эксперименты проводились с водородно-воздушными смесями с содержанием водорода 10, 15 и 20 об. %. Толщина зазора h в ходе работы составляла 3, 5, 7 и 10 мм. В экспериментах с 10 об. % водорода в смеси при толщинах зазора 3 и 5 мм фронт пламени представлял собой разрозненные очаги, движущиеся от центра инициирования к краю. На рис. 2 показана серия инфракрасных изображений пламени с содержанием водорода 10 об. %, распространяющегося в зазоре толщиной 5 мм.
Рис. 2. Инфракрасные изображения распространяющегося фронта водородно-воздушного пламени с 10 об. % водорода и толщиной зазора 5 мм в моменты времени 5.4, 13.5 и 40.5 мс (слева направо).
На начальной стадии в моменты времени от инициирования до 5.4 мс фронт пламени может быть охарактеризован как неустойчивый дефлаграционный. В последующие моменты времени фронт пламени испытывает сильную неустойчивость, но сохраняет связность до момента времени 13.5 мс. После этого фронт пламени преобразуется в отдельные очаги, распространяющиеся радиально. Стоит отметить, что минимальный размер очагов, обнаруженных в эксперименте, соответствует толщине зазора, равной 5 мм. Светимость продуктов сгорания обнаружена только в области, близкой к зоне реакции, что соответствует именно очаговому распространению пламени, в отличие от пальцевого режима распространения пламени в канале, когда зона реакции также существует на «юбке» [22]. В [21] бедные пламена, распространяющиеся в плоском зазоре, визуализировались теневым методом и характеризовались как пальцеобразное горение. Теневая визуализация регистрирует разницу плотностей, и поэтому становится затруднительно отличить очаг пламени от пальцевого горения. Отмеченные в [21] многопальцевые структуры фронта пламени представляли собой очаг и cлед за ним, который мог возникать как из-за нагрева, так и от конденсации паров воды. В [24] бедные пламена, распространявшиеся в плоском зазоре, регистрировались в отраженном видимом свете в виде сконденсированных паров воды на прозрачных стенках за очагом. В [24] предложен метод композиции последовательно инвертированных покадровых проекций видеозаписей экспериментов, фиксирующих конденсационные следы фронта пламени на прозрачной стенке камеры. Показаны три характерных морфотипа следов горения ультрабедного водородно-воздушного пламени в горизонтальном цилиндрическом плоском зазоре с центральным зажиганием. В настоящей работе анализ интенсивности излучения проводился в экспериментах с более богатыми смесями и дефлаграционным фронтом пламени. На рис. 3 в качестве примера представлены инфракрасные изображения дефлаграционного фронта пламени с различными концентрациями водорода при различной толщине зазора.
Рис. 3. Инфракрасные изображения фронта водо-родно-воздушного пламени: (а) – 10 об. % водорода в смеси, толщина зазора – 10 мм, момент времени – 40.5 мс; (б) – 15 об. %, 3 мм, 13.5 мс; (в) – 15 об. %, 10 мм, 13.5 мс; (г) – 20 об. %, 3 мм, 5.4 мс.
Использование ИК-камеры позволяет представить данные изображения в виде матрицы интенсивности излучения в Вт/м2. С помощью компьютерной программы, написанной в среде MatLab, получены графики распределения интенсивности излучения вдоль радиуса. Из точки инициирования по лучу выделялись полосы интенсивности излучения со смещением по углу. Полученные данные осреднялись по всем полученным лучам, что в итоге позволило построить зависимость интенсивности излучения от радиуса для каждого момента времени.
На рис. 4 показан график распределения интенсивности излучения вдоль радиуса для различных моментов времени распространения водородно-воздушного фронта пламени с содержанием водорода 10 об. % в зазоре толщиной 10 мм. Пики интенсивности излучения соответствуют излучению продуктов сгорания в области, близкой к зоне реакции. Из графика можно сделать вывод о существенном остывании продуктов сгорания, расположенных ближе к точке инициирования. Высокие значения интенсивности излучения на начальной стадии (5.4 мс) соответствуют моменту инициирования, когда фронт пламени еще являлся полусферическим, так как точка инициирования в данной постановке эксперимента находится на нижней стенке ячейки.
Рис. 4. График распределения интенсивности излучения вдоль радиуса для различных моментов времени распространения водородно-воздушного фронта пламени с содержанием водорода 10 об. % в зазоре толщиной 10 мм: 1 – 5.4 мс, 2 – 16.2, 3 – 27, 4 – 37.8, 5 – 48.6, 6 – 59.5.
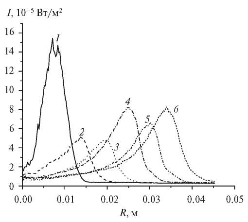
На рис. 5 показаны графики распределения интенсивности излучения вдоль радиуса для различных моментов времени распространения водородно-воздушного фронта пламени с содержанием водорода 15 об. % в зазорах толщиной 5, 7 и 10 мм.
Рис. 5. Графики распределения интенсивности излучения вдоль радиуса для различных моментов времени распространения водородно-воздушного фронта пламени с содержанием водорода 15 об. % в зазоре различной толщины: (а) – 5 мм, (б) – 7, (в) – 10; 1 – 5.4 мс, 2 – 8.1, 3 – 10.8, 4 – 13.5, 5 – 16.2, 6 – 18.9, 7 – 21.6, 8 – 24.3, 9 – 27, 10 – 29.7.
Видно, что с увеличением толщины плоского зазора пики интенсивности излучения продуктов сгорания расширяются в сторону точки инициирования. Это свидетельствует о том, что остывание продуктов сгорания происходит медленнее. Более того, из-за адиабатического сжатия интенсивность излучения продуктов сгорания смеси с 15 об. % водорода в зазоре толщиной 10 мм на радиусе 30 мм в момент времени 16.2 мс ниже, чем интенсивность излучения в момент времени 18.9 мс на том же радиусе. Рост давления в совокупности с возросшим тепловыделением приводит к большему нагреву продуктов сгорания. Аналогичный эффект отмечается и при сгорании смеси с 20 об. % водорода (рис. 6).
Рис. 6. Графики распределения интенсивности излучения вдоль радиуса для различных моментов времени распространения водородно-воздушного фронта пламени с содержанием водорода 20 об. % в зазоре толщиной 3 (а) и 10 мм (б); 1 – 5.4 мс, 2 – 8.1, 3 – 10.8, 4 – 13.5, 5 – 2.7.
Важно отметить также и рост скорости распространения фронта пламени в зависимости от толщины плоского зазора. На рис. 7 представлен график зависимости среднего радиуса фронта пламени от времени при горении смесей с 10, 15 и 20 об. % водорода в зазорах толщиной 3, 5, 7 и 10 мм.
Рис. 7. График зависимости среднего радиуса от времени при различных условиях: 1 – 10 об. % водорода в смеси, толщина зазора – 7 мм; 2 – 10, 10; 3 – 15, 3; 4 – 15, 5; 5 – 15, 7; 6 – 15, 10; 7 – 20, 3; 8 – 20, 5; 9 – 20, 7; 10 – 20, 10.
Заключение
С помощью инфракрасной визуализации в плоских щелях с бедными водородно-воздуш-ными смесями впервые установлено формирование очагов пламени из дефлаграционного фронта на начальном этапе. Получены инфракрасные изображения, которые позволяют охарактеризовать данный режим горения как очаговый, так как излучение продуктов сгорания происходит лишь в малой области вблизи зоны реакции.
Выявлено, что интенсивность излучения продуктов сгорания, а как следствие, и их температура зависят как от состава смеси, так и от толщины зазора. Во всех режимах эксперимента теплопоглощение стенками остается неизменным, так как оно зависит лишь от физических свойств материала стенок. Увеличение концентрации горючего или толщины зазора приводит к увеличению среднего тепловыделения при сгорании. При уменьшении толщины зазора отмечается остывание продуктов сгорания за фронтом реакции.
Следует отметить и зависимость скорости распространения фронта пламени от толщины зазора. При увеличении толщины зазора скорость распространения фронта пламени увеличивается до двух раз.
Работа выполнена при поддержке Министерства науки и высшего образования РФ (госзадание № 075-00270-24-00).
Об авторах
В. В. Володин
Объединенный институт высоких температур РАН
Email: golub@ihed.ras.ru
Россия, Москва
В. В. Голуб
Объединенный институт высоких температур РАН
Автор, ответственный за переписку.
Email: golub@ihed.ras.ru
Россия, Москва
А. Е. Ельянов
Объединенный институт высоких температур РАН
Email: golub@ihed.ras.ru
Россия, Москва
Список литературы
- Gaydon A.G. The Spectroscopy of Flames. Chapman and Hall Ltd., 1974. 411 p.
- Попов Ю.А. О влиянии пульсаций температуры на излучение пламени и методе обращения спектральных линий // ТВТ. 1980. Т. 18. № 2. С. 383.
- Луизова Л.А., Смирнов Б.М., Хахаев А.Д., Чугин В.П. Излучательные свойства пламени свечи // ТВТ. 1990. Т. 28. № 5. С. 897.
- Руднев Б.И., Повалихина О.В. Анализ особенностей излучения пламени в камере сгорания дизельных двигателей // Науч. тр. Дальрыбвтуза. 2007. № 19. С. 80.
- Burrows M.C. Radiation Processes Related to Oxygen–Hydrogen Combustion at High Pressures // Proc. Combust. Inst. 1965. V. 10. № 1. P. 207.
- Ferrari M., Quaresima V. A Brief Review on the History of Human Functional Near-infrared Spectroscopy (fNIRS) Development and Fields of Application // Neuroimage. 2012. V. 63. № 2. P. 921.
- Kim W.K., Mogi T., Dobashi R. Flame Acceleration in Unconfined Hydrogen/Air Deflagrations Using Infrared Photography // J. Loss Prev. Process Ind. 2013. V. 26. № 6. P. 1501.
- Pitz R.W., Cattolica R., Robben F., Talbot L. Temperature and Density in a Hydrogen–Air Flame from Rayleigh Scattering // Combust. Flame. 1976. V. 27. P. 313.
- Bykov V., Kiverin A., Koksharov A., Yakovenko I. Analysis of Transient Combustion with the Use of Contemporary CFD Techniques // Comput. Fluids. 2019. V. 194. P. 104310.
- Яковенко И.С., Котельников А.Л., Киверин А.Д. Влияние дисперсных капель воды на ускорение пламени и переход к детонации // Вестник ОИВТ. 2022. Т. 8. С. 48.
- Bivol G., Gavrikov A., Golub V., Elyanov A., Volodin V. 3D Surface of an Unstable Hydrogen–Air Flame // Exp. Therm. Fluid Sci. 2021. V. 121. P. 110265.
- Sizikov V.S., Evseev V., Fateev A., Clausen S. Direct and Inverse Problems of Infrared Tomography // Appl. Opt. 2016. V. 55. № 1. P. 208.
- Elyanov A.E., Gavrikov A.I., Golub V.V., Mikushkin A.Yu., Volodin V.V. Propagation Dynamics Uncertainty Analysis of a Premixed Laminar Unstable Hydrogen–Air Flame // Process Saf. Environ. Prot. 2022. V. 164. P. 50.
- Аминов Р.З., Егоров А.Н., Рыжков А.А. Исследование горения топливной смеси H2–O2–H2O в камере сгорания водородного парогенератора // ТВТ. 2022. Т. 60. № 4. С. 557.
- Kuznetsov M., Grune J. Experiments on Combustion Regimes for Hydrogen/Air Mixtures in a Thin Layer Geometry // Int. J. Hydrogen Energy. 2019. V. 44. № 17. P. 8727.
- Veiga-López F., Kuznetsov M., Martínez-Ruiz D., Fernández-Tarrazo E., Grune J., Sánchez-Sanz M. Unexpected Propagation of Ultra-lean Hydrogen Flames in Narrow Gaps // Phys. Rev. Lett. 2020. V. 124. № 17. 174501.
- Kuznetsov M., Grune J., Tengah S., Yanez J. Experimental Study of 2D-instabilities of Hydrogen Flames in Flat Layers // Proc. 25th ICDERS. 2–7 August. 2015. Leeds, UK, 2015. P. 313.
- Veiga-López F., Kuznetsov M., Yanez J., Grune J., Sánchez-Sanz M. Flame Propagation Near the Limiting Conditions in a Thin Layer Geometry // Proc. 8th ICHS. Adelaide, Australia, 2019. P. 193.
- Veiga-López F., Martínez-Ruiz D., Sánchez-Sanz M., Kuznetsov M. Thermoacoustic Analysis of Kean H2–Air Premixed Flames in Thin Layers // Proc. 27th ICDERS. 28 July–2 August. 2019. V. 28. 169.
- Michelson D.M., Sivashinsky G.I. Nonlinear Analysis of Hydrodynamic Instability in Laminar Flames–II. Numerical Experiments // Acta Astronaut. 1977. V. 4. № 11–12. P. 1207.
- Escanciano J.Y., Kuznetsov M., Veiga-López F. Characterization of Unconventional Hydrogen Flame Propagation in Narrow Gaps // Phys. Rev. E. 2021. V. 103. № 3. 033101.
- Bychkov V., Akkerman V., Fru G., Petchenko A., Eriksson L.-E. Flame Acceleration in the Early Stages of Burning in Tubes // Combust. Flame. 2007. V. 150. № 4. P. 263.
- Alexeev M.M., Semenov O.Y., Yakush S.E. Experimental Study on Cellular Premixed Propane Flames in a Narrow Gap between Parallel Plates // Combust. Sci. Technol. 2018. V. 191. № 7. P. 1256.
- Москалев П.В., Денисенко В.П., Кириллов И.А. Классификация и динамика ультрабедных водо-родо-воздушных пламен в горизонтальных цилиндрических ячейках Хеле–Шоу // ЖЭТФ. 2023. Т. 164. № 1. С. 117.
- Fernández-Galisteo D., Kurdyumov V.N., Ronney P.D. Analysis of Premixed Flame Propagation between Two Closely-spaced Parallel Plates // Combust. Flame. 2018. V. 190. P. 133.
- Jang H.J., Jang G.M., Kim N.I. Unsteady Propagation of Premixed Methane/Propane Flames in a Mesoscale Disk Burner of Variable-gaps // Proc. Combust. Inst. 2019. V. 37. № 2. P. 1861.
- Guo Zh., Wu F., Diao Sh., Wen X. Unstable Combustion Behavior of Syngas/Air Mixture with Different Components in a Narrow Gap Disk Reactor // Int. J. Hydrogen Energy. 2024. V. 54. P. 1357.
Дополнительные файлы










