Ацетон-нейтральный адсорбционный сенсор влажности выдыхаемого воздуха при диагностике сахарного диабета
- Авторы: Симонов В.Н.1,2, Фомкин А.А.1, Школин А.В.1, Меньщиков И.Е.1
-
Учреждения:
- Федеральное государственное бюджетное учреждение науки Институт физической химии и электрохимии им. А.Н. Фрумкина РАН (ИФХЭ)
- Национальный-исследовательский ядерный университет “Московский инженерно-физический институт”
- Выпуск: Том 59, № 4 (2023)
- Страницы: 456-460
- Раздел: МЕТОДЫ ИЗУЧЕНИЯ ФИЗИКО-ХИМИЧЕСКИХ СИСТЕМ
- URL: https://journal-vniispk.ru/0044-1856/article/view/139737
- DOI: https://doi.org/10.31857/S004418562370050X
- EDN: https://elibrary.ru/YEQQVM
- ID: 139737
Цитировать
Полный текст
Аннотация
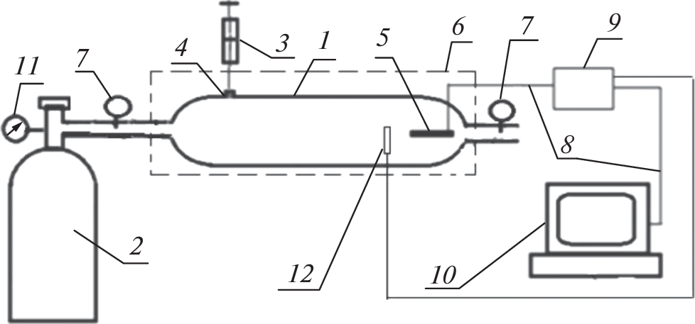
Разработан ацетон-нейтральный адсорбционный сенсор влажности выдыхаемого воздуха, который может быть использован в методике диагностики диабета. В конструкции сенсора использовали молекулярное сито – цеолит КА, гранула которого приклеена к пластине кварцевого резонатора продольных колебаний. Порог чувствительности сенсора по парам воды составляет 0.05% относительной влажности. Вследствие проявления молекулярно ситового эффекта молекулы ацетона проникают в поры цеолита лишь при концентрациях выше ~5%. Поэтому сенсор чувствителен к адсорбции паров воды и не чувствителен к парам ацетона, а также другим летучим органическим соединениям, содержащимся в выдыхаемом воздухе. Содержание ацетона и других биомаркеров заболеваний в выдыхаемом воздухе, может быть определено соответствующим специальным сенсором для определения сахарного диабета, рака легких, дисфункции органов пищеварительной системы и других заболеваний.
Об авторах
В. Н. Симонов
Федеральное государственное бюджетное учреждение наукиИнститут физической химии и электрохимии им. А.Н. Фрумкина РАН (ИФХЭ); Национальный-исследовательский ядерный университет “Московский инженерно-физический институт”
Email: simonov.valer@yandex.ru
Россия, 119071, Москва, Ленинский проспект, 31, корп. 4; Россия, 115409, Москва, Каширское ш., 31
А. А. Фомкин
Федеральное государственное бюджетное учреждение наукиИнститут физической химии и электрохимии им. А.Н. Фрумкина РАН (ИФХЭ)
Email: simonov.valer@yandex.ru
Россия, 119071, Москва, Ленинский проспект, 31, корп. 4
А. В. Школин
Федеральное государственное бюджетное учреждение наукиИнститут физической химии и электрохимии им. А.Н. Фрумкина РАН (ИФХЭ)
Email: simonov.valer@yandex.ru
Россия, 119071, Москва, Ленинский проспект, 31, корп. 4
И. Е. Меньщиков
Федеральное государственное бюджетное учреждение наукиИнститут физической химии и электрохимии им. А.Н. Фрумкина РАН (ИФХЭ)
Автор, ответственный за переписку.
Email: simonov.valer@yandex.ru
Россия, 119071, Москва, Ленинский проспект, 31, корп. 4
Список литературы
- Jones M., Harrison J.M. // Diabetes Technol Ther. 2002. V. 4(3). P. 351–359. https://doi.org/10.1089/152091502760098500
- Boots A.W., Bos L.D., van der Schee M.P., van Schooten F.J., Sterk P.J. // Trends Mol. Med. 2015. V. 10. № 21. P. 633. https://doi.org/10.1016/j.molmed.2015.08.001
- Kistenev Y.V., Borisov A.V., Kuzmin D.A., Bulanova A.A. // AIP Conf. Proc. 2016. V. 1760. P. 020028. https://doi.org/10.1063/1.4960247
- Phillips M., Cataneo R.N., Cheema T., Greenberg J. // Clin. Chim. Acta. 2004. V. 344. P. 189. https://doi.org/10.1016/j.cccn.2004.02.025
- Кистенев Ю.В., Тетенева А.В., Сорокина Т.В. // Оптика и спектроскопия, 2020. Т. 128. № 6. С. 805–810.
- Novak B.J., Blake D.R., Meinardi S., Rowland F.S., Pontello A., Cooper D.M., Galassetti P.R. // PNAS. 2007. V. 104. № 40. P. 15613. https://doi.org/10.1073/pnas.0706533104
- Stephens J.W., Khanolkar M.P., Bain S.C. // Atherosclerosis. 2009. V. 202. № 2. P. 321. https://doi.org/10.1016/j.atherosclerosis.2008.06.006
- Krzystek-Korpacka M., Salmonowicz B., Boehm D., Berdowska I., Zielinski B., Patryn E., Noczynska A., Gamian A. // Clinical Biochemistry. 2008. V. 41. P. 48. https://doi.org/10.1016/j.clinbiochem.2007.10.003
- Greiter M.B., Keck L., Siegmund T., Hoeschen C., Oeh U., Paretzke H.G. // Diabetes Technology & Therapeutics. 2010. V. 12. № 6. P. 455.
- Das S., Pal S., Mitra M. // J. Med. Biol. Eng. 2016. V. 36. P. 605.
- Mansour E., Vishinkin R., Rihet S. // Measurement of temperature and relative humidity in exhaled breath, 2019. Sensors and Actuators B Chemical. https://doi.org/10.1016/j.snb.2019.12737121
- Di Francesco F., Loccioni C., Fio- ravanti M., Russo A., Pioggia G., Ferro M., Roehrer I., Tabucchi1 S., Onor M. // J. Breath Research. 2008. V. 2(3). No. 037009. .
- Di Gilio A., Palmisani J., Ventrella G., Facchini L., Catino A., Varesano N., Piz- zutilo P., Galetta D., Borelli M., Barbieri P., Licen S., de Gennaro G. // Molecules. 2020. V. 25(24). № 5823. https://doi.org/10.3390/molecules25245823.
- Harshman S.W., Pitsch R.L., Davidson C.N., Lee E.M., Scott A.M., Hill E.M., Mainali P., Brooks Z.E., Strayer K.E., Schaeublin N.M., Wiens T.L., Brothers M.C., Drummond L.A., Yamamoto D.P., Martin J.A. // J. Breath Research. 2020. V. 14. № 036004. https://doi.org/10.1088/1752-7163/ab7e3b
- Симонов В.Н., Артамонова С.Д., Фомкин А.А., Школин А.В., Меньщиков И.Е. // Физикохимия поверхности и защита материалов. 2022. Т. 58. № 4. С. 1–7.
- Фомкин А.А., Симонов В.Н. // Пьезорезонансный сенсор микроконцентрации веществ / Патент РФ № 2722975. Госреестр изобретений РФ, 05.06.2020.
- Nadykto A.Б, Yu Fangqun // J. Geophysical Research Atmospheres. 2003. V. 108 (D23). P. 4717. https://doi.org/10.1029/2003JD003664
- Брек Д. Цеолитовые молекулярные сита. М.: Мир. 1976.
- Simonov V.N., Fomkin A.A., Vlasov D.A. et al. // Protection of Metals and Physical Chemistry of Surfaces. 2019. V. 55. № 4. P. 803–806. https://doi.org/10.1134/S2070205119040233
Дополнительные файлы







