Электрофоретическое разделение близких по химическим свойствам ионов, включая изотопические, в препаративных и аналитических целях
- Авторы: Москвин Л.Н.1, Каменцев М.Я.1, Москвин А.Л.2, Якимова Н.М.1
-
Учреждения:
- Санкт-Петербургский государственный университет
- Санкт-Петербургский национальный исследовательский университет информационных технологий, механики и оптики
- Выпуск: Том 97, № 10 (2023)
- Страницы: 1494-1501
- Раздел: ФИЗИЧЕСКАЯ ХИМИЯ ПРОЦЕССОВ РАЗДЕЛЕНИЯ. ХРОМАТОГРАФИЯ
- Статья получена: 18.10.2023
- Статья опубликована: 01.10.2023
- URL: https://journal-vniispk.ru/0044-4537/article/view/140334
- DOI: https://doi.org/10.31857/S0044453723100175
- EDN: https://elibrary.ru/XZIDCT
- ID: 140334
Цитировать
Полный текст
Аннотация
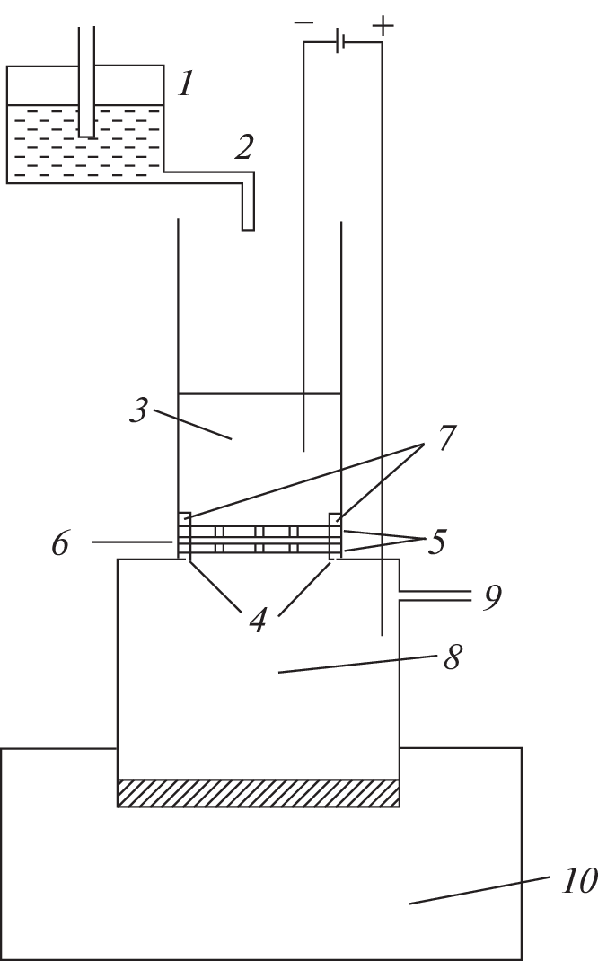
Проанализированы причины неудач первых попыток противоточного электрофоретического разделения изотопических ионов лития. Сделан вывод о бесперспективности их разделения в применявшемся авторами потенциостатическом варианте противоточной схемы процесса. В качестве альтернативы для препаративного разделения изотопических и других близких по химическим свойствам ионов предлагается гальваностатический режим противоточного электрофоретического разделения. На примерах разделения ионов щелочных металлов и изотопических ионов лития и рубидия показано, что в этом случае обеспечивается выход системы в стационарный саморегулируемый режим и достигаются значительно большие коэффициенты разделения, чем в потенциостатическом варианте процесса. Установлено, что высокая эффективность разделения достигается при минимальной протяженности разделительного пространства. Так для проявления значимых эффектов разделения изотопических ионов лития достаточно разделительной колонки высотой 4 мм, заполненной кварцевым песком. В то же время для решения аналитических задач электрофоретического разделения изотопических ионов легких элементов, таких как литий и бор, необходимая эффективность достигается и в потенциостатических условиях традиционной схемы капиллярного зонного электрофореза, что показано на примерах определения изотопного состава вышеназванных элементов.
Об авторах
Л. Н. Москвин
Санкт-Петербургский государственный университет
Email: moskvinln@yandex.ru
Россия, 199034, Санкт-Петербург, Университетская наб., 7/9
М. Я. Каменцев
Санкт-Петербургский государственный университет
Email: moskvinln@yandex.ru
Россия, Санкт-Петербург
А. Л. Москвин
Санкт-Петербургский национальный исследовательскийуниверситет информационных технологий, механики и оптики
Email: moskvinln@yandex.ru
Россия, 197101, Санкт-Петербург, Кронверкский просп., 49
Н. М. Якимова
Санкт-Петербургский государственный университет
Автор, ответственный за переписку.
Email: moskvinln@yandex.ru
Россия, 199034, Санкт-Петербург, Университетская наб., 7/9
Список литературы
- Thiemann W., Wagner K.Z. // Naturf. 1963. Bd. 18a. S. 228.
- Константинов Б.П., Фикс В.Б. // Журн. физ. химии. 1964. Т. 38. № 6. С. 1647.
- Москвин Л.Н., Катрузов А.Н., Гурский В.С. // Радиохимия. 1987. Т. 29. № 4. С. 515.
- Yoshinobu Y. // J. of Nuclear Science and Technology. 1969. V. 6. № 12. P. 698.
- Zenzai K. // Progress in Nuclear Energy. 2008. V. 50. P. 494.
- Kim D. // J. of Radioanalytical and Nuclear Chem. 1991. V. 150. № 2. P. 417.
- Patent 20130233720 A1 United States, C25C 5/02 C25C 7/00, 205/341 Extraction of Metals / Martoyan G.A., applicant and inventor Martoyan G.A. № 2013/0233720 A1, Apl. No. 13/663,418, Filed 29.10.2012, publ. date 12/09/2013. 11 p.
- Martoyan G.A. // IOP Conf. Series: Materials Science and Engineering. 2016. № 112.
- Габриелян А.В., Казарян М.А., Мартоян А.Г. и др. // Альтернативная энергетика и экология (ISJAEE). 2018. Т. 22–24. С. 107.
- Проблемы аналитической химии. Т. 18. Капиллярный электрофорез / Под ред. Л.А. Карцовой. 2014. М.: Наука, 444 с.
- Kamencev M., Yakimova N., Moskvin L. et al. // Electrophoresis. 2015. V. 36. P. 3014. https://doi.org/10.1002/elps.201500399
- Kamencev M., Yakimova N., Moskvin L. et al. // Ibid. 2016. V. 37. P. 3017. https://doi.org/10.1002/elps.201600265
Дополнительные файлы











