Кинетика окисления алюминиевого проводникового сплава AlTi0.1 с кальцием, в твердом состоянии
- Authors: Ганиев И.Н.1, Файзуллоев Р.Д.2, Зокиров Ф.Ш.1, Махмадизода М.М.1
-
Affiliations:
- Таджикский технический университет имени академика М.С. Осими
- Институт энергетики Таджикистана
- Issue: Vol 98, No 1 (2024)
- Pages: 81-89
- Section: CHEMICAL KINETICS AND CATALYSIS
- Submitted: 19.07.2024
- Accepted: 19.07.2024
- Published: 19.07.2024
- URL: https://journal-vniispk.ru/0044-4537/article/view/259800
- DOI: https://doi.org/10.31857/S0044453724010123
- EDN: https://elibrary.ru/SFMVHS
- ID: 259800
Cite item
Full Text
Abstract
Решение многих задач современной техники связано с использованием материалов, обладающих высоким сопротивлением окислению. Поэтому изучение взаимодействия кислорода с металлами и сплавами приобрело большое значение в связи с широким применением в последнее время в различных областях науки и техники новых материалов с особыми физическими и химическими свойствами. В этом ряду отдельное место отводится сплавам алюминия с различными добавками. В работе представлены результаты термогравиметрического исследования взаимодействия алюминиевого проводникового сплава AlTi0.1 (Al+0.1 мас. % Ti), содержащего кальций, с кислородом воздуха в интервале 723–823 К, в твердом состоянии. Определены кинетические параметры процесса окисления. Показано, что добавки кальция до 0.5 мас. % увеличивают скорость окисления алюминиевого проводникового сплава AlTi0.1, что сопровождается снижением величины кажущейся энергии активации процесса окисления с 140.0 до 120.1 кДж/моль. Процесс окисления сплавов подчиняется гиперболическому уравнению.
Full Text
ВВЕДЕНИЕ
В последние годы существенно увеличивается применение алюминиевых сплавов электротехнического назначения взамен меди, что позволяет существенно снизить массу кабельной продукции [1].
Известно, что с точки зрения повышения электропроводности крайне нежелательно добиваться упрочнения алюминиевых сплавов путем образования в них твердых растворов. Тем не менее противоречивая природа прочности и электропроводности в данных материалах стимулирует к поиску баланса этих характеристик [2, 3].
К настоящему времени алюминий в значительной степени вытеснил медь из высоковольтных линий электропередач, даже несмотря на то, что вследствие низкой прочности алюминиевых проводов их приходится усиливать стальным сердечником. Алюминий также широко используется для изолированного силового кабеля, в частности в системах метрополитена и в элементах бытовых электросетей. В этом случае вместо замены медных проводов алюминием каждая жила провода заменяется отдельным алюминиевым проводником, полученным непрерывным методом литья и прокатки, а затем прокатанным до получения профиля в форме сектора круга, что упрощает производство кабеля и позволяет добиться экономии за счет уменьшения количества используемых изоляционных материалов. Тем не менее применение технически чистого алюминия ограничено в изделиях, эксплуатация которых требует повышенных значений предела прочности (sВ) [2].
Благодаря сочетанию малого веса, хорошей электропроводности и технологической пластичности, а также высокой стойкости к атмосферной коррозии алюминий и ряд сплавов на его основе достаточно широко используются в электротехнике, вытесняя более дорогие проводниковые материалы на основе меди [4, 5].
Одним из основных недостатков алюминиевых проводников является их низкая прочность в сравнении с медными. Для решения этой задачи традиционно используют такие подходы, как введение в конструкцию провода армирующего стального или композитного сердечника или легирование алюминия в определенных пропорциях магнием и кремнием, т.е. применение сплавов системы Al-Mg-Si [6, 7].
Еще одним недостатком проводников, выполненных из алюминия, является низкая устойчивость их прочностных характеристик к температурным воздействиям. Как правило, увеличение термостойкости проводников достигают введением в алюминий таких переходных металлов, как титан и цирконий, которые после специальной термической обработки образуют в матрице дисперсоиды Al3Ti (имеет гексагональную структуру типа Ni3Sn (символ Пирсона hP8, пр. гр. P63/mmc), a=0.5793 нм, c=0.4655 нм и являются сверхструктурой (αTi)); Al3Zr (имеет гексагональную структуру типа Al3Zr (символ Пирсона tI16, пр. гр. 14/mmm), a=0.4010 – 0.4013 нм, c=1.7315 – 1.732 нм), стабилизирующие микроструктуру и, как следствие, механические свойства, повышая температуру эксплуатации до 230 °С [4].
Однако вышеперечисленные традиционные подходы не позволяют, сохранив приемлемый уровень электропроводности, одновременно значительно повысить прочность алюминиевых проводников, приблизив ее к уровню медных материалов, а также увеличить температуру эксплуатации.
В этой связи создание алюминиевых сплавов, демонстрирующих, наряду с хорошей электропроводностью, высокую прочность и термостойкость, является весьма актуальной задачей современного материаловедения проводниковых материалов [5–7]. Современные работы направлены на улучшение прочности и термостойкости проводников за счет модифицирования химического состава переходными и редкоземельными металлами в сочетании с использованием семи методов деформационно-термической обработки (ДТО). В то же время в работах научного коллектива НИИ ФПМ УГАТУ было продемонстрировано, что гораздо более значительное повышение комплекса свойств проводниковых алюминиевых сплавов, например системы Al-Mg-Si, можно достичь за счет создания в них ультрамелкозернистой (УМЗ) структуры, используя интенсивную пластическую деформацию (ИПД). В частности, было показано, что помимо измельчения зерна и, соответственно, увеличения протяженности межзеренных границ ИПД позволяет эффективно управлять концентрацией атомов легирующих элементов в твердом растворе, плотностью дислокаций, вакансий, составом и размерами частиц вторых фаз, нанокластеров и зернограничных сегрегаций. Управление этими наноразмерными параметрами микроструктуры, помимо значительного упрочнения, может в той или иной степени одновременно оказывать положительное влияние на электропроводность УМЗ сплавов, а также определять уровень их термостойкости [7].
Повышение физико-механических, технологических и эксплуатационных свойств сплавов на основе алюминия происходит за счет дисперсного упрочнения и модифицирования структуры (измельчения литого зерна и перехода от дендритной к недендритной кристаллизации расплава). Для этих целей используют микролегирование и модифицирование переходными и редкоземельными металлами (Ni, Cr, Ti, Zr, Sc, Sr, Y, B и др.) [8–11]. При этом эффективность модифицирования напрямую зависит от дисперсности элементов-модификаторов в лигатуре. Для повышения дисперсности интерметаллидной фазы, содержащей переходные и редкоземельные металлы, обычно применяются методы получения лигатур, предусматривающие их быстрое и сверхбыстрое охлаждение.
Алюминий начинает активно окисляться при 660–680 К. Влияние исходного состояния и фазового состава оксидного слоя поверхности на кинетику окисления алюминия показано в работах [12–16]. В интервале температур 830–930 К небольшой скачок скорости окисления связан с растрескиванием защитной пленки оксида [13, 16], а также с рекристаллизацией металла. Дополнительным фактором, нарушающим защитные свойства пленки в указанном интервале температур, авторы работы [13] считают кристаллизацию аморфного оксида алюминия γ-Al2O3. Выше 973 К скорость окисления начинает резко возрастать. При этой температуре начинается фазовый переход γ-Al2O3 → α-Al2O3, сопровождающийся относительным объемным сжатием оксидной фазы [14]. Защитные свойства пленки снижаются, сплошность ее постоянно нарушается, металл начинает быстро окисляться, и удельная поверхность продуктов окисления возрастает [15, 16].
В литературе известно использование щелочноземельных металлов в качестве модификатора алюминиево-кремниевых сплавов [17, 18]. Подчеркивается их положительное действие на структуру и механические свойства алюминиевых сплавов. Однако нет сведений о влиянии кальция на физико-химические свойства алюминиево-титановых сплавов.
Цель данной работы состоит в исследовании влиянии добавки кальция на кинетику окисления алюминиевого проводникового сплава AlTi0.1 (Al + 0.1 мас. % Ti) в твердом состоянии. Данные о влиянии добавки кальция на кинетику окисления алюминиевого проводникового сплава AlTi0.1 на сегодняшний день в литературе отсутствует.
ЭКСПЕРИМЕНТАЛЬНАЯ ЧАСТЬ
Для исследования влияния добавок кальция в диапазоне 0.01–0.5 мас. % на кинетику окисления алюминиевого проводникового сплава AlTi0.1 в твердом состоянии были получены серии сплавов. Сплавы с кальцием получали при температурах 723–823 К в шахтной печи сопротивления типа СШОЛ в тиглях из оксида алюминия. Шихтовку сплавов проводили с учетом угара металлов. Сплавы для исследования получали из алюминия марки А5 (ГОСТ 110669-01), титана марки ТГ-90 (ГОСТ 19807-91) в виде лигатуры с алюминием (Al + 2.0 мас. % Ti) и кальция металлического марки КаМ-1 (ТУ 48-40-215-72) в виде лигатуры (Al + 10.0 мас. % Са).
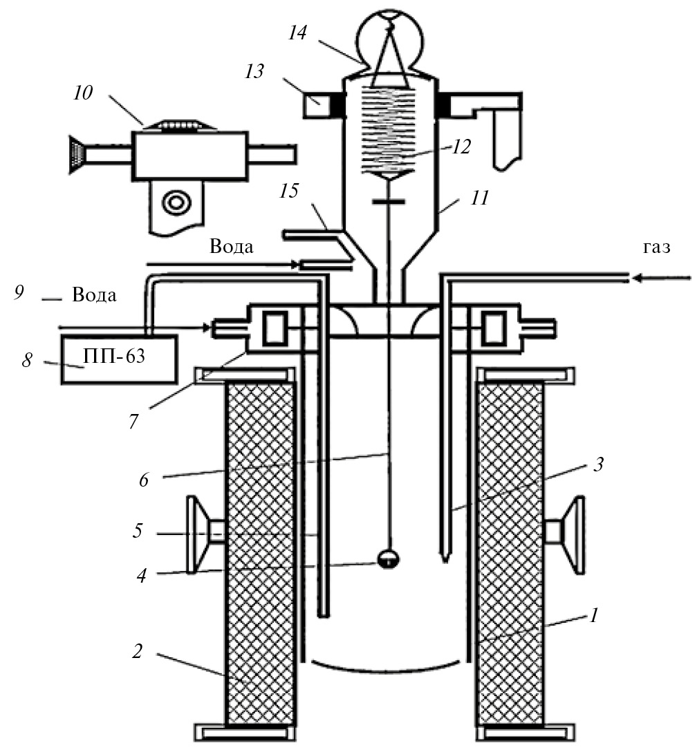
Кинетику окисления сплавов исследовали методом термогравиметрии в изотермических условиях в атмосфере воздуха по методике, описанной в работах [19–22]. Схема установки приведена на рис. 1. Основные части установки: печи Таммана (1) и ее чехол из оксида алюминия (2). При проведении экспериментов чехол в верхней части закрывают водоохлаждающими крышками (7). Крышки имеют отверстия для газопроводящей трубки (3), тигля (4), для образцов из сплавов и термопары (5). Образец подвешивают на платиновой нити (6) к пружине (12), изготовленной из молибденовой проволоки. Пружину калибруют предварительно и вводят в баллон из молибденового стекла (11) с притертой крышкой (14). Чехол с пружиной закрепляют на подставке (13), независимо от печи, для исключения вибрации и сотрясений. Для защиты весов от теплового излучения печи использовали трон и холодильник (15). По растяжению пружины с помощью катетометра КМ-8 осуществляется фиксация изменения массы образца. В данной работе использовали тигли из окиси алюминия диаметром 18–20 мм, высотой 25–26 мм. Перед опытом тигли прокаливали при 1273–1473 К в окислительной среде в течение 1.5 ч до постоянной массы. Окисление сплавов в твердом состоянии проводили на воздухе при постоянной температуре (723, 773 и 823 К).
Рис. 1. Схема установки для изучения кинетики окисления металлов и сплавов: 1 – печь Таммана, 2 – чехол из оксида алюминия, 3 – газопроводящая трубка, 4 – тигель, 5 – термопара, 6 – платиновая нить, 7 – водоохлаждаемая крышка, 8 – потенциометр, 9 – вода, 10 – катетометр, 11 – чехол из молибденового стекла, 12 – пружина из молибденовой проволоки, 13 – подставка, 14 – крышка, 15 – трон и холодильник.
Тигель с исследуемым металлом помещался в изотермической зоне печи. Температуру повышали со скоростью 2–3 К/мин. Перед разогревом печи катетометр настраивали на указатель пружины, записывали на шкале точки отсчета и в течение нагрева контролировали изменение массы образца. При достижении заданного режима записывали новую точку отсчета.
Температуру измеряли платино-платинородиевой термопарой, горячий спай которой находился на уровне поверхности образца. Точность измерения температуры составляла ± 2 К. Термометр помещали в чехол из оксида алюминия. Для стабильности показаний температуры холодный спай термостатировали при 273 К с помощью нуль-термостата марки «Нуль-В». В качестве прибора, регистрирующего температуру, использовали потенциометр ПП-63. По окончании опыта систему охлаждали, тигель с содержимым взвешивали и определяли реакционную поверхность.
Погрешность эксперимента может быть рассчитана из исходной формулы константы скорости окисления:
, (1)
где m – изменение массы металла; s – поверхность реагирования; t – продолжительность времени окисления [23].
Вычисленная относительная ошибка эксперимента складывается из суммы относительных ошибок
. (2)
Она составила:
[24–28].
Образовавшуюся оксидную пленку удаляли с поверхности образца и изучали ее фазовый состав методом РФА на автоматизированном приборе ДРОН-3М с использованием медного монохроматического излучения CuKα в угловом диапазоне 2θ от 10 до 40°. Измерение углов поворота осуществлялось с помощью гониометра, который имеет автоматическое устройство для отсчета углов. Импульсы регистрируются пересчетной системой, которая показывает значение интенсивности отраженного рентгеновского излучения пропорционально количеству его квантов и записывает их с помощью самописца на диаграммную ленту.
ОБСУЖДЕНИЕ РЕЗУЛЬТАТОВ
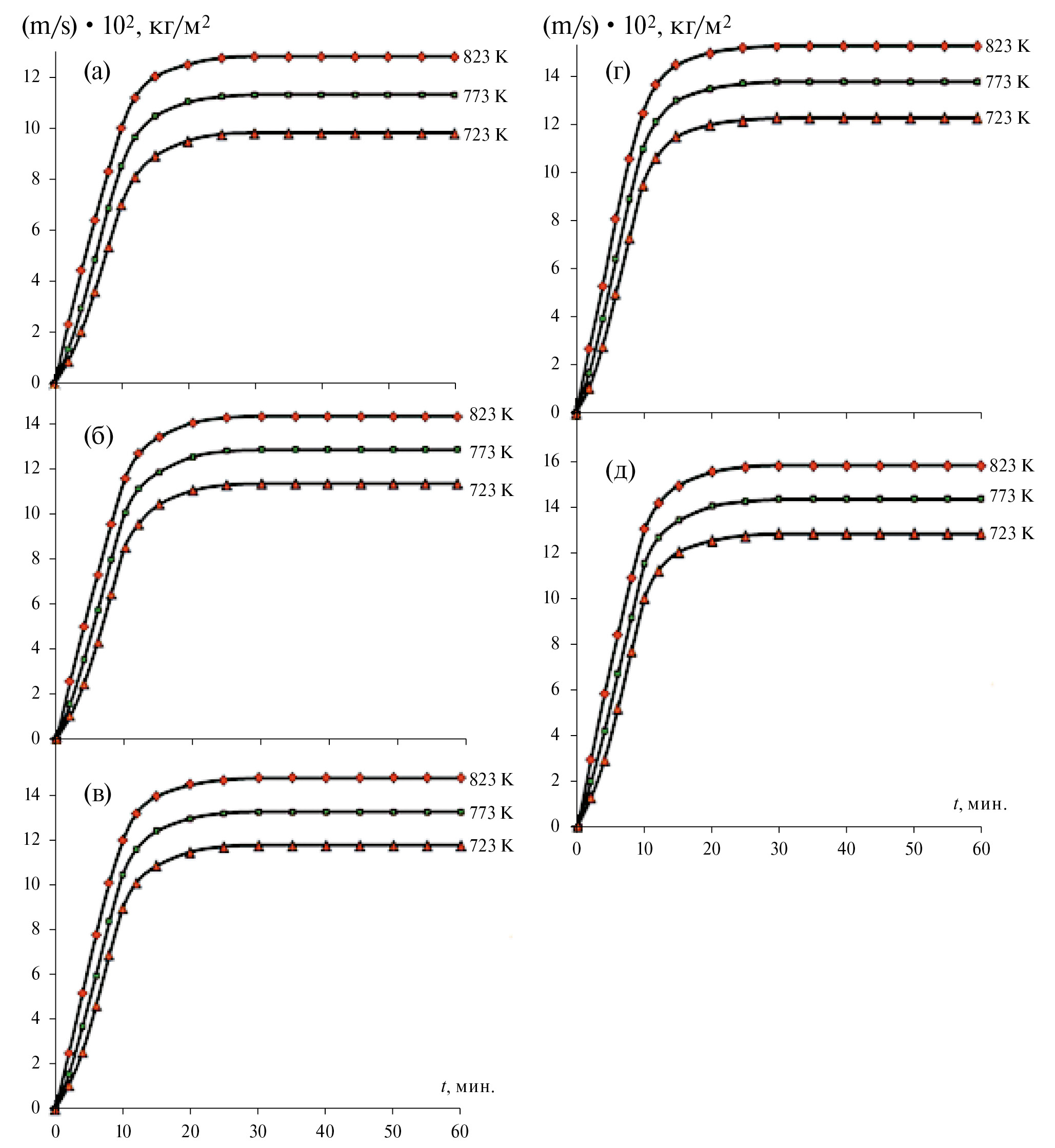
Для исследования кинетики окисления алюминиевого проводникового сплава AlTi0.1 с кальцием была синтезирована серия сплавов с содержанием кальция 0.01, 0.05, 0.1, 0.5 мас. %. Кинетические параметры процесса окисления сплавов приведены на рис. 2–4 и в табл. 1, 2.
Рис. 2. Кинетические кривые окисления алюминиевого проводникового сплава AlTi0.1 (а), содержащего кальций, мас. %: 0.01 (б); 0.05 (в); 0.1 (г) и 0.5 (д), в твердом состоянии.
Рис. 3. Квадратичные кинетические кривые окисления алюминиевого проводникового сплава AlTi0.1 (а), содержащего кальций, мас. %: 0.01 (б); 0.05 (в); 0.1 (г) и 0.5 (д), в твердом состоянии.
Рис. 4. Зависимости -lgК = f(1 / Т) для алюминиевого проводникового сплава AlTi0.1 (1), содержащего кальций, мас. %: 0.01 (2), 0.05 (3), 0.1 (4) и 0.5 (5).
Таблица 1. Кинетические характеристики процесса окисления алюминиевого проводникового сплава AlTi0.1 с кальцием, в твердом состоянии
ССа, мас. % | Т, К | К × 104, кг м-2 с-1 | Q, кДж/моль |
0.0 | 723 | 1.99 | 140.0 |
773 | 2.15 | ||
823 | 2.45 | ||
0.01 | 723 | 2.05 | 136.3 |
773 | 2.26 | ||
823 | 2.55 | ||
0.05 | 723 | 2.14 | 131.9 |
773 | 2.36 | ||
823 | 2.59 | ||
0.1 | 723 | 2.24 | 126.5 |
773 | 2.57 | ||
823 | 2.70 | ||
0.5 | 723 | 2.69 | 120.1 |
773 | 2.83 | ||
823 | 2.97 |
Обозначения: К — истинная скорость окисления, Q — кажущаяся энергия активации окисления, ССа — содержание кальция в сплаве.
Таблица 2. Полиномы квадратичных кинетических кривых окисления алюминиевого проводникового сплава AlTi0.1 с кальцием, в твердом состоянии
ССа, мас. % | Т, К | Полиномы квадратичных кинетических кривых окисления сплавов | R2 |
0.0 | 723 773 823 | m/s= –0.7 × 10–9t4 + 0.3 × 10–3t3 – 2.59 × 10–2t2 + 0.8798t m/s = –0.6 × 10–3t 4 + 0.6 × 10–3t 3 – 4 × 10–2t 2 + 1.1424t m/s = –0.6 × 10–6t 4 + 0.1 × 10–3t 3 – 5.8 × 10–2t 2 + 1.4507t | 0.979 0.985 0.995 |
0.01 | 723 773 823 | m/s =–0.6 × 10–2t 4 + 0.4 × 10–3t 3 – 3.35 × 10–2t 2 + 1.0636t m/s =–0.6 × 10–4t 4 + 0.7 × 10–3t 3 – 4.89 × 10–2t 2 + 1.3408t m/s =–0.6 × 10–7t 4 + 1.2 × 10–3t 3 – 6.77 × 10–2t 2 + 1.6587t | 0.977 0.985 0.994 |
0.05 | 723 773 823 | m/s = –0.6 × 10–2t 4 + 0.5 × 10–3t 3 – 3.73 × 10–2t 2 + 1.1414t m/s = –0.6 × 10–5t 4 + 0.8 × 10–3t 3 – 5.25 × 10–2t 2 + 1.4175t m/s = –0.6 × 10–8t 4 + 1.3 × 10–3t 3 – 7.27 × 10–2t 2 + 1.7535t | 0.976 0.984 0.993 |
0.1 | 723 773 823 | m/s = –0.6 × 10–3t 4 + 0.6 × 10–3t 3 – 4.12 × 10–2t 2 + 1.2196t m/s = –0.6 × 10–5t 4 + 0.9 × 10–3t 3 – 5.71 × 10–2t 2 + 1.5043t m/s = –0.6 × 10–8t 4 + 1.3 × 10–3t 3 – 7.62 × 10–2t 2 + 1.8247t | 0.976 0.985 0.993 |
0.5 | 723 773 823 | m/s = –0.6 × 10–3t 4 + 0.6 × 10–3t 3 – 4.4 × 10–2t 2 + 1.2854t m/s = –0.6 × 10–6t 4 + 0.1 × 10–3t 3 – 6.01 × 10–2t 2 + 1.5684t m/s = –0.6 × 10–9t 4 + 1.4 × 10–3t 3 – 8.02 × 10–2t 2 + 1.9024t | 0.975 0.986 0.994 |
Обозначения: ССа — содержание кальция в сплаве, Т — температура окисления, R2 – коэффициент регрессии, m/s — привес массы сплавов, кг/м2, t — продолжительность времени окисления, мин.
Характер кинетических кривых окисления исходного алюминиевого проводникового сплава AlTi0.1 показывает, что окисление в начальных стадиях протекает интенсивно, о чем свидетельствует рост величины удельной массы образцов (рис. 2а). Истинная скорость окисления алюминиевого проводникового сплава AlTi0.1 в зависимости от температуры изменяется в пределах от 1.99 × 10-4 до 2.45 × 10-4 кг м-2 с-1. Кажущаяся энергия активации процесса окисления, вычисленная по тангенсу угла наклона прямой зависимости -lgk – 1/Т, составляет 140 кДж/моль (табл. 1).
Окисление сплава AlTi0.1, содержащего 0.01 мас. % кальция, в твердом состоянии проводили при температурах 723К, 773К и 823К. Кинетические кривые окисления сплава приведены на рис. 2б. Скорость окисления сплава в зависимости от времени и температуры увеличивается. Однако рост величины удельной массы образца к 20 минутам приобретает значение, равное 14.85 × 10-2 кг/м2 при 823К. Далее рост удельной массы образцов замедляется и к 50 минутам становится постоянным. Кажущаяся энергия активации процесса окисления составляет 136.3 кДж/моль (табл. 1).
Легирование алюминиевого проводникового сплава AlTi0.1 0.1 и 0.5 мас. % кальцием способствует некоторому увеличению истинной скорости окисления (рис. 2, г, д) и, соответственно, уменьшению величины энергии активации окисления по сравнению со сплавом, содержащим 0.01 мас. % кальция. Так, если при температурах 723 К и 823 К значение истинной скорости окисления сплава, содержащего 0.01 мас. % кальция, изменяется от 2.0.5 × × 10-4 до 2.55 × 10-4 кг м-2 с-1 с энергией активации 136.3 кДж/моль, то при этих же температурах скорость окисления алюминиевого проводникового сплава AlTi0.1, содержащего 0.1 и 0.5 мас. % кальция, характеризуется величинами 2.24 × 10-4 до 2.70 × 10-4 кг м-2 с-1 и 2.69 × 10-4 до 2.97 × 10-4 кг м-2 с-1 . При этом значение кажущейся энергии активации составляет 126.5 и 120.1 кДж/моль соответственно (табл. 1).
Для определения механизма окисления сплавов кинетические кривые возводятся в квадратичный масштаб. Квадратичные кинетические кривые процесса окисления алюминиевого проводникового сплава AlTi0.1 с кальцием имеют не прямолинейный вид (рис. 3), что свидетельствует о непараболическом механизме окисления образцов. В табл. 2 приведены полиномы квадратичных кинетических кривых окисления сплавов, которые описываются общим уравнением y = kxn, где значения n = 1 ÷ 4. Видно, что квадратичные кинетические кривые описываются полиномом четвертой степени.
На рис. 4 приведена зависимость –lg(m/s) = f(1/Т) для алюминиевого проводникового сплава AlTi0.1 с кальцием, которая имеет линейный характер, а относящиеся к легированным кальцием сплавам линии располагаются выше линий для исходного алюминиевого проводникового сплава AlTi0.1. Сплавы с кальцием характеризуются более высоким значением истинной скорости окисления по сравнению с исходным алюминиевым проводниковым сплавом AlTi0.1. Этого и следует ожидать, так как суммарная скорость окисления определяется рядом процессов, различных по своей природе. Тем не менее можно проследить некоторые закономерности, характерные для окисления сплавов данной системы в твердом состоянии.
Прежде всего, скорость окисления сплавов растет с ростом температуры. Добавки кальция увеличивают окисляемость исходного сплава, что сопровождается падением кажущейся энергии активации процесса окисления алюминиевого проводникового сплава AlTi0.1 в твердом состоянии. Константы истинной скорости окисления при одинаковых температурах у алюминиевого проводникового сплава AlTi0.1 с 0.01, 0.05, 0.1 и 0.5 мас. % кальция несколько больше, чем у исходного сплава, и составляют ~10-4.
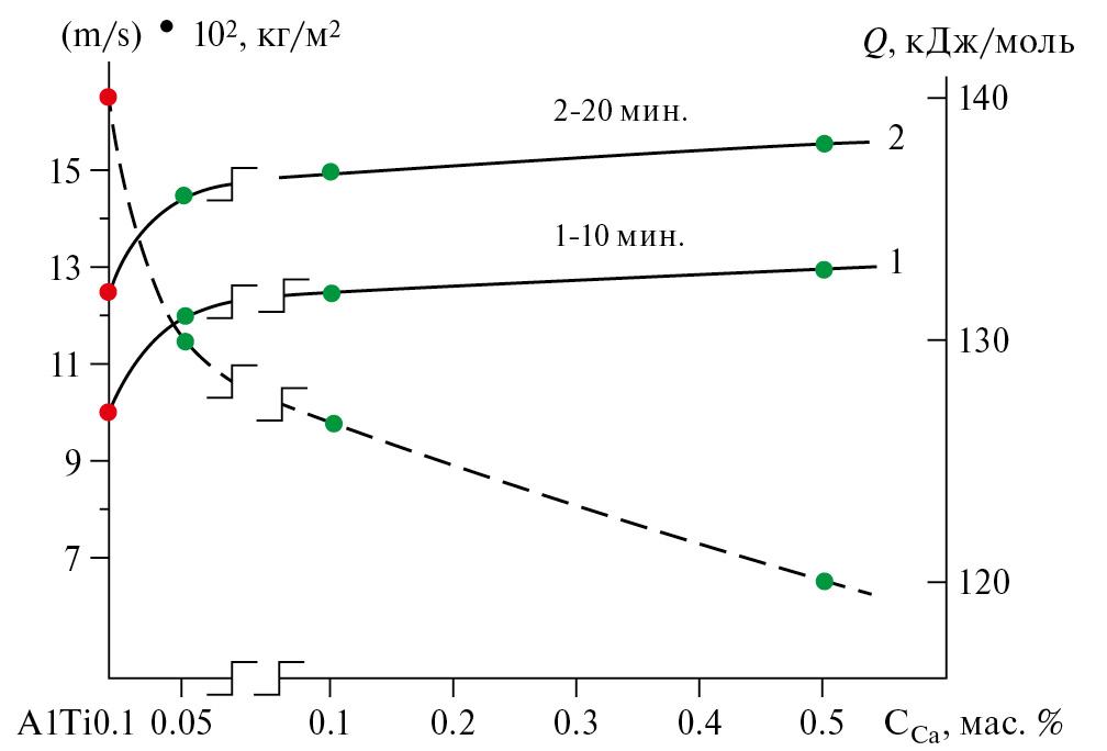
Изохронные окисления сплавов, соответствующие температуре 823 К, приведены на рис. 5. Отмечается тенденция к увеличению начальной скорости окисления по мере роста содержания кальция в сплаве до 0.5 мас. %, что сопровождается уменьшением кажущейся энергии активации процесса окисления.
Рис. 5. Изохронные окисления алюминиевого проводникового сплава AlTi0.1 с кальцием при 823 К.
ЗАКЛЮЧЕНИЕ
Как известно [19–23], легирующие элементы и примеси существенно влияют на кинетику окисления сплавов, состав оксидной пленки, что определяется физико-химическими свойствами элементов и их концентрацией в сплаве. Окисляемость сплавов увеличивают элементы с соотношением Пиллинга и Бедворса: VОК / VME < 1, где VОК молекулярный объем оксида; VME объем металла, затраченного на образование оксида. Особенно заметно это проявляется, если элемент поверхностно-активный, обладает высоким давлением пара и большим сродством к кислороду. На состав оксидной пленки сильно влияют металлы со свободной энергией образования оксидов больше соответствующей энергии оксида сплавообразующего элемента, отнесенной к молю кислорода. К таким металлам относятся щелочные и щелочноземельные металлы, которые имеют соотношение Пиллинга и Бедворса меньше 1 и являются поверхностно-активными [20–21].
В нашем случае оксид кальция, входя в состав продуктов окисления алюминиевого проводникового сплава AlTi0.1, нарушает сплошность оксидной пленки основного металла — алюминия.
По результатам рентгенофазового анализа (ДРОН-3М) продуктов окисления алюминиевого проводникового сплава AlTi0.1 установлено, что при окислении образуются оксиды следующих составов: TiO, TiO0.892, Ti6O, Al2O3, TiO2, Ti3O5, CaAl4O7, CaO2 (рис. 6).
Рис. 6. Дифрактограммы продуктов окисления алюминиевого проводникового сплава AlTi0.1 (а) с 0.5 мас. % кальцием (б).
Образующиеся с участием кальция как активного металла оксиды являются сложными шпинельными типами и увеличивают доступ кислорода к поверхности реагирования, в результате чего растет скорость окисления сплавов. Таким образом:
- методом термогравиметрии исследовано влияние добавки кальция на кинетику высокотемпературного окисления алюминиевого проводникового сплава AlTi0.1 при температурах 723, 773 и 823 K;
- установлены основные кинетические параметры окисления сплавов, и с их помощью показано, что с ростом температуры и количества кальция в сплаве скорость окисления увеличивается;
- показано, что механизм окисления сплавов описывается гиперболическим уравнением.
About the authors
И. Н. Ганиев
Таджикский технический университет имени академика М.С. Осими
Author for correspondence.
Email: ganievizatullo48@gmail.com
Tajikistan, Душанбе
Р. Дж. Файзуллоев
Институт энергетики Таджикистана
Email: ganievizatullo48@gmail.com
Tajikistan, Душанбе
Ф. Ш. Зокиров
Таджикский технический университет имени академика М.С. Осими
Email: ganievizatullo48@gmail.com
Tajikistan, Душанбе
М. М. Махмадизода
Таджикский технический университет имени академика М.С. Осими
Email: ganievizatullo48@gmail.com
Tajikistan, Душанбе
References
- ГОСТ Р МЭК 62004-2014. Проволока из термостойкого алюминиевого сплава для провода воздушной линии электропередачи. М.: «Стандартинформ», 2015.
- Polmear I.J. Light Alloys — From Traditional Alloys to Nanocrystalls. Fourth Edition. Australia, Melbourne: Monash University. 2006.
- Moors E.H.M. // J. of Cleaner Production. 2006. V. 14. P. 1121.
- Polmear I.J. Light Alloys — From Traditional Alloys to Nanocrystalls. Fourth Edition. Australia, Melbourne: Monash University. 2006.
- Moors E.H.M. // J. of Cleaner Production. 2006. V. 14. P. 1121.
- Sauvage X. // Acta Materialia. 2015. V. 98. P. 355.
- Murayama M. // Acta Materialia. 1999. V. 47. P. 1537.
- Brodova I.G., Polents I.V., Bashlikov D.V. // Nanostructured materials. 1995. V. 6. No 1–4. P. 477.
- Brodova I.G., Bashlikov D.V., Polents I.V. // J. materials science and engineering. 1997. V. 226–228. P. 136.
- Бродова И.Г., Ширинкина И.Г., Антонова О.Г. // ФММ Р. 2007. Т. 104. № 3. С. 1.
- Верховлюк А.М., Щерецкий А.А., Лахненко В.Л. и др. // Литье и металлургия. 2013. № 3 (72). С. 68.
- Локенбах А.К., Строд В.В., Лепинь Л.К. // Изв. АН ЛатССР. Сер. хим. 1981. № 1. С. 50.
- Шевченко В.Г., Кузнецов М.В., Еселевич Д.А. и др. // Физикохимия поверхности и защита материалов. 2012. Т. 48. № 6. С. 540.
- Thielle W. // Aluminium. 1962. V. 38. No 11. P. 707.
- Шевченко В.Г., Еселевич Д.А., Анчаров А.И., Толочко Б.П. // Физика горения и взрыва. 2014. Т. 50. № 6. С. 28.
- Стручева Н.Е., Картавых В.Д., Новоженов В.А. // Изв. АГУ. Раздел «Химия». 2010. № 3-2 (67). С. 177.
- Ганиев И.Н., Пархутик П.А., Вахобов А.В., Купрянова И.Ю. Модифицирование силуминов стронцием. Минск: Наука и техника, 1985. 152 с.
- Ганиев И.Н., Каргаполова Т.Б., Махмадуллоев Х.А., Хпкдодов М.М. // Литейное производство. 2001. № 10. С. 6.
- Войтович Р.Ф., Головко Э.И. Высокотемпературное окисление металлов и сплавов. Киев: «Наукова думка», 1980. 292 с.
- Кубашевский О., Гопкинс Б. Окисление металлов и сплавов. М.: «Металлургия», 1968. 428 с.
- Лепинских Б.М., Киташев А.А., Белоусов А.А. Окисления жидких металлов и сплавов. М.: «Наука», 1979. 116 с.
- Лепинских В.М., Киселев В.И. // Изв. АН СССР. Металлы. 1974. № 5. С. 51.
- Белоусова Б.Ш., Денисов В.М., Истомин С.А. и др. Взаимодействие жидких металлов и сплавов с кислородом. Екатеринбург: УрО РАН. 2002. 600 с.
- Ганиев И.Н., Ходжаназаров Х.М., Ходжаев Ф.К. // Журн. физ. химии. 2023. № 2. Т. 97. С. 216.
- Зокиров Ф.Ш., Ганиев И.Н., Сангов М.М., Бердиев А.Э. // Изв. Санкт-Петербургского государственного технологического института (Технического университета). 2020. № 55 (81). С. 28.
- Назаров Ш.А., Ганиев И.Н., Бердиев А.Э., Ганиева Н.И. // Металлы. 2018. № 1. С. 34.
- Зокиров Ф.Ш., Ганиев И.Н., Ганиева Н.И., Сангов М.М. // Вестн. Таджикского национального университета. 2018. № 4. С. 130.
- Джайлоев Дж.Х., Ганиев И.Н., Ганиева Н.И. и др. // Вестн. Сибирского гос. индустриального ун-та. 2019. № 4 (40). С. 34.
Supplementary files








