Адсорбционные и магнитные свойства Fe/MgAl2O4-катализатора гидрирования СО, промотированного самарием
- Autores: Панкина Г.В.1,2, Харланов A.Н.1, Чернавский П.А.1,2,3
-
Afiliações:
- Московский государственный университет имени М. В. Ломоносова
- Институт нефтехимического синтеза им. А. В. Топчиева РАН
- Институт органической химии им. Н. Д. Зелинского РАН
- Edição: Volume 98, Nº 8 (2024)
- Páginas: 30-42
- Seção: CHEMICAL KINETICS AND CATALYSIS
- ##submission.dateSubmitted##: 21.01.2025
- ##submission.dateAccepted##: 21.01.2025
- ##submission.datePublished##: 22.08.2024
- URL: https://journal-vniispk.ru/0044-4537/article/view/277615
- DOI: https://doi.org/10.31857/S0044453724080052
- EDN: https://elibrary.ru/PKLSKY
- ID: 277615
Citar
Texto integral
Resumo
Исследованы модифицированные самарием Fe-содержащие катализаторы на носителе – алюмо-магниевой шпинели (MgAl2O4). Сопоставлены данные по адсорбционным и восстановительным свойствам катализаторов магнитным методом in situ и методом ИК-спектроскопии адсорбированного СО. Методом ИК-спектроскопии адсорбированного СО показало, что основной формой Fe, образующего связь с СО, в не промотированном Fe/MgAl2O4, являются катионы Fe2+ как на поверхности оксида, так и на поверхности зародышей металлической фазы, а вклад комплексов с атомами Fe0 незначителен. Установлено, что промотирование самарием в соотношении Sm: Fe = 1:100 в катализаторе способствует эффективному восстановлению оксидов железа. Показано, что степень восстановления железа максимальна для катализатора, полученного нанесением самария на поверхность Fe-содержащего катализатора.
Texto integral
Синтез Фишера–Тропша (СФТ) считается ключевой технологией в химической промышленности, в процессе которого синтетический газ превращается в углеводороды с длинной цепью [1–3], Железосодержащие композиты, как одни из наиболее эффективных катализаторов, востребованы благодаря своей достаточной устойчивости, высокой активности и селективности по СО2 и относительно низкой стоимости [4, 5] Они должны отвечать таким основным требованиям, как, развитая удельная поверхность, высокая способность к восстановлению и оптимальный размер частиц металла.
Известно, что многие металлы оказывают промотирующее действие для железо нанесенных катализаторов. Например, присутствие калия в составе катализатора повышает активность и температуру начала восстановления Fe-содержащих катализаторов [6]. Промотирование марганцем повышает адсорбционную способность CO, что способствует образованию активных центров реакции гидрирования СО, а именно, карбида железа Fe5C2, активного центра СФТ [7].
В последние годы появились работы по использованию в качестве промоторов редкоземельных металлов. Результаты показали, что промоторы – оксиды редкоземельных металлов, таких как La, Ce, Nd, Eu и Th – могут увеличивать дисперсность и стабильность катализаторов на основе железа [8]. Введение небольших количеств редкоземельного металла положительно сказывается на производительности Fe-содержащих катализаторов, тогда как чрезмерное содержание промотора значительно ингибирует процесс СФТ [9, 10].
Ряд исследований было проведено с Sm и In в качестве промоторов Со- и Fe-содержащих катализаторов процесса восстановления СО2 до метана и углеводородов. Так, присутствие In (в количестве 3 мас. %) усиливало адсорбцию CO2 и повышало конверсию CO2 [11, 12]. Причем, процесс In2O3 → In → In2O3 оказал существенное влияние на окисление и карбонизацию α-Fe в ходе предварительного восстановления и в процессе реакции [12].
Промотирующий эффект самария в концентрации 10 мас. % Ni-SBA-15 катализатора реформинга метана исседовали в работе [13]. Результаты РФА и БET показали, что при добавлении более 0.5 мас. % Sm уменьшалась площадь поверхности катализатора и размер частиц, однако, повышалась активность и стабильность катализатора [13]. Среди промотированных катализаторов наибольшую каталитическую активность и стабильность показал 3 мас. % Sm-10Ni-SBA-15. Анализ методом ТПВ образца 3 мас. % Sm-10Ni-SBA-15 показал, что добавление Sm усиливает взаимодействие частиц NiO с носителем и способствует диспергированию частиц NiO, но также увеличивает количество отложившегося кокса [13].
В работе [14] исследованы FeMn-содержащие катализаторы СФТ, промотированные самарием методом соосаждения. Обнаружено, что по сравнению с не промотированным катализатором, FeMnSm-содержащий катализатор демонстрировал высокую удельную площадь поверхности. Кроме того, Sm может способствовать образованию Fe5C2, который является активной фазой синтеза ФТ. Самарий также может повышать основность катализаторов и подавлять способность к адсорбции H2, что ингибирует реакцию гидрирования и превращение олефинов в парафины. При оптимальном отношении Sm к Fe, составившим 1%, наблюдали повышение конверсии СО с 63.4 до 70.4% [14].
Цель настоящей работы состояла в изучении влияния Sm на поверхностные, адсорбционные и магнитные свойства катализаторов на основе Fe/MgAl2O4 реакции гидрирования СО, приготовленных различными методиками введения промотора в состав катализатора.
Экспериментальная часть
Приготовление катализаторов
Катализаторы готовили методами последовательной и совместной пропитки носителя – алюмо-магниевой шпинели – растворами Fe(NO3)3·9Н2О и Sm(NO3)3·6Н2О. Концентрация железа в получаемых сложных системах была постоянна и составляла 15 мас. %.
В качестве носителя использовали алюмо-магниевую шпинели вида AlxMgyOz фирмы “SASOL Germany GmbH” марки Puralox MG 30, Spinel(S) с Sуд. = 23 м2/г фракции с размером частиц <0.08 мм [15].
Катализаторы сушили при 80°C в течение 1 ч в роторном испарителе, а затем прокаливали в токе азота в программируемом режиме в течение 4 ч при 450°C (объемная скорость потока азота 1200 ч–1, скорость нагрева 8°C/мин). Процедуру сушки и отжига повторяли после каждого акта пропитки солями нитратов соответствующих металлов.
Методом последовательного нанесения были приготовлены две группы образцов. В первой группе железо наносилось на предварительно модифицированную самарием поверхность алюмо-магниевой шпинели (далее в тексте – нанесение железа поверх самария), во второй группе самарий наносился на поверхность готового железо содержащего катализатора (далее в тексте – нанесение самария поверх железа). В первом случае модифицированный носитель готовили следующим образом: алюмо-магниевую шпинель MgAl2O4 пропитывали водным раствором Sm(NO3)3·6Н2О заданной концентрации (из расчета 0.15 мас. % самария в готовом катализаторе). Затем носитель сушили в роторном испарителе в описанных выше условиях, после этого высушенный носитель помещали в кварцевый реактор с целью разложения нитрата самария. Прокаливание проводили в муфельной печи с использованием контроллера температуры при 450°C в течение 3 ч в температурно-программированном режиме (скорость нагрева 7°C/мин) в атмосфере азота (скорость потока газа составляла 10 мл/с). Приготовленный таким образом носитель затем пропитывали раствором Fe(NO3)3·9Н2О из расчета 15 мас. % Fe с последующими процедурами сушки и прокаливания в описанных выше условиях. Полученный таким методом катализатор обозначен как Fe/0.15Sm/S.
Не содержащий самария катализатор был приготовлен пропитыванием алюмо-магниевой шпинели раствором Fe(NO3)3·9Н2О из расчета 15 мас. % Fe в готовом катализаторе также с последующими процедурами сушки и прокаливания в описанных выше условиях. Катализатор обозначен как Fe/S.
При нанесении самария поверх железа катализатор Fe/S пропитывали раствором Sm(NO3)3·6Н2О из расчета 0.15 мас. % самария, сушили и прокаливали в тех же режимах. Катализатор обозначен как 0.15Sm/ Fe/S.
При совместном методе нанесения железа и самария носитель MgAl2O4 пропитывали смесью водных растворов Fe(NO3)3·9Н2О и Sm(NO3)3·6Н2О заданной концентрации (из расчета содержания Sm – 0.15 или 1.5 мас. %, железа 15 мас. %), сушили в роторном испарителе и прокаливали в описанном выше режиме. Катализаторы обозначены как (Fe+0.15Sm)/S, (Fe+1.5Sm)/S, соответственно.
Согласно данным [14] существует оптимальная концентрация модифицирующего элемента и увеличение его концентрации в системе может ухудшать ее адсорбционные и каталитические свойства. Для сравнения в дополнение к образцу с концентрацией самария 1.5% (совместным нанесением самария и железа на носитель) был приготовлен образец дополнительным нанесением 0.15% самария на поверхность системы (Fe+0.15Sm)/S. Этот образец обозначен как 0.15Sm/(Fe+0.15Sm)/S. Суммарная концентрация самария составила 0.3 мас. %.
Все образцы тщательно измельчали в агатовой ступке до порошкообразного состояния и отбирали фракции размером гранул < 0.08 мм.
ИК-спектральное исследование
Инфракрасные спектры диффузного отражения регистрировали на ИК- фурье-спектрометре EQUINOX 55/S (Bruker). Порошкообразную фракцию исследуемого образца помещали в кварцевую ампулу с окошком из CaF2 и прокаливали при температуре 400°С (1 ч на воздухе и 2 ч под вакуумом не хуже 5×10–5 Торр). Газообразный СО очищали перепусканием через ловушку с жидким азотом и длительно выдерживали над прокаленным цеолитом. Дифференциальные спектры адсорбированного СО получали вычитанием фонового спектра из экспериментального спектра образца, содержащего адсорбированный СО, с последующей коррекцией базовой линии в программе OPUS6.0 (Bruker). Для улучшения качества малоинтенсивных спектров осуществляли цифровое вычитание шума.
Магнитометрические измерения in situ
Магнитометрический метод включает температурно-программируемое восстановление в Н2 (ТПВ) с одновременной регистрацией намагниченности in situ и магнитную гранулометрию (зависимости намагниченности от величины магнитного поля). Образцы исследовали на оригинальном вибрационном магнитометре (лабораторная установка) в режиме in situ для измерения намагниченности ферромагнитных компонентов, образующихся в ходе химической реакции [16]. Железо обладает значительным магнитным моментом, что и обуславливает намагниченность образцов. В ходе восстановления в водороде при изменении температуры во времени намагниченность (J) изменяется, что позволяет следить за динамикой процесса восстановления во времени (dJ/dT), где температура линейно зависит от времени. При этом величина фиксируемой намагниченности пропорциональна концентрации ферромагнетика.
Катализаторы массой 20 мг восстанавливали в токе Н2 при нагреве до температуры 600°C и скорости нагрева 10°C/мин в измерительной ячейке вибрационного магнитометра. Ячейка вибрационного магнитометра представляла собой проточный кварцевый микрореактор объемом 0.3 см3, позволяющий изучать топохимические превращения в условиях in situ [16]. Исследуемый образец неподвижно фиксировали между двумя мембранами из пористого кварца и при нагреве непрерывно с частотой 1 Гц регистрировали изменение намагниченности. Перед каждым экспериментом магнитометр калибровали по эталону – образцу железа марки «ос.ч.». После восстановления образцы охлаждали в токе газа-восстановителя Н2 со скоростью 10°C/мин. Затем при комнатной температуре снимали зависимости намагниченности J от величины магнитного поля Н с целью определения намагниченности насыщения Js, остаточной намагниченности Jr и коэрцитивной силы Нс.
Катализаторы массой 20 мг также восстанавливали в токе Н2 при нагреве до температуры 400°C и скорости нагрева 10°C/мин, а затем следили за изменением намагниченности в изотермических условиях при Т=400°C.
Обсуждение результатов
Магнитометрический метод in situ применяли для выяснения влияния присутствия Sm на восстановительную способность железа. При помощи метода магнитометрии можно охарактеризовать процессы, протекающие как на поверхности, так и в объеме катализатора.
На рис. 1а приведены зависимости намагниченности J от температуры Т при восстановлении катализаторов Fe/S, Fe/0.15Sm/S, (Fe+0.15Sm)/S, (Fe+1.5Sm)/S, 0.15Sm/Fe/S и 0.15Sm/(Fe+0.15Sm)/S в водороде. На рис. 1б приведены начальные участки этих зависимостей. Из представленных данных видно, что намагниченность восстановленных катализаторов, промотированных Sm, в 1.5–2 раза выше не промотированного Fe/S, а следовательно, выше и их степень восстановления. Причем, в линейке промотированных Sm катализаторов наиболее эффективно восстанавливаются катализаторы 0.15Sm/Fe/S и Fe/0.15Sm/S. Кроме того, наименьшая температура начала восстановления Т и температура максимума Тmax наблюдаются для системы 0.15Sm/Fe/S, которые составляют 267°C и 300°C соответственно (рис. 1, кривая 3, табл. 1). На рис. 2а приведены зависимости изменения степени превращения α-гематита в магнитную фазу от времени t для катализаторов, а на рис. 2б – начальные участки этих зависимостей. Примечательно, что для 0.15Sm/Fe/S имеет место ярко выраженная стадия образования вюстита – плато, следовательно, восстановление происходит по упрощенной схеме: Fe2O3 → FeO → Fe. Ранее показано [16], что восстановление гематита в системах с нанесенным железом традиционно происходит по схеме: Fe2O3 → Fe3O4 → FeO → Fe.
Рис. 1. Зависимости намагниченности J от температуры Т при восстановлении катализаторов в водороде (а) и начальный участок этих зависимостей (б) для: Fe/S (1), (Fe+1.5Sm)/S (2), 0.15Sm/Fe/S (3), Fe/0.15Sm/S (4), (Fe+0.15Sm)/S (5) и 0.15Sm/(Fe+0.15Sm)/S (6).
Рис. 2. Зависимости изменения степени превращения α от времени t (а) и начальный участок этих зависимостей (б) для: 0.15Sm/Fe/S (1), Fe/0.15Sm/S (2), (Fe+0.15Sm)/S (3), (Fe+1.5Sm)/S (4).
Таблица 1. Магнитные параметры исследованных катализаторов
Катализатор | Т0, °C | Тmax, °C | Js, эл. магн. ед/г | Jr, эл. магн. ед/г | Hc, Э | γ1 | γ2 |
Fe/S | 300 | 380 | 15.3 | ||||
(Fe+1.5Sm)/S | 290 | – | 27.0 | 9.5 | 579 | 0.7 | 0.3 |
0.15Sm/Fe/S | 267 | 300 | 27.7 | 11 | 639 | 0.8 | 0.2 |
Fe/0.15Sm /S | 285 | 345 | 27.0 | 8.9 | 631 | 0.66 | 0.34 |
(Fe+0.15Sm)/S | 278 | 332 | 22.6 | 8.2 | 598 | 0.73 | 0.27 |
0.15Sm/(Fe+0.15Sm)/S | 295 | 345 | 26.9 | 9.0 | 552 | 0.67 | 0.33 |
Обозначения: Т0 – температура начала восстановления оксидов железа, Тmax – температура в точке максимума кривой восстановления, Js – намагниченность насыщения, Jr – остаточная намагниченность, Hc – коэрцитивная сила, γ1 – доля не суперпарамагнитных частиц в системе, равная 2 Jr/Js, γ2 – доля суперпарамагнитных частиц в системе, равная 1–2 Jr/Js.
Для определения магнитных характеристик систем был применен метод магнитной гранулометрии. Для восстановленных в Н2 катализаторов проводили измерения намагниченности от величины магнитного поля J – Н и имеющих вид петли гистерезиса. Из петли гистерезиса определяли коэрцитивную силу Нс, намагниченность насыщения Js и остаточную намагниченность Jr. Величину магнитного поля Н изменяли в диапазоне от 300 Э до ± 8 кЭ. Намагниченность насыщения находили путем экстраполяции намагниченности к нулевому полю и, полагая намагниченность насыщения массивного Fe Js = 218±2 эл. магн. ед/г, рассчитывали содержание восстановленного железа в образце с учетом массы навески (табл. 1). Известно, что отсутствие коэрцитивной силы (Нс = 0) или гистерезиса свидетельствует о наличии в системе исключительно суперпарамагнитных частиц железа [16]. Ранее нами методом просвечивающей электронной микроскопии было показано, что для системы Fe/S (15 мас. % Fe) средний размер частиц восстановленного железа составляет 9.0 нм [17]
В работе [18] показано, что коэрцитивная сила экстремально (параболически) зависит от размера частиц Fe, причем максимуму коэрцитивной силы Нс соответствует dкр. = 20 нм (рис. 3). При размерах частиц железа dср. ≤ 20 нм область средних размеров частиц Fe лежит в левой части параболы, а именно, в области суперпарамагнитных и однодоменных частиц. Для таких частиц справедливо отношение:
g = 2Jr/Js,
где Jr – остаточная намагниченность, Js – намагниченность насыщения, а γ– доля не суперпарамагнитных частиц в системе [16]. Магнитные параметры приведены в табл. 1.
Рис. 3. Величина удельной поверхности и объем частиц металлического железа для полученных образцов: – SFe×10–1 м2/г, – VFe×104 см3/г.
Анализ этих данных показывает, что в промотированных самарием катализаторах велика доля не суперпарамагнитных частиц по отношению к доле суперпарамагнитных. Так, для 0.15Sm/Fe/S соотношение γ1:γ2 = 4:1, что свидетельствует о наличии в системе большой доли однодоменных (более крупных) частиц с 7 нм < dср. < 20 нм, процесс восстановления которых начинается раньше и протекает легче, чем мелких частиц. Показательно, что для 0.15Sm/Fe/S температура составляет 267°C и отмечена наибольшая величина Нс = 639 Э. Для сравнения для Fe/S Тнач. восст.= 300°C. Доля крупных частиц железа растет в ряду: Fe/0.15Sm/S < 0.15Sm/(Fe+0.15Sm)/S < (Fe+1.5Sm)/S < (Fe+0.15Sm)/S < 0.15Sm/Fe/S.
Удельную площадь поверхности железа рассчитывали по формуле:
Sуд. = 6M/rd,
где М – соответствующая масса Feo в граммах на грамм катализатора, ρ – плотность железа, равная 7.8 г/см3, dср. – средний размер частиц железа, равный 9 нм [18]. Из предположения сферической формы частиц Fe при заданном условии d = 9 нм рассчитаны величины удельной поверхности и удельного объема, а также количество (%) восстановленного железа в Н2 в изотермических условиях Т=400°C, приведенные в табл. 2.
Таблица 2. Содержание и расчетные величины удельной поверхности SFе и удельного объема VFe частиц металлического железа на грамм катализатора
Катализатор | mFe, г/г | SFe, м2/г | VFe ×103, cм3/г | % Fe, при Т=400°C |
Fe/S | 0.07 | 11.9 | 0.18 | 8.0 |
(Fe+1.5Sm)/S | 0.12 | 20.4 | 0.306 | 4.0 |
0.15Sm/Fe/S | 0.13 | 22.1 | 0.33 | 12.0 |
Fe/0.15Sm /S | 0.12 | 20.4 | 0.306 | 6.0 |
(Fe+0.15Sm)/S | 0.10 | 17 | 0.25 | 9.0 |
0.15Sm/(Fe+0.15Sm)/S | 0.10 | 17 | 0.25 | – |
При промотировании самарием в концентрации 0.15 мас. % всеми использованными методами происходит увеличение как удельной поверхности, так и удельного объема металлического железа. Для наглядного представления эти данные представлены в виде гистограммы на рис. 3. При этом параметры увеличиваются максимально для способа последовательного нанесения самария поверх железа (0.15Sm/Fe/S). Для этого образца также отмечено максимальное содержание железа после его восстановления в изотермических условиях (12%), тогда как при нанесении железа поверх самария (Fe/0.15Sm/S) содержание железа после восстановления составляет 6%. При промотировании катализаторов самарием в концентрации 1.5% и 0.3% содержание железа после восстановления минимально (4%) (табл. 2).
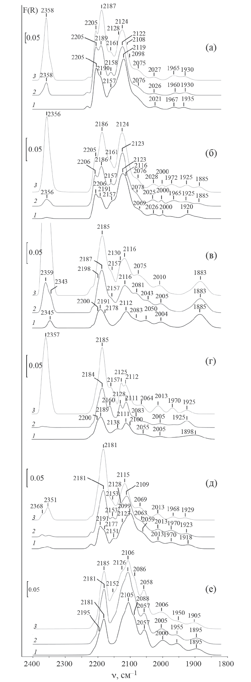
Для определения структурного и электронного состояния катионов и атомов железа на поверхности был использован метод ИК-спектроскопии адсорбированного СО. Использование СО в качестве молекулы-зонда позволяет дифференцировать катионы в различной степени окисления, определять их электроноакцепторные свойства и оценивать их координационное окружение. Кроме того, СО является одним из реагентов в реакции СФТ, что позволяет нам используя СО одновременно как восстановитель и как зонд, чтобы исследовать начальный этап восстановления железа на поверхности катализаторов. Спектры адсорбированного при комнатной температуре СО образованы суперпозицией нескольких полос поглощения (пп). После длительной экспозиции на воздухе основной железосодержащей фазой является оксид железа Fe2O3. Однако, согласно данным литературных источников [19–21], катионы Fe3+ не образуют карбонильных комплексов, т. к. эти катионы находятся в координационно насыщенном состоянии и не способны образовывать устойчивых при комнатной температуре комплексов с молекулами со слабыми электронно-донорными свойствами. Поэтому наблюдаемые в высокочастотной области спектра полосы поглощения относят к карбонильным комплексам с координационно ненасыщенными (КН) катионами Fe2+.
На рис. 4а приведены разностные ИК-спектры СО, адсорбированного при комнатной температуре и давлениях 5, 20 и 50 Торр на поверхности катализатора Fe/S. Спектры образованы суперпозицией нескольких групп полос поглощения (пп). В высокочастотной области спектра наблюдается суперпозиция, образованная пп 2205 см–1 карбонильных комплексов с изолированными катионами Fe2+ [19], 2190–2187 см–1 отвечающая адсорбции СО на кластерах типа [FeOFe]2+ [22]. Полосу 2157–2161 см–1 мы относим к комплексам с катионами железа, входящими в алюминат железа [22, 23]. В низкочастотной области спектра наблюдается интенсивная суперпозиция нескольких пп с максимумом при 2119–2124 см–1. Полоса 2119–2124 см–1 может быть отнесена к адсорбции СО на структурах типа Fe2+–O в окружении атомов металлического железа [23]. Одновременно можно выделить небольшой вклад пп 2128–2130 см–1, относимой к тетракарбонильным формам адсорбции на Fe+[24]. Как было показано в [25], такое электронное состояние железа может быть стабилизировано карбонильным окружением. На склоне интенсивной пп 2119–2124 см–1 выделяется слабый вклад пп 2108 см–1 и 2098 см–1, которые также могут быть отнесены к адсорбции на кластерах типа Fe2+–O в окружении атомов Fe0, по-видимому, отличающихся локальным окружением [25]. Малоинтенсивная пп при 2075 см–1 относится к комплексам типа Fe0–O, а 2021–2027 см–1 – к адсорбции на атомах Fe0[23]. Наблюдаются также пп суб-карбонильных форм адсорбции СО с частотами 1960–1967 и 1930–1935 см–1 [19].
Рис. 4. Разностные ИК-спектры СО, адсорбированного при комнатной температуре на катализаторах: Fe/S (а), 0.15Sm/Fe/S (б), Fe/0.15Sm/S (в), (Fe+0.15Sm)/S (г), (Fe+1.5Sm)/S (д), 0.15Sm/(Fe+0.15Sm)/S (е). Давление СО: 5 (1), 20 (2), 50 Торр (3).
Таким образом основной формой железа, образующего связь с СО, являются катионы Fe2+ как на поверхности оксида (пп 2205–2187 см–1) так и на поверхности зародышей металлической фазы (пп 2119–2098 см–1). Вклад комплексов с атомами железа Fe0незначителен.
Введение самария нанесением на сформировавшуюся поверхность оксида железа (0.15Sm/Fe/S) приводит к уменьшению интенсивности всех пп карбонильных комплексов (рис. 4б). Заметно уменьшается вклад пп 2205–2206 см–1 комплексов с изолированными КН Fe2+ и пп 2186–2191 см–1 комплексов с кластерами [FeOFe]2+ на поверхности оксида по отношению к интенсивности пп комплексов с Fe2+ в металлическом окружении (суперпозиция пп 2123–2124 и 2116 см–1). Полосы поглощения, характерные для комплексов с Fe0и субкарбонильные формы адсорбции вносят такой же вклад, как и для образца без самария. Следовательно, введение самария уменьшает количество центров адсорбции, связанных с оксидом железа по отношению к количеству центров адсорбции на зародышах металлической фазы на поверхности.
Нанесение железа на предварительно модифицированный аналогичным количеством самария носитель (Fe/0.15Sm/S) приводит к значительному изменению вида спектра адсорбированного СО по сравнению с адсорбцией на Fe/S (рис. 4в). Существенно уменьшается вклад комплексов с изолированными КН катионами Fe2+. Основной вклад вносят пп 2185–2191 см–1 комплексов с кластерами [FeOFe]2+ и 2178 см–1 комплексов с кластерами [FeO]2+ [22, 25]. Можно выделить вклад пп 2157 см–1, которая значительно уширена. Мы считаем, что наблюдаемая пп является суперпозицией. Полоса поглощения при 2112–1216 см–1 значительно уширена за счет вклада пп при 2130 см–1, относимой нами к тетракарбонилам на Fe+. Заметно больший вклад вносят пп 2075–2081 и 2043–2050 см–1, соответствующие комплексам с Fe2+ и Fe0 на зародышах металлической фазы соответственно, и пп 2004–2010 см–1 комплексов СО с атомами Fe0. Заметно больше также вклад пп субкарбонильных форм адсорбции с частотой при 1885 см–1.
В итоге, для этой системы характерно меньшее количество изолированных катионов (характерных для окисленного состояния железа) и большее металлической фазы по сравнению с Fe/S и 0.15Sm/Fe/S. Уширение наблюдаемых полос поглощения указывает на неоднородность структуры поверхности. Вклад пп субкарбонильных форм адсорбции СО указывает на присутствие крупных частиц металлического железа. Это хорошо согласуется с данными магнитометрии – для этого образца наблюдается наибольшее содержание крупных частиц металлического железа после восстановления в изотермических условиях. Можно ожидать, что и в слабо восстановительной среде термовакуумной обработки доля крупных частиц восстановившегося железа для этого образца должно быть больше.
При совместном нанесении железа и самария (система (Fe+0.15Sm)/S) вклад комплексов с изолированными КН Fe2+ также незначителен (рис. 4г). Основной вклад вносит пп 2180–1289 см–1 комплексов с [FeOFe]2+. При малых заполнениях заметна пп 2200 см–1. Мы относим эту пп к комплексам с изолированными катионами Fe2+, однако частота ее существенно ниже, чем для комплексов на поверхности ранее рассмотренных систем. Также присутствует пп 2157–2160 см–1 комплексов на алюминате железа. В низкочастотной части спектра наблюдаются две хорошо разрешенные пп 2125–2128 и 211–2112 см–1, которые могут быть отнесены к тетракарбонилам на Fe+и комплексам с Fe2+–O на зародышах металлической фазы. В то же время вклад комплексов с Fe0(пп 2055–2064 см–1 комплексов на кластерах Fe0–O и 2005–2013 см–1 – комплексов с Fe0на зародышах металлической фазы) заметно ниже. Однако вклад субкарбонильных форм адсорбции СО в спектре больше, чем для систем Fe/S и 0.15Sm/Fe/S, но меньше, чем для системы Fe/0.15Sm/S. Можно предположить, что на поверхности присутствуют частицы металлического железа более крупные, чем в первых двух образцах и менее крупные, чем в последнем. Это согласуется с данными магнитометрии.
Для всех образцов наблюдается интенсивная пп 2355–2365 см–1 координированных катионами Fe2+ молекул СО2. Диоксид углерода может образовываться в результате окисления СО адсорбированным кислородом и кислородом гидроксильных групп [19]. Наиболее значительный вклад СО2 наблюдается для образца Fe/0.15Sm/S.
Таким образом, модифицирование поверхности шпинели самарием перед нанесением железа, как и совместное нанесение железа и самария оказывает существенное влияние на свойства поверхности полученных систем. Отметим, что в случае нанесения железа на модифицированный носитель получается поверхность более реакционно способная в реакции окисления СО при комнатной температуре. Адсорбционные свойства системы, полученной модифицированием уже сформированной поверхности железа – 0.15Sm/Fe/S – наоборот, наиболее близки к свойствам не модифицированной системы.
Сравним катализаторы, полученные по одной методике, но различающиеся концентрацией самария в 10 раз – образцы (Fe+0.15Sm)/S и (Fe+1.5Sm)/S. Для обоих образцов вклад пп комплексов с изолированными Fe2+ незначителен (рис. 4д–е). Однако, для системы (Fe+1.5Sm)/S в низкочастотной области суперпозиция полос шире, и если при малых заполнениях доминирует суперпозиция пп с максимумом при 2099 см–1 (преимущественный вклад карбонильных комплексов с Fe2+–O), то с увеличением давления СО вклад этой пп снижается и доминирует пп при 2115 см–1, которая также соответствует аналогичным структурам. Вероятно, происходит перестройка локального окружения катионов в присутствии карбонильных комплексов. Также при увеличении концентрации самария в 10 раз уменьшается вклад в спектр пп комплексов СО с Fe0 (пп 2065 см–1 и ниже).
Другой способ увеличения концентрации самария в системе – нанесение дополнительной концентрации Sm на поверхность – система 0.15Sm/(Fe+0.15Sm)/S – дает схожий эффект, однако для этой системы вклад пп комплексов СО с Fe0выше, чем для (Fe+1.5Sm)/S. Эти результаты согласуются с данными магнитометрии – доля восстановленного железа после восстановления в изотермических условиях для этих двух образцов минимальна. Интенсивность пп координированного поверхностью СО2 для этих образцов также заметно ниже.
Дополнительную информацию об изменении основных свойств кислорода поверхности под воздействием модифицирования можно получить из анализа продуктов реакции СО. Заметим, что одновременно с появлением полос поглощения карбонильных комплексов при адсорбции СО появляются новые пп в области ниже 1700 см–1. Эти пп характеризуют колебания связей в поверхностных карбонатно-карбоксилатных соединениях, которые формируются в результате реакции адсорбированного на поверхности СО при комнатной температуре (рис. 5). Согласно данным [22] возможно несколько путей образования карбонатоподобных структур на поверхности: через диссоциацию СО на небольших частицах Fe0, через реакцию СО с гидроксильными группами с образованием СО2 [CO+OHads → CO2+1/2H2] или через образование формиата [CO+OHads → HCOOads] [26]. Формирование карбонатов, как правило, не влияет на спектр карбонильных комплексов [27].
Рис. 5. Разностные ИК-спектры карбонатоподобных структур, возникающих в атмосфере СО: Fe/S (а), 0.15Sm /Fe/S (б), Fe/0.15Sm /S (в), (Fe+0.15Sm)/S (г), (Fe+1.5Sm)/S (д), 0.15Sm/(Fe+0.15Sm)/S (е). Давление СО – 50 Торр.
Поскольку карбонаты образуются в результате реакции СО на поверхности, интенсивность наблюдаемых полос поглощения зависит как от концентрации поверхностного кислорода, так и от реакционной способности поверхности. Поэтому значимой для нас информацией является только соотношение интенсивностей полос, которое корректно отражает соотношение концентраций различных форм кислорода поверхности, вступающих в реакцию.
Так как в спектре наблюдаются интенсивные полосы поглощения СО2, координированного катионами поверхности, можно предположить, что основным путем образования карбонатов является взаимодействие адсорбированного диоксида углерода с анионами кислорода поверхности. В то же время, нельзя исключать, что еще одним путем образования карбонатов является образование карбоксилат-иона на частицах металлического железа с последующей его миграцией на поверхность оксида.
При взаимодействии формируются несколько типов карбонатоподобных структур (табл. 3). Взаимодействие с сильноосновным кислородом сопровождается образованием симметричных карбонатов, для которых характерна одна пп при 1420–1425 см–1. Кроме этого, формируются еще несколько типов карбонатов: мондентатный с расщеплением между компонентами Δν ~ 100–190 см–1 и бидентатные карбонаты, характеризующиеся расщеплением между компонентами: Δν ~ 220–250 см–1, Δν ~ 320–440 см–1 (табл. 3). С уменьшением основности кислорода поверхности увеличивается величина расщепления в дублете [19, 27, 28].
Таблица 3. Спектральные проявления и типы карбонатных соединений, образующихся на поверхности катализаторов
Положение полос дублета ν, см–1 | Расщепление Δν, см–1 | Интерпретация |
Fe/S | ||
1423 1460, 1385 1526*, 1340–1360 1565*, 1307 1610*, 1195–1290 1640 | 75 166–186 258 320–445 | симметричный монодентатный –“– бидентатный –“– бикарбонат*** |
0.15Sm/Fe/S | ||
1423 1490, 1380 1530*, 1350 1562*, 1322 1622*, 1220–1285 | 110 150 240 337–402 | симметричный монодентатный –“– бидентатный –“– |
Fe/0.15Sm/S | ||
1425 1488, 1370 1565*, 1320–1338 1610*, 1175–1282 1650 | 118 227–245 | симметричный монодентатный бидентатный –“– бикарбонат*** |
(Fe+0.15Sm)/S | ||
1425 1452, 1387 1527*, 1340–1367 —-, 1308 1605*, 1200–1260 1650–1680 | 65 160–187 - 344–400 | симметричный монодентатный –“– бидентатный** –“– бикарбонат*** |
(Fe+1.5Sm)/S | ||
1420 1500, 1380 1530*, 1330–1350 1560*, 1305 1605*, 1170–1275 | 120 180–200 225 330–435 | симметричный монодентатный –“– бидентатный –“– бикарбонат*** |
1640 | ||
0.15Sm/(Fe+0.15Sm)/S | ||
1415 1453, 1375 1565*, 1330–1353 1615*, 1270–1185 | 78 212–235 345–430 | симметричный монодентатный бидентатный –“– |
*Наблюдаемую широкую полосу мы рассматриваем как суперпозицию нескольких полос.
**Положение одной из компонент дублета определить невозможно, отнесение сделано по аналогии с другими образцами.
***Присутствие бикарбонатов подтверждается одновременным появлением в спектре слабой полосы ОН-групп при 3615–3620 см–1.
Нанесение самария на сформированную поверхность оксида железа сопровождается увеличением относительного вклада симметричных карбонатов и уменьшением вклада монодентатных, что свидетельствует об усилении основных свойств кислорода поверхности. Введение самария путем предварительного модифицирования носителя и совместным нанесением не оказывает значимого влияния на основные свойства. С другой стороны, введение самария в концентрации 1.5 мас. % или нанесение дополнительного его количества наоборот, несколько понижает основные свойства поверхности.
Таким образом, для Fe-содержащих катализаторов, промотированных самарием последовательным и совместным способами введения показано, что при соотношении Sm: Fe = 1:100 процесс восстановления оксидов железа до железа протекает более полно. Степень восстановления максимальна для 0.15Sm/Fe/S катализатора. Методом ИК-спектроскопии адсорбированного СО показало, что основной формой Fe, образующего связь с СО после термовакуумной обработки в не промотированном Fe/S, являются КН катионы Fe2+ как на поверхности оксида, так и на поверхности зародышей металлической фазы, а вклад комплексов с атомами железа Fe0незначителен. Введение Sm нанесением на сформировавшуюся поверхность железа (0.15Sm/Fe/S) приводит к уменьшению количества оксида железа по отношению к количеству зародышей металлической фазы на поверхности катализатора, отношение γ1:γ2 = 4:1. и Нс составляет 639 Э
Для образца, полученного нанесением железа на модифицированную самарием шпинель (Fe/0.15Sm/S) наблюдается уменьшение вклада комплексов с изолированными КН катионами Fe2+ и основной вклад вносят комплексы с кластерами [FeOFe]2+ и [FeO]2+. Уширение пп указывает на неоднородность структуры поверхности. Модифицирование поверхности шпинели самарием с последующим нанесением железа оказывает более заметное влияние на свойства поверхности катализаторов. Количество восстановившегося железа для этого образца наибольшее как по данным магнитометрии, так и по данным ИК-спектроскопии адсорбированного СО. Отношение γ1:γ2 = 2:1. и Нс составляет 631 Э.
Согласно полученным данным, как магнитным методом in situ так и методом ИК-спектроскопии адсорбированного СО установлено, что промотирование самарием системы Fe/шпинель способствует восстановлению железа независимо от способа его введения. Однако, на основании данных табл. 1, очевидно, восстановление катализаторов, полученных совместным и последовательным промотированием самария, эффективнее за счет имеющего место процесса адсорбции водорода.
Основными центрами адсорбции СО являются КН катионы железа и атомы металлического железа. Магнитометрические данные в основном подтвердили результаты метода ИК-спектроскопии. Однако, следует учитывать, что полученные методом ИК-спектроскопии данные соответствуют начальному этапу восстановления в относительно мягких условиях термовакуумной обработки и отражают процессы исключительно на поверхности и в приповерхностном слое катализаторов. В то же время данные метода магнитометрии способны отражать процессы, происходящие также в объеме системы. Введение Sm в систему Fe/S влияет на текстуру катализаторов, а именно увеличивает как удельную площадь поверхности, так и удельный объем частиц Fe.
Положительное влияние самария на способность железа к восстановлению можно объяснить следующим образом: присутствие Sm усиливает диссоциативную адсорбцию СО и ингибируют адсорбцию Н2. Очевидно, перенос электронов между самарием и железом помогает увеличить поверхностную плотность заряда атомов железа [14]. Самарий также может способствовать образованию – карбида Хэгга Fe5C2 в реакции гидрирования СО, что приводит к высокой активности процесса [7]. Присутствие Sm, видимо, увеличивает плотность поверхностного заряда железа, что усиливает связь Fe-C и способствует стабильности и диссоциированной адсорбции СО. Введение оптимального количества Sm повышает основность катализаторов, что способствует образованию более легких олефинов [14].
Таким образом, данные по адсорбционным и восстановительным свойствам катализаторов магнитным методом in situ и методом ИК-спектроскопии показало сопоставимые результаты по способности к восстановлению активной фазы катализатора и, как следствие, зависимости от поверхностных свойств, в частности, от адсорбционных свойств катализаторов процесса гидрирования СО. Промотирование самарием катализирует процесс восстановления Fe/S в водороде. Свойства поверхности, в частности, адсорбционные свойства катализатора, сильно влияют на способность к восстановлению активной фазы катализатора и, как следствие, на каталитическую активность и селективность процесса гидрирования СО.
Работа выполнена с использованием оборудования ЦКП «Нанохимия и наноматериалы» при Химическом факультете МГУ имени М. В. Ломоносова при финансовой поддержке Минобрнауки РФ в рамках Госбюджетной темы: «Физикохимия поверхности, адсорбция и катализ» ААА-А21-121011990019-4.
Sobre autores
Г. Панкина
Московский государственный университет имени М. В. Ломоносова; Институт нефтехимического синтеза им. А. В. Топчиева РАН
Autor responsável pela correspondência
Email: pankina5151@inbox.ru
Химический факультет
Rússia, 119992, Москва; 119991, МоскваA. Харланов
Московский государственный университет имени М. В. Ломоносова
Email: kharl@kge.msu.ru
Химический факультет
Rússia, 119992, МоскваП. Чернавский
Московский государственный университет имени М. В. Ломоносова; Институт нефтехимического синтеза им. А. В. Топчиева РАН; Институт органической химии им. Н. Д. Зелинского РАН
Email: pankina5151@inbox.ru
Химический факультет
Rússia, 119992, Москва; 119991, Москва; 119991, МоскваBibliografia
- Garcilaso V., Barrientos J., Bobadilla L.F. et al. // Renewable Energy. 2019. V.132. P. 1141.
- Janardanarao M. // Ind. Eng. Chem. Res. 1990. V.29. P. 1735.
- Schulz H. // Appl. Catal. A. 1999. V.186. P. 3.
- Liu Q.-Y., Shang C., Liu Z.-P. // J. Phys. Chem. Lett. 2022. V.13. № 15. P. 3342.
- Liu B., Li W., Zheng J. et al. // Catal. Sci. Technol. 2018. V.8. P. 5288.
- Ngantsouehoc W., Zhang Y.Q., O’Brien R. J. et al. // Appl. Catal. A. 2002. V.236. P. 77.
- Li J.B., Ma H.F., Zhang H.T. et al. // Fuel Process. Technol. 2014. V.125. P. 119.
- Wang D.Z., Cheng X.P., Huang Z.E. et al. // Appl. Catal. 1991. V.77. P. 109.
- Han W., Wang L., Li Z. et al. // Appl. Catal. A. 2019. V.572. P. 158.
- Zhou X.-L., Felcher G.P., Chen S.-H. // Phys. B. 1991. V.173. P. 167.
- Bavykina A., Yarulina I., Gevers L. et al. // ACS Catal. 2019. V.9. N.8. P. 6910
- Lin J., Li B., Cao J. et al. // J. of CO2 Utilization. 2022. V.65. P. 102243.
- Taherian Z., Yousefpour M., Tajally M., Khoshandam B. // Microporous and Mesoporous Materials. 2017. V.251. P. 9
- Han Z., Qian W., Ma H. et al. // RSC Advances. 2019. V.9. P. 32240.
- Панкина Г.В., Шумянцев А.В., Черняк С.А., Лунин В.В. // Кинетика и катализ. 2019. Т. 60. № 5. С. 665.
- Чернавский П.А., Панкина Г.В., Лунин В.В. // Успехи химии. 2011. Т. 80. № 6, С. 605.
- Chernavskii P.A., Pankina G.V., Kazantsev R.V. et al. // Energy Technology. 2020. V.8. N.5. P. 1901327.
- Sort J., Surinach S., Munoz J.S. // Phys. Rev. B: Condens. Matter. 1997. V.68. Р.014421
- Davydov A. Molecular spectroscopy of oxide catalyst surfaces. Willey. 2003. 668 p.
- Angell C., Schaffer P.C. // J. Phys. Chem. 1966. V. 70. P. 1413.
- Ballivet-Tkatchenko D., Coudurier G. // Inorg. Chem. 1979. V.18. P. 558.
- Couble J., Bianchi D. // Applied Catalysis A: Gen. 2011 V. 409–410. P. 28.
- Wielers A.F.H., Kock A.J.H.M., Hop C.E.C.A. et al. // J. Catal. 1989. V.117. P.l.
- Mihaylov M., Ivanova E., Chakarova K. et al. // Applied Catalysis A: Gen. 2011 V.391. P. 3.
- Fellah M.F. // J. Phys. Chem. C. 2011. V.115. P. 1940.
- Bianchi D., Chafik T., Khalfallah M., Teichner S.J. // Appl. Catal. A: Gen. 1993 V.105 P. 223.
- Давыдов А.А., Шепотько М.Л., Будиева А.А. // Кинетика и катализ. 1994. Т. 35. № .2. С. 299.
- Davydov A.A., Shepotko M.L., Budneva A.A. // Catalysis Today. 1995. V.24. P. 225.
Arquivos suplementares







