Calculation of a Strong Resonance Condition in a Hamiltonian System
- Autores: Batkhin A.B.1,2, Khaidarov Z.K.3
-
Afiliações:
- Keldysh Institute of Applied Mathematics, Russian Academy of Sciences
- Moscow Institute of Physics and Technology
- Samarkand State University
- Edição: Volume 63, Nº 5 (2023)
- Páginas: 697-714
- Seção: General numerical methods
- URL: https://journal-vniispk.ru/0044-4669/article/view/136122
- DOI: https://doi.org/10.31857/S0044466923050071
- EDN: https://elibrary.ru/PJRPGA
- ID: 136122
Citar
Texto integral
Resumo
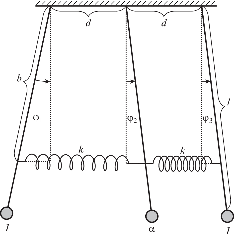
A method for symbolic computation of a condition of existence of a third- and fourth-order resonance for investigations of formal stability of an equilibrium state of a multiparameter Hamiltonian system with three degrees of freedom in the case of general position is proposed. This condition is formulated in the form of zeros of a quasi-homogeneous polynomial of the coefficients of the characteristic polynomial of the linear part of the Hamiltonian system. Computer algebra (Gröbner bases of elimination ideals) and power geometry (power transformations) are used to represent this condition for various resonance vectors in the form of rational algebraic curves. Given a linear approximation of the characteristic polynomial in the space of its coefficients, these curves are used to obtain a description of a partition of the stability domain into parts in which there are no strong resonances. An example of a description of resonance sets for a two-parameter pendulum-type system is given. All computations are carried out in the computer algebra system Maple.
Palavras-chave
Sobre autores
A. Batkhin
Keldysh Institute of Applied Mathematics, Russian Academy of Sciences; Moscow Institute of Physics and Technology
Email: batkhin@gmail.com
125047, Moscow, Russia; 141701, Dolgoprudnyi, Moscow oblast, Russia
Z. Khaidarov
Samarkand State University
Autor responsável pela correspondência
Email: zafarxx@gmail.com
140104, Samarcand, Uzbekistan
Bibliografia
- Брюно А. О типах устойчивости в системах Гамильтона // Препринты ИПМ им. М.В. Келдыша. 2020. № 21. С. 1–24.
- Зигель К., Мозер Ю. Лекции по небесной механике. Ижевск: НИЦ “Регулярная и хаотическая динамика”, 2001. 384 с.
- Маркеев А.П. Точки либрации в небесной механике и космодинамике. М.: Наука, 1978. 352 с.
- Moser J.K. New aspects in the theory of stability of Hamiltonian Systems // Comm. Pure Appl. Math. 1958. V. 11. № 1. P. 81–114.
- Батхин А.Б., Хайдаров З.Х. Сильные резонансы в нелинейной системе Гамильтона // Препринты ИПМ им. М.В. Келдыша. 2022. № 59. С. 1–28.
- Батхин А.Б., Брюно А.Д., Варин В.П. Множества устойчивости многопараметрических гамильтоновых систем // Приклад. матем. и мех. 2012. Т. 76. № 1. С. 80–133.
- Калинина Е.А., Утешев А.Ю. Теория исключения: Учеб. пособие. СПб: Изд-во НИИ химии СПбГУ, 2002. 72 с.
- Basu S., Pollack R., Roy M.-F. Algorithms in Real Algebraic Geometry. Algorithms and Computations in Mathematics 10. Berlin–Heidelberg–New York: Springer-Verlag, 2006. ix p.
- Брюно А.Д. Аналитическая форма дифференциальных уравнений (II) // Тр. ММО. 1972. Т. 26. С. 199–239.
- Биркгоф Д.Д. Динамические системы. Ижевск: Изд. дом “Удмуртский университет”, 1999. 408 с.
- Брюно А.Д. Ограниченная задача трех тел: Плоские периодические орбиты. М.: Наука, 1990. 296 с.
- Bruno A.D., Batkhin A.B. Survey of eight modern methods of Hamiltonian mechanics // Axioms. 2021. V. 10. № 4. https://www.mdpi.com/2075-1680/10/4/293.
- Брюно А.Д. О формальной устойчивости систем Гамильтона // Матем. заметки. 1967. Т. 1. № 3. С. 325–330.
- Журавлев В.Ф., Петров А.Г., Шундерюк М.М. Избранные задачи гамильтоновой механики. М.: -ЛЕНАНД, 2015. 304 с.
- Кокс Д., Литтл Д., О’Ши Д. Идеалы, многообразия и алгоритмы. Введение в вычислительные аспекты алгебраической геометрии и коммутативной алгебры. М.: Мир, 2000. 687 с.
- Батхин А.Б. Резонансное множество многочлена и проблема формальной устойчивости // Вестн. ВолГУ. Сер. 1. Матем. Физ. 2016. № 4 (35). С. 5–23.
- Батхин А.Б. Параметризация множества, определяемого обобщенным дискриминантом многочлена // Программирование. 2018. № 2. С. 5–17.
- Брюно А.Д., Солеев А. Локальная униформизация пространственной кривой и многогранники Ньютона // Алгебра и анализ. 1991. Т. 3. № 1. С. 67–102.
- Брюно А.Д., Азимов А.А. Вычисление унимодулярных матриц степенных преобразований // Программирование. 2023. № 1. С. 38–47.
- Маркеев А.П. О движении связанных маятников // Нелинейная динамика. 2013. Т. 9. № 1. С. 27–38.
Arquivos suplementares





