Parameters of Pressure Waves during the Rupture of Underwater Gas Pipelines
- Authors: Sumskoi S.I.1, Sof’in A.S.2, Zainetdinov S.K.2, Agapov A.A.2, Safonov V.S.3
-
Affiliations:
- National Research Nuclear University MEPhI (Moscow Engineering Physics Institute)
- ZAO Scientific and Technical Center of Industrial Safety
- Gazprom VNIIGAZ
- Issue: Vol 42, No 8 (2023)
- Pages: 61-67
- Section: Combustion, explosion and shock waves
- URL: https://journal-vniispk.ru/0207-401X/article/view/139945
- DOI: https://doi.org/10.31857/S0207401X23080101
- EDN: https://elibrary.ru/IHFVJM
- ID: 139945
Cite item
Full Text
Abstract
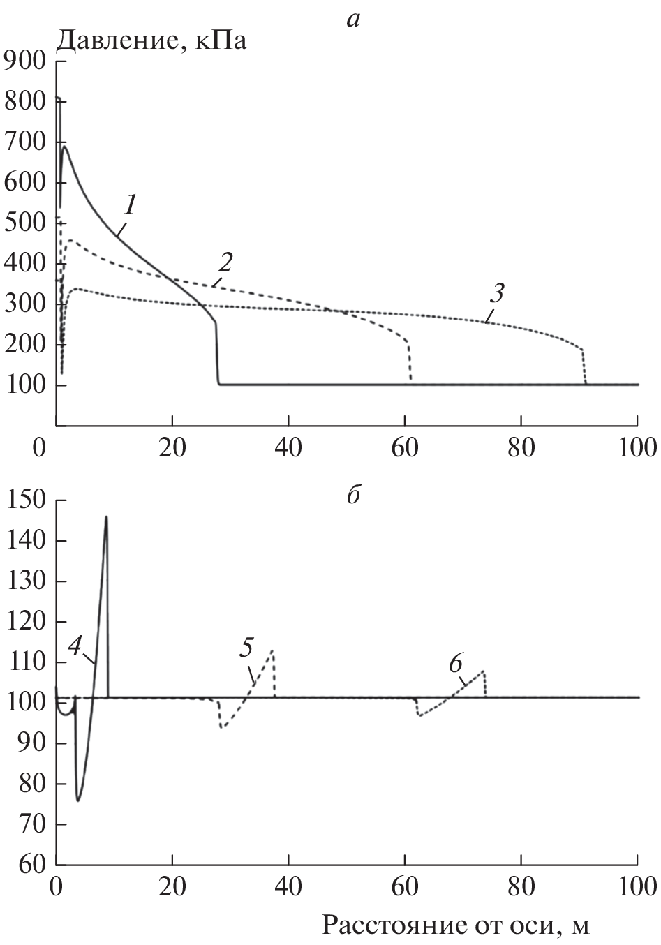
This paper carries out a numerical study of the parameters of the shock waves (SWs) generated during the expansion of cylindrical volumes of compressed methane in the case when the compressed gas is in water. This problem simulates the rupture of underwater gas pipelines. Compressed methane is considered at a pressure of 10.1 MPa, which is typical for trunk pipeline systems. The dependences of pressure on the distance from the axis of the pipeline in waves in the surrounding water mass are obtained. At the same time, a hump-shaped profile characteristic of cylindrical geometry is observed in the SWs in water. The interaction of the waves at the exit to the free surface and when traversing the steel layer is considered.
About the authors
S. I. Sumskoi
National Research Nuclear University MEPhI (Moscow Engineering Physics Institute)
Email: sumskoi@mail.ru
Moscow, Russia
A. S. Sof’in
ZAO Scientific and Technical Center of Industrial Safety
Email: sumskoi@mail.ru
Moscow, Russia
S. Kh. Zainetdinov
ZAO Scientific and Technical Center of Industrial Safety
Email: sumskoi@mail.ru
Moscow, Russia
A. A. Agapov
ZAO Scientific and Technical Center of Industrial Safety
Email: sumskoi@mail.ru
Moscow, Russia
V. S. Safonov
Gazprom VNIIGAZ
Author for correspondence.
Email: sumskoi@mail.ru
pos. Razvilka, Moscow oblast, Russia
References
- Сумской С.И., Софьин А.С., Зайнетдинов С.Х., Агапов А.А. // Хим. физика. 2020. Т. 39. № 8. С. 28.
- Aгaпoв A.A., Софьин А.С., Сумской С.И., Зайнетдинов С.Х. // Сб. науч. тр. VI Междунар. конф. “Лазерные, плазменные исследования и технологии – ЛАпЛАЗ-2020”. М.: НИЯУ МИФИ, 2020. С. 446.
- Софьин А.С., Сумской С.И., Зайнетдинов С.Х. // Там же. С. 462.
- Замышляев Б.В., Яковлев Ю.С. Динамические нагрузки при подводном взрыве. Л.: Судостроение, 1967.
- Коул Р. Подводные взрывы. М.: Изд-во иностр. лит., 1950.
- Физика взрыва. Т. 1. М.: Физматлит, 2004.
- Ганага С.В., Ковалёв С.А. // Применение методов математического моделирования и информатики для решения задач газовой отрасли: сб. науч. статей. М.: Газпром ВНИИГАЗ, 2012. С. 148.
- Сафонов B.C., Ганага С.В. // Вести газовой науки. 2013. № 3 (14). С. 212.
- Сумской С.И., Зайнетдинов С.Х., Софьин А.С., Лисанов М.В., Агапов А.А. // Там же. 2020. № 3 (45). С. 72.
- Садовский М.А. Физика взрыва. Сб. № 1 научно-исследовательских работ в области физики взрыва. М.: Изд-во АН СССР, 1952.
- Адушкин В.В., Коротков А.И. // ЖПМТФ. 1961. № 5. С. 119.
- Kingery C.N., Bullmash G. Air Blast Parameters from TNT Spherical Air Burst and Hemispherical Surface Burst. Tech. Rep. ARBRL-TR 02555, US Army, Ballistic Res. Lab., Aberdeen Proving Ground, MD, 1985.
- Бейкер У., Кокс П., Уэстайн П. и др. Взрывные явления. Оценка и последствия: В 2-х кн. Кн. 1. Пер. с англ. / Под ред. Зельдовича Я.Б., Гельфанда Б.Е. М.: Мир, 1986.
- СТО Газпром 2-2.3-351–2009. Методические указания по проведению анализа риска для опасных производственных объектов газотранспортных предприятий ОАО “Газпром”. М.: ООО “Газпром экспо”, 2009.
- Braise W.C., Simpson D.W. // Loss Prevention. 1968. V. 2. P. 91.
- Prugh R.W. // Proc. Intern. Conf. Vapor Cloud Modeling. Cambridge, MA, 1987. P. 712.
- Harvey B.H. Second Report of the Advisory Committee on Major Hazards. London: HM Stationery Office, 1979.
- Harris R.J., Wickens M.J. Understanding Vapor Cloud Explosions – An Experimental Study. Comm. 1408. London: Inst. Gas Engineers, 1989.
- Михалкин В.Н., Сумской С.И., Тереза А.М. и др. // Хим. физика. 2022. Т. 41. № 8. С. 3.
- Сумской С.И., Софьин А.С., Зайнетдинов С.Х., Лисанов М.В., Агапов А.А. // Хим. физика. 2023. Т. 42. № 3. С. 63.
- Борисов А.А., Гельфанд Б.Е., Губин С.А., Одинцов В.В., Шаргатов В.А. // Хим. физика. 1986. Т. 5. № 5. С. 435.
- Benson D.J. // Хим. физика. 2006. Т. 25. № 6. С. 70.
- Гельфанд Б.Е., Губин С.А., Михалкин В.Н., Шаргатов В.А. // Хим. физика. 1984. Т. 3. № 3. С. 435.
- Sumskoi S.I., Sofyin A.S., Agapov A.A., Zainetdinov S.Kh. // J. Phys.: Conf. Ser. V. 1686. 2020. C. 012085.
Supplementary files








