Особенности горения в системе 2Co–Ti–Al и свойства полуметаллического ферромагнитного сплава Гейслера Co2TiAl
- Авторы: Бусурина М.Л.1, Сычёв А.Е.1, Вадченко С.Г.1, Карпов А.В.1
- 
							Учреждения: 
							- Институт структурной макрокинетики и проблем материаловедения им. А.Г. Мержанова Российской академии наук
 
- Выпуск: Том 43, № 8 (2024)
- Страницы: 24-30
- Раздел: Горение, взрыв и ударные волны
- URL: https://journal-vniispk.ru/0207-401X/article/view/280179
- DOI: https://doi.org/10.31857/S0207401X24080039
- ID: 280179
Цитировать
Полный текст
Аннотация
Методом высокоскоростной видеосъемки исследовано горение в системе 2Co–Ti–Al. Установлено, что горение происходит во фронтальном режиме. Определены параметры процесса. Максимальная скорость роста температуры горения с момента инициирования до максимального значения достигала 2.7 · 104 К/с. Рассчитанная по видеозаписи скорость распространения фронта составила 9.4 см/с. Обнаружен микроочаговый режим горения реакционного состава. Исследованы температурные зависимости удельного электросопротивления и магнитного момента синтезированного в режиме горения однофазного продукта Co2TiAl. Для синтезированного образца Co2TiAl значение температуры Кюри составляет Tс = (120 ± 5) К, а удельное электросопротивление при комнатной температуре – 1.35 мкОм ⋅ м. Показано, что электрические и магнитные свойства сплава Co2TiAl, полученного в режиме горения, аналогичны свойствам сплавов, полученных методом дуговой плавки.
Полный текст
1. ВВЕДЕНИЕ
Соединения на основе тройных интерметаллидных систем активно исследуются как для разработки конструкционных материалов – биологических имплантов [1, 2], так и для создания “полуметаллических ферромагнетиков” [3, 4]. Одним из перспективных соединений на основе тройной интерметаллидной системы Сo–Ti–Al является сплав Гейслера Co2TiAl [5–7].
Интерметаллиды на основе тройной системы Сo–Ti–Al получают различными способами [8–10]. В большинстве случаев для получения объемных поликристаллических образцов Co2TiAl используют метод дуговой плавки. Альтернативой этому длительному и энергоемкому процессу выступает метод самораспространяющегося высокотемпературного синтеза (СВС), который довольно широко изучен в практике создания интерметаллидных материалов, как бинарных, так и тройных систем [11, 12].
Реакции синтеза интерметаллических соединений из элементов в режиме СВС являются высокоэкзотермическими. Различают две основные формы экзотермических превращений – в режиме теплового взрыва и в режиме послойного горения. Режим теплового взрыва характеризуется протеканием реакции во всем объеме реакционной системы при достижении критических условий [10]. В режиме послойного (фронтального) горения химическая реакция после ее локального инициирования самопроизвольно перемещается по веществу в виде узкой зоны. Развитие цифровых технологий скоростной видеосъемки (на сегодняшний день уже разработаны видеокамеры со скоростью съемки 1012 кадров/с [13]) позволяет экспериментально исследовать процессы горения и выявлять новые механизмы структурообразования и режимы распространения волны горения. Так, например, в работах [14–16] использование обработки видеоизображений высокоскоростной микровидеозаписи позволило определить условия существования микрогетерогенного режима горения и показать, что на параметры горения значительное влияние оказывает не только размер частиц (масштаб гетерогенности), но и в большей степени – относительная плотность образца (через контактное термическое сопротивление частиц), а также значения тепло- и температуропроводности компонентов реакционной смеси. Высокоскоростная видеозапись была использована для получения данных по растеканию расплава титана по углеродному материалу (ориентированный пиролитический графит) и образованию продукта реакции [17].
Цели настоящей работы – экспериментальное исследование процесса горения в порошковых смесях системы 2Co+Ti+Al с помощью метода скоростной киносъемки; определение температурной динамики в локальной точке и скорости распространения фронта; изучение микроструктуры, фазового состава, электрических и магнитных свойств синтезированного продукта.
2. ЭКСПЕРИМЕНТАЛЬНАЯ ЧАСТЬ
В работе использовали порошки кобальта с размером частиц ~20 мкм, титана марки ПТМ с размером частиц ~20 мкм и алюминия марки АСД-4 с размером частиц ~6 мкм. Исходные порошки смешивались до получения однородной смеси состава 2Co+Ti+Al, из которой прессовали при постоянном давлении ~12 МПа цилиндрические образцы высотой h ~ 15 мм и диаметром d = 10 мм до относительной плотности 0.65. Спрессованные образцы помещали в печь, где осуществлялся нагрев со скоростью ~100 К/мин до момента инициирования реакции СВС. Температура регистрировалась вольфрамрениевой термопарой ВР5/20. После инициирования реакции СВС нагрев печи отключали. Синтез проводили в вакууме при давлении 1.33 Па. Процесс горения регистрировали при помощи высокоскоростной видеокамеры Phantom Miro M310 производства компании Vision Research (USA), которая позволяет проводить видеозапись процесса с частотой до 650000 кадров/с, минимальное время выдержки одного кадра составляет 1 мкс. Размер 12-битного CMOSсенсора камеры составляет 25.6 × 16.0 мм, пропускная способность – 3.2 Гпкс/с. Камера снабжена объективом AF Micro Nikkor 60 mm 1:2.8D производства компании Nikon (Japan). При проведении СВС-экспериментов видеозапись осуществляли с частотой 5000 кадр/с со временем выдержки 190 мкс. В рамках одной серии экспериментов время выдержки кадра, диафрагма и фокусное расстояние оставались постоянными. Для расчета скорости фронта было определено местоположение фронта волны горения вдоль направления распространения в разное время.
Рентгенофазовый анализ (РФА) образцов после синтеза проводили на дифрактометре ДРОН-3М (НПП “Буревестник”, Москва, Россия Fe(Kα)-излучение). Регистрация дифрактограмм велась в режиме пошагового сканирования в интервале углов 2θ = 30°–90° с шагом съемки 0.02° и временем набора 2 с. Уточнение атомной структуры и количественный анализ проводили методом полнопрофильного анализа в программном пакете PDWin НПП “Буревестник” (Москва, Россия). Синтезированные образцы исследовали на автоэмиссионном сканирующем электронном микроскопе фирмы Carl Zeiss (Germany) Ultra Plus на базе Ultra 55 с системой энергодисперсионного микроанализатора INCA Energy 350 XT компании Oxford Instruments (Great Britain). Измерение температурной зависимости удельного электросопротивления проводили в вакууме 1 Па в интервале температур 80–1273 К по стандартной четырехточечной методике на постоянном токе. Температурные зависимости магнитного момента и петли гистерезиса для синтезированных образцов строились с помощью СКВИДмагнитометра MPMS 5 XL компании Quantum Design (USA) в магнитных полях B от −5 до +5 Тл при температурах 2–300 К.
В ранее опубликованной работе [18] результаты экспериментов показали, что синтез образцов в системе 2Co–Ti–Al происходил в режиме теплового взрыва, т.е. визуально наблюдали яркую вспышку, соответствующую одновременному протеканию экзотермической реакции во всем объеме образца. В настоящей работе полученные видеокадры съемки высокоскоростной камерой в высоком временно́м разрешении наглядно продемонстрировали фронтальный режим горения реакционной смеси 2Co+Ti+Al (рис. 1). Максимальная скоростью подъема температуры достигала 2.7 · 104 К/с. Рассчитанная скорость реакции составила 9.4 см/с.
Рис. 1. Видеокадры процесса СВС образца состава 2Co + Ti + Al в вакууме, полученные с помощью высокоскоростной видеокамеры.
Инициирование реакции СВС происходило с одного края образца, что связано, по-видимому, с определенным распределением температурного поля, обусловленного конструкционными особенностями печи. Температура начала реакции СВС в вакууме (рис. 2) составляет 1160 K, что почти на 200 K выше температуры плавления Al; таким образом реакция горения протекает с участием жидкой фазы. Максимальная температура горения в вакууме составила 1650 K.
Рис. 2. Термограмма процесса СВС реакционной смеси состава 2Co+Ti+Al в вакууме.
После инициирования реакции СВС и образования локального очага горения происходит распространение фронта волны горения сложного профиля, в процессе которого его форма постоянно меняется, практически выравниваясь к окончанию горения (рис. 1). Скорость распространения фронта горения вдоль образца, наблюдаемая на его боковой поверхности, скорее всего, представляет проекцию нормального вектора скорости горения и имеет более низкое значение. На поверхности фронта горения явно выделяются яркие вспышки – микроочаги размером до 100 мкм с более высокой (яркостной) температурой (рис. 3). Обычно такие микроочаги образуются либо вокруг наиболее крупного реагента (в настоящем эксперименте это, вероятнее всего, частицы Ti), либо вокруг агломерата из нескольких реакционных частиц. Можно предположить, что в нашем случае имеет место микроочаговый механизм распространения волны горения в реакционной среде 2Co–Ti–Al, при котором медленное распространение фронта горения меняется на более интенсивное, протекающее при локальном повышении температуры. Таким образом, для описания горения состава 2Co+Ti+Al лучше всего подходит микрогетерогенная модель горения [15, 16].
Рис. 3. Микроочаги на поверхности фронта горения состава 2Co+Ti+Al.
На рис. 4 изображены фото спрессованного образца до СВС и после синтеза. Образец сохранил исходную форму, слегка уменьшившись по высоте вследствие усадки из-за образования жидкой фазы в процессе горения.
Рис. 4. Фото образца до (1) и после синтеза (2).
Рентгенофазовый анализ материала, синтезированного в вакууме, показал наличие только одной фазы Гейслера – Co2TiAl (card PDF № 030-65-4682). Параметр элементарной ячейки Co2TiAl составил a = (5.8433 ± 0.0002) Å. Соединение имеет гранецентрированную кубическую решетку (пространственная группа fm 3m), структурный прототип AlCu2Mn. Материал имеет однородную микроструктуру (рис. 5), состоящую из округлых зерен тройной фазы Co2TiAl со средним размером 20 мкм. Результаты энергодисперсионного анализа (ЭДА) в точках, находящихся внутри зерен (рис. 5, точки 3, 4), подтверждают химический состав основной фазы Co2TiAl. Зерна тройной фазы разделены прослойкой (до 10 мкм), обедненной алюминием и по составу соответствующей интерметаллидам переменного состава TiCox (рис. 5, точки 1, 2). Отсутствие этих фаз в результатах РФА, по-видимому, обусловлено их низким содержанием, не превышающим чувствительность этого анализа.
Рис. 5. Фотография микроструктуры поверхности шлифа образца продуктов горения смеси 2Co−Ti−Al и результаты ЭДА (мас.%).
МАГНИТНЫЕ СВОЙСТВА
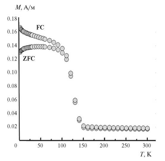
На рис. 6 представлены температурные зависимости магнитного момента синтезированного продукта, охлажденного в нулевом магнитном поле (ZFC – zero field cooled) и в магнитном поле H = 10 кА/м (FC – field cooled).
Рис. 6. Температурная зависимость магнитного момента М синтезированного образца Co2TiAl, охлажденного в нулевом магнитном поле и магнитном поле H = 10 кА/м.
Точка, в которой зависимости ZFC и FC расходятся, является температурой магнитного упорядочения – точкой Кюри (Тс). Для синтезированного в настоящей работе образца Co2TiAl значение Тс = (120 ± 5) К, что полностью совпадает со значениями Тс для Co2TiAl, полученными в работах [5, 19].
ЭЛЕКТРИЧЕСКИЕ СВОЙСТВА
Температурная зависимость удельного электросопротивления синтезированного методом СВС продукта в системе 2Co–Ti–Al представлена на рис. 7а.
Рис. 7. a – Температурная зависимость удельного электросопротивления; б − зависимость ln{σ(T)−σ0} от T−1/4 для синтезированного образца Co2TiAl.
В диапазоне температур 100–140 K на кривой электросопротивления ρ наблюдается излом, который соответствует переходу из магнитного в парамагнитное состояние (Тс). Удельное электросопротивление образца при комнатной температуре (293 K) составило 1.35 мкОм · м, что хорошо согласуется с литературными данными [5, 6].
На рис. 7б изображен график зависимости проводимости σ(1/ρ) синтезированного методом СВС сплава Гейслера Co2TiAl в координатах ln{σ(T)−σ0} – температура T −1/4, где σ0 – остаточная проводимость. Полученное интерполяционное выражение, обусловленное линейной зависимостью, может указывать на возможность сосуществования металлического и активационного типов проводимости [6] в интерметаллиде Co2TiAl и говорит об активационном вкладе моттовского типа [20], связанного с увеличением концентрации носителей заряда. Аналогичная зависимость электропроводимости σ от T−1/4 наблюдалась и в работе [6] для сплавов Гейслера, полученных методом дуговой плавки.
3. ЗАКЛЮЧЕНИЕ
Использование метода высокоскоростной видеосъемки позволило определить автоволновой режим горения в системе 2Сo–Ti–Al, характеризующийся микроочаговым механизмом распространения волны. Средняя скорость горения составила 9.4 см/с, скорость роста температуры – 2.7 · 104 К/с.
Исследование электрических и магнитных свойств синтезированного сплава Гейслера Co2TiAl и сравнение со свойствами такого же сплава, полученного методом дуговой плавки, показало, что синтез в режиме горения не повлиял на свойства получаемого продукта. Измеренная температура Кюри составила 120 К, удельное электросопротивление при комнатной температуре – 1.35 мкОм · м. Обнаружено, что для синтезированного сплава проводимость пропорциональна exp(−B/T1/4).
Об авторах
М. Л. Бусурина
Институт структурной макрокинетики и проблем материаловедения им. А.Г. Мержанова Российской академии наук
							Автор, ответственный за переписку.
							Email: busurina@ism.ac.ru
				                					                																			                												                	Россия, 							Черноголовка						
А. Е. Сычёв
Институт структурной макрокинетики и проблем материаловедения им. А.Г. Мержанова Российской академии наук
														Email: busurina@ism.ac.ru
				                					                																			                												                	Россия, 							Черноголовка						
С. Г. Вадченко
Институт структурной макрокинетики и проблем материаловедения им. А.Г. Мержанова Российской академии наук
														Email: busurina@ism.ac.ru
				                					                																			                												                	Россия, 							Черноголовка						
А. В. Карпов
Институт структурной макрокинетики и проблем материаловедения им. А.Г. Мержанова Российской академии наук
														Email: busurina@ism.ac.ru
				                					                																			                												                	Россия, 							Черноголовка						
Список литературы
- Appel F., Clemens H., Fischer F. // J. Progress Mater. Sci. 2016. V. 81. P. 55. https://doi.org/10.1016/j.pmatsci.2016.01.001
- Долуханян С.К., Алексанян А.Г., Мурадян Г.Н. и др. // Хим. физика. 2021. Т. 40. № 7. С. 76. https://doi.org/10.31857/S0207401X21070037
- De Groot R., Mueller F., Engen P. et al // Phys. Rev. Lett. 1983. V. 50. № 25. P. 2024. https://doi.org/10.1103/PhysRevLett.50.2024
- Васильев А.Н., Бучельников В.Д., Такаги T. и др. // УФН. 2003. Т. 173. № 6. С. 577. https://doi.org/10.3367/UFNr.0173.200306a.0577
- Graf Т., Fecher G., Barth J. et al // J. Phys. D: Appl. Phys. 2009. V. 42. № 084003. https://doi.org/10.1088/0022-3727/42/8/084003
- Перевозчикова Ю.А., Коуров Н.И., Емельянова С.М. и др. // Междунар. журн. прикл. и фундамент. исслед. 2016. № 3−4. С. 539.
- Fadila B., Ameri M., Bensaid D. et al // J. Magn. Magn. Mater. 2018. V. 448. P. 208. https://doi.org/10.1016/j.jmmm.2017.06.048
- Koller M., Chráska T., Cinert J. et al // Mat. Des. 2017. V. 126. P. 351. https://doi.org/10.1016/j.matdes.2017.04.028
- Zhang W., Zhao L., Qian Z. et al // J. Alloys Compd. 2007. V. 431. P. 65. https://doi.org/10.1016/j.jallcom.2006.05.083
- Итин В.И., Найбороденко Ю.С. Высокотемпературный синтез интерметаллических соединений. Томск: Изд-во Том. ун-та, 1989.
- Бусурина М.Л., Сычёв А.Е., Карпов А.В. и др. // Хим. физика. 2020. Т. 39. № 11. С. 39. https://doi.org/10.31857/S0207401X20110023
- Силяков С.Л., Ширяева М.Ю., Беликова А.Ф.и др. // Хим. физика. 2022. Т. 41. № 3. С. 81. https://doi.org/10.31857/S0207401X22030128
- Liang J., Zhu L., Wang L.V. // Light Sci Appl. 2018. V. 7. P. 42. https://doi.org/10.1038/s41377-018-0044-7
- Mukasyan A.S., Hwang S., Sytchev A.E. et al // Combust. Sci. Techn. 1996. V. 115. № 4−6. P. 335. https://doi.org/10.1080/00102209608935535
- Рогачёв А.С., Мукасьян A.C. // Физика горения и взрыва. 2015. Т. 51. № 1. С. 66.
- Кочетов Н.А., Сеплярский Б.С. // Хим. физика. 2023. T. 42. № 3. С. 23. https://doi.org/10.31857/S0207401X23030081
- Rogachev A.S., Vadchenko S.G., Sachkova N.V. et al. // Dokl. Phys. Chem. 2018. V. 478. P. 27. https://doi.org/10.1134/S0012501618020021
- Бусурина М.Л., Сычёв А.Е., Ковалев И.Д. и др. // Физика горения и взрыва. 2020. Т. 56. № 3. С. 78. https://doi.org/10.15372/FGV20200308
- Mizusaki S., Ohnishi T., Ozawa T.C. et al // Trans. Magnеt. 2011. V. 47. № 10. P. 2444. https://doi.org/10.1109/TMAG.2011.2159581
- Щербаков А.С., Прекул А.Ф., Поморцев Р.В. // Письма в ЖЭТФ. 1980. Т. 32. № 6. С. 425.
Дополнительные файлы
 
				
			 
						 
						 
						 
					 
						 
									
 
  
  
  Отправить статью по E-mail
			Отправить статью по E-mail 








