Возникновение послойного горения в смесях аммиачной селитры с алюминием и его переход в конвективное
- Авторы: Храповский В.Е.1, Худавердиев В.Г.1,2, Сулимов А.А.1, Комиссаров П.В.1, Басакина С.С.1
- 
							Учреждения: 
							- Федеральный исследовательский центр химической физики им. Н.Н. Семёнова Российской академии наук
- Институт радиационных проблем Министерства науки и образования Азербайджанской Республики
 
- Выпуск: Том 43, № 8 (2024)
- Страницы: 92-100
- Раздел: Горение, взрыв и ударные волны
- URL: https://journal-vniispk.ru/0207-401X/article/view/280187
- DOI: https://doi.org/10.31857/S0207401X24080109
- ID: 280187
Цитировать
Полный текст
Аннотация
Изучалось возникновение послойного горения и переход его в конвективное в смесях аммиачной селитры с алюминием насыпной плотности. Эксперименты проводились в манометрической бомбе с регистрацией давления. Пористость образцов составляла 0.55–0.59, размер частиц селитры 20–40 и 250–630 мкм, содержание алюминия изменялось от 8% до 47%. Использовался алюминий двух марок: сферический АСД-4 и чешуйчатый ПАП-2. Показано, что поджигание смесей происходит при давлении воспламенителя, близком к пороговому (минимальному) значению или выше него. Измерены величины порогового давления при различных размерах частиц аммиачной селитры, для разных марок и концентраций алюминия. Определены значения давления и времени, при которых возникают послойный и конвективный режимы горения. Показано, что замена алюминия АСД-4 на ПАП-2 приводит к существенному (на порядок и более) уменьшению порогового давления и давлений, при которых начинаются послойный и конвективный режимы горения.
Полный текст
ВВЕДЕНИЕ
Длительное время считалось, что аммиачная селитра (АС) является безопасной при хранении. Однако многочисленные аварии при ее производстве и хранении, сопровождающиеся переходом горения во взрыв, начиная с 1916 г. в Нью-Джерси (США) и в последнее время – в 2020 г. в Бейруте (Ливан) и в 2022 г. в Уинстон Сейдем (США) [1, 2] – свидетельствуют об обратном. Известно [3], что начальной стадией развития взрыва в энергетических порошкообразных составах является переход послойного горения (ПГ) в конвективное (КГ). Интенсивные исследования этого процесса, результаты которых описаны в работах [3, 4], проводились в 1960–1970 гг. на инициирующем ВВ (гремучая ртуть), бризантных ВВ (тротил, тэн, гексоген и др.) и на смесевых составах на основе перхлоратов аммония и калия. Сжигание осуществлялась обычно в манометрических бомбах. Размер используемых частиц варьировался от 5–20 до 500 мкм, удельная площадь поверхности – от 0.05–0.07 до 0.7–1 м2/г. Диаметр изучаемых образцов составлял 5–10 мм, высота – 40–70 мм, пористость изменялась от 3 до 50%, газопроницаемость – от 10−5 до 10−3 Дарси (1 Дарси ≈ 1 мкм2). Боковая поверхность и нижний торец образцов были забронированы. Воспламенение верхнего торца осуществлялось либо нихромовой проволочкой, либо продуктами сгорания навески дымного ружейного пороха, создававшей небольшое начальное давление. Его регистрация проводилась с помощью пьезокварцевых или тензометрических датчиков давления обычно на шлейфовых осциллографах с частотой не более 15 кГц. В отдельных опытах одновременно с записью давления осуществлялась оптическая съемка процесса через прозрачные окна манометрической бомбы. На начальной стадии заряды горели в послойном режиме. Скорость нарастания давления в бомбе составляла 0.01–1.0 МПа/мс. При переходе горения в конвективный режим она возрастала в несколько раз. В качестве основной характеристики, определяющей возникновение конвективного горения, была принята величина критического давления срыва послойного горения (Pc): значение давления на стадии послойного горения образца, при котором темп его нарастания начинал резко увеличиваться (в 3–7 и более раз). Установлено, что величина Pc зависит от состава, пористости, газопроницаемости, диаметра и длины заряда, а также от размера используемых частиц. Была проведена классификация различных ВВ по степени их устойчивости, выявлено влияние плавления и начального заполнения пор азотом на величину давления срыва.
В работе [5] показана возможность перехода послойного горения в конвективное при низких давлениях (0.5–0.7 МПа) на образцах, спрессованных из гранул семиканального пироксилинового пороха марки 5/7 с плотностью 1.34–1.47 г/см3 (пористостью 7–15%). Установлено, что покрытие гранул по боковой поверхности пленкой поливинилбутираля толщиной ~35 мкм приводит к увеличению длительности послойного горения и снижению величины Pc. Результаты исследований возникновения и развития конвективного режима горения и его перехода во взрывной процесс в смесях аммиачной селитры с углем и алюминием насыпной плотности описаны в работах [6–9]. Опыты проводились в манометрической бомбе и в щелевых оболочках с одновременной оптической регистрацией процесса и измерениями давления. Изучалось влияние величины давления, создаваемого воспламенителем, начальной высоты заряда, размера частиц и массовых долей окислителя и горючего на интенсивность подъема давления в смеси и скорость распространения процесса. Было введено понятие порогового давления воспламенителя (Pit) как минимального, при котором осуществляется воспламенение смеси. Определены величины Pit для смесей аммиачной селитры с углем. Построена его зависимость от концентрации угля при разных размерах частиц нитрата аммония: 20–40 и 250–630 мкм. Отмечено существование порогового давления для смесей аммиачной селитры с алюминием марки АСД-4, однако его значения не приводятся. В работе [10] приведены результаты численного моделирования роста давления при переходе конвективного горении смесей на основе аммиачной селитры в детонацию. Полученные результаты сравнивались с экспериментальными данными. Строились пространственные профили давления и объемной доли к-фазы в разные моменты времени в зарядах различной длины.
Следует отметить, что в работах [6–10] основное внимание уделялось исследованию перехода конвективного горения в детонацию. Условия, при которых начинается послойное горение (до или после сгорания воспламенителя), значения величин давления и времени, при которых происходит его протекание, длительность его развития, интенсивность изменения давления не определялись. Также не определялись значения давления Pc и времени tс срыва послойного горения. Однако вышеперечисленные параметры необходимо знать как для понимания критических условий, при которых происходит смена режима горения, так и для более точного моделирования обсуждаемых процессов.
Цель данной работы состояла в изучении закономерностей возникновения и развития послойного и конвективного горения в смесях аммиачной селитры с алюминием. Задача исследования заключалась в измерении кривых зависимости Pc(tс) в манометрической бомбе при горении смесей разных составов, их анализе, определении порогового давления воспламенителя, его влияния на значения давления и времени, при которых начинается послойное горение и происходит его переход в конвективное.
МЕТОДИКА ЭКСПЕРИМЕНТА
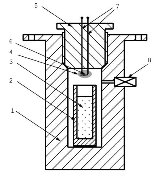
Эксперименты проводились в манометрической бомбе объемом ~100 см3, схема которой приведена на рис. 1. Использовалась аммиачная селитра производства французской фирмы Grande Paroisse Company, Total Fina Elf Group, при применении которой произошел аварийный взрыв на заводе AZF в г. Тулуза (2001 г.). Аммиачная селитра представляла собой пористые сферические гранулы со средним размером 1–2 мм. Ее гравиметрическая плотность составляла в среднем 700 кг/м3, а максимальная (ρmax) – 1.725 кг/м3. Гранулы измельчались. Применялись две фракции селитры с размерами частиц (dАС) 20–40 и 250–630 мкм. Величина удельной площади поверхности АС (Sуд АС), рассчитанная по формуле
(1)
составляла 0.09–0.17 и 0.006–0.014 м2/г соответственно. Перед смешиванием АС тщательно сушилась до прекращения потери веса.
Рис. 1. Схема манометрической бомбы: 1 – стенки бомбы, 2 – металлический стаканчик, 3 – исследуемый состав, 4 – воспламенитель, 5 – крышка бомбы, 6 – нихромовая спираль, 7 – электрические вводы, 8 – датчик давления.
Использовались следующие марки алюминия: АСД-4 со средним размером сферических частиц ~2–8 мкм и удельной поверхностью Sуд АСД-4 ~0.4–0.6 м2/г [11]; ПАП-2 с чешуйчатыми частицами толщиной свода ~0.12–0.16 мкм и линейными размерами от 10–20 до 50–100 мкм. Его удельная поверхность Sуд ПАП-2 составляла ~1 м2/г [12].
Селитра и алюминий тщательно перемешивались в нужной пропорции. Смесь порционно насыпалась в канал 2 (рис. 1) металлического стаканчика диаметром 16 мм и глубиной 65 мм. Высота смеси 3 составляла 48–50 мм, масса – 7.1 г, пористость – 55–59%. Стаканчик с образцом располагался внутри манометрической бомбе объемом ~100 см3.
Поджигание смеси осуществлялось воспламенителем 4 (рис. 1), расположенным на крышке бомбы 5. В качестве основного состава использовался измельченный дымный ружейный порох (ДРП-3) с размером частиц меньше 50 мкм и весом 0.5 г. Порох поджигался нихромовой спиралью 6, подсоединенной к изолированным от крышки электрическим вводам 7, и создавал в объеме давление Pi ~0.8 МПа. Регулирование величины Pi осуществлялось за счет сжигания совместно с основным воспламенителем дополнительных навесок смеси пороха марки ДРП-3 с тонкосводным пироксилиновым порохом марки “Сокол” в равных долях. Зазоры между крышкой бомбы с ее стенками и с электрическими вводами тщательно уплотнялись для исключения протечек, образующихся в опытах продуктов сгорания. Регистрация изменения давления от времени осуществлялась пьезокварцевыми датчиками 8 марки Т-6000 с частотой дискретизации сигнала 200 кГц. Интервал времени от момента окончания приготовления смеси до проведения опыта составлял около 30 мин. Погрешность измерения давления не превышала 5–8%.
РЕЗУЛЬТАТЫ ЭКСПЕРИМЕНТОВ
Исследуемые составы начинали гореть в послойном режиме, если давление воспламенителя равнялось или превышало некоторое пороговое значение Pit. После его достижения (точка Iit с координатами Pit, tit, кривая 1 рис. 2) давление сначала снижалось из-за охлаждения продуктов сгорания воспламенителя стенками манометрической бомбы и металлического стаканчика, а также их фильтрации в поры образца. Возникновение горения смеси приводило к изменению зависимости p(t) от спадающей на возрастающую. Для определения значений давления Pb и времени tb, при которых начиналось послойное горение, проводилась экстраполяция кривой снижения давления воспламенителя (штриховая кривая 3) до момента изменения темпа нарастания давления на кривой 1 (точка С). За возникновение ПГ принимался момент, соответствующий точке B с координатами Pb, tb, после которого происходило отклонение реальной кривой от экстраполированной. Такое отклонение свидетельствует об увеличении давления за счет дополнительного поступления газов и тепла от горения смеси. После возникновения послойного горения давление в бомбе еще некоторое время снижалось до достижения локального минимума. Дальнейшее развитие ПГ происходило в условиях нарастающего давления с разными интенсивностями его подъема (∆p/∆t). При анализе записей p(t) измерялось среднее значение скорости его роста на начальной, (∆p/∆t)1, и последующей стадиях, (∆p/∆t)2. Согласно проведенным ранее исследованиям [3, 4], принималось, что повышение ∆p/∆t связано с переходом послойного горения в конвективное. Определялись значения давления Pс и времени tс (точка С), при которых начиналось заметное (в 3 и более раза) увеличение интенсивности роста давления. По значениям времен начала послойного (tb) и конвективного (tс) горения рассчитывалась длительность протекания послойного горения (от точки B до точки C) как разница между ними: td = tс − tb.
Рис. 2. Характерные записи изменения давления во времени в манометрической бомбе при горении смеси 92 вес.% NH4NO3 + 8 вес.% АСД-4 при давлении воспламенителя, близком к пороговому – кривая 1 (опыт № 695), ниже порогового – кривая 2 (опыт № 693); 3 – кривая, аппроксимирующая спад давления от сгорания воспламенителя.
За счет распространения конвективного режима и догорания образующейся взвеси давление повышалось до максимального значения, после которого начинало снижаться из-за уменьшения поверхности горения и охлаждения образовавшихся продуктов. Определялись величина максимального давления Pm и время его достижения tm (точка М).
При давлении воспламенителя ниже порогового (точка I2, кривая 2 рис. 2) послойного и конвективного горения не возникало. Давление только снижалось из-за охлаждения продуктов сгорания. Смесь уплотнялась и частично разлагалась.
В статье приводятся результаты определения Pit, которые были получены для каждого состава в результате нескольких экспериментов с разными навесками воспламенителя. Исследовалось влияние концентрации алюминия, его марки, размера частиц аммиачной селитры на величину порогового давления воспламенителя Pit, значения давлений Pb, Pс и времен tb, tс, при которых возникают послойный и конвективный режимы горения. Определялась интенсивность нарастания давления при их протекании, которая зависела от состава смеси. В отдельных случаях ее изменение при переходе послойного горения в конвективное происходит не так резко, как показано на рис. 2. Критерием для перехода ПГ в КГ служило увеличение отношения (∆p/∆t)2 к (∆p/∆t)1 в 2.5 и более раза.
Влияние содержания алюминия изучалось в смесях АСД-4 с обеими фракциями аммиачной селитры. Повышение концентрации алюминия с 8 до 47 вес.% позволило на порядок и более (с 26.2 до 1.6 МПа при dАС = 20–40 мкм и с 21.6 до 1.5 МПа при dАС = 250–630 мкм) снизить величину порогового давления воспламенителя (табл. 1). При этом понижались значения Pb, увеличивались величины tb, при которых начиналось ПГ, уменьшалась интенсивность подъема давления (∆p/∆t)1 при его развитии. Конвективное горение начиналось при давлениях Pc, близких или превышающих значения Pb. Скорость нарастания давления (∆p/∆t)2 в большинстве опытов снижалась. Отклонение от описанной выше тенденции наблюдалось для состава с размером частиц аммиачной селитры dАС = 250–630 мкм и содержанием алюминия марки АСД-4, равным 31 вес.% (опыт № 687). В этом случае послойное горение протекало при давлении, близком к постоянному, и длительнее. Возможно, это связано с неустойчивым развитием процесса. В параллельном опыте с этой смесью и таким же значением Pit послойный и конвективный режимы горения не возникли.
Таблица 1. Значения давлений и времен возникновения послойного и конвективное горения в смесях нитрата аммония с алюминием разного состава
| № опыта | Марка алюминия | Размер частиц селитры dAC, мкм | Состав смеси NH4NO3/Al, вес.% | Pit, МПа | tit, мс | Pb, МПа | tb, мс | Pс, МПа | tс, мс | td, мс | (∆p/∆t)1, МПа/мс | (∆p/∆t)2, МПа/мс | 
| 695 | АСД-4 | 20–40 | 92/8 | 26.2 | 12.2 | 24.7 | 57.1 | 24.7 | 187 | 130 | 0.024 | 0.060 | 
| 661 | 82/18 | 11.4 | 9 | 8.6 | 206 | 9.4 | 320 | 114 | 0.02 | 0.053 | ||
| 669 | 53/47 | 1.6 | 10 | 0.59 | 375 | 1.4 | 2431 | 2056 | 0.0005 | 0.005 | ||
| 692 | 250–630 | 92/8 | 21.6 | 10.6 | 17.1 | 102 | 17.4 | 281 | 179 | 0.012 | 0.041 | |
| 687 | 69/31 | 4.1 | 18 | 1.4 | 703 | 1.3 | 3250 | 2547 | 0.000 | 0.00013 | ||
| 690 | 53/47 | 1.5 | 20 | 0.97 | 120 | 1.6 | 1300 | 1189 | 0.00069 | 0.00024 | ||
| 711 | ПАП-2 | 20–40 | 82/18 | 0.95 | 7 | 0.95 | 7 | 0.95 | 24 | 17 | 0.000 | 0.02 | 
Влияние размера частиц аммиачной селитры исследовалось для смесей с алюминием марки АСД-4. Увеличение размера частиц окислителя привело к снижению пороговых значений давления воспламенителя, что связано с повышением газопроницаемости образцов [3]. Однако условия, при которых начинаются послойное и конвективное горение, длительность протекания послойного горения, темп нарастания давления для смесей с разным размером частиц, зависели от содержания алюминия в смеси.
При концентрации АСД-4 8 вес.% использование крупных частиц селитры привело к снижению давления Pb, увеличению времени tb, при котором началось послойное горение (точка B на кривой 2 рис. 3, табл. 1 – опыты № 695 и № 692), и повышению длительности td его протекания. Послойное горение развивалось с меньшей скоростью подъема (∆p/∆t)1. Снизились давление Pс, при котором возникло конвективное горение (точка С), и интенсивность нарастания (∆p/∆t)2 при его распространении.
Рис. 3. Диаграммы “давление–время” в манометрической бомбе для смесей 92 вес.% АС + 8 вес.% АСД-4 при следующих размерах частиц АС: 1 – 20–40 мкм (опыт № 695); 2 – 250–630 мкм (опыт № 692).
При увеличенном до 47 вес.% содержании АСД-4 в образцах с крупными частицами АС послойное горение началось раньше при большем значении Pb (точка B на кривой 2 рис. 4, табл. 1 – опыты № 690 и № 669). Его развитие протекало быстрее и сопровождалось увеличенной скоростью подъема давления. Конвективное горение (точка С) возникло примерно при таком же давлении Pс, что для смеси с мелкими частицами, но при меньшем времени tc.
Рис. 4. Записи “давление–время” манометрической бомбе для смесей 47 вес.% АСД-4 + 53 вес.% АС c размерами частиц АС, равными 20–40 мкм (кривая 1, опыт № 669) и 250–630 мкм (кривая 2, опыт № 690).
Влияние марки алюминия на развитие горения изучалось при его концентрации в смеси 18 вес.% и размере гранул аммиачной селитры dAC = 20–40 мкм. Замена сферического алюминия марки АСД-4 с размером частиц ~2–8 мкм на чешуйчатый марки ПАП-2 с меньшей толщиной свода и увеличенной удельной поверхностью позволила существенно снизить (с 11.4 до 0.95 МПа) величину порогового давления воспламенителя Pit (кривые 1 и 2 рис. 5, опыты № 661 и № 711 табл. 1). Послойное горение началось раньше (tb ≈ 7 мс) – при достижении воспламенителем максимального давления – и протекало при давлении, близком к постоянному значению, равному 0.95 МПа. Существенно сократились время tс (с 320 до 24 мс) и величина давления Pс (с 9.4 до 0.95 МПа), при которых возник конвективный режим.
Рис. 5. Изменение зависимости давления от времени при сгорании смесей 18 вес.% АСД-4 + 82 вес.% АС (кривая 1, опыт № 661) и 18 вес.% ПАП-2 + 82 вес.% АС (кривая 2, опыт № 711).
Значения Pit, Pb и Pс, определенные для смеси с содержанием 18 вес.% алюминия марки ПАП-2, близки аналогичным величинам для смеси с содержанием 47 вес.% алюминия марки АСД-4 (табл. 1 – опыты № 711, № 669). Однако при использовании чешуйчатого алюминия процессы послойного и конвективного горения начинаются раньше (кривые 1, 2 рис. 6).
Рис. 6. Записи давления время в манометрической бомбе при сгорании смесей, содержащих 18 вес.% ПАП-2 + 82 вес.% АС (кривая 1, опыт № 711) и 47 вес.% АСД4 + 53 вес.% АС (кривая 2, опыт № 669). Размер частиц АС равен 20–40 мкм.
На основании полученных результатов можно заключить, что использование алюминия марки ПАП-2 вместо АСД-4 повышает опасность возникновения послойного и конвективного горения в смесях с аммиачной селитрой. Определенные для смесей с содержанием 47 вес.% АСД-4 и 18 вес.% ПАП-2 давления срыва послойного горения близки по величине к значениям давления срыва, измеренным для смесей перхлората аммония с горючими добавками [3], что необходимо учитывать при оценке их взрывоопасности.
ОБСУЖДЕНИЕ РЕЗУЛЬТАТОВ
Используемые в смеси компоненты обладают заметно различающимися коэффициентами теплопроводности λ. Для аммиачной селитры величина λАС составляет 0.38–0.42 Вт/(м ⋅ К); для алюминия λAl = 200–220 Вт/(м ⋅ К). Теплопроводность смеси λсм зависит от ее пористости, коэффициентов теплопроводности составляющих твердых компонент (λАС, λAl) и газов, заполняющих поры (λg) [13]. Ее вычисления являются трудоемкими и требуют введения нескольких эмпирических коэффициентов. Сравнение рассчитанных для ряда составов значений λсм с определенными экспериментально показало, что для двойных смесей ее величина (при одинаковых пористости и составе газа в порах) определяется соотношением удельных объемных концентраций используемых компонент, mv1/mv2. Величина λсм возрастает с увеличением отношения объемного содержания вещества с высокой теплопроводностью к объемному содержанию вещества с низкой теплопроводностью, в нашем случае – mvAl/mvАС. В работах [14–16] было показано, что введение в конденсированную систему теплопроводящих элементов (ТЭ) – медных проволочек – с высоким коэффициентом теплопроводности позволяет увеличить поток тепла к исходному составу. Нагрев и воспламенение происходит в первую очередь на границе контакта системы с ТЭ. Горение распространяется вдоль проволочек со скоростью, в несколько раз превышающей скорость горения исходной смеси.
Вышеописанные результаты показывают, что добавление алюминия к аммиачной селитре увеличивает теплопроводность смеси, величина которой возрастает с повышением его концентрации. Увеличивается поверхность контакта частиц алюминия с поверхностью частиц селитры. Для исследуемых смесей были определены зависимости критического давления воспламенителя Pit от отношения площади поверхности частиц алюминия к площади поверхности частиц аммиачной селитры в единице объема (Sv Al/Sv АС) при разном размере гранул селитры (рис. 7), которые хорошо описываются экспоненциальными функциями. При размере частиц селитры dАС = 20–40 мкм экспериментальные данные с алюминием марок АСД-4 и ПАП-2 (опыт № 711) ложатся на одну кривую 1 (рис. 7), которую можно представить формулой
(2)
Увеличение dAC до 250–630 мкм приводит к смещению кривой Pit в сторону больших значений (Sv Al/Sv AC). Ее зависимость (кривая 2 рис. 7) определяется выражением
(3)
В обоих случаях повышение отношения Sv Al /Sv AC ведет к снижению Pit.
Рис. 7. Изменение порогового давления воспламенителя от отношения площади поверхности частиц алюминия к площади поверхности гранул аммиачной селитры в единице объема смеси (Sv Al/Sv AC) для образцов с dAC = 20–40 мкм (кривая 1) и 250–630 мкм (кривая 2).
При использовании в смесях частиц горючего и окислителя с заметно различающимися размерами (250–630 мкм для аммиачной селитры и 2–8 мкм для алюминия марки АСД-4) мелкие гранулы в большом количестве могут располагаются в порах между крупными. В этом случае при малом содержании алюминия (8 вес.%) уменьшается площадь поверхности контакта между частицами металла и окислителя, ухудшается прогрев смеси, что приводит к увеличению времени возникновения послойного горения tb и длительности его протекания, что наблюдается в опытах № 695 и № 692 при замене мелких гранул селитры на крупные (кривые 1, 2 рис. 3).
При высоком содержании алюминия (47 вес.%) преобладающим для смеси с крупными частицами АС, вероятно, является влияние увеличенного значения отношения площадей поверхности частиц алюминия и селитры, Sv Al/Sv AC, которое приводит к улучшению прогрева смеси, снижению времен начала послойного и конвективного горения. Этот эффект регистрируется в опытах № 690 и № 669 (кривые 2, 1 рис. 4). Следует отметить, что в смесях с разным размером частиц аммиачной селитры при увеличении отношения Sv Al/Sv AC величина Pit стремится к ~1 МПа, а при его уменьшении до нулевого значения (отсутствие алюминия в смеси) – к ~33–60 МПа.
ЗАКЛЮЧЕНИЕ
В манометрической бомбе в смесях аммиачной селитры с алюминием насыпной плотности исследовано возникновение послойного горения и его переход в конвективное. Определены величины порогового (минимального) давления воспламенителя, при которых осуществляется их устойчивое поджигание, установлена их зависимость от состава смесей. Показано, что в большинстве случаев послойное горение начинается после сгорания воспламенителя на стадии падения давления. Измерены давления и времена, соответствующие возникновению послойного и конвективного горения. Установлены их зависимости от концентрации и марки алюминия, размера частиц аммиачной селитры. Показано, что замена сферических частиц алюминия марки АСД-4 на чешуйчатые марки ПАП-2 приводит к существенному (на порядок и более) уменьшению значений порогового давления, а также давлений, при которых начинаются послойный и конвективный режимы горения.
Работа выполнена за счет субсидирования, выделенного ФИЦ ХФ РАН на выполнение программы фундаментальных научных исследований РФ (тема № 122040500073-4).
Об авторах
В. Е. Храповский
Федеральный исследовательский центр химической физики им. Н.Н. Семёнова Российской академии наук
							Автор, ответственный за переписку.
							Email: khrapovsky@mail.ru
				                					                																			                												                	Россия, 							Москва						
В. Г. Худавердиев
Федеральный исследовательский центр химической физики им. Н.Н. Семёнова Российской академии наук; Институт радиационных проблем Министерства науки и образования Азербайджанской Республики
														Email: khrapovsky@mail.ru
				                					                																			                												                	Россия, 							Москва; Баку, Азербайджан						
А. А. Сулимов
Федеральный исследовательский центр химической физики им. Н.Н. Семёнова Российской академии наук
														Email: khrapovsky@mail.ru
				                					                																			                												                	Россия, 							Москва						
П. В. Комиссаров
Федеральный исследовательский центр химической физики им. Н.Н. Семёнова Российской академии наук
														Email: khrapovsky@mail.ru
				                					                																			                												                	Россия, 							Москва						
С. С. Басакина
Федеральный исследовательский центр химической физики им. Н.Н. Семёнова Российской академии наук
														Email: khrapovsky@mail.ru
				                					                																			                												                	Россия, 							Москва						
Список литературы
- Prugh R.W. // Process Saf. Prog. 2020. V. 39. № 4. P. 12210. https://doi.org/10.1002/prs.12210
- Wes Y. // Winston-Salem J. 2022. February. № 7. P. 1.
- Беляев А.Ф., Боболев В.К., Коротков А.И. и др. Переход горения конденсированных систем во взрыв. М.: Наука, 1973.
- Беляев А.Ф. Горение, детонация и работа взрыва конденсированных систем. М.: Наука, 1968.
- Храповский В.Е. // Хим. физика. 2023. Т. 42. № 3. С. 1. https://doi.org/10.31857/S0207401X23030068
- Храповский В.Е., Худавердиев В.Г., Сулимов А.А. // Горение и взрыв. 2013. Т. 6. № 2. С. 211.
- Ермолаев Б.С., Сулимов А.А., Храповский В.Е. и др. // Хим. физика. 2011. Т. 30. № 8. С. 34. https://doi.org/10.7868/S0207401X16020047
- Ермолаев Б.С., Худавердиев В.Г., Беляев А.А. и др. // Хим. физика. 2016. Т 35. № 2. С. 41. https://doi.org/10.7868/S0207401X16020047
- Ермолаев Б.С., Худавердиев В.Г., Беляев А.А. и др. // Горение и взрыв, 2020. Т.13. № 2. С.80. https://doi.org/10.30826/CE20130209
- Ермолаев Б.С., Худавердиев В.Г., Беляев А.А. // Горение и взрыв. 2015. Т. 8. № 2. С. 234. https://doi.org/10.7868/S0207401X16020047
- ТУ 1791-007-49421776-2011. Порошок алюминиевый АСД4. М: Стандартинформ, 2011.
- ГОСТ 549495. Пудра алюминиевая / Межгосударственный совет по стандартизации, метрологии, сертификации. Минск, 2006.
- Дульнев Г.Н., Заричняк Ю.П. Теплопроводность смесей и композиционных материалов. Справочная книга. Л.: Энергия, 1974.
- Golub G. // J. Spacecraft. 1965. V 2. № 4. P. 593. https://doi.org/10.2514/3.28234
- Caveny L.H., Glick R.L. // J. Spaceraft. 1967. V. 4. № 1. P. 79. https://doi.org/10.2514/3.28813
- Бахман Н.Н., Лобанов И.Н. // Физика горения и взрыва. 1983. Т. 10. № 1. С. 46.
Дополнительные файлы
 
				
			 
						 
						 
						 
					 
						 
									
 
  
  
  Отправить статью по E-mail
			Отправить статью по E-mail 








