Inertial mass in the balance body of Pomacea Diffusa. Experiment on the biosatellite “Bion-11”
- Authors: Gorgiladze G.I.1
-
Affiliations:
- Institute of Biomedical Problems RAS
- Issue: Vol 37, No 3 (2023)
- Pages: 258-268
- Section: СЛУХОВАЯ И ВЕСТИБУЛЯРНАЯ СИСТЕМЫ
- URL: https://journal-vniispk.ru/0235-0092/article/view/138234
- DOI: https://doi.org/10.31857/S0235009223030058
- EDN: https://elibrary.ru/ZVGJKR
- ID: 138234
Cite item
Full Text
Abstract
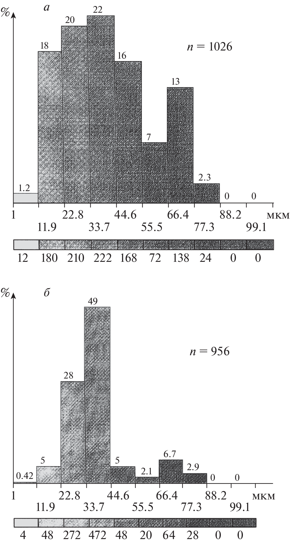
The inertial mass in the balance organ-statocyst of Pomacea diffusa was studied from the moment of hatching from eggs until the end of the life cycle, as well as the effects of weightlessness on the inertial mass during a 14-day orbital flight on the biosatellite “Bion-11”. As the snails grew older, the diameter of the statocyst increased from 150 μm to 650 μm, and the inertial mass contained in it increased from 11–13 statoconia to 700 statoconia. The internal structure of the statoconia had a layered structure with a nucleus in its central region. The main mineral element that gives statoconia heaviness is calcium carbonate, presented in the form of aragonite crystals. A 14-day exposure in weightlessness led to noticeable changes in the morphometric pattern of the inertial mass in the statocyst of flight snails in comparison with the control snails of synchronous tracking. In most of the statoconia, the form factor, length, and width indicators increased, which could indicate the stimulating effect of weightlessness on the inertial mass in the balance organ of Pomacea diffusa.
Keywords
About the authors
G. I. Gorgiladze
Institute of Biomedical Problems RAS
Author for correspondence.
Email: gio119193@mail.ru
Russia, 123007, Moscow, Khoroshevskoe shosse, 76a
References
- Gorgiladze G.I. Stimuliruyushcheye vliyaniye nevesomosti na rost statokoniy (eksperimenty na avtomaticheskikh kosmicheskikh apparatakh “Foton” i “Resurs-F” i pilotiruyemom orbital’nom komplekse “Mir”) [The stimulating effect of weightlessness on the growth of statoconia (experiments on the automatic spacecraft “Photon” and “Resurs-F” and the manned orbital complex “Mir”)] Georgian Engineering News. 2001. № 4. P. 113–119 (in Russian).
- Gorgiladze G.I. Strukturno-funktsional’nyye osobennosti statotsista ulitok Helix lucorum. Orbital’naya stantsiya “Mir” [Structural and functional features of the statocyst of Helix lucorum snails. Orbital station “Mir”]. Mediko-biologicheskiye eksperimenty [Medico-biological experiments] 2002. V. 2. P. 366–383 (in Russian).
- Gorgiladze G.I. Рlastichnost' inertsial’noy massy v organe izmenyayetsya v izmenyayushchemsya grafonnom pole [plasticity of the inertial mass in the balance organ in a changing gravitational field. Sensornyye sistemy. [Sensory systems]. 2020. V. 34. № 4. P. 267–282 (in Russian).
- Gorgiladze G.I., Nosovskiy A.M., Bukiya R.D. Statolit Pomatias rivulare. [Statolith Pomatias rivulare]. Sensornyye sistemy [Sensory systems]. 2013. V. 27. № 3. P. 216–223 (in Russian).
- Gorgiladze G.I. Strukturno-funktsional’nyye osobennosti statotsista ulitok Helix lucorum. [Structural and functional features of the statocyst of snails Helix lucorum]. Orbital’naya stantsiya “Mir”. Mediko-biologicheskiye eksperimenty. [Orbital station “Mir”. Biomedical experiments]. Moscow. 2002. V. 2. P. 366–383 (in Russian).
- Ghesquiere S. Apple snail. 2007. (Stijn Ghesquiere. http://www.applesnail.net).
- Pedrozo H.A., Schwartz Z., Luther M. A mechanism of adaptation to hypergravity in the statocyst of Aplysia californica. Hear. Res. 1996. V. 102. № 1–2. P. 51–62.
- Pedrozo H.A., Wiederhold M.L. Effects of hypergravity on statocyst development in embryonic Aplysia californica. Hear. Res. 1994. V. 79. P. 137–146.
- Vinnikov Ya.A., Gazenko O.G., Titova L.K. Retseptor gravitatsii. [Gravity receptor]. Seriya “Problemy kosmicheskoy biologii”. [“Series Problems of Space Biology”]. V. XII. L. “Nauka”, 1971. 523 p. (in Russian).
- Wiederhold M.L., Harrison J.L., Ortiz C.A. Enhanced production of the “test mass” in the statocyst of pond snails reared in microgravity. Proc. Fifteenth Space Utilization Res. Sympos. Tokyo. 1999. V. 15. P. 89–92.
- Wiederhold M.L., Harrison J.L., Parker K.A., Nomura H. Otoliths developed in microgravity. J. Grav. Physiol. 2000. V. 7. № 2. P. 39–42.
- Wiederold M.L., Pedrozo H.A., Harrison J.L. et al. Development of gravity-sensing organs in altered gravity conditions: opposite conclusions from an amphibian and a molluscan preparation. J. Grav. Physiol. 1997. V. 4. № 2. P. 51–54.
Supplementary files















