Влияния добавки стронция на кинетику окисления промышленных литейных алюминиевых сплавов АЛ2, АЛ4 и АЛ9
- Авторы: Олимов Н.С.1, Ганиев И.Н.2, Ширинов М.Ч.1
-
Учреждения:
- Таджикский государственный педагогический университет им. С. Айни
- Институт химии им. В.И. Никитина НАН Таджикистана
- Выпуск: № 3 (2023)
- Страницы: 274-286
- Раздел: Статьи
- URL: https://journal-vniispk.ru/0235-0106/article/view/138685
- DOI: https://doi.org/10.31857/S0235010623030064
- EDN: https://elibrary.ru/PSHMPN
- ID: 138685
Цитировать
Полный текст
Аннотация
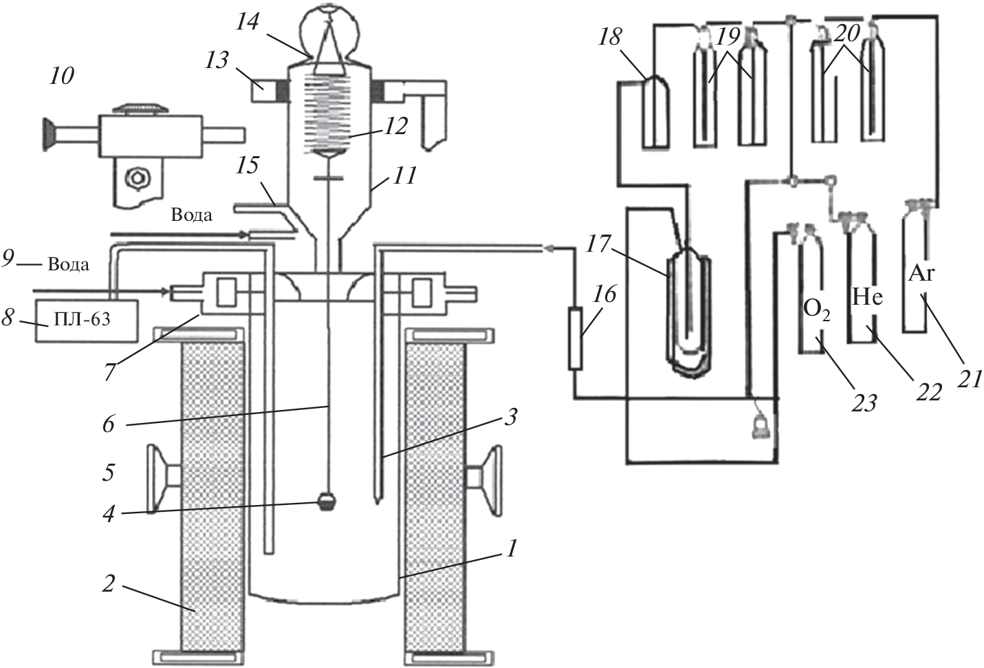
При плавке литейных алюминиевых сплавов наблюдаются их угар или точнее, окисление газовой фазой печи. Для выбора оптимального режима плавки сплавов необходимо знание физико-химических закономерностей данного процесса, которые мало изучены. Для изучения кинетики окисления металлических расплавов используется метод непрерывного взвешивания образца, применяемый обычно при изучении высокотемпературной коррозии твердых металлов. Механизм взаимодействия жидких металлов с кислородом близок по природе к высокотемпературной газовой коррозии твердых металлов. В обоих случаях имеет место адсорбция газовых молекул на поверхности металла, зарождение, а затем рост пленки оксида. В работе методом термогравиметрии исследована кинетика окисления модифицированных стронцием расплавов АЛ2, АЛ4 и АЛ9 кислородом воздуха. Показано, что добавки стронция до 0.1 мас. % повышают окисляемость расплавов. Рост температуры способствует увеличению скорости окисления указанных расплавов. Процесс окисления исследуемых расплавов подчиняется параболическому закону. Истинная скорость окисления имеет порядок 10–4 кг/м2 · с. Кажущаяся энергия активации окисления в зависимости от количества модификаторов в сплавах составляет: для сплава АЛ2 – 56.52–43.75 кДж/моль, сплава-АЛ4 59.74–37.09 кДж/моль, сплава-АЛ9 61.40–39.90 кДж/моль. Установлен механизм влияния стронция на кинетику окисления расплавов АЛ-2, АЛ-4 и АЛ-9. Доминирующую роль в формирования защитной оксидной пленки играет оксид алюминия Al2O3.
Об авторах
Н. С. Олимов
Таджикский государственный педагогический университет им. С. Айни
Email: ganievizatullo48@gmail.com
Таджикистан, Душанбе
И. Н. Ганиев
Институт химии им. В.И. Никитина НАН Таджикистана
Автор, ответственный за переписку.
Email: ganievizatullo48@gmail.com
Таджикистан, Душанбе
М. Ч. Ширинов
Таджикский государственный педагогический университет им. С. Айни
Email: ganievizatullo48@gmail.com
Таджикистан, Душанбе
Список литературы
- Строганов Г.Б., Ротенберг В.А., Гершман Г.Б. Сплавы алюминия с кремнием. М.: Металлургия, 1977.
- Ершов Г.С., Черняков В.А. Строение и свойства жидких и твердых металлов. М. Металлургия, 1978.
- Луц А.Р., А.А. Суслина. Алюминий и его сплавы. Самара: Изд. Самарский Государственный технический университет, 2013.
- Золотаревский В.С., Белов Н.А. Металловедение литейных алюминиевых сплавов. М.: Изд-во МИСиС, 2005.
- Белецкий В.И., Киров Г.А. Алюминиевые сплавы (состав, свойства, технология, применения): справочник / Под ред. И.Н. Фридляндера. Киев: КОМИНТЕХ, 2005.
- Ганиев И.Н., Вахобов А.В., Джураев Г.Д., Каляева В.Г. Модифицирование Al–Si-сплавов стронцием // Литейное производство. 1975. № 1. С. 33–34.
- Куценок Н.Л., Андрушевич А.А., Ганнев И.Н., Янчук В.Н. Технологические особенности модифицирования силуминов алюминий-стронциевыми лигатурами // Технология автомобилестроения. 1983. № 8. С. 7–10.
- Залинова И.М., Гудченко А.П., Алеев Р.Н., Панов Л.Б. Влияние стронция и натрия на поверхностное натяжение силуминов // Литейное производство. 1975. № 2. С. 23–24.
- Олимов Н.С., Ганиев И.Н., Ширинов М.Ч. Окисления сплавов системы АI–Ge в жидком состоянии // Расплавы. 2015. № 4. С. 19–26.
- Лепинских Б.М., Киташев А.С., Белоусов А.А. Окисление жидких металлов и сплавов. М.: Наука, 1973.
- Лепинских Б.М., Киселёв В.М. Об окислении жидких металлов кислородом из газовой фазы // Изв. Ан СССР. Металлы. 1974. № 5. С. 51–54.
- Назаров Ш.А., Ганиев И.Н., Эшов Б.Б., Ганиева Н.И. Кинетика окисления сплава Al + 6% Li, модифицированного церием // Металлы. 2018. № 3. С. 33–38.
- Ганиев И.Н., Ганиева Н.И., Эшова Д.Б. Особенности окисления алюминиевых расплавов с редкоземельными металлами // Металлы. 2018. № 3. С. 39–47.
- Альтман М.Б., Стромская Н.П. Повышение свойств стандартных литейных алюминиевых сплавов. М.: Металлургия. 1984.
Дополнительные файлы







