Организация и проведение стендовых испытаний соединений резиновых армированных манжет с валами
- Authors: Леонов О.А.1, Шкаруба Н.Ж.1, Мельников О.М.1, Нестеркин Г.А.1, Конкин М.Ю.1
-
Affiliations:
- Российский государственный аграрный университет – МСХА им. К.А. Тимирязева
- Issue: No 2 (2024)
- Pages: 66-74
- Section: ЭКСПЕРИМЕНТАЛЬНАЯ МЕХАНИКА. ДИАГНОСТИКА ИСПЫТАНИЯ
- URL: https://journal-vniispk.ru/0235-7119/article/view/264631
- DOI: https://doi.org/10.31857/S0235711924020091
- EDN: https://elibrary.ru/QVRJAQ
- ID: 264631
Cite item
Full Text
Abstract
Показано, что соединения резиновых манжет с валами должны обладать заданными параметрами долговечности в целях обеспечения герметичности сборочной единицы, в которой они установлены. Обоснована необходимость и важность проведения стендовых испытаний резиновых армированных манжет с валами. Приведено описание конструкции специального стенда для проведения ускоренных испытаний резиновых армированных манжет с валами. Представлены результаты стендовых ускоренных испытаний манжет 1.1-45×65 ГОСТ 8752–79 в соединении с валами из стали 45. Выявлено, что незначительные утечки проявляются с самого начала работы соединения, а далее по мере увеличения времени работы их величина возрастает. Главным фактором, влияющим на рост утечек, является натяг в соединении, который уменьшается в результате износа деталей.
Keywords
Full Text
Долговечность работы соединений можно увеличить двумя путями – повышением износостойкости пар трения и рациональным выбором точности деталей [1]. Особенно это касается ответственных соединений агрегатов машин, которые являются нагруженными и имеют тенденцию к быстрому износу [2]. В противном случае идет рост экономических потерь из-за поломок и простоев техники [3], что невыгодно предприятию, эксплуатирующему эту технику, поэтому в будущем будут выбираться другие марки.
Соединение «вал–уплотнение» является ответственным элементом любого агрегата, и его надежность имеет большое значение для обеспечения срока эксплуатации всей сборочной единицы. Необходимо уделить особое внимание выбору материалов, обработке поверхностей и типу уплотнения для обеспечения эффективного, герметичного и износостойкого соединения [4, 5].
При выборе материалов важно учитывать условия эксплуатации, такие как температура, давление, химическая агрессивность среды и скорость вращения вала. Материалы должны быть совместимы друг с другом и обеспечивать необходимую длительную прочность, повышенную износо- и коррозионную стойкость соединения.
Резиновые уплотнения можно изготовить из различных материалов, каждый из которых имеет свои преимущества и недостатки с точки зрения износостойкости. Например, нитриловые резины имеют более высокую износостойкость, чем натуральные резины, но они могут быть более дорогими.
Установка уплотнения должна проводиться с соблюдением всех необходимых требований и рекомендаций производителя. Важно обеспечить правильное позиционирование уплотнения, без перекосов, а также равномерное и стабильное сжатие резиновой кромкой по всей поверхности контакта с валом.
Следует помнить, что от надежности соединения зависит срок службы всего агрегата в целом – коробок передач, двигателей, редукторов, которые широко применяются в современной технике. Поэтому задача повышения надежности соединения «вал–уплотнение» является актуальной. В современных научных исследованиях можно выделить три основных направления решения поставленной задачи: 1) улучшение физико-химических свойств материала армированной манжеты [6–11]; 2) совершенствование конструкции манжет [12–15]; 3) повышение качества и износостойкости поверхностей валов под манжету [16–18].
Для подтверждения эффективности предлагаемых методов повышения качества соединения «вал–уплотнение» необходимо проводить стендовые испытания [19–20]. Таким образом, организация стендовых испытаний является неотъемлемой частью работ по совершенствованию надежности соединения «вал–уплотнение».
Целью исследований является экспериментальная оценка величины удельной утечки в зависимости от натяга в соединении «вал–уплотнение». Для достижения поставленной цели необходимо: 1) разработать методику проведения стендовых ускоренных испытаний соединений «вал–уплотнение»; 2) провести эксперимент и построить эмпирические зависимости величины удельных утечек от времени работы соединения, натягов в посадке, вероятности безотказной работы.
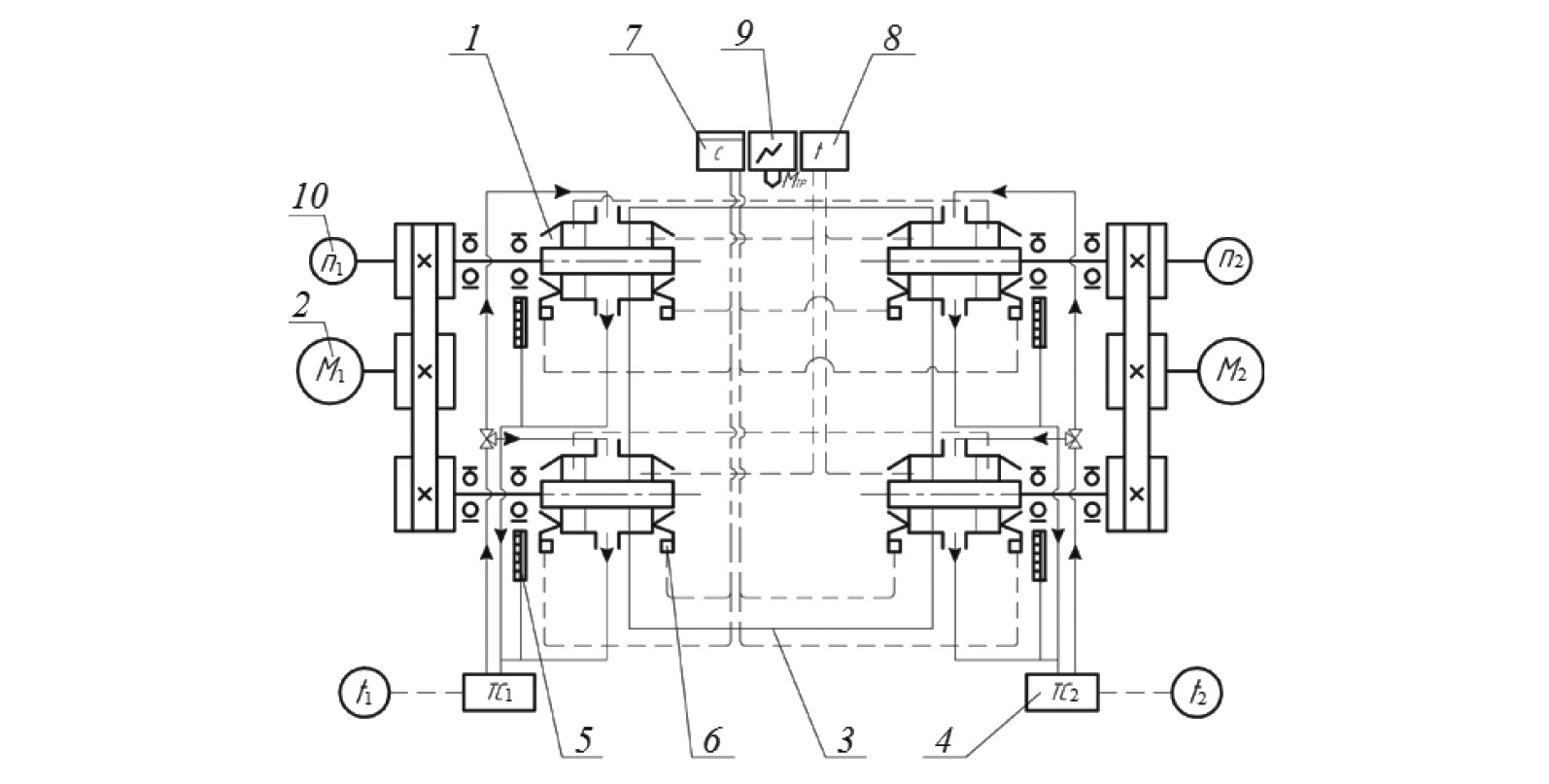
Средства и методы исследований. Для проведения стендовых ускоренных испытаний соединений «вал–уплотнение» использован модернизированный стенд, принципиальная схема которого представлена на рис. 1.
Рис. 1. Принципиальная схема стенда для испытания уплотнительных узлов: 1 – рабочая камера; 2 – электропривод; 3 – основание; 4 – термостат; 5 – уровнемер; 6 – датчик утечки; 7 – блок счетчиков; 8 – потенциометр; 9 – шлейфный осциллограф; 10 – тахометр
Технические характеристики стенда приведены в табл. 1.
Таблица 1. Технические характеристики стенда для испытания уплотнительных узлов
Наименование контролирующего параметра | Величина |
Максимальное число одновременно испытуемых узлов, шт. | 8 |
Число рабочих камер, шт. | 4 |
Диаметр испытуемых узлов, мм | 45 |
Частота вращения вала, мин–1 | 50–3000 |
Система подачи рабочей жидкости | Проточная термостатированная |
Рабочая жидкость | масло ТАП-15В |
Емкость термостатов, л | 2 · 24 = 48 |
Температура рабочей жидкости, °С | 20–200 |
Радиальное биение вала, мм | 0–1 |
Концентрация механических примесей в рабочей жидкости, % по массе | 0–2 |
Максимально потребляемая мощность, кВт | 7.4 |
в том числе: электроприводом, термостатами | 4.4 3 |
Напряжение питающей сети, В | 380 |
Основными узлами стенда являются четыре модуля с рабочими камерами, в каждой из которых размещены по два испытуемых уплотнительных узла. Модули распределены на два автономных блока с индивидуальными приводами и гидравлическими системами. Привод валов каждого блока осуществляется через клиноременную передачу от электродвигателей типа П2201У4 мощностью по 2.2 кВт с плавной регулировкой частоты вращения вала в диапазоне 50–3000 мин–1. Рабочие камеры каждого блока связаны теплоизолированными трубопроводами с термостатами типа ТС-24, обеспечивающими циркуляцию, термоизоляцию и нагрев рабочей жидкости в диапазоне температур 20–120 °С. Уровень рабочей жидкости в камерах контролируется стеклянными уровнемерами и регулируется дросселями на напорных и сливных магистралях. Проточная циркуляционная система подачи рабочей жидкости и сведение к минимуму застойных зон обеспечивают достаточную стабильность концентрации механических примесей абразива в рабочей жидкости при его наличии.
В измерительную систему стенда входят вольтметры для контроля напряжения внешней силовой сети и напряжения питания двигателей электропривода, тахометры для контроля частоты вращения рабочих валов, термометры для контроля температуры масла, тензометрическая система измерения силы трения.
Методика проведения стендовых ускоренных испытаний соединений «вал–уплотнение» заключалась в следующем. Перед испытаниями проводилась оценка качества манжет по относительной остаточной деформации до 70% после выдержки в рабочей среде 70 ч при температуре +110 °С и степени набухаемости манжет до 7%.
Манжеты подбирались в серии по натягу (диаметру) 2.0 (29.0), 2.3 (29.3), 2.7 (29.7), 3.0 (30.0) по 2 шт. и устанавливались в рабочую камеру номером вверх для обеспечения точности эксперимента.
Испытания проводились в целях определения зависимостей изменения величины утечек, натяга и износа от времени, прогнозирования времени достижения их предельных значений.
Конструкция стенда позволяла полностью моделировать условия эксплуатации соединения.
Режимы испытаний обоснованы исследованиями реальных эксплуатационных режимов и уточнялись на предварительных экспериментах. Для соединения «вал–уплотнение» картофелеуборочных комбайнов рабочая частота вращения составляет 100–1000 мин–1; температура в редукторах до 50 °С, поэтому примем частоту вращения 600 мин–1. Это связано с обеспечением точности дальнейших расчетов, так как коэффициент кратности (ускорения или замедления) показаний режимов по сравнению с реальными объектами не должен превышать двойки. Количество абразива в масле принято 1.5%, как главного фактора ускорения испытаний. Температура рабочей жидкости сохранялась в пределах 50 ± 2.5 °С.
Измеряемые параметры и средства измерений, используемые на стенде, представлены в табл. 2.
Таблица 2. Измеряемые параметры и средства измерений
Измеряемые параметры | Средства измерений | Погрешность | Пределы измерений |
Частота вращения рабочего вала, мин–1 | Первичный преобразователь Д-4 (ГОСТ 21339–82Е) и измеритель магнитоиндукционного дистанционного тахометра ТЭ-4В (ТУ 25-02-1500-78) | ±20 | 50–3000 |
Температура рабочей жидкости, °С | Термометр манометрический ТПП2-В (ГОСТ 8624–80), класс точности 4.0 | ±2.5 | 0–120 |
Сила трения, Н | Тензодатчик (ГОСТ 21616–76), усилитель 8АНЧ-7М, осциллограф HI 17 | 2% | 0–100 |
Утечка, см3 | Объемный метод мензурки 10 см3 | ±0.1 | 0–10 |
Усилие обжатия, Н | Тензодатчик (ГОСТ 21616–76) | 2% | 0–25 |
Ширина контактной зоны и диаметр манжет, мм | Двухкоординатный измерительный прибор ДИП-6 с оптико-электронной измерительной системой НИИК-890 | ±0.001 | Х 0–200 У 0–100 |
В качестве испытуемых деталей соединения использовались серийные и модифицируемые манжеты 1.1-45×65 ГОСТ 8752–79 и втулка из стали 45 ГОСТ 1050–88 с поверхностной твердостью не менее HRC 50, Ra = 0.32 мкм.
Чертеж втулки и внешний вид образцов для испытаний приведены на рис. 2.
Рис. 2. Образцы для стендовых испытаний: (а) – внешний вид образцов; (б) – эскиз втулки
Величину утечки по каждому подциклу фиксировали с помощью конусных мензурок, закрепленных на передней панели стенда с ценой деления 0.1 см3. В конце каждых 5 ч работы поднимали уровень масла в камерах до оси вала в течение 20 мин.
Наряду с определением износостойкости соединения «вал–манжета», при проведении испытаний оценивается изменение величины утечки во времени и прогнозируется время достижения предельного значения утечки Qпр. Согласно ГОСТ 8752–79 «Манжеты резиновые армированные для валов. Технические условия», удельные утечки не должны быть более 10–2 см3.
Расчет удельных утечек q, см3, производили по формуле (ГОСТ 8752–79)
, (1)
где Q – утечки за время t, см3; t – время сбора утечки, ч (t ≥ 8 ч); D – диаметр вала, см.
Результаты ускоренных стендовых испытаний соединений резиновых армированных манжет с валами и их обсуждение. Для выявления зависимости между натягом и утечками в соединении резиновых армированных манжет с валами был проведен полный цикл ускоренных испытаний, результаты которого представлены в табл. 3.
Таблица 3. Результаты ускоренных испытаний соединений резиновых армированных манжет с валами
Параметр | Время, ч | |||||
0 | 30 | 60 | 90 | 120 | 150 | |
Износ соединения U, мм | 0 | 0.403 | 0.575 | 0.757 | 0.870 | 0.962 |
Путь трения L, км | 0 | 153 | 305 | 458 | 610 | 763 |
Натяг N, мм | 2.62 | 2.29 | 2.12 | 1.94 | 1.82 | 1.73 |
Утечки в соединении | ||||||
q, см3 | 0 | 1.94 | 3.19 | 8.60 | 15.24 | 22.75 |
Q, см3/ч | 0 | 0.065 | 0.059 | 0.095 | 0.128 | 0.152 |
На рис. 3 показана зависимость утечек от времени работы соединения, откуда видно, что с увеличением времени работы утечки в соединении увеличиваются.
Рис. 3. Экспериментальная зависимость утечек от времени работы соединения
Эмпирические данные (рис. 3) были аппроксимированы линейной зависимостью (величина достоверности аппроксимации R² = 0.94):
, (2)
где t – время работы (испытаний), ч.
Экспериментальная зависимость утечек от уменьшения натяга в соединении представлена на рис. 4, откуда видно, что чем меньше натяг, тем меньше величина утечки.
Рис. 4. Экспериментальная зависимость утечек от натяга
Эмпирические данные (рис. 4) были аппроксимированы полиномиальной зависимостью (величина достоверности аппроксимации R² = 0.95):
, (3)
где N – натяг в соединении, мм.
Экспериментальная зависимость износа от времени работы представлена на рис. 4, откуда видно, что износ увеличивается во время работы соединения, при этом скорость изнашивания уменьшается, что подтверждается аппроксимирующей зависимостью (4).
Эмпирические данные (рис. 5) были аппроксимированы полиномиальной зависимостью (величина достоверности аппроксимации R² = 0.99):
, (4)
где I – износ в соединении, мм.
Рис. 5. Зависимость износа соединения от времени работы
Особенностью полученных результатов исследований является тот факт, что незначительные утечки проявляются с самого начала работы соединения, а далее по мере увеличения времени работы их величина возрастает. Главным фактором, влияющим на рост утечек, является натяг в соединении, который уменьшается в результате износа. Снижение интенсивности изнашивания объясняется увеличением ширины рабочей кромки манжеты по мере износа, что влечет за собой уменьшение давления манжеты на вал. Натяг, в свою очередь, компенсирует погрешности формы и расположения поверхностей, такие как отклонение от соосности и радиальное биение вала относительно манжеты, поэтому утечки начинаются даже из-за того, что достаточно плотная кромка материала манжеты не успевает следить за валом при его вращении и наличии радиального биения.
Выводы. Таким образом, в результате проведенных исследований разработана методика проведения стендовых испытаний соединений резиновых армированных манжет с валами с учетом конструктивных и технических особенностей стенда.
Проведены стендовые ускоренные испытания соединений манжет 1.1-45×65 и валов, изготовленных из стали 45 с поверхностной твердостью HRC 50, Ra = 0.32 мкм.
Получены зависимости: утечек от времени работы соединения, которая носит линейный характер; утечек от натяга, которая аппроксимирована полиномиальной обратно пропорциональной зависимостью; износа от времени работы, которая аппроксимирована полиномиальной прямо пропорциональной зависимостью. Незначительные утечки возникают с самого начала работы соединения и увеличиваются по мере изнашивания материалов резины манжеты и поверхности вала. По мере износа происходит уменьшение натягов в соединении, а снижение интенсивности изнашивания объясняется увеличением ширины рабочей кромки манжеты по мере износа, что влечет за собой уменьшение давления манжеты на вал.
Финансирование. Данная работа финансировалась за счет средств бюджета института. Никаких дополнительных грантов на проведение или руководство данным конкретным исследованием получено не было.
Конфликт интересов. Авторы данной работы заявляют, что у них нет конфликта интересов.
About the authors
О. А. Леонов
Российский государственный аграрный университет – МСХА им. К.А. Тимирязева
Author for correspondence.
Email: metr@rgau-msha.ru
Russian Federation, Москва
Н. Ж. Шкаруба
Российский государственный аграрный университет – МСХА им. К.А. Тимирязева
Email: metr@rgau-msha.ru
Russian Federation, Москва
О. М. Мельников
Российский государственный аграрный университет – МСХА им. К.А. Тимирязева
Email: metr@rgau-msha.ru
Russian Federation, Москва
Г. А. Нестеркин
Российский государственный аграрный университет – МСХА им. К.А. Тимирязева
Email: metr@rgau-msha.ru
Russian Federation, Москва
М. Ю. Конкин
Российский государственный аграрный университет – МСХА им. К.А. Тимирязева
Email: metr@rgau-msha.ru
Russian Federation, Москва
References
- Leonov O. A., Shkaruba N. Z., Temasova G. N., Vergazova Y. G., Golinitskii P. V. Calculation of Fit Tolerance with Clearance to Increase Relative Wear Resistance of Joints // J. of Friction and Wear. 2023. V. 44. № 3. Р. 171. https://doi.org/10.3103/S1068366623030054
- Leonov O. A., Shkaruba N. Z., Vergazova Y. G., Golinitskiy P. V., Pupkova D. A. Fit of Elastic Sleeve-Pin Couplings with Shafts // Russian Engineering Research. 2023. V. 43 (4). Р. 399. https://doi.org/10.3103/S1068798X2305012X
- Leonov O. A., Shkaruba N. Z., Vergazova Y. G., Khasyanova D. U. Justification of Keyed Joint Fits // J. of Machinery Manufacture and Reliability. 2022. V. 51 (6). Р. 548. https://doi.org/10.3103/S1052618822060073
- Мельников О. М. Работоспособность соединений “вал–манжета” и повышение их надежности // Вестник федерального государственного образовательного учреждения высшего профессионального образования “Московский государственный агроинженерный университет имени В. П. Горячкина”. 2018. № 2 (84). С. 50. https://doi.org/10.26897/1728-7936-2018-2-50-54
- Erokhin M. N., Belov M. I., Melnikov O. M. Contact Pressure of a Rubber Cuff on a Shaft // Russian Engineering Research. 2021. V. 41. № 2. P. 115. https://doi.org/10.3103/S1068798X21020052
- Тараховский А. Ю., Бабиков И. И. Анализ применяемости фторопласта в конструкциях современных уплотнений силовых гидроцилиндров // Автоматизированное проектирование в машиностроении. 2020. № 8. С. 29. https://doi.org/10.26160/2309-8864-2020-8-29-31
- Mayasari H., Sholeh M., Kinasih N., Sya’bani M., Pidhatika B. The preparation of NBR/ENR composite for oil seal applications // European J. of Materials Science and Engineering. 2020. V. 5. Р. 161. https://doi.org/10.36868/ejmse.2020.05.03.161
- Shabbir S., Garvey S., Dakka S., Rothwell B., Su R., Leach R., Weston N. Analysis of the tribological interaction of a polytetrafluoroethylene-lined radial lip oil seal, shaft and lubricant sample // Proceedings of the Institution of Mechanical Engineers, Part J: J. of Engineering Tribology. 2021. V. 236. 135065012110058. https://doi.org/10.1177/13506501211005876
- Cheng X.-Р., Zhang Y.-L., Kang L.-Р. Study on Sealing Performance of Oil Seal with Micro-pores Textured in Rotary Shaft Surface //MATEC Web Conf. 2020. V. 327. Р. 03002. https://doi.org/10.1051/matecconf/202032703002
- Мухаметшина А. И., Буторин И. В., Нурлыева Г. Д. и др. Влияние состава резины манжет на их работоспособность // Автомобильная промышленность. 2015. № 2. С. 34.
- Stoll M., Dakov N., Gohs M., Bauer F. A near-frictionless sealing approach with innovative gas-lubricated shaft seals made of elastomer // Tribology Transactions. 2021. V. 64 (6). P. 1022. https://doi.org/10.1080/10402004.2021.1958967
- Heo S., Park G., Shin C., Lim K., Kwak H., Jang H., Kim C. Design of an expeller seal to reduce leakage in a stuffing box // J. of Mechanical Science and Technology. 2022. V. 36. P. 2387. https://doi.org/10.1007/s12206-022-0421-2
- Li Y., Hao M., Ren B., Li T., Sun X. Experimental Study on Leakage and Thermal Features of Herringbone-Grooved Oil-Film-Lubricated Mechanical Face Seals // Tribology Online. 2022. V. 17. Р. 126. https://doi.org/10.2474/trol.17.126
- Журавлева С. Н., Денисов М. В. Исследование влияния конструктивной формы рабочей кромки манжетного уплотнения на обеспечение гарантированной герметизации // Новые материалы и технологии в машиностроении. 2023. № 37. С. 21.
- Водяков В. Н., Кузнецов В. В., Березин М. А., Борисов В. И. Повышение ресурса уплотнительных соединений активного типа модификацией посадочных мест // Тракторы и сельхозмашины. 2009. № 8. С. 33.
- Пучков П. В., Зарубин В. П., Киселев В. В. и др. Повышение износостойкости валов дифференциалов за счет применения технологии алмазного выглаживания // Современные наукоемкие технологии. Региональное приложение. 2022. № 4 (72). С. 55. https://doi.org/10.6060/snt.20227204.0008
- Березин М. А. Теоретическое исследование влияния шероховатости поверхности контртела на работоспособность неподвижных уплотнительных соединений // Агропромышленные технологии Центральной России. 2023. № 1 (27). С. 137. https://doi.org/10.24888/2541-7835-2023-27-137-143
- Röttger J., Bergs T., Barth S., Baumann M., Bauer F. Influence of dressing parameters on the formation of micro lead on shaft sealing counterfaces during external cylindrical plunge grinding // Advances in Industrial and Manufacturing Engineering. 2022. V. 5. Р. 100098. https://doi.org/10.1016/j.aime.2022.100098
- Bauer N., Baumann M., Feldmeth S., Bauer F., Schmitz K. Elastohydrodynamic Simulation of Pneumatic Sealing Friction Considering 3D Surface Topography // Chemical Engineering & Technology. 2023. V. 46 (1). Special Iss: No. 7049610. Digital Reliable Sustainable. Р. 167. https://doi.org/10.1002/ceat.202200471
- Grün J., Gohs M., Bauer F. Multiscale Structural Mechanics of Rotary Shaft Seals: Numerical Studies and Visual Experiments // Lubricants. 2023. V. 11 (6). Р. 234. https://doi.org/10.3390/lubricants11060234
Supplementary files







