Исследование прочности в условиях равномерной нагруженности комбинированных резьбовых соединений в конструкциях деталей из термопласта с металлической арматурой
- Authors: Гулиев A.A.1, Гасанова Н.A.1, Ханкишиева Т.У.1
-
Affiliations:
- Азербайджанский Государственный Университет Нефти и Промышленности
- Issue: No 3 (2024)
- Pages: 21-30
- Section: НАДЕЖНОСТЬ, ПРОЧНОСТЬ, ИЗНОСОСТОЙКОСТЬ МАШИН И КОНСТРУКЦИЙ
- URL: https://journal-vniispk.ru/0235-7119/article/view/273502
- DOI: https://doi.org/10.31857/S0235711924030046
- EDN: https://elibrary.ru/PHCSNU
- ID: 273502
Cite item
Full Text
Abstract
В статье рассмотрены комбинированные резьбовые соединения, применяемые в машиностроении и нефтепромысловых объемных гидроприводных устройствах и других областях. Рассмотрена возможность создания комбинированной арматуры методом прессования-литья детали из пластической массы на металлическую арматуру. Установлено, что профиль и шаг резьбы следует выбирать из одного и того же расчета прочности резьбы из металла и термопласта. Установлено, что определяющую роль в расчете играет длина резьбы, а величина минимальной толщины стенок выбирается с помощью профилей резьбы. Установлено, что предел прочности при срезе термопластичных материалов значительно отличается от предела прочности металлических материалов.
Full Text
Актуальность. Широкое использование пластических масс является одним из эффективных путей повышения экономичности при изготовлении деталей, позволяет экономить цветные металлы, снижать вес машин. Применение пластмасс способствует повышению коррозионной стойкости деталей машин, а также позволяет уменьшить трудоемкость их изготовления.
При применении в металлической арматуре пластмассовых деталей [1]:
Элементы арматуры, запрессовываемые или заформовываемые в материал и определяющие геометрическое положение относительно изделия, называются фиксирующими, т. к. кроме базирования они выполняют еще и функцию крепления арматуры. Различие в физико-механических свойствах пластмасс и металлов заставляет искать оптимальные и конструктивные решения комбинированных соединений, применять специфические расчеты.
Однако с увеличением толщины клеевой прослойки резко падает общая прочность соединения на срез. Поэтому наибольшее распространение при соединении металлических деталей и арматуры с пластмассами получили резьбовые конструкции. Известно, что соединение пластмассы в металлической арматуре с резьбой является защитным средством для арматуры, а также делает ее более долговечной при работе в различных условиях. С этой точки зрения требуется учитывать различные механические свойства различных материалов при расчете резьбы [2]. Было определено, что резьба должна быть нагружена равномерно по всей длине резьбовой части. Выбор материала, разработка режимов литья, применение пресс-формы для литья с прессованием, разработка температур для среза влияют на точность проведения исследования. В зависимости от оптимальной длины резьбы получены более высокие значения предела прочности соединения на срез.
Цель исследований – определить предел прочности на срез комбинированных резьбовых соединений в условиях равномерной нагруженности резьбы в термопластических деталях конструкций с металлической арматурой, применяемых на машиностроительных и нефтепромысловых устройствах.
Для достижения поставленной задачи необходимо решить следующие вопросы: 1) выбор объекта исследования, металлической арматуры и термопластических материалов; 2) выбор технологических режимов для получения термопластического материала; 3) исследование физико-механических свойств и структуры металлов и термопластических материалов; 4) эксплуатация вертикально-разборной пресс-формы и приспособления для испытания конструкции на срез; 5) определение толщины допустимого слоя в термопластических материалах и толщины минимальной стенки детали; 5) вывод формулы для определения предела прочности на сдвиг по основным параметрам; 6) определение зависимости предела прочности на срез резьбы термопластической детали от диаметра металлической арматуры и толщины стенки.
Методика эксперимента. В гидравлическом цилиндре рабочее движение штока и действующие на него силы могут быть в обоих направлениях. Гидроцилиндры имеют узлы, выполняющие различные функции и, кроме того, детали с резьбовыми соединениями на поверхности.
Считается целесообразным заменить их арматурой из неподвижной пластической массы вместо металлических деталей. Чтобы сделать их более устойчивыми, было проведен расчет резьбы на прочность.
Рис. 1. Общий вид гидравлического цилиндра (а), металлической детали (б) и арматуры (в): 1 – корпус; 2 – поршень; 3 – крышка; 4 – кольца резиновые.
Применение металлической арматуры для повышения условий эксплуатации и долговечности 2-х деталей гидроцилиндров (рис. 1а), имеет большие преимущества [2]. В гидроцилиндре используются два варианта. В первом варианте деталь заменяется арматурой (рис. 1в). Во втором варианте при использовании латунной детали (рис. 1б) создается дополнительное арматурное соединение. Такие соединения пластиковой массы и металлической арматуры более устойчивы к коррозии. На рис. 1 показан общий вид упрощенного гидроцилиндра двустороннего действия.
Технологический режим деталей арматуры из полимерных материалов приведен в табл. 1.
Таблица 1. Технологически режим термопластических материалов
Материал | Заданная температура пресс-формы, °C | Заданное давление при сжатии, МПа | Температура пресс-формы, °C |
Полиамид | 255–265 | 15–100 | 30–80 |
Фторопласт | 250–300 | 50–100 | 30–100 |
Поскольку физико-механические свойства (табл. 2), структуры (рис. 2) выбранных материалов пластической массы и металлической детали относятся к числу свойств, играющих ключевую роль, из их сравнения предпочтение отдается защитному характеру [3].
Рис. 2. Микроструктура металлической арматуры (а) и термопластичной массы (б) ×500.
Таблица 2. Физико-механические свойства термопластических материалов и латуни
Материал | ρ, г/см3 | Предел прочности при растяжении, МПа | Предел прочности при сжатии, МПа | Твердость, НВ | Относительная удлинения δ, % | Рабочая температура, °C |
Полиамид | 1.4 | 100 | – | 230 | 4–14 | –200 ÷ +220 |
Фторопласт | 2.1–3 | 20 | – | 35 | 4–20 | –170 ÷ +220 |
Латунь | 8.5–8.7 | 260 | – | 500 | 45 | –40 ÷ –500 |
Для облегчения извлечения из пресс-формы изделий, изготовленных методами прессования и литья, их внутренней и наружной поверхностям следует придавать наклоны [4]. При получении прессованных изделий более широко применяют два способа горячего прессования: 1) прямое или прессование; 2) литье с прессованием (рис. 3).
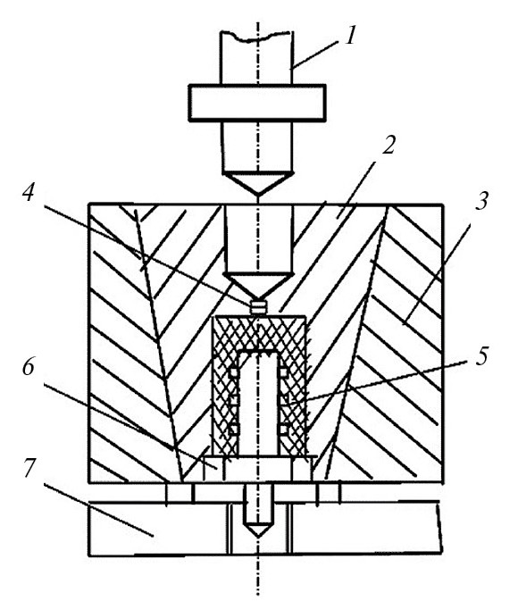
Рис. 3. Пресс-форма с вертикальным разъемом: 1– пуансон; 2 – матрица; 3 – обойма; 4 – центральное литниковое отверстие; 5 – металлическая арматура; 6 – наплечники; 7 – основание.
В обойму 3 с наклонными стенками вставляется матрица, состоящая из двух клинообразных частей. Пресс-материал из загрузочной камеры под давлением пуансона 1 камеры перетекает через центральный литник 4 в оформляющее гнездо пресс-формы. Литник располагается в плоскости соединения двух половинок матрицы и поэтому легко очищается от пресс-материала. Так как путь прессуемого материала от загрузочной камеры к формующей полости очень короток, то полностью устраняется возможность его преждевременного отверждения.
Описанные литьевые пресс-формы обычно применяются для получения изделий с подвнутренними поверхностями, содержащими тонкую и удлиненную арматуру.
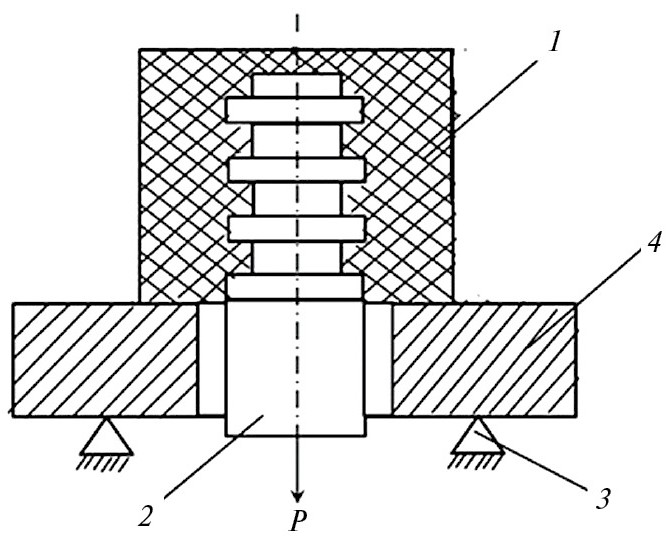
Рис. 4. Приспособление для испытания на срез гладкого образца по круговому контуру: 1 – пуансон; 2 – направляющая втулка; 3 – прижимная гайка; 4 – образец; 5 – фиксирующее кольцо; 6 – матрица; 7 – основание.
Испытание на срез проводят как по стандартной методике ГОСТ 17302–71 круговым сдвигом (рис. 4), так и на прямоугольных резьбовых соединениях в металлической арматуре (рис. 5).
Рис. 5. Испытание пластмассовой детали для прямоугольного резьбового образца: 1 – деталь из термопласта; 2 – металлический арматур; 3 – опора; 4 –приспособления.
Для обоих типов применяются специальные конструкции и устанавливаются пределы прочности на срез. В то же время это методически показано на теоретических примерах для общего случая резания.
Математическая зависимость между углом сдвига и касательным напряжением называется законом Гука при сдвиге
.
Зависимость между модулем сдвига и модулем Юнга
.
Значение коэффициента Пуассона µ находится в пределах 0 ≤ μ ≤ 0.5.
Условие прочности при сдвиге имеет вид
Временная прочность при срезе определяется по формуле
где – площадь поперечного сечения образца.
Исследовано, что толщина стенок оказывает существенное влияние на возникновение внутренних напряжений в теле детали, на точность изготовления и время выдержки детали под давлением при формообразовании. При выборе оптимальной толщины стенки руководствуются всеми факторами, и только путем анализа степени влияния каждого из них находят необходимую величину толщины стенки [5, 6]. В некотором случае величина минимальных толщин стенок выбирается с помощью профилей резьбы. Для определения наименьшей допускаемой толщины стенки деталей из термопластичных пластмасс можно рекомендовать также эмпирическую формулу
(1)
На рис. 6 для деталей из термопластов толщина детали определяется в зависимости от длины пути потока массы в форме.
Рис. 6. Определение минимальных толщин стенок детали на термопластичных пластмассах: В – толщина детали; S – длина пути массы.
При недостаточной толщине такой прослойки (рис. 7) при компрессионном прессовании происходит сильное уплотнение пластмассы под арматурой, препятствующее равномерной опрессовке материала по всему объему [7].
Рис. 7. Арматуры прямоугольных резьбовых (а) и без резьбовых (б) соединений термопластичных деталей.
Таблица 3. Допустимая толщина термопластмассовой слой
Диаметр (длина или ширина) металлической арматуры, мм | Коэффициент температурного расширения арматуры, α | Допустимая толщина слоя термопласта, δ | |
арматуры резьбовых соединений | арматуры без резьбовых соединений | ||
коэффициент температурного расширения пластмассы, α | |||
(0.4–2.3)⋅10–5 | (2.3–4.0)⋅10–5 | ||
26 | (1.1–1.8)⋅10–5 | 1.6–2.5 | 2.3–5.0 |
25 | 2.5–4.0 | 4.0–8.0 | |
40 | 4.0–6.0 | 6.0–10.0 | |
60 | 6.0–10.0 | 10.0–20.0 | |
В табл. 3 показана допустимая толщина стенного слоя. Получено, что чем пластичнее пластмассы, тем толще линейные (диаметральные) размеры арматуры и, наконец, чем меньше разница в температурных расширениях металла и термопласты, тем меньше требуется толщина слоя.
Известно, что существует большое различие характера разрушения металлических пластмассовых резьбовых соединений [8, 9]. В связи с этим в настоящее время не существует единого мнения в оценке прочности пластмассовых резьбовых соединений. Определено, что за счет более равномерного распределения нагрузки ластмассовые резьбовые соединения обладают значительной нагрузочной способностью [10].
При расчете резьбовых соединений разнородных материалов необходимо учитывать различие их механических свойств. Допустимое значение предела прочности пластмасс на срез во много раз уступает металлу. Поэтому симметричный профиль резьбового соединения, применяемый обычно при однородных материалах, в этом случае будет нерациональным [11].
Чтобы получить наименьшие габариты резьбового соединения разнородных материалов, необходимо профиль и шаг резьбы выбирать из расчета равнопрочиости витков пластмассовой и металлической резьбы.
Исходными данными для расчета являются: F – сила, действующая на резьбовое соединение; d – наружный диаметр резьбы; τп – предел прочности пластмассы на срез; τм – предел прочности металла на срез; kп, kм – коэффициенты запаса прочности при срезе для пластмассы и металла соответственно.
Целью расчета является определение следующих параметров: L – длины резьбы; t – шага резьбового соединения; S – ширины витка на металлической детали; h – высоты профиля резьбы.
При этом допускается, что все витки резьбы нагружены равномерно. Тогда для прямоугольной резьбы
; (2)
, (3)
Если из приведенных выше формул найдем допустимые величины прочности на срез, то мы получим следующие формулы
, (4)
и
, (5)
где – допускаемое напряжение на срез для металлической детали; – допускаемое напряжение на срез для пластмассовой резьбы; – относительная прочность металла.
Шаг резьбового соединения можно найти по формуле
. (6)
Ширина витка S на металлической детали выбирается по конструктивно-технологическим соображениям и составляет у изделий с диаметром до 250 мм – (1÷1.5) мм.
Число витков резьбы составляет
. (7)
Высота профиля h по конструктивным соображениям из расчета сопротивления витка смятию. Ориентировочно h ≥ S. Резьбы других профилей рассчитываются аналогично.
Рис. 8. Зависимость предела прочности на срез резьбы детали из термопласта от диаметра металлической арматуры и защитной толщины: 1 – L = 10 мм; 2 – L = 20 мм; 3 – L = 30 мм; 4 – L = 40 мм; 1, 2, 3, 4 – “металл–термопласт”; 1′, 2′, 3′, 4′ – “металл–металл”.
Исследования показывают, что предел прочности при срезе термопластичных материалов значительно отличается от предела прочности металлических материалов. Испытание предела прочности при срезе различных материалов в резьбовых соединениях проводили в специальной конструкции (рис. 8). На основании значений (табл. 3) исследовали зависимость предела прочности при срезе по длине различных резьбовых соединений от диаметра металлической арматуры и соответствующей ей толщины. По мере увеличения диаметра, толщины и длины резьбы (рис. 8) наблюдается последовательное увеличение предела прочности на срез. При наибольшей длине резьбы предел прочности “металл–термопласт” увеличивается в 2 раза, а при наименьшей длине в 2.2 раза, а “металл–металл” соответственно в 2.6 и 2.4 раза.
Резкое различие в пределах прочности на срез рассматриваемых комбинированных резьбовых соединений систем “металл–термопласт” и “металл–металл” заключается в том, что они стабильно и прочно “удерживают” арматуру в состоянии осаждения, контролируемого действием процесса термопластического отверждения. Предел прочности такого цельного резьбового соединения превосходит предел прочности подвижных резьбовых соединений “металл–металл”. Для сравнения можно сказать, что предел прочности на срез комбинированных резьбовых соединений в системах “металл–термопласт” и “металл–металл” относительно в 4 раза выше при наибольшей длине резьбы.
Вывод. 1. Были проведены исследования по получению термопластичного материала, определены технологические режимы, физико-механические свойства и микроструктура. 2. При конструировании было достигнуто в процессе отверждения устойчивое и прочное удержание металлической арматуры в состоянии контролируемого осаждения. 3. Минимальную круглую толщину детали из термопластического материала выбирают с помощью профиля резьбы. 4. Установлено, что в результате равномерного распределения нагрузки увеличивается нагрузочная способность и предел прочности на срез термопластических резьбовых соединений. 5. Определена формула с расчетными параметрами для определения предела прочности на срез комбинированных резьбовых соединений в сочетании с металлической арматурой и деталью из термопластического материала. 6. Выявлена зависимость предела прочности от диаметра и толщины металлической арматуры при нарезании резьбы термопластической детали.
Финансирование. Данная работа финансировалась за счет средств бюджета Азербайджанского Государственного Университета Нефти и Промышленности. Никаких дополнительных грантов на проведение или руководство данным конкретным исследованием получено не было.
Конфликт интересов. Авторы заявляют об отсутствии конфликта интересов.
About the authors
A. A. Гулиев
Азербайджанский Государственный Университет Нефти и Промышленности
Author for correspondence.
Email: haciyevanaila64@gmail.com
Azerbaijan, Баку
Н. A. Гасанова
Азербайджанский Государственный Университет Нефти и Промышленности
Email: haciyevanaila64@gmail.com
Azerbaijan, Баку
Т. У. Ханкишиева
Азербайджанский Государственный Университет Нефти и Промышленности
Email: haciyevanaila64@gmail.com
Azerbaijan, Баку
References
- Керимов Д. А., Курбанова С. К. Основы конструирования пластмассовых деталей и пресс-форм. Баку: Изд-во “Елм”, 1997. 504 с.
- Рагимов А. М., Гулиев А. А., Бабаев С. Г. Исследование методов переработки и режимов изготовления изделий электроводных композиционных пластических масс. Баку: Изд-во “Елм”, 2000. 170 с.
- Конструкционные материалы. Справочник / Под редакцией Б. Н. Арзамасова. Москва: Машиностроение, 1990. 688 с.
- Крыжановский В. К., Бурлов В. В., Паниматченко А. Д., Крыжановская Ю. В. Технические свойства полимерных материалов. СПб.: Профессия, 2005.
- Шульга А. В. Основы материаловедения композиционных материалов. Ч. 1. М.: НИЯУ МИФИ, 2013. 96 с.
- Кербер М. Л. Полимерные композиционные материалы. Структура. Свойства. Технологии. СПб.: Профессия, 2008. 560 с.
- Волков С. С., Розанов Д. С., Станкевич И. В. Разработка и исследование основных особенностей соединения пластмасс с металлами // Известия высших учебных заведений. Машиностроение. 2020. № 3. С. 15. https://doi.org/10.18698/0536-1044-2020-3-15-22
- Волков С. С. Сварка и склеивание полимерных материалов. Москва: Химия, 2001. С. 376.
- Kerimov D. A., Gasanova N. A. Determination of quality of plastic details without disruptions // 13th Int. Conf. ICAFS-2018 Warsaw, Poland. 2019. V. 896. Р. 848. https://doi.org/10.1007/978-3-030-04164-9_111
- Баранчиков В. И., Тарапанов А. С., Харламов Г. А. Обработка специальных материалов в машиностроении: Справочник. Библиотека технолога. М.: Машиностроение, 2002. 264 с.
- Бабин А. Н. Связующие для полимерных композиционных материалов нового поколения // Труды ВИАМ: Электрон. науч. -технич. журн. 2013. № 4.
Supplementary files










