Цифровизация процесса дефектации коленчатых валов
- Authors: Голиницкий П.В.1, Антонова У.Ю.1, Темасова Г.Н.1, Черкасова Э.И.2, Хасьянова Д.У.2
-
Affiliations:
- Российский государственный аграрный университет – МСХА им. К. А. Тимирязева
- Институт машиноведения им. А. А. Благонравова РАН
- Issue: No 3 (2024)
- Pages: 76-84
- Section: АВТОМАТИЗАЦИЯ И УПРАВЛЕНИЕ В МАШИНОСТРОЕНИИ
- URL: https://journal-vniispk.ru/0235-7119/article/view/273515
- DOI: https://doi.org/10.31857/S0235711924030107
- EDN: https://elibrary.ru/PGRKTI
- ID: 273515
Cite item
Full Text
Abstract
В статье рассмотрено применение цифровых технологий на ремонтных предприятиях, с учетом таких особенностей как неоднородность выпускаемой продукции, неритмичность производственного процесса, а также наличие сплошного контроля. Применение процессного подхода совместно с системами автоматизированного контроля, автоматизированной технологической подготовки производства, управление оборудованием и сбора информации, а также управления предприятием. Образованная данными системами единая информационная среда позволяет снизить в 1.75–1.8 раза количество неправильно забракованных и неправильно принятых деталей и исключить неверные решение по ремонту, а также сократить время на принятие решений.
Full Text
На сегодняшний момент в сельском хозяйстве РФ наблюдается снижение количества применяемых средств механизации, при этом скорость выбывания сельскохозяйственной техники намного опережает обновление парка машин. Обеспеченность техникой и специальным оборудованием сельскохозяйственных производителей находится на небольшом уровне, что не позволяет осуществлять сельскохозяйственные работы в установленные сроки. Это ведет к потерям с/х продукции [1].
По данным департамента растениеводства, механизации и защиты растений Минсельхоза России возрастной состав парка техники в АПК составляет примерно около 60% – свыше 10 лет. При этом, за три года парк тракторов со сроком эксплуатации более 10 лет снизился всего на 1.28%. зерноуборочных комбайнов – на 2.15, а кормоуборочных комбайнов увеличился на 1.01%. Также остается высокой доля зарубежной техники: в сельскохозяйственных организациях она составила по тракторам 69%, зерноуборочным комбайнам – 23%, кормоуборочным – 22%.
В связи с тем, что больше половины сельскохозяйственной техники старше 10 лет, возрастает роль ремонтных предприятий. Для обслуживания техники необходимо проведение своевременного и качественного ремонта.
Из всех возникающих отказов 2/3 приходится на три основных агрегата: двигатель, гидросистему и трансмиссию. Другие элементы конструкции техники достаточно надежные. При этом доля отказов в двигателе топливной аппаратуры – 25–30%, ЦПГ – 20–25% и кривошипно-шатунного механизма около 15%.
При этом качество отремонтированных деталей, узлов и агрегатов будет зависеть от имеющихся на предприятии средств измерений, отвечающих требованиям точности измерений и удобству их применения.
Ремонт двигателей – это сложный и трудоемкий процесс, направленный на восстановление его технических параметров. Качество ремонта двигателей зависит от множества факторов [1] и формируется на различных этапах, начиная с проектирования процесса ремонта и заканчивая обкаткой и испытанием отремонтированного двигателя. Двигатель внутреннего сгорания включает в себя несколько сотен деталей, все эти детали образуют различные типы соединений и посадок, от качества которых будет зависит качество работы двигателя в целом [2]. Поэтому на стадии проектирования ремонтного процесса необходимо обосновать требования к точности каждого типа, восстанавливаемого соединения, как для посадок с зазором [3], с натягом [4], уплотнительных узлов [5], так и для размеров, входящих в размерные цепи [6]. На этапе обкатки и испытаний важнейшим фактором является точность и достоверность получаемой измерительной информации [7].
Коленчатый вал является одной из дорогостоящих деталей двигателя, определяющих его ресурс, в связи с этим к его изготовлению и ремонту необходимо предъявлять повышенные требования по точности.
По данным ведущей научно-исследовательской организации “Федеральный научный агроинженерный центр ВИМ” у техники отечественного производства около 85–90% отказов узлов и деталей обусловлено производственными дефектами, которые вызваны отступлением геометрических размеров (до 31%), несовершенством технологического процесса изготовления (до 20%), неудовлетворительной качеством сборки, работой технологического оборудования, и другими нарушениями производственных процессов (до 22%) [8].
Работая в условиях динамических и ударных деформаций и вибраций, подвергаясь воздействию высоких температур, коленвал является одним из самых ответственных и дорогих элементов двигателя [9], именно поэтому вопросы цифровизации процессов надо начинать с такого вида деталей.
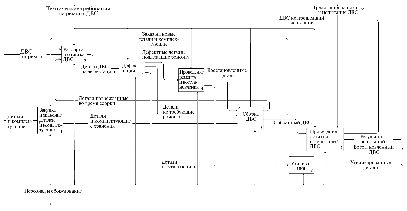
Рассмотрим процесс ремонта двигателей с позиции процессного подхода. На рис. 1 представлен в общим виде процесс ремонта ДВС, построенный в нотации IDEF0.
Рис. 1. Процесс ремонта ДВС в общем виде.
На рис. 2 и в табл. 1 представлены основные технические требования, предъявляемые к коленчатым валам дизельного двигателя ЯМЗ-236.
Коленчатые валы автомобильных двигателей целесообразнее заменять на новые, а крупногабаритные, например, коленвалы тракторных двигателей, восстанавливать, что позволяет экономить материальных и производственные ресурсы.
Рис. 2. Коленчатый вал двигателя ЯМЗ-236 с указанием видов контролируемых дефектов.
Таблица 1. Основные технические характеристики коленчатого вала двигателя ЯМЗ-236
№ п/п | Параметр | Значение |
1 | Диаметр шатунных шеек | 88 м |
2 | Диаметр коренных шеек | 110 |
3 | Допуск круглости и допуск профиля продольного сечения поверхностей 4 и 5 | 0.05 |
4 | Допуск круглости поверхностей 2 и 3 | 0.05 |
5 | Допуск симметричности отверстия 8 относительно поверхности 1 | 0.12 мм в радиусном выражении |
6 | Позиционный допуск отверстия 7 относительно поверхности 6 | 0.05 мм в радиусном выражении |
7 | Шероховатость поверхностей по ГОСТ 2789–73, не более: поверхностей 4 и 5 поверхностей 1 и 6 | Ra 0.25 мкм Ra 1.25 мкм |
8 | Допуск параллельности отверстия 1 относительно отверстия шатуна под поршневой палец | 0.04 м на длине 100 мм |
11 | Допуск круглости и допуск профиля продольного сечения для отверстия 1 | 0.05 |
12 | Шероховатость отверстия 1 по ГОСТ 2789–73 не должна быть более | Ra 0.5 мкм |
При эксплуатации коленчатых валов под воздействием нагрузок возможно возникновение следующих дефектов таких как: трещины или обломы; износ или задиры на коренных и шатунных шейках; износ задней коренной шейки по длине; износ передней или задней шеек под манжеты; износы шейки под шкив; износ шейки под передней противовес; износ шейки под шестерню; износ отверстия под подшипник; ослабление посадки установочных штифтов; износ шпоночного паза; ослабление посадки противовеса; износ зубьев шестерни по толщине; ослабление посадки шестерни; ослабление посадки переднего или заднего маслоотражателя; обрыв противовесов; срывы резьбы витков.
Рис. 3. Процесс дефектации коленчатого вала двигателя ЯМЗ-236.
Все перечисленные дефекты должны быть выявлены в процессе дефектации (рис. 3) от которого в дальнейшем зависит результат всего ремонта. Именно в процессе дефектации определяется возможность проведения ремонта коленчатых валов, что повышает требования как к оборудованию, так и персоналу в плане недопустимости попадания дефектного вала на сборку. Ремонтные предприятия, из-за высокой конкуренции с производителями, испытывают трудности с высококвалифицированными сотрудниками и в первую очередь отсутствуют кадры, умеющие работать с метрологическим оборудованием. Из-за сложившейся ситуации предприятия вынуждены снижать требования к сотрудникам, что не позволяет использовать современные, в том числе и цифровые, средства измерения.
Помимо проблем с измерениями возникают сложности с определением годности, а также с определением необходимых объемов и видов работ.
Решить первую проблему может внедрение системы автоматизированного контроля (CAI–Computer-aided inspection) которая, получив информацию от цифрового средства измерения, сравнивает с имеющимися параметрами в базе данных и делает заключение о годности.
Более сложной задачей является решение второй проблемы, поскольку не существует единой технологии восстановления, из-за чего необходимо использовать комплекс программного обеспечения. Так, разработка технологического процесса осуществляется в программах для автоматизированной технологической подготовки производства (CAPP – Computer-Aided Process Planning), а управление оборудованием и сбор информации осуществляется посредствам автоматизированных систем (CAM–Computer-aided manufacturing).
Внедрение каждой отдельной программы или отсутствие обмена информации между ними не позволит добиться желаемого эффекта поэтому их необходимо объединить на основе PLM (Product Lifecycle Management)/ERP (Enterprise Resource Planning) систем. Все перечисленные системы образуют на предприятии единую информационную среду (ЕИС), которая позволит добиться желаемого результата.
Из вышеизложенного следует, что на этапе внедрения данного комплекса потребуются высокие как финансовые, так и трудовые затраты, которые могут не окупиться при низкой производительности предприятия, поэтому в дальнейшем будем рассматривать предприятие производящие ремонт от 1000 ДВС в год. С другой стороны, при внедрении ЕИС произойдет значительное снижение внутренних и внешних потерь от брака на предприятии.
Главными особенностями ремонтных предприятий является неоднородность выпускаемой продукции и неритмичность производственного процесса, что накладывает свой отпечаток на выбор средств измерений в пользу более «простых» и универсальных. Помимо этого, на ремонтных предприятиях осуществляется сплошной контроль как при поступлении на ремонт деталей, так и после проведения восстановления. Основными параметрами при измерении для такого рода предприятий будет минимизация вероятности появления ошибок первого и второго рода, а также скорость проводимых измерений [10, 11].
Основными причинами возникновения ошибок является погрешность измерения и некорректная обработка данных. Так, рассеяние погрешности измерения накладывается на зону рассеяния действительных размеров и возникает неопределенность при принятии решения – годное изделие или бракованное. Под влияние наложения рассеяний попадают действительные размеры изделия, которые находятся около границ поля допуска. Взаимосвязь между допуском Т, параметрами рассеяния действительных размеров изделия (зоной рассеяния ωтех и среднеквадратическим отклонением σтех) и рассеянием самой погрешности измерения ∆, при распределении их по закону нормального распределения, представлена на рис. 4.
Рис. 4. Схема контроля: m (m₁) – число неправильно принятых изделий в процентах от общего числа измеренных (числа принятых); n (n₁) – число неправильно забракованных изделий в процентах от общего числа измеренных (числа годных); с (с₁) – вероятностная величина выхода измеряемого параметра за каждую границу допуска у неправильно принятых изделий (от числа принятых деталей).
Средства измерений для контроля шеек коленчатых валов выбирают из номенклатуры так, чтобы предельная погрешность измерения ∆lim была не более допускаемой нормируемой погрешности измерения δ
. (1)
Влияние погрешности измерения на результаты разбраковки оценивают параметрами, указанными на рис. 4.
Таблица 2. Результаты расчета неправильно принятых и неправильно забракованных шатунных шеек коленчатых валов двигателей ЯМЗ-236 при обработке под ремонтный размер
Параметр | Средство измерений | |
ЦСИ | АСИ | |
Контролируемый размер d, мм | 87.75–0.022 | |
Предельная погрешность СИ ∆lim, мкм | ±2 | ±3.5 |
СКО погрешности измерения, мкм | 1 | 1.75 |
Коэффициент точности измерения Amet, % | 4.54 | 7.95 |
Количество неправильно принятых шатунных шеек с исправимым браком m, % | 0.4 | 0.7 |
Количество неправильно принятых шатунных шеек с неисправимым браком m, % | 0.06 | 0.1 |
Количество неправильно забракованных шатунных шеек с исправимым браком n, % | 1.2 | 2.1 |
Количество неправильно забракованных шатунных шеек с неисправимым браком n, % | 0.6 | 1 |
Итого брака, % | 2.26 | 3.9 |
ЦСИ – Высокоточные цифровой микрометр микрометры с ценой деления 0.001 мм.
АСИ – Скоба рычажная СР-100 с ценой деления 0.002 мм.
Для расчетов точности измерений воспользуемся относительной величиной
, (2)
где – относительная погрешность измерения (коэффициент точности измерений); – среднеквадратическое отклонение погрешности измерения σмет = ∆lim/2; Т – допуск контролируемого параметра.
Проведем сравнение цифровых средств измерения с рекомендуемыми на примере контроля диаметров коренных и шатунных шеек коленчатых валов двигателя ЯМЗ-236. В качестве средства измерения, согласно нормативной документации, применяются скобы рычажные (СР-100).
В табл. 2, 3 представлено, как изменяется количество неправильно принятых и неправильно забракованных деталей при использовании различных средств измерений. В табл. 2 представлены результаты расчета неправильно принятых и неправильно забракованных шатунных шеек коленчатых валов двигателей ЯМЗ-236 при обработке под ремонтный размер.
Таким образом, при применении более точного средства измерения, количество неправильно принятых шатунных шеек снизится на 0.34%, а количество неправильно забракованных – на 1.3%.
В табл. 3 представлены результаты расчета неправильно принятых и неправильно забракованных коренных шеек коленчатых валов двигателей ЯМЗ-236 при обработке под ремонтный размер
Таким образом, при применении более точного средства измерения, количество неправильно принятых коренных шеек снизится на 1.12%, а количество неправильно забракованных коренных шеек – на 2.3%.
Анализируя таблицы с данными, можно сделать вывод, что общее количество неправильно принятых деталей сократится в 1.8 раз, а неправильно забракованных в 1.75 раз при применении более точного средства измерения.
Внедрение ЕИС позволяет исключить вероятность возникновения ошибок при обработки полученных данных, а также подобрать наиболее удачную технологию восстановления из доступных на предприятии вариантов. Исходя из этого процент бракованной продукции вовремя дефектации не превысит 4.5%.
Таблица 3. Результаты расчета неправильно принятых и неправильно забракованных коренных шеек коленчатых валов двигателей ЯМЗ-236 при обработке под ремонтный размер
Параметр | Средство измерений | |
ЦСИ | АСИ | |
Контролируемый размер d, мм | 109.75–0.022 | |
Предельная погрешность СИ ∆lim, мкм | ±2.0 | ±3.5 |
СКО погрешности измерения smet, мкм | 1.0 | 1.75 |
Коэффициент точности измерения Amet, % | 4.54 | 7.95 |
Количество неправильно принятых коренных шеек с исправимым браком m, % | 1.0 | 1.8 |
Количество неправильно принятых коренных шеек с неисправимым браком m, % | 0.43 | 0.75 |
Количество неправильно забракованных коренных шеек с исправимым браком n, % | 1.8 | 3.2 |
Количество неправильно забракованных коренных шеек с неисправимым браком n, % | 1.2 | 2.1 |
Итого брака, % | 4.43 | 7.85 |
ЦСИ – Высокоточные цифровой микрометр микрометры с ценой деления 0.001 мм
АСИ – Скоба рычажная СР-125 с ценой деления 0.002 мм
На подобных предприятиях используют универсальные средства измерения поэтому внедрение CAI-системы незначительно повлияло на скорость измерений, но позволило собрать и обработать данные используя возможности ЕИС, благодаря чему произошло снижение временных затрат на весь процесс дефектации до 30 минут на один коленчатый вал.
Заключение. Применение цифровых технологий на ремонтных предприятиях имеет свои особенности, так наличие сплошного входного контроля повышает важность проводимых измерений, на основе которых формируется перечень необходимых мероприятий. Применение цифровых инструментов с возможностью передачи данных позволяет не только добиться снижения в 1.75–1.8 раза неправильно забракованных и неправильно принятых деталей, но и исключить неверные решение по ремонту благодаря ЕИС. Помимо этого, сокращается время на принятие решения, что положительно сказывается на продолжительности ремонта. Также стоит отметить, не смотря на кажущуюся простоту применения цифровых технологий они требуют значительных финансовых и трудовых ресурсов на этапах разработки и внедрения поэтому перед принятием решения необходимо оценить все возможные риски.
Финансирование. Данная работа финансировалась за счет средств бюджета Российского государственного аграрного университета – МСХА им. К. А. Тимирязева и Института машиноведения им. А. А. Благонравова РАН. Никаких дополнительных грантов на проведение или руководство данным конкретным исследованием получено не было.
Конфликт интересов. Авторы заявляют об отсутствии конфликта интересов.
About the authors
П. В. Голиницкий
Российский государственный аграрный университет – МСХА им. К. А. Тимирязева
Author for correspondence.
Email: gpv@rgau-msha.ru
Russian Federation, Москва
У. Ю. Антонова
Российский государственный аграрный университет – МСХА им. К. А. Тимирязева
Email: gpv@rgau-msha.ru
Russian Federation, Москва
Г. Н. Темасова
Российский государственный аграрный университет – МСХА им. К. А. Тимирязева
Email: gpv@rgau-msha.ru
Russian Federation, Москва
Э. И. Черкасова
Институт машиноведения им. А. А. Благонравова РАН
Email: gpv@rgau-msha.ru
Russian Federation, Москва
Д. У. Хасьянова
Институт машиноведения им. А. А. Благонравова РАН
Email: gpv@rgau-msha.ru
Russian Federation, Москва
References
- Erokhin M. N. Production and Repair of Agricultural Equipment: Analysis by the 5M Principle // Russ. Engin. Res. 2023. V. 43. P. 1242. https://doi.org/10.3103/S1068798X23100076
- Ramanath M. N., Chikmath L., Murthy H. Analysis of separation mechanism and life enhancement study of lug joint with interference fit fastener // Sadhana. 2023. V. 48. № 4. P. 97. https://doi.org/10.1007/s12046-023-02253-6
- Leonov O. A., Shkaruba N. Z., Temasova G. N. et al. Calculation of Fit Tolerance with Clearance to Increase Relative Wear Resistance of Joints // J. Frict. Wear. 2023. V. 44. Р. 171. https://doi.org/10.3103/S1068366623030054
- Wang, J., Ran H., Dai P. et al. Flow characteristic analysis of a herringbone groove thrust bearing with shaft misalignment // Industrial Lubrication and Tribology. 2023. V. 75. № 1. Р. 67. https://doi.org/10.1108/ILT-06-2022-0198
- Reis Farias M., Baptista L. A. R., Troyman A. C. R. et al. Application of the stiffness method to the optimization analysis of a marine propulsion shaft system // J. Braz. Soc. Mech. Sci. Eng. 2023. V. 45. P. 116. https://doi.org/10.1007/s40430-023-04045-9
- Gurav S, Khan W., Khan Y. et al. Analysis Study Effect of Misalignment on Rotating Shaft // IJIRSET. 2022. V. 11 (4). Р. 3877. https://doi.org/10.15680/IJIRSET.2022.1104127
- Leonov O. A., Shkaruba N. Z., Vergazova Y. G. et al. Project Assessment of the Reliability of the Joint of a Circulation-Loaded Ring of a Rolling Bearing with a Shaft of Tolerance Class js6 // J. Mach. Manuf. Reliab. 2023. V. 52. P. 343. https://doi.org/10.3103/S1052618823040088
- Leonov O. A., Shkaruba N. Z. Normalization of the Indirect Measurement Errors of Acceptance Engine Tests // Meas. Tech. 2022. V. 65. P. 564. https://doi.org/10.1007/s11018-023-02121-z
- Ерохин М. Н., Дорохов А. С., Катаев Ю. В. Интеллектуальная система диагностирования параметров технического состояния сельскохозяйственной техники // Агроинженерия. 2021. № 2 (102). С. 45. https://doi.org/10.26897/2687-1149-2021-2-45-50
- Леонов О. А., Шкаруба Н. Ж. Совершенствование методики проведения микрометража и дефектации шеек коленчатых валов // Вестник ФГОУ ВПО МГАУ. 2007. № 3–1 (23). С. 81.
- Leonov O. A., Shkaruba N. Zh., Vergazova Yu. G., Temasova G. N., Pupkova D. A. Internal Losses in Machine Tool Production // Russian Engineering Research. 2023. V. 43. P. 802. https://doi.org/10.3103/S1068798X2307016X
- Bondareva G. I., Temasova G. N. et al. Assessing External Defects at Manufacturing Enterprises // Russian Engineering Research. 2022. V. 42 (2). P. 151. https://doi.org/10.3103/S1068798X22020046
- Shkaruba N. Z., Leonov O. A. Permissible Measurement Error in Monitoring the Shape and Position of Surfaces // Russian Engineering Research. 2021. V. 41 (3). P. 211. https://doi.org/10.3103/S1068798X21030175
- Бондарева Г. И., Леонов О. А., Шкаруба Н. Ж. и др. Проектирование и анализ качества контрольных процессов на ремонтных предприятиях. М.: ООО «ОнтоПринт», 2020. 95 с. https://doi.org/10.37738/VNIIGIM.2021.77.78.001
Supplementary files






