Анализ методик расчета контактной выносливости зубчатых цилиндрических передач
- Authors: Лебедев С.Ю.1, Сызранцев В.Н.1, Нахатакян Ф.Г.2
-
Affiliations:
- Тюменский индустриальный университет
- Институт машиноведения им. А. А. Благонравова РАН
- Issue: No 6 (2024)
- Pages: 54-62
- Section: НАДЕЖНОСТЬ, ПРОЧНОСТЬ, ИЗНОСОСТОЙКОСТЬ МАШИН И КОНСТРУКЦИЙ
- URL: https://journal-vniispk.ru/0235-7119/article/view/282740
- DOI: https://doi.org/10.31857/S0235711924060069
- EDN: https://elibrary.ru/NOXAAV
- ID: 282740
Cite item
Full Text
Abstract
В статье представлен анализ стандартизированных методик расчета нагрузочной способности зубчатых цилиндрических передач по критерию контактной выносливости. Представлен расчет нескольких передач по различным стандартизированным методикам, в том числе расчет передачи редуктора ЦУ-100-3.15.
Full Text
При проектировании зубчатых передач конструктор использует программное обеспечение, в котором реализованы существующие стандартизированные методики проектного и проверочного расчета зубчатых передач. Однако зачастую программное обеспечение позволяет выполнять расчет по нескольким стандартизированным методикам. К примеру, в программном обеспечении KISSsoft нагрузочную способность цилиндрической эвольвентной передачи можно осуществить по стандарту ГОСТ 21354-87 [1], ISO 6336:2019 [2], ANSI/AGMA 2101-D04 [3], DIN3990:1987 и др. В отечественном программном обеспечении КОМПАС-3D реализован проверочный расчет цилиндрических эвольвентных передач по ГОСТ 21354-87 [1]. Помимо методик, реализованных в программных продуктах, существуют отраслевые стандарты [4], а также методики [5, 6], базирующиеся на формулах ГОСТ 21354-75. Такой спектр методик требует от конструктора выбора, который необходимо обосновать, что создает дополнительные трудности при конструировании.
Другая необходимость ориентироваться в существующих стандартизированных методиках связана с обратным инжинирингом зубчатых передач. При обратном инжиниринге зубчатых передач зарубежного производства понимание стандартов проектирования по зарубежным методикам позволит конструктору объективно оценить нагрузочную способность копируемой передачи, а также возможности создать ее аналог на имеющихся производственных мощностях.
Цель статьи — продемонстрировать ключевые отличия стандартизированных методик проверочного расчета зубчатых цилиндрических передач по критерию контактной выносливости.
Научная новизна статьи заключается в том, что впервые представлены не только отличия различных стандартизированных методик, но и результаты расчетов нескольких передач по рассматриваемым методикам. Кроме того, в научно-технической литературе не было обнаружено сравнительного анализа методик [1, 3].
Действующие контактные напряжения. Для оценки нагрузочной способности необходимо вычислить действующие и допускаемые контактные напряжения в зацеплении передачи.
Контактные напряжения, возникающие при зацеплении зубьев цилиндрических передач, рассчитываются на основе положений теории упругости для точечного (арочные передачи) или линейного контакта, предложенных Г. Герцем [6]. Ввиду того, что реальное зубчатое зацепление имеет неизбежные отклонения от теоретического зацепления, расчетная формула контактных напряжений эвольвентных цилиндрических косозубых и прямозубых передач имеет ряд корректирующих коэффициентов, которые учитывают несовершенство зацепления, а также позволяют выполнять расчет через ключевые параметры зубчатой пары
(1)
где Zε — коэффициент, учитывающий суммарную длину контактных линий; ZH — коэффициент, учитывающий форму сопряженных поверхностей зубьев; ZE — коэффициент, учитывающий механические свойства материала; KH — коэффициент нагрузки; Ft — окружное усилие, Н; и — передаточное отношение; bw — рабочая ширина венца зубчатой передачи, мм; d1 — делительный диаметр шестерни, мм.
Формула (1) может быть видоизмененной, но является ключевой в существующих методиках расчета нагрузочной способности зубчатых цилиндрических эвольвентных косозубых и прямозубых передач в России [1, 4–6] и за рубежом [2, 3]. Отличие существующих методик заключается в расчете коэффициента KH, который и учитывает несовершенство зубчатого зацепления передачи. Коэффициент KH, является произведением нескольких коэффициентов
(2)
где KA — коэффициент внешней нагрузки; KHν — коэффициент динамичности; KHβ — коэффициент концентрации нагрузки по длине зуба; KHα — коэффициент распределения нагрузки между зубьями.
В зависимости от методики коэффициенты в (2) могут иметь разные наименования и способы определения, поэтому рассмотрим их подробнее.
Необходимость применения коэффициента KA связана с тем, что в зависимости от типа машины, в которой установлена передача, могут возникать пиковые и внешние вибрационные нагрузки. И если при расчете нагрузочной способности отсутствует циклограмма нагружения, то используют коэффициент KA, значение которого определяют по типу машины и силовой установке, приводящей в движение зубчатый привод. Значения KA, представленные в [1, 14], имеют одинаковые величины. В стандарте [3] указано о необходимости учета возможных перегрузок, но рекомендуемые значения коэффициента KA отсутствуют. Методика [4], основанная на ГОСТ 21354-75, коэффициент KA не учитывает, т. к. он не указан в ГОСТ 21354-75. В Р.007-2004 [5] указаны значения KA для расчета передач, эксплуатируемых на судах.
Значение коэффициента KHν зависит от конструкции передачи, технологии ее изготовления и условий эксплуатации. Расчет KHν по методике [1, 7] зависит от того, находится ли передача в резонансной или зарезонансной зоне, что определяется по специальной формуле через окружную скорость передачи. Расчет KHν по методике [1, 7] в резонансной и зарезонансной зоне идентичен. Однако для расчета KHν до резонансной зоны ГОСТ 21354-87 [1] использует формулы, разработанные в ГОСТ 21354-75, которые также реализованы в методике [4]. В стандарте [3] расчет KHν ведется по собственным формулам, исходными данными для которых служат окружная скорость и степень точности передачи в соответствии со стандартом [8]. В Р.007-2004 [5] используются формулы для расчета KHν из ГОСТ 21354-87 [1].
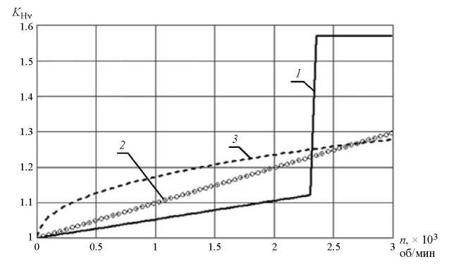
На рис. 1 представлены результаты расчетов коэффициента KHν по стандартам [1, 3, 7], для передачи с параметрами (табл. 1), взятыми из [6].
Рис. 1. График изменения коэффициента KHν от частоты вращения шестерни: 1 — ГОСТ 21354-87; 2 — ISO 6336-1; 3 — AGMA 2101-D04.
Таблица 1. Параметры передачи
Параметр | Значение |
Модуль нормальный, мм | 5 |
Число зубьев шестерни/колеса | 32/64 |
Угол наклона винтовой линии зуба, град | 16.25 |
Ширина зубчатого колеса, мм | 60 |
Крутящий момент, кН⋅м | 1891 |
Отклонение шага зацепления, мкм | 14 |
Отклонение формы профиля, мкм | 16 |
Результаты расчетов KHν, представленные на рис. 1, показывают, что методика [1] определяет зону резонанса для рассматриваемой передачи значительно раньше (при 2300 об/мин) относительно методики [7]. Скорость увеличения коэффициента KHν по методике [3] с ростом числа оборотов шестерни в минуту снижается, что может привести к заниженным значениям контактных напряжений в скоростных передачах.
Коэффициент KHβ учитывает влияние неравномерного распределения контактных напряжений по площадке контакта пары зубьев в передаче. На значение KHβ влияет несовершенство изготовления и сборки зубчатой передачи (технологический перекос), а также упругая деформация валов, подшипниковых колец и корпуса передачи (силовой перекос), зазоры в подшипниках. Кроме того, коэффициент KHβ зависит от жесткости зуба, тепловой деформации и воздействия центробежных сил.
Расчет коэффициента KHβ в методике [1] во многом схож с методикой расчета [7] по методу B (определение расчетных коэффициентов по ISO 6336-1 возможно тремя методами: метод A — экспериментальное определение, метод B — уточненный расчет, метод C — ориентировочный расчет). Первое отличие заключается в том, что в [7] расчет ведется при полном значении допуска на отклонение контактных линий, вызванное погрешностями изготовления, в то время как в [1] в расчете принимается треть или половина допуска в зависимости от технологии упрочнения зубьев колес. Второе отличие связано с тем, что в [7] есть возможность ориентировочно посчитать отклонение контактных линий в результате силового перекоса в зацеплении передачи, а в [1] это значение является требуемым исходным данным. Третье отличие — это возможность учета продольной и профильной модификации при расчете коэффициента KHβ по методике [7].
Методика расчета коэффициента KHβ [3] предлагает альтернативные формулы расчета коэффициента KHβ, которые отличаются наибольшей простотой. Часть расчетных значений при определении KHβ зависит от типа передачи: открытая или закрытая, прецизионная или сверхпрецизионная передача.
Методика [4] использует расчет по ГОСТ 21354-75. В Р.007-2004 [5] используются формулы для расчета KHβ из ГОСТ 21354-87 [1].
На рис. 2 представлен график изменения коэффициента KHβ от ширины венца шестерни, полученного по формулам: ГОСТ 21354-87 [1] (стандартная и уточненная методика по Приложению 3), ГОСТ 21354-75 [4], ISO 6336-1 [7] и ANSI/AGMA 2101-D04 [3]. Расчеты проводились для передачи с параметрами, представленными в табл. 1. Ввиду того, что величина KHβ зависит от расположения опор и жесткости вала, была принята конструкция передачи с симметричным расположением шариковых подшипников (расстояние между подшипниками 100 мм) при среднем диаметре шеек вал-шестерни в 100 мм и разностороннем расположении входного и выходного концов валов.
Рис. 2. График изменения коэффициента KHβ от ширины зубчатого венца bw: 1 — ГОСТ 21354-75; 2 — ГОСТ 21354-87; 3 — ГОСТ 21354-87 (уточненный расчет); 4 — ISO 6336-1; 5 — AGMA 2101-D04.
На основе полученных результатов (рис. 2) можно сделать следующие выводы: 1) результаты расчетов по формулам ГОСТ 21354-75 [4] показывают наибольший рост величины KHβ с увеличением ширины зубчатого венца, при этом показывают минимальное значение (1.052) при ширине венца в 30 мм; 2) графики KHβ, полученный по формулам ГОСТ 21354-87 [1] (уточненный расчет) и ISO 6336-1 [7] имеют одинаковую форму, но большие значения по ISO 6336-1 [7] обусловлены тем, что при расчетах использовалось полное значение допуска на отклонение контактных линий, вызванных неточностью изготовления передач; 3) меньшие значения KHβ полученные по стандартным формулам ГОСТ 21354-87 [1] относительно уточненного расчета, скорей всего связаны с тем, что при уточненном расчете коэффициент KHα необходимо принять равным единице, т. е. уточненный расчет является произведением коэффициентов KHβ и KHα; 4) результаты расчетов по формулам ANSI/AGMA 2101-D04 [3] имеют наименьшую чувствительность к увеличению ширины зубчатого венца.
Применение в расчетах коэффициента KHα связано с необходимостью учесть неравномерность распределения контактных напряжений между несколькими (как правило, двумя) парами зубьев, находящихся в зацеплении одновременно. Наибольшее влияние на величину коэффициента KHα оказывает жесткость зуба, погрешность шага зацепления и величина допустимой приработки.
Расчет коэффициента KHα в стандартах [1] и [7], как и в случае с расчетом коэффициента KHβ, отличается тем, что в [7] принимается полное значение допуска эквивалентной погрешности зацепления, а в [1] — 30 или 20% от полного допуска в зависимости от твердости рабочей поверхности зуба. Стандарт [3] принимает значение коэффициента KHα равным единице. В ГОСТ 21354-75 коэффициент KHα определяется для косозубых передач по графикам, для прямозубых передач принимается равным единице. В стандарте [5] формула для расчета идентична формуле из [1], но в расчет введен коэффициент, учитывающий отклонение суммарной длины контактных линий от их среднего значения.
Важно также отметить, что методика расчета контактных напряжений в стандарте [2] также требует выполнить расчет коэффициентов однопарного зацепления по шестерни и колесу, которые позволяют пересчитать значения контактных напряжений в точках разделения линии зацепления на однопарную и двупарную зоны.
Расчет контактных напряжений вне полюса зацепления можно обосновать тем, что теоретический расчет контактных напряжений по всей линии зацепления показывает, что в начале зацепления величина контактных напряжений больше [10]. Кроме того, на ножках шестерен после введения передачи в эксплуатацию можно наблюдать незначительный питтинг [6]. Однако расчет контактных напряжений в полюсе зацепления в большинстве методик связан с тем, что в полюсе вектор относительной скорости принимает противоположное значение, в результате чего в этой точке происходит разрыв масляной пленки. Это приводит к возникновению сухого или граничного контакта рабочих поверхностей зубьев. Поэтому прогрессирующий питтинг возникает в околополюсной зоне и является причиной отказа зубчатой цилиндрической передачи [11].
Допускаемые контактные напряжения. Расчет допускаемых контактных напряжений позволяет определить максимальное допустимое значение напряжений, при котором передача не откажет по данному критерию работоспособности при заданном ресурсе с определенной вероятностью.
Расчет допускаемых контактных напряжений осуществляется по формуле [1–6]
(3)
В зависимости от методики часть коэффициентов в (3) может не учитываться или иметь различное наименование и/или способ определения, поэтому рассмотрим их подробнее.
Предел контактной выносливости σHlim зависит от материала и способа обработки рабочей поверхности зубьев (улучшенная сталь, объемная закалка, цементация и др.). Существующие стандарты предлагают свои значения пределов контактной выносливости для каждой технологии. Зарубежные методики стандартов [3, 12] в отличии от русскоязычных для одного и того же материала и способа обработки зубьев определяют три уровня качества, каждый из которых определяет требования к структуре материала и технологии изготовления. Кроме того, согласно стандарту [12] цементованные зубья могут иметь предел контактной выносливости 1650 МПа при высшем уровне качества, а согласно стандарту [3] цементованные зубья на высшем уровне качества имеют контактную выносливость 1895 МПа. Однако в ГОСТ 21354-87 даже при твердости 65 HRC предел контактной выносливости для цементованных и нитроцементованных зубьев достигает 1495 МПа. Альтернативную методику определения контактной выносливости зуба предлагает стандарт [5], в котором значение определяется по формуле, переменными значениями которой являются суммарная скорость качения и твердость по Бринеллю.
Коэффициент ZNT в стандартах [1, 5] и методике [4] определяется по формулам, отличительная особенность которых в определении базового числа циклов по значению твердости рабочей поверхности зуба. В стандартах [2, 3] коэффициент ZNT определяется по таблицам или графикам (для удобства программирования указаны уравнения графиков изменения ZNT).
Коэффициент ZR в стандартах [1, 5] и методике [4] имеет определенные значения, зависящие от величины среднеарифметической шероховатости Ra рабочей поверхности зуба. В ISO 6336-2 на значение ZR также влияет предел контактной выносливости. Стандарт [3] шероховатость поверхности не учитывает.
В стандартах [1, 5] и методике [4] используются одинаковые формулы для расчета коэффициента Zν. Отличием стандарта [2] является влияние на Zν значения контактной выносливости. В стандарте [3] коэффициент Zν отсутствует.
Стандарты [1, 5] принимают значение коэффициента ZL равным единице, ссылаясь на то, что для получения каких-либо расчетных зависимостей вопрос еще недостаточно изучен. Стандарты [2, 3] и предлагают следующие формулы для расчета ZL:
(4)
где CZL — коэффициент, учитывающие среднее значение предела контактной выносливости зубьев шестерни и колеса; ν50 — коэффициент вязкости минерального масла при температуре 50°.
(5)
где ν40 — коэффициент вязкости минерального масла при температуре 40°.
Коэффициент CZL рассчитывается:
– при ,
– при (6)
– при .
Коэффициент Zx в [1, 5] рассчитывают для колес диаметром более 700 мм. Стандарты [2, 3] Zx не учитывают.
В стандартах [2, 3] также представлен коэффициент Zw, который учитывает возможность увеличения предела контактной выносливости в результате наклепа более мягкого зуба ведомого колеса. Согласно [2, 3] наклеп возможен для зубьев, твердость которых не превышает 450 HB.
Расчет коэффициента запаса прочности по контактным напряжениям. Для получения полноценного представления о существующих различиях в методиках расчета нагрузочной способности эвольвентных зубчатых цилиндрических передач был выполнен расчет [13] (табл. 2) коэффициента запаса прочности по контактным напряжениям для передач, параметры которых представлены в [1, 6, 14, 15]. Расчет выполнен по формулам ГОСТ 21354-87 [1], ISO 6336-1 [2, 7], ANSI/AGMA 2101-D04 [3] и ГОСТ 21354-75. Результаты расчетов по стандарту [5] показывают практически идентичные результаты с расчетом по стандарту [1], поэтому в табл. 2 не представлены. В расчетах независимо от методики общими приняты пределы контактной выносливости шестерни и колеса.
Таблица 2. Примеры расчетов зубчатых цилиндрических передач по стандартизированным методикам
Параметр | Пример № 1 [6] | Пример № 2 [15] | Пример № 3 [1] | Пример № 4 [14] | ||||||||||||
m, мм | 5.0 | 2.0 | 5.0 | 8.0 | ||||||||||||
z1/z2 | 36/72 | 23/73 | 32/64 | 17/103 | ||||||||||||
αw, град | 20.00 | 20.76 | 20.76 | 21.07 | ||||||||||||
x1/x2 | 0.000/0.000 | 0.080/–0.080 | 0.000/0.000 | 0.145/0.000 | ||||||||||||
β, град | 0.00 | 16.26 | 16.25 | 15.80 | ||||||||||||
bw, мм: шестерня/колесо | 90/90 | 25/25 | 60/60 | 100/100 | ||||||||||||
da, мм: шестерня/колесо | 190.0/370.0 | 52.2/155.1 | 176.7/343.4 | 159.7/872.4 | ||||||||||||
db, мм: шестерня/колесо | 169.1/338.3 | 44.8/142.2 | 155.8/311.7 | 132.2/801.0 | ||||||||||||
Коэффициент εα | 1.752 | 1.594 | 1.64 | 1.55 | ||||||||||||
Коэффициент εβ | 0.00 | 1.11 | 1.07 | 1.08 | ||||||||||||
Крут. момент, кН⋅м | 2.85 | 0.08 | 1.97 | 9.00 | ||||||||||||
Число оборотов шестерни, рад/с | 418.88 | 157.08 | 157.08 | 37.70 | ||||||||||||
Ресурс, ч | 3000 | 10000 | 1000 | 50000 | ||||||||||||
Ra, мкм | 2.0 | 2.0 | 2.0 | 1.0 | ||||||||||||
Отклонение направ. зуба, мкм | 12.0 | 19.0 | 23.0 | 9.0 | ||||||||||||
Отклонение шага зацепления, мкм | 10.0 | 16.0 | 20.0 | 11.0 | ||||||||||||
σH lim, МПа: шестерня/колесо | 1380/1380 | 1380/1380 | 1360/1050 | 1500/1500 | ||||||||||||
Тип упрочнения раб. поверхности: шестерня/колесо | цементация/цементация | цианирование/цианирование | цианирование/закалка ТВЧ | цементация/цементация | ||||||||||||
Вязкость масла (40°), мм2/с | 320 | 82 | 46 | 320 | ||||||||||||
Произв. коэфф.: Zε, ZH, ZE | 419 | 371 | 366 | 365 | ||||||||||||
Окр. скорость, м/с | 37.70 | 3.76 | 13.10 | 2.66 | ||||||||||||
Стандарт | ГОСТ 21354-87 | ISO 6336 | AGMA 2101-D04 | ГОСТ 21354-75 | ГОСТ 21354-87 | ISO 6336 | AGMA 2101-D04 | ГОСТ 21354-75 | ГОСТ 21354-87 | ISO 6336 | AGMA 2101-D04 | ГОСТ 21354-75 | ГОСТ 21354-87 | ISO 6336 | AGMA 2101-D04 | ГОСТ 21354-75 |
Коэффициент KHν | 2.15 | 1.79 | 1.00 | 1.24 | 1.03 | 1.01 | 1.12 | 1.01 | 1.08 | 1.03 | 1.21 | 1.06 | 1.01 | 1.01 | 1.00 | 1.01 |
Коэффициент KHβ | 1.10 | 1.23 | 1.24 | 1.23 | 1.65 | 1.68 | 1.00 | 1.96 | 1.25 | 1.29 | 1.20 | 1.28 | 1.09 | 1.09 | 1.28 | 1.13 |
Коэффициент KHα | 1.00 | 1.00 | 1.00 | 1.00 | 1.04 | 1.28 | 1.00 | 1.03 | 1.00 | 1.11 | 1.00 | 1.10 | 1.00 | 1.00 | 1.00 | 1.00 |
Коэффициент : – шестерня – колесо | 0.91 0.95 | 1.00 1.00 | 0.79 0.82 | 1.00 1.00 | 0.90 0.96 | 0.86 0.85 | 0.78 0.83 | 1.00 1.00 | 1.05 1.10 | 1.00 1.25 | 0.88 0.92 | 1.05 1.10 | 0.90 0.98 | 0.91 0.96 | 0.78 0.85 | 1.00 1.00 |
Коэффициент ZR | 0.95 | 0.91 | – | 0.95 | 0.95 | 0.89 | – | 0.95 | 0.95 | 0.91 | – | 0.95 | 1 | 0.97 | – | 1.00 |
Коэффициент Zν | 1.11 | 1.03 | – | 1.10 | 1.00 | 0.98 | – | 0.99 | 1.05 | 1.01 | – | 1.05 | 1 | 0.97 | – | 1.00 |
Коэффициент ZL | – | 0.93 | – | – | – | 0.96 | – | – | – | 0.93 | – | – | – | 1.05 | – | – |
Коэффициент Zx | 1.00 | – | – | 1.00 | 1.00 | – | – | 1.00 | 1.00 | – | – | 1.00 | 0.99 | – | – | 0.99 |
σH, МПа | 1105 | 1070 | 803 | 891 | 946 | 1065 | 750 | 1015 | 800 | 854 | 828 | 840 | 1241 | 1268 | 1338 | 1263 |
σHP, МПа: – шестерня – колесо | 1324 1382 | 1202 1202 | 1090 1132 | 1442 1442 | 1180 1259 | 994 982 | 1076 1145 | 1298 1298 | 1424 1152 | 1162 1122 | 1197 966 | 1424 1152 | 1337 1455 | 1349 1423 | 1170 1275 | 1485 1485 |
Коэффициент запаса: – шестерня – колесо | 1.198 1.251 | 1.123 1.123 | 1.357 1.410 | 1.618 1.618 | 1.247 1.331 | 0.933 0.922 | 1.435 1.527 | 1.279 1.279 | 1.780 1.440 | 1.361 1.314 | 1.456 1.167 | 1.695 1.371 | 1.077 1.172 | 1.064 1.122 | 0.874 0.952 | 1.175 1.175 |
Результаты расчетов в табл. 2 приводят к следующим выводам: 1) результаты расчетов показывают, что стандарт ANSI/AGMA 2101-D04 [3] дает минимальные значения коэффициента ZNT во всех рассчитываемых передачах, что снижает величину допускаемых напряжений; 2) большинство расчетных коэффициентов по стандартам ГОСТ 21354-87 [1], ISO 6336-1 [2, 7] показывают приблизительно одинаковые значения, что привело в примерах № 1 и № 4 к близким значениям коэффициентов запаса прочности по контактным напряжениям; 3) расчет в примере № 2 сделан для передачи стандартизированного редуктора ЦУ-100-3.15, который серийно изготавливается на территории РФ и в странах СНГ. Все методики, кроме ISO 6336-1 [2, 7] показали расчетное значение коэффициента запаса прочности по контактным напряжениям не менее 1.2, что можно считать удовлетворительным значением. Снижение коэффициента запаса прочности в результатах расчетов передачи редуктора ЦУ-100-3.15 по методике ISO 6336 связано с наиболее высоким значением коэффициента KHα, а также снижением предела контактной выносливости коэффициентом ZR, учитывающим шероховатость контактирующих поверхностей зубьев.
Финансирование. Данная работа финансировалась за счет средств бюджета институтов. Никаких дополнительных грантов на проведение или руководство данным конкретным исследованием получено не было.
Конфликт интересов. Авторы заявляют об отсутствии конфликта интересов.
About the authors
С. Ю. Лебедев
Тюменский индустриальный университет
Author for correspondence.
Email: lebedevsergey1995@gmail.com
Russian Federation, Тюмень
В. Н. Сызранцев
Тюменский индустриальный университет
Email: lebedevsergey1995@gmail.com
Russian Federation, Тюмень
Ф. Г. Нахатакян
Институт машиноведения им. А. А. Благонравова РАН
Email: lebedevsergey1995@gmail.com
Russian Federation, Москва
References
- ГОСТ 21354-87. Передачи зубчатые цилиндрические эвольвентные. Расчет на прочность. М.: Изд-во стандартов, 1988. 125 с.
- ISO 6336-2:2019. Calculation of load capacity of spur and helical gears. Part 2: Calculation of surface durability (pitting). Switzerland: ISO, 2019. 36 p.
- ANSI/AGMA 2101-D04. Fundamental Rating Factors and Calculation Methods for Involute Spur and Helical Gear Teeth. Virginia: AGMA, 2004. 56 p.
- Сызранцева К. В. Расчет прочностной надежности деталей машин при случайном характере внешних нагрузок. Тюмень: ТюмГНГУ, 2011. 92 с.
- Руководство Р.007-2004 Расчет зубчатых передач на прочность. М.: Российский речной регистр, 2005. 91 с.
- Гинзбург Е. Г., Голованов Н. Ф., Фирун Н. Б., Халебский Н. Т. Зубчатые передачи: Справочник / Под общ. ред. Е. Г. Гинзбурга. 2-е изд. Ленинград: Машиностроение, Ленингр. отд-ние, 1980. 416 с.
- ISO 6336-1:2019. Calculation of load capacity of spur and helical gears. Part 1: Basic principles, introduction and general influence factors. Switzerland: ISO, 2019. 109 p.
- ANSI/AGMA 2015-1-A01. Accuracy Classification System — Tangential Measurements for Cylindrical Gears. Virginia: AGMA, 2002. 44 p.
- ГОСТ ISO 1328-1-2017. Передачи зубчатые цилиндрические. Система ISO. Классификация допусков на боковые поверхности зубьев. М.: Стандартинформ, 2018. 48 с.
- Babichev D. T., Babichev D. A., Lebedev S. Y. Calculation of tooth profile radiuses of curvature into line of contact parameters. Текст: непосредственный // The 10th ISMIDE (KOD2018). 2018.
- Часовников Л. Д. Передачи зацеплением (зубчатые и червячные). 2-е изд., перераб. и доп. М.: Машгиз, 1969. 486 с.
- ISO 6336-5:2019. Calculation of load capacity of spur and helical gears. Part 5: Strength and quality of materials. Switzerland: ISO, 2019. 52 p.
- Лебедев С. Ю. Совершенствование методов расчета прочностной надежности поверхностно-упрочненных колес цилиндрических передач: Дис. … канд. тех. наук. Челябинск: ЮУрГУ, 2023. 157 с.
- ISO 6336-0:2017. Calculation of load capacity of spur and helical gears. Part 30: Calculation examples for the application of ISO 6336 part 1, 2, 3, 5. Switzerland: ISO, 2017. 68 p.
- Анурьев В. И. Справочник конструктора-машиностроителя: В 3-х т. Т. 3. 8-е изд. М.: Машиностроение, 2001. 677 с.
Supplementary files




