Temperature and Pressure Sensors of the Meteorological Complex for the Study of the Mars’s Atmosphere
- Authors: Lipatov A.N.1, Ekonomov A.P.1, Makarov V.S.1, Lesnykh V.A.1, Goretov V.A.1, Zakharkin G.V.1, Zaitsev M.A.1, Khlyustova L.I.1, Antonenko S.A.1
-
Affiliations:
- Space Research Institute, Russian Academy of Sciences, Moscow, Russia
- Issue: Vol 57, No 4 (2023)
- Pages: 319-332
- Section: Articles
- URL: https://journal-vniispk.ru/0320-930X/article/view/134979
- DOI: https://doi.org/10.31857/S0320930X23040072
- EDN: https://elibrary.ru/RETHHS
- ID: 134979
Cite item
Full Text
Abstract
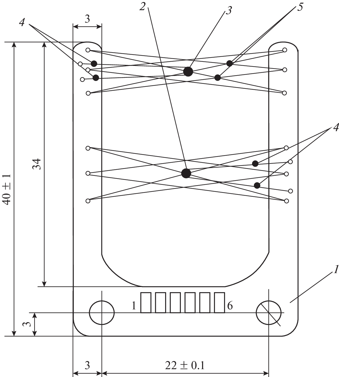
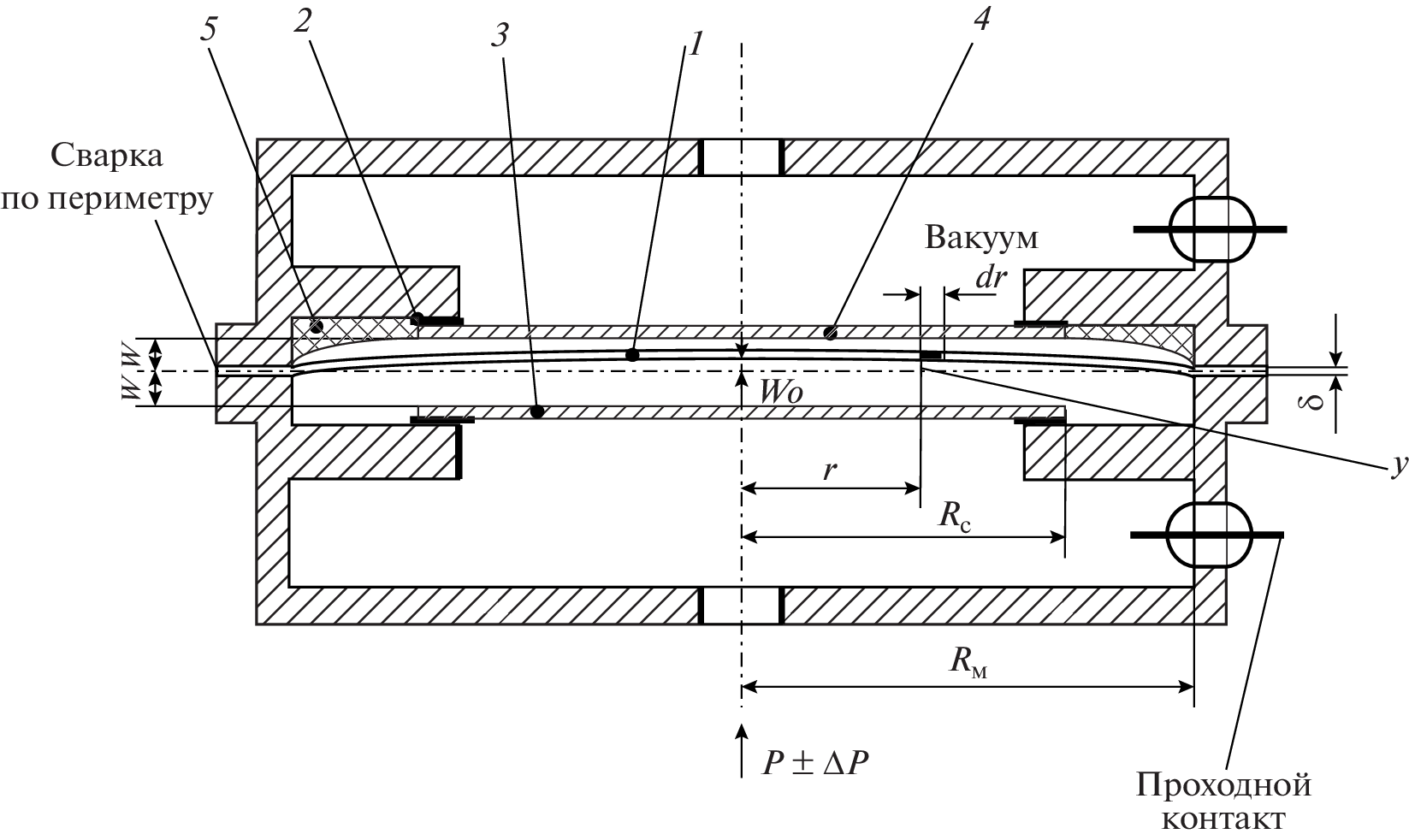
Temperature and pressure sensors, which are part of the ExoMars-2022 landing platform (LP) meteorological complex, are designed to measure the main parameters of the Martian atmosphere: temperature, pressure, and vertical component of wind speed. Temperature and pressure measurements begin during the descent, after the separation of the lower hemisphere, when the height above the surface will be from 2.1 to 8.5 km, depending on the descent trajectory. Above, before opening the parachute, the vertical profile of the atmosphere can be obtained using the accelerometer block, which is also part of the meteorological complex. After landing, a long-term monitoring of the near-surface layer of the atmosphere is carried out. Measurements are taken at different heights from the surface. Taking into account the measurement of the vertical component of the wind after landing, the local surface-to-atmosphere heat flux is calculated. The measurements make it possible to obtain the dynamics of the interaction between the atmosphere and the surface. In the paper we considered the scientific problems solved by the sensors, briefly described the measurement program and described in detail the sensors and their characteristics
Keywords
About the authors
A. N. Lipatov
Space Research Institute, Russian Academy of Sciences, Moscow, Russia
Email: slip@iki.rssi.ru
Россия, Москва
A. P. Ekonomov
Space Research Institute, Russian Academy of Sciences, Moscow, Russia
Email: slip@iki.rssi.ru
Россия, Москва
V. S. Makarov
Space Research Institute, Russian Academy of Sciences, Moscow, Russia
Email: slip@iki.rssi.ru
Россия, Москва
V. A. Lesnykh
Space Research Institute, Russian Academy of Sciences, Moscow, Russia
Email: slip@iki.rssi.ru
Россия, Москва
V. A. Goretov
Space Research Institute, Russian Academy of Sciences, Moscow, Russia
Email: slip@iki.rssi.ru
Россия, Москва
G. V. Zakharkin
Space Research Institute, Russian Academy of Sciences, Moscow, Russia
Email: slip@iki.rssi.ru
Россия, Москва
M. A. Zaitsev
Space Research Institute, Russian Academy of Sciences, Moscow, Russia
Email: slip@iki.rssi.ru
Россия, Москва
L. I. Khlyustova
Space Research Institute, Russian Academy of Sciences, Moscow, Russia
Email: slip@iki.rssi.ru
Россия, Москва
S. A. Antonenko
Space Research Institute, Russian Academy of Sciences, Moscow, Russia
Author for correspondence.
Email: slip@iki.rssi.ru
Россия, Москва
References
- Дадаян Ю.А. Методическое пособие к выполнению курсового проекта “Датчик давления”. М.: РГУ нефти и газа им. И.М. Губкина, 2008. Р. 1–29.
- Лантратов K. АМС “Марс-8” // Новости космонавтики. 1996. Т. 6. № 22–23. P. 137–138.
- Мороз В.И., Изаков М.Н., Линкин В.М. Инженерная модель атмосферы Марса: (Вариант МА-87) // Препр. 1449. М.: ИКИ, 1988. 64 с.
- Banfield D., Rodriguez-Manfredi J., Russell C., Rowe K.M., Leneman D., Lai H.R., Cruce P.R., Means J.D., Johnson C.L., Mittelholz A., Joy S.P., Chi P.J., Mikellides I.G., Carpenter S., Navarro S., Sebastian E., Gomez-Elvira J., Torres J., Mora L., Peinado V.,·Lepinette A.,·The TWINS Team Hurst K., Lognonné P., Smrekar S.E., Banerdt W.B.. InSight Auxiliary Payload Sensor Suite (APSS) // Space Sci. Rev. 2019. V. 215. id. 4. https://doi.org/10.1007/s11214-018-0570-x.
- Chamberlain T.E., Cole H.L., Dutton R.G., Greene G.C., Tillman J.E., Atmospheric measurements on Mars: the Viking meteorology experiment // Bull. Am. Meteorolog. Soc. 1976. V. 57. № 9. P. 1094–1104. https://doi.org/10.1175/1520-0477(1976)057<1094: AMOMTV>2.0.CO;2
- Davy R., Davis J.A., Taylor P.A., Lange C.F., Weng W., Whiteway J., Gunnlaugson H.P. Initial analysis of air temperature and related data from the Phoenix MET station and their use in estimating turbulent heat fluxes // J. Geophys. Res. 2010. V. 115. Iss 3 id E00E13. https://doi.org/10.1029/2009JE003444
- Ellehoj M.D., Gunnlaugsson H.P., Taylor P.A., Kahanpää H., Bean K.M., Cantor B.A., Gheynani B.T., Drube L., Fisher D., Harri A.‑M., Holstein-Rathlou C., Lemmon M.T., Madsen M.B., Malin M.C., Polkko J., Smith P.H., Tamppari L.K., Weng W., Whiteway J. Convective vortices and dust devils at the Phoenix Mars mission landing site // JGR: Planets. 2010. V. 115. Iss 4. id E00E16. https://doi.org/10.1029/2009JE003413.
- Gómez-Elvira J., Armiens C., Carrasco I., Genzer M., Gómez F., Haberle R, Hamilton V., Harri A., Kahanpää H., Kemppinen O., Lepinette A., Javier Martín Soler, Martín-Torres J., Martínez-Frías J., Mischna M., Mora L., Navarro S., Newman C., Pablo M., Peinado V., Polkko J., Rafkin S., Ramos M., Renno N., Richardson M., Rodriguez-Manfred J., Romeral Planelló Julio J., Sebastián E., Torre Juárez M., Torres J., Urqui R., Vasavada A., Verdasca J., Zorzano M. Curiosity’s rover environmental monitoring station: Overview of the first 100 sols // JGR: Planets. 2014. V. 119. Iss. 7. P. 1680–1688. https://doi.org/10.1002/2013JE004576
- Haberle R.M., Gómez-Elvira J., de la Torre Juárez M., Harri A.-M., Hollingsworth J.L., Kahanpää H., Kahre M.A., Lemmon M., Martín-Torres F.J., Mischna M., Moores J.E., Newman C., Rafkin S., Rennó N., Richardson M.I., Rodríguez-Manfredi J.A., Vasavada A.R., Zorzano-Mier M.-P., REMS/MSL Science Teams Preliminary interpretation of the REMS pressure data from the first 100 sols of the MSL mission // JGR: Planets. 2014. V. 119. Iss. 3. P. 440–453. https://doi.org/10.1002/2013JE004488.
- Haberle R.M., Catling D.C., Carr M.H., Zahnle K.J. The Atmosphere and Climate of Mars. Cambridge Univ. Press, 2017. P. 497–525. https://doi.org/10.1017/9781139060172.
- Harri A.-M., Genzer M., Kemppinen O., Kahanpää H., Gomez-Elvira J., Rodriguez-Manfredi J.A., Haberle R., Polkko J., Schmidt W., Savijärvi H., Kauhanen J., Atlaskin E., Richardson M., Siili T., Paton M., de la Torre Juarez M., Newman C., Rafkin S., Lemmon M.T., Mischna M., Merikallio S., Haukka H., Martin-Torres J., Zorzano M.-P., Peinado V., Urqui R., Lapinette A., Scodary A., Mäkinen T., Vazquez L., Rennó N., REMS/MSL Science Team Pressure observations by the Curiosity rover: Initial results // JGR: Planets. 2014. V. 119. Iss. 1. P. 82–92. https://doi.org/10.1002/2013JE004423.
- Harri A.-M., Pichkadze K., Zeleny L.,Vazquez L., Schmidt W., Alexashkin S., Korablev O., Guerrero H., Heilimo J., Uspensky M., Finchenko V., Linkin V., Arruego I., Genzer M., Lipatov A., Polkko J., Paton M., Savijarvi H., Haukka H., Siili T., Khovanskov V., Ostesko B., Poroshin A., Michelena-Diaz M., Siikonen T., Palin M., Vorontsov V., Polyakov A., Valero F., Kemppinen O., Leinonen J., and Romero P. The MetNet vehicle: a lander to deploy environmental stations for local and global investigations of Mars // Geosci. Instrumentation Methods and Data Systems Discuss. 2017. V. 6. № 1. P. 103–124. https://doi.org/10.5194/gi-2016-19
- Kremnev R.S., Linkin V.M., Lipatov A.N., Pichkadze K.M., Shurupov A.A., Terterashvili A.V., Bakitko R.V., Blamont J.E., Malique C., Ragent B., Preston R.A., Elson L.S., Crisp D. VEGA Balloon System and Instrumentation // Science 1986. V. 231. Iss. 4744 P. 1408-1411. https://doi.org/10.1126/science.231.4744.1408
- Linkin V.M., Kerzhanovich V.V., Lipatov A.N., Shurupov A.A., Seiff A., Ragent B., Young R., Ingersoll A., Crisp D., Elson E., Preston R., Blamont J. Thermal Structure of Venus atmosphere in the Middle Cloud Layer // Science 1986. V. 231. Iss. 4744. P. 1420-1422. https://doi.org/10.1126/science.231.4744.1420
- Martinez G.M., Newman C.N., De Vicente-Retortillo A., Fischer E., Renno N.O., Richardson M.I., Fairén A.G., Genzer M., Guzewich S.D., Haberle R.M., Harri A.‑M., Kemppinen O., Lemmon M.T., Smith M.D., de la Torre-Juárez M., Vasavada A.R. The modern near-surface Martian climate: A review of in-situ meteorological data from Viking to Curiosity // Space Sci. Rev. 2017. V. 212. Iss. 1–2. P. 295–338. https://doi.org/10.1007/s11214-017-0360-x
- Murphy J.R., Nelli S. Pathfinder convective vortices: Frequency of occurrence // Geophys. Res. Lett. 2002. V. 29. Iss. 23. P. 18-1–18-4.https://doi.org/10.1029/2002GL015214.
- Read P., Lewis S. The Martian Climate Revisited: Atmosphere and Environment of a Desert Planet. Berlin, Heidelberg, New York: Springer, 2004. 326 p. https://doi.org/10.5860/ choice.42-0920.
- Schofield J.T., Barnes J.R., Crisp D., Haberle R., Larsen S., Magalhāes J.A., Murphy J., Seiff A., Wilson G. The Mars Pathfinder Atmospheric Structure Investigation/Meteorology (ASI/MET) Experiment // Science. 1997. V. 278. Iss. 5344. P. 1752–1758. https://doi.org/10.1126/science.278.5344.1752
- Sutton J., Leovy C., Tillman J. Diurnal variations of the Martian surface layer meteorological parameters during the first 45 sols at two Viking lander sites // J. Atmos. Sci. 1978. V. 35. P. 2346–2355. https://doi.org/10.1175/1520-0469(1978)035<2346: DVOTMS> 2.0.CO;2.
- Taylor P., Catling D., Daly M., Dickinson C., Gunnlaugsson H.P., Harri Ari-Matti and Lange C. Temperature, pressure, and wind instrumentation in the Phoenix meteorological package // J. Geophys. Res. 2008. V. 113. E00A10, https://doi.org/10.1029/2007JE003015
- Tillman J.E., Henry R.M., Hess S.L. Frontal systems during passage of the Martian north polar hood over the Viking Lander 2 site prior to the first 1977 dust storm // J. Geophys. Res. 1979. V. 84. P. 2947–2955. https://doi.org/10.1029/JB084iB06p02947
Supplementary files
















