Study of Plasma Flow Velocity in an Open SMOLA Screw Trap
- Authors: Inzhevatkina A.A.1, Ivanov I.A.1, Postupaev V.V.1, Sudnikov A.V.1, Tolkachev M.S.1, Ustyuzhanin V.O.2
-
Affiliations:
- Budker Institute of Nuclear Physics, Siberian Branch, Russian Academy of Sciences
- Novosibirsk State University
- Issue: Vol 50, No 1 (2024)
- Pages: 3-14
- Section: МАГНИТНЫЕ ЛОВУШКИ
- URL: https://journal-vniispk.ru/0367-2921/article/view/260989
- DOI: https://doi.org/10.31857/S0367292124010019
- EDN: https://elibrary.ru/SKYEKJ
- ID: 260989
Cite item
Full Text
Abstract
The physics of confinement of a rotating plasma in a magnetic field with linear helical symmetry is being studied at the Institute of Nuclear Physics SB RAS on the open SMOLA trap. An indicator of the quality of confinement is the plasma flow velocity in the system. The paper describes the applied diagnostics based on the Mach probe under conditions of non-magnetized plasma, which made it possible to determine the longitudinal flow velocity in experiments. The measured longitudinal flow velocity was (0.5–5) · 106 cm/s in various operating modes of the installation. The dependence of the speed on the magnitude of the magnetic field corrugation is discussed. A reverse flow of trapped particles returning to the containment zone has been detected.
Keywords
Full Text
ВВЕДЕНИЕ
Исследование физики плазмы, удерживаемой в открытых магнитных ловушках, имеет многолетнюю историю [1]. Продвижения в физике и технологии удержания плазмы в открытых магнитных системах [2] позволяют проектировать открытые ловушки нового поколения [3–5], которые вызывают интерес не только в области изучения магнитного удержаниями или различных материалов и структур, но и в использовании подобных установок в качестве источника нейтронов [6] либо чистого термоядерного реактора.
Достижения, опирающиеся на результаты экспериментальных работ на установках ГОЛ-3 [7] и ГДЛ [8], позволили создать проект ловушки нового поколения ГДМЛ (газодинамическая многопробочная ловушка) в ИЯФ СО РАН [9].
Физическая программа работ предусматривает интеграцию в одном экспериментальном устройстве нескольких известных способов улучшения продольного удержания плазмы для того, чтобы продемонстрировать возможность получения в открытой ловушке плазмы с параметрами, интересными для термоядерных приложений.
Часть физических принципов и технологий проходит в настоящее время экспериментальную верификацию на небольших установках ГОЛ-NB [10], КОТ [11] и СМОЛА [12]. Каждая из таких систем является прототипом функциональных модулей ГДМЛ.
Установка СМОЛА является первой системой, использующей линейные многопробочные секции с винтовой симметрией магнитного поля. Такая магнитная система напоминает распрямленную магнитную систему классического стелларатора. В отличие от него, винтовая система оптимизирована таким образом, чтобы получить максимальную гофрировку поля, которая достигается при одной паре спиральных токоведущих элементов [13].
Напротив, вращательное преобразование не является одним из ключевых параметров оптимизации системы и ограничено лишь МГД-неустойчивостью. Если в винтовой ловушке плазма вращается вокруг оси, например за счет E×B-дрейфа, то во вращающейся системе отсчета плазмы возникают магнитные пробки, бегущие вдоль оси [14]. Такое движение способно передавать продольный импульс от катушек магнитного поля потоку плазмы. Из-за вязкости плазмы или столкновений с локально запертыми частицами плазма в целом будет приобретать продольную компоненту импульса, в результате чего возникает сила, с помощью которой можно тормозить либо ускорять плазменные потоки.
Торможение плазмы внешней силой в системе с винтовыми пробками обеспечивает лучшее продольное удержание, что делает возможным получение более высоких параметров плазмы в ловушке при одинаковых технических ограничениях на параметры магнитной системы и систем нагрева плазмы.
Передача импульса между плазмой и магнитной пробкой сопровождается радиальными дрейфами и токами, возникающими из-за нарушения осевой симметрии. В теории такие радиальные дрейфы приводят к пинчеванию плазмы на ось системы, т.е. к процессу, противодействующему радиальной диффузии [15, 16].
В предыдущих экспериментах на установке СМОЛА было продемонстрировано, что предсказанные эффекты действительно наблюдаются. Показано улучшенное продольное удержание плазмы в ловушке с винтовой симметрией магнитного поля при умеренной столкновительности, когда длина свободного пробега соразмерна периоду винтовой гофрировки [17–19].
Для систем реакторного класса более интересным является режим слабостолкновительного течения. Эффективная передача импульса от плазменного потока через популяцию локально запертых частиц магнитному полю может происходить и в этом случае при достаточно высокой разнице потоковых скоростей этих популяций частиц. Тогда возникновение двухпотоковой неустойчивости сделает такое трение эффективным даже в слабостолкновительной плазме.
Поток вещества в многопробочном поле при наличии продольной скорости движения магнитных возмущений может быть записан следующим образом:
где ρ – массовая плотность, L – длина ловушки, V|| – продольная потоковая скорость, D – коэффициент диффузии, κ – доля запертых частиц, Vz – продольная скорость движения магнитных возмущений в системе отсчета плазмы, λ – длина свободного пробега, VTi – тепловая скорость иона, h – длина отдельной ячейки многопробочного поля.
Первое слагаемое в данном выражении описывает диффузионное растекание плазмы в многопробочном магнитном поле [20], второе определяет добавку, связанную с движением локальных потенциальных ям с запертыми частицами.
Эффективное удержание плазмы в многопробочной ловушке достигается при длине свободного пробега, равной длине одной ячейки. В слабостолкновительной плазме это выполняется при наличии аномального рассеяния [21]. Таким образом, в предположении λ ≈ h коэффициент диффузии D = hVTi . При отрицательном (т.е. направленном навстречу потоку плазмы) значении Vz локальный поток в любой точке плазменного шнура может быть уменьшен по сравнению с многопробочной конфигурацией.
Хочется отметить, что продольная компонента скорости [E×B] дрейфа V[E×B]z пренебрежительно мала по сравнению с Vz, так как
,
где h – длина отдельной ячейки многопробочного поля, N – количество периодов гофрировки, причем конструктивной особенностью установки является то, что 2πr ~ h [13]. Отсюда локальная скорость плазмы может быть выражена как
,
где Er – радиальное электрическое поле, Bz – магнитное поле.
Заметим, что во втором слагаемом при приближении к оси одновременно происходит и более быстрое уменьшение глубины гофрировки вдоль силовой линии, за счет чего падает доля захваченных частиц. Тем самым локальная потоковая скорость может становиться отрицательной, т.е. в отдельных областях плазменного шнура поток может быть направлен от выхода из ловушки к области удержания.
Подобная ситуация не противоречит закону сохранения вещества, поскольку захват частиц в потенциальные ямы и их последующее движение вместе с магнитными возмущениями могут происходить в различных областях пространства.
В соответствии с теорией радиального и продольного переноса частиц в винтовом магнитном поле [16] при отрицательном потенциале на оси плазмы к подобному эффекту может привести перенос ионов при их рассеянии через границу конуса потерь. Таким образом, потоковая скорость плазмы в открытой ловушке с винтовым магнитным полем является индикатором качества удержания.
На эффективность продольного удержания плазмы в винтовом магнитном поле влияет угловая скорость вращения. Она определяется радиальным электрическим полем, распределение которого задается потенциалами источника плазмы, радиальных секций выходного приемника плазмы, а также системы лимитеров. Продольная скорость движения потока истекающей и возвращенной обратно в зону удержания плазмы отражает, насколько сильно влияет винтовое поле на количество захваченных частиц, возвращаемых в зону удержания.
Данная работа посвящена экспериментальному исследованию зависимостей продольной скорости движения в транспортной секции установки СМОЛА от величины гофрировки магнитного поля. Применялось две диагностики для измерения продольной скорости в разных точках ловушки: доплеровская спектроскопия с высоким пространственным разрешением [22] и зонды Маха.
Описание открытой винтовой ловушки СМОЛА приведено в разд. 2. Разд. 3 посвящен конструкции зонда Маха и методу определения продольной скорости. В разд. 4 представлены экспериментальные результаты, полученные как зондом, установленным перпендикулярно потоку плазму, так и вращающимся зондом. Продемонстрирован обратный поток захваченных частиц, возвращающихся в зону удержания, приведены некоторые оценки доли этих частиц.
ОПИСАНИЕ УСТАНОВКИ
Схема установки СМОЛА представлена на рис. 1. Она включает в себя источник плазмы на основе накаливаемого катода LaB6 [23], область удержания (входной расширитель), многопробочную винтовую секцию и выходной расширитель плазменного потока.
Рис. 1. Схема установки СМОЛА и использованные диагностики: 1 – источник плазмы, 2 – входной расширитель (зона удержания), 3 – транспортная секция, 4 – выходной расширитель, 5 – прямой соленоид, 6 – винтовая обмотка, 7 – катушки коррекции положения плазменной струи, 8 – лимитер, 9 – приемник плазмы, 10 – зондовая сборка: двойной зонд и два эмиссионных зонда, 11 – доплеровский спектрометр, 12 – зондовая сборка: зонд Маха и два эмиссионных зонда. Индивидуальные катушки показаны прямоугольниками. Тонкими линиями вблизи оси показана магнитная поверхность, опирающаяся на лимитеры
Далее в тексте в качестве начала отсчета продольной координаты Z принимается выходная апертура источника плазмы. Магнитная система состоит из катушек плазменной пушки, катушек входного и выходного расширителей, центрального соленоида с катушкой винтового поля, а также катушек коррекции положения плазменной струи. Прямая и винтовая компоненты магнитного поля задаются независимо друг от друга.
Выходной расширитель оснащен плазмоприемником, состоящим из пяти концентрических колец, потенциал каждого из которых задается независимо. Напряжение между каждой парой соседних пластин приемника плазмы U = 50 В. На входе и выходе из транспортной секции установлены секционированные лимитеры, обеспечивающие ограничение струи и возможность внесения потенциала в плазму. На входной лимитер может подаваться напряжение в диапазоне от –150 до 150 В относительно корпуса установки.
Диапазон основных параметров установки СМОЛА приведен в табл. 1.
Tаблица 1. Основные параметры установки СМОЛА [13]
Параметр | Величина |
Ионная плотность плазмы, ni, 1018 м–3 | 0.3–6 |
Электронная температура, Te, эВ | 5–35 |
Ионная температура, Ti, эВ | 2–7 |
Радиус плазмы, a, см | 5–10 |
Длительность разряда, tdischarge, с | 0.15–1.5 |
Магнитное поле, Bz, мТл | 50–150 |
Радиальное электрическое поле, Er, В/см | 10–35 |
Конфигурация магнитного поля в данной экспериментальной серии представлена на рис. 2 при значении ведущего магнитного поля в транспортной секции 70 мТл для прямого поля (R = 1). Здесь и далее R – отношение максимального и минимального магнитного поля на заданной силовой линии внутри транспортной секции, усредненное по сечению плазмы.
Рис. 2. Конфигурация магнитного поля при ведущем поле в соленоиде 70 мТл и выключенном винтовом поле: красная пунктирная линия – режим с широкой струей, зеленая сплошная линия – режим с узкой струей
Очевидно, что локальное пробочное отношение максимально на периферийных силовых линиях и уменьшается до единицы на магнитной оси. Изменение магнитного поля проводится синхронно в области источника плазмы, зоне удержания, транспортной секции и выходном расширителе, чтобы конфигурация силовых линий оставалась неизменной.
Экспериментальные кампании проводились в двух конфигурациях, которые отличаются магнитными полями в области анодной катушки, входного и выходного лимитеров. Такие изменения влияют на радиальное распределение электрического поля (рис. 3) и плотности плазмы (рис. 4), а значит, и угловой скорости вращения в транспортной секции.
Рис. 3. Распределение радиального электрического поля на Z = 2.04 м в различных конфигурация магнитного поля: красный круг – режим с широкой струей, зеленый квадрат – режим с узкой струей
Рис. 4. Распределение плотности плазмы на Z = 2.04 м в различных конфигурация магнитного поля: красный круг – режим с широкой струей, зеленый квадрат – режим с узкой струей
Рис. 5. Распределение плотности плазмы на Z = 2.04 м в режиме с узкой струей: красный круг – в прямом поле, синий треугольник – в винтовом поле
Результаты эксперимента при сниженном поле в области анода источника плазмы и лимитеров (красная пунктирная линия на рис. 2) представлены в разд. 4.1. В данной магнитной конфигурации силовая линия, выходящая из края анода, касается лимитера. Далее в тексте эта конфигурация будет обозначаться как режим с широкой струей. В разд. 4.2 представлены результаты при повышенном поле в области анодной катушки источника плазмы и лимитеров (зеленая сплошная линия на рис. 2). Силовая линия, выходящая с края анода, отстает от лимитера на dr ~ 5 мм. Электрический контакт плазмы с лимитером при этом ослаблен. Далее в тексте эта конфигурация будет обозначаться как режим с узкой струей. Во всех случаях ведущее магнитное поле в транспортной секции составляет 70 мТл.
Спектрометр с пространственным разрешением на основе монохроматора МДР-23 [22] устанавливался для наблюдения свечения плазмы в выходном расширителе на Z = 4.34 м под углом 90° к оси для определения только азимутальной скорости либо на Z = 5.3 м под углом 30° (см. рис. 1) для наблюдения доплеровского сдвига линии излучения Hα, соответствующей скорости, определяемой как
,
где V – регистрируемая спектрометром скорость, Vφ – азимутальная скорость, V|| – продольная скорость движения плазмы.
КОНСТРУКЦИЯ ЗОНДА МАХА И ЕГО ОСОБЕННОСТИ
Зонд Маха представляет собой пару близко расположенных двойных ленгмюровских зондов, отделенных друг от друга изолирующей кварцевой перегородкой. При наличии потоковой скорости, т.е. асимметрии функции распределения плазмы в точке наблюдения, сигналы этих зондов будут различаться. Связь между скоростью и отношением токов ионного насыщения с “подветренной” и “наветренной” сторон имеет следующий вид [24]:
,
где J – отношение токов насыщения зондов, расположенных по разные стороны перегородки; Iup – ток насыщения ионов, летящих со стороны плазменной пушки, регистрируемый “наветренной” стороной зонда Маха, Idown – ток насыщения ионов, летящих со стороны плазмоприемника, регистрируемый “подветренной” стороной зонда Маха; число Маха M = V||/Cs, , k – коэффициент, определяемый выбранной моделью описания системы. Отсюда потоковую скорость можно определить как
.
Интерпретация результатов усложняется необходимостью учета влияния магнитного поля на сбор ионов электродами. В нашем случае целесообразно рассматривать модель незамагниченной плазмы, так как ларморовский радиус иона в установке СМОЛА ρi = 0.6–1.8 см превышает характерные размеры зонда.
В качестве простой модели выбрана одна из предложенных моделей [25], полученная аналитическим путем в приближении Ti << Te, которое удовлетворяет параметрам плазмы на установке СМОЛА. Модельный коэффициент k, связывающий асимметрию сигналов зонда и число Маха, определяется в ней следующим образом:
.
Данная модель представляет собой одномерную цилиндрически симметричную систему, предполагающую, что падения потенциала в “наветренных” и “подветренных” электродах изменяются из-за скорости дрейфа.
Электронная температура и плотность плазмы определяются по вольтамперной характеристике (ВАХ) двойного ленгмюровского зонда [23]. Радиальное электрическое поле измеряется напрямую при помощи двух эмиссионных зондов, расположенных на расстоянии 1 cм друг относительно друга по радиусу [19]. Ионная температура определяется с помощью оптической диагностики на основе спектрометра с высоким пространственным разрешением по доплеровскому уширению спектральной линии излучения Hα. Данная методика позволяет определять радиальное распределение ионной температуры в каждом плазменном разряде. Спектрометры установлены на Z = 1.15 м и Z = 4.34 м.
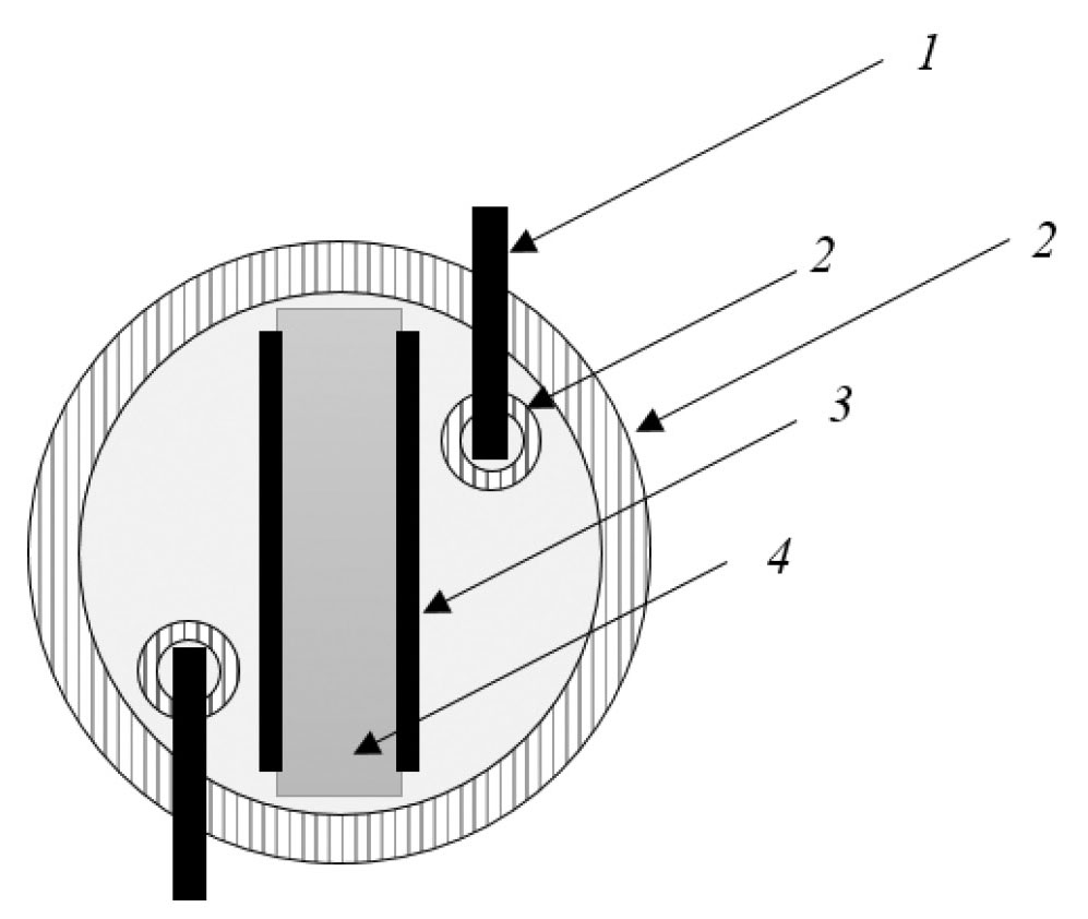
В случае незамагниченной плазмы конструкция зондов Маха становится более сложной для правильного определения потока ионов, летящих строго с “наветренной” или “подветренной” стороны. Во избежание проблем с интерпретацией полученных значений токов ионного насыщения была предложена следующая конструкция зонда Маха, схематично представленная на рис. 6.
Рис. 6. Схема зонда Маха на установке СМОЛА: 1 – вольфрамовая проволока, 2 – керамический капилляр, 3 – напыленный молибденовый электрод, 4 – кварцевая пластинка
Зонд Маха представляет собой два ассиметричных двойных зонда, у которых собирающий ионы электрод – слой молибдена толщиной ≈ 1 мкм, напыленный на кварцевую пластинку, а собирающий электроны – вольфрамовая проволока диаметром 200 мкм, помещенная в отдельный керамический капилляр. В качестве изолирующей перегородки используется кварцевая пластинка, на которую с двух сторон напыляется электрод. Плоский зонд позволяет предотвратить попадание ионов, летящих с обратной стороны относительно пластинки, что минимизирует неправильность интерпретации результатов.
Еще одной проблемой применения зондов Маха в открытых магнитных системах является то, что зонд создает геометрическую тень низкой плотности ниже по течению относительно перегородки. Это влияет на плотность тока, регистрируемого в столкновительной плазме. Если длина свободного пробега иона меньше длины тени зонда, это приводит к ошибочным значениям числа Маха, определяемого по стандартным формулам. В работе [26] рассмотрен случай влияния тени зонда на регистрируемую плотность плазмы в открытых системах. Нами произведены аналогичные оценки диффузии, размера тени, образуемой зондом.
Длину геометрической тени зонда можно оценить как
,
где Vd – скорость дрейфа ионов плазмы, d – размер зонда, D⊥ – поперечный коэффициент диффузии. Длина области обедненной плотности из-за воздействия зонда как физического препятствия в плазме не превышает периода гофрировки магнитного поля, поэтому в наших условиях можно использовать зонд Маха и приведенную ранее модель.
Относительная калибровка двух каналов зонда Маха проводилась путем поворота на 180° для нахождения соотношения площадей собирающих поверхностей. В качестве независимой калибровки были проведены измерения азимутальной скорости плазмы зондом Маха, повернутым на 90°, и электрического поля эмиссионными зондами в одном продольном сечении транспортной секции. Скорости – измеренная зондом Маха и посчитанная по распределению радиального электрического поля – совпадают и достигают ионно-звуковой скорости на периферии плазмы (в области с максимальным значение Er). Это не противоречит ранее полученным данным [22].
Зонд Маха, установленный на вращающейся подвижке, обеспечивающей поворот с шагом 15°, позволяет определять не только модуль скорости плазмы, но и угол между направлением скорости и ведущим магнитным полем. Зависимость скорости потока от угла поворота зонда имеет следующий вид:
,
где V|| – потоковая скорость, φ0 – угол между направлением скорости потока плазмы и ведущим магнитным полем.
Система позиционирования позволяет обеспечивать вращение зонда с шагом 15° и движение зонда по радиусу в диапазоне от 0 до 4 см.
Модуль скорости можно также определить, используя стационарный зонд Маха, измеряющий только продольную скорость, и два эмиссионных зонда, расположенных на расстоянии 1 см друг от друга, измеряющих радиальное электрическое поле. Тогда модуль скорости и угол относительно ведущего магнитного поля можно определить как
Таким образом, используя два независимых способа измерения величин, можно сравнить полученные данные и определить, верно ли работает каждая из диагностик.
В модели переноса плазмы в винтовом поле [14] предполагается наличие обратного потока частиц в винтовом поле за счет пинчевания плазмы к центру шнура, увеличения радиального электрического поля и развития двухпотоковой неустойчивости, приводящей к движению популяции запертых частиц со сверхзвуковой скоростью в направлении зоны удержания.
Рассмотрим следующую модель движения частиц. В многопробочной ловушке с движущимися пробками можно выделить три популяции частиц: запертые, пролетные с положительной и отрицательной проекцией скорости, равной VTi. Учитывая концентрации и скорости каждой из популяций, можно определить среднюю продольную скорость движения следующим образом:
,
где n1 – плотность пролетных частиц, движущихся в направлении выходного расширителя, VTi – тепловая скорость, n3 – плотность пролетных частиц, возвращающихся в зону удержания, n2 – плотность захваченных частиц, движущихся совместно с магнитными возмущениями, Vz – скорость бегущих магнитных пробок, n – общая плотность.
Учитывая, что в прямом поле (R = 1) отсутствует обратный поток захваченных частиц, движущихся за счет магнитных возмущений, можно составить следующую систему уравнений:
где индекс h соответствует винтовому полю (helical), s – прямому (straight), κ – доля запретных частиц, движущихся за счет движения магнитных возмущений во вращающейся системе отсчета плазмы.
Решая систему уравнений с учетом того, что VTih ≈ VTis, получаем следующие соотношения для плотностей пролетных в прямом и обратном направлении частиц:
,
а также для доли запертых частиц:
.
ЭКСПЕРИМЕНТАЛЬНЫЕ РЕЗУЛЬТАТЫ
4.1. Сценарий эксперимента
В описываемых экспериментальных сериях изучалась зависимость продольной скорости движения от средней глубины гофрировки магнитного поля, определяемой соотношением токов в соленоидальной и винтовой обмотках транспортной секции. Зонды Маха устанавливались в транспортной секции установки СМОЛА на координатах Z = 2.4, 2.94 и 3.48 м. Профили токов ионного насыщения с “наветренной” и “подветренной” сторон были измерены с шагом 5 мм по радиусу плазмы.
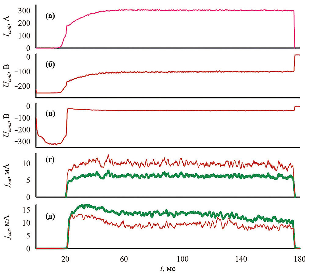
Далее будут обсуждаться экспериментальные данные, полученные при ведущем магнитном поле 70 мТл и количестве напускаемого газа в газоразрядную область источника плазмы ~ 2 ·1020 атом/с. На рис. 7 приведены типичные осциллограммы основных сигналов в описываемых экспериментах. Ток ионного насыщения определяется как усредненное значение на участке от 90 до 150 мс от начала разряда. Среднеквадратичная величина флуктуаций измеряемого тока насыщения составляет ~ 0,4 мА.
Рис. 7. Типичные осциллограммы основных сигналов: а – плазменный ток; б – напряжение, подаваемое между анодом и катодом источника плазмы, в – потенциал эмиссионного зонд, токи ионного насыщения наветренной up (тонкая красная линия) и подветренной down (толстая зеленая линия) сторон в прямом (г) и винтовом (д) магнитном полях
4.2. Сопоставление скоростей, полученных различными методами диагностики
В режиме с широкой струей были проведены экспериментальные серии, направленные на определение потоковой скорости. Приведено сравнение продольных скоростей, полученных как с помощью зондовых методов измерений, так и доплеровской спектрометрии.
Зависимость потоковой скорости от угла поворота зонда Маха представлена на рис. 8. Скорости принимают значения больше и меньше нуля. Это согласуется с тем, что при вращении зонда “наветренная” и “подветренная” стороны сменяют друг друга, при этом модули скоростей при строго перпендикулярном и перевернутом на 180° зонде практически совпадают. Полученное распределение скорости отвечает функции вида V = V0 cos (θ + φ0), где V0 = (7.3 ± 0.9)106 см/с, θ = 15±3°.
Рис. 8. Зависимость скорости потока от угла поворота зонда Маха на Z = 2.4 м и r = 1 см. Красный круг – экспериментально полученные результаты, синяя пунктирная линия – вписанная тригонометрическая функция
Радиальное распределение модуля скорости плазмы в транспортной секции в прямом (R = 1) и винтовом (R = 1.52) магнитном полях представлено на рис. 9. В прямом магнитном поле скорость выше, чем в винтовом, по всему плазменному шнуру. При приближении к центру данная разница увеличивается.
Рис. 9. Модуль скорости движения плазмы в прямом (красный круг) и винтовом (синий треугольник) магнитном полях на Z = 2.4 м
В режиме с широкой струей обратный поток не наблюдается, что может быть связано с недостаточным радиальным электрическим полем, а значит, и радиальным переносом, не приводящим к выполнению условий достижения скорости магнитных возмущений, достаточных для возникновения обратного потока.
При сниженном радиальном электрическом поле угловая скорость вращения, являющаяся одним из основных параметров, влияющих на качество удержания, спадает на периферии, что приводит к неэффективной передаче импульса запертым частицам с периферии к центру плазменного шнура. Вследствие этого в центре в прямом поле плазма вылетает с большой скоростью.
Для проверки правильности измерений, полученных вращающимся зондом (Z = 2.4 м), было проведено сравнение скоростей и углов относительно ведущего магнитного поля с результатами, полученными зондовой сборкой, которая может перемещаться по радиусу (Z = 2.94 м).
В центре плазменного шнура радиальное электрическое поле равно нулю, поэтому, зная его распределение, можно установить центр плазменной струи, что позволяет сравнивать полученные результаты скоростей в одинаковых координатах. Радиальные зависимости модуля скорости, измеренные в двух координатах, представлены на рис. 10. Видно, что диапазон и зависимость от радиуса плазмы совпадают. Максимальная продольная скорость около центральной области ~ 5 · 106 см/с. Полученные данные по значению продольной скорости согласуются с ранее полученными результатами.
Рис. 10. Радиальная зависимость модуля скорости плазмы: красный круг – вращающийся зонд на Z = 2.40 м, зеленый квадрат – зондовая сборка на Z = 2.94 м
Результаты измерений угла между потоковой скоростью и ведущим магнитным полем при помощи тех же зондов в прямом магнитном поле представлены на рис. 11. Величина этого угла зависит от локальной величины радиального электрического поля, приводящего к E×B-дрейфу плазмы.
Рис. 11. Радиальная зависимость угла между потоковой скоростью и ведущим магнитным полем: красный круг – вращающийся зонд в Z = 2.4 м, зеленый квадрат – зондовая сборка в Z = 2.94 м
Видим, что угол между потоковой скоростью плазмы и ведущим магнитным полем лежит в диапазоне от 0 до 90°. При увеличении радиуса плазмы он тоже увеличивается, а потоковая скорость уменьшается. Максимальное электрическое поле наблюдается на радиусе, соответствующему проекции лимитера. По рис. 11 видно, что максимальный вклад в модуль скорости на данном радиусе вносит именно азимутальная скорость.
Два различных способа измерения модуля потоковой скорости и угла между скоростью и ведущим магнитным полем (напрямую с помощью вращающегося зонда Маха и по измерениям радиального электрического поля и продольной компоненты скорости) дают близкие результаты с учетом измерительной погрешности и расположения зондов не в одной координате по длине установки.
Для проверки результатов, полученных зондовыми методами, была определена потоковая скорость плазмы в выходном расширителе установки СМОЛА с помощью доплеровской спектрометрии. При R = 1 получено распределение зависимости азимутальной скорости от радиуса плазмы в выходном расширителе (рис. 12а), которое отвечает твердотельному вращению, соответствующему угловой скорости вращения ω ≈ 0.61 · 106 c–1. На рис. 12б представлена радиальная зависимость потоковой скорости плазмы в выходном расширителе. Максимальная продольная скорость достигается в центре плазменного шнура: V|| ~ 4 · 106 см/с. Данная скорость соответствует ожидаемым оценкам и скоростям, полученным с помощью зондов Маха с учетом расположения диагностик в выходном расширителе и транспортной секции соответственно.
Рис. 12. а – радиальная зависимость азимутальной скорости плазмы в прямом поле в выходном расширителе на Z = 4.34 м; б – радиальная зависимость потоковой скорости в прямом поле в выходном расширителе на Z = 5.3 м
Такое распределение скоростей характерно для экспериментальных кампаний в прямом магнитном поле в режиме с широкой струей. Данный набор диагностик позволяет измерять потоковые скорости движения плазмы по всей длине установки в течение одного экспериментального разряда с необходимой точностью.
4.3. Наблюдение обратного потока плазмы
Эксперименты по изучению влияния глубины винтовой модуляции (гофрировки) магнитного поля в транспортной секции на продольную скорость движения плазмы проводились в магнитной конфигурации (см. рис. 2) в режиме узкой плазменной струи.
На рис. 13 показаны профили токов ионного насыщения “наветренной” и “подветренной” сторон зонда Маха для случаев прямого (R = 1) и винтового (R = 1.52) полей в транспортной секции, измеренные на Z = 2.94 м. Профили токов ионного насыщения демонстрируют, что в транспортной секции максимум плотности достигается в окрестности r = 3 см, при этом плотность в центре плазменного шнура на треть меньше максимальной. Увеличение гофрировки магнитного поля приводит к повышению и смещению области более высокой плотности плазмы к центру (см. рис. 5).
Рис. 13. Радиальное распределение токов ионного насыщения с “наветренной” (незакрашенные) и “подветренной” (закрашенные) сторон. Синий треугольник – винтовое поле, красный круг – прямое поле
Из данных рис. 13 можно вычислить продольную скорость движения, пользуясь формулами разд. 3. На рис. 14 представлены радиальные зависимости продольной компоненты потоковой скорости на Z = 2.94 м в прямом и винтовом магнитном полях.
Рис. 14. Радиальные зависимости продольной компоненты потоковой скорости на Z = 2.94 м. Красный круг – прямое поле, синий квадрат – винтовое поле
Максимум скорости достигается на периферии плазмы как в прямом, так и в винтовом магнитном поля на уровне ~ 5 · 106 cм/с и ~ 3 · 106 cм/с соответственно. Продольная скорость в винтовом поле ниже, чем в прямом поле, при этом меняет свое направление на радиусе плазмы 1 см. Это свидетельствует об улучшенном удержании плазмы в винтовом магнитном поле и ее переносе в обратном направлении в транспортную секцию.
Для данного эксперимента можно рассчитать долю захваченных частиц при помощи модели, описанной в предыдущем разделе. При параметрах плазмы для режима с узкой струей доля запертых частиц на периферии плазмы составляет 8%, в центре плазмы – 6%. Достаточный для существования подобной доли запертых частиц объем фазового пространства, находящегося вне конуса потерь, достигается при пробочном отношении R > 1.02, что отвечает радиусу r ≈ 0.8 см. Эта величина сравнима с ларморовским радиусом ионов, вследствие чего запертые частицы, формирующие обратный поток, могут существовать во всем объеме плазмы.
ЗАКЛЮЧЕНИЕ
В открытой ловушке с винтовым магнитным полем СМОЛА проведена серия экспериментов по изучению пространственных характеристик потоковой скорости плазмы при помощи зондов Маха и системы доплеровской спектроскопии. Измерения проводились при различных конфигурациях магнитного поля.
Показано, что диагностика потоковой скорости на основе зонда Маха может быть использована в открытых ловушках в условиях вращения плазмы. Установлено, что продольная скорость движения плазменной струи зависит от гофрировки магнитного поля. Максимальная скорость была достигнута ~ 4 · 106 см/с, что составляет половину скорости звука для параметров плазмы установки СМОЛА.
Продемонстрирован обратный поток ионов, летящих со стороны плазмоприемника в сторону источника плазмы в винтовом поле в режиме с узкой плазменной струей. Установлено, что уже при 4% захваченных ионов и R > 1.02 такой эффект будет наблюдаться. Обратный поток обнаруживается в конфигурации магнитного поля, в которой плазма оторвана от входного и выходного лимитеров.
В винтовом магнитном поле продольная скорость движения плазмы в транспортной секции (~ 106 см/с) ниже, чем в прямом поле (~5 · 106 см/с), что доказывает эффективность винтового удержания.
ФИНАНСИРОВАНИЕ
Проведение исследований вращения плазмы проводилось при финансовой поддержке гранта Российского научного фонда № 22-12-00133, эксплуатация установки СМОЛА осуществляется при финансовой поддержке Министерства науки и высшего образования Российской Федерации.
About the authors
A. A. Inzhevatkina
Budker Institute of Nuclear Physics, Siberian Branch, Russian Academy of Sciences
Author for correspondence.
Email: a.a.inzhevatkina@inp.nsk.su
Russian Federation, Novosibirsk
I. A. Ivanov
Budker Institute of Nuclear Physics, Siberian Branch, Russian Academy of Sciences
Email: a.a.inzhevatkina@inp.nsk.su
Russian Federation, Novosibirsk
V. V. Postupaev
Budker Institute of Nuclear Physics, Siberian Branch, Russian Academy of Sciences
Email: a.a.inzhevatkina@inp.nsk.su
Russian Federation, Novosibirsk
A. V. Sudnikov
Budker Institute of Nuclear Physics, Siberian Branch, Russian Academy of Sciences
Email: a.a.inzhevatkina@inp.nsk.su
Russian Federation, Novosibirsk
M. S. Tolkachev
Budker Institute of Nuclear Physics, Siberian Branch, Russian Academy of Sciences
Email: a.a.inzhevatkina@inp.nsk.su
Russian Federation, Novosibirsk
V. O. Ustyuzhanin
Novosibirsk State University
Email: a.a.inzhevatkina@inp.nsk.su
Russian Federation, Novosibirsk
References
- Post R.F. // Nuclear. Fusion. 1987. V. 27. № 10. Р. 1579. doi: 10.1088/0029-5515/27/10/001
- Simonen T.C., Anikeev A., Bagryansky P., Beklemishev A., Ivanov A., Lizunov A., Maximov V., Prikhodko V., Tsidulko Yu. // Journal of Fusion Energy. 2010. V. 29. Р. 558. doi: 10.1007/s10894-010-9342-7
- Endrizzi D., Anderson J.K., Brown M., Egedal J., Geiger B., Harvey R.W., Ialovega M., Kirch J., Peterson E., Petrov Y.V., Pizzo J., Qian T., Sanwalka K., Schmitz O., Wallace J., Yakovlev D., Yu M., Forest C.B. // Journal of Plasma Physics. 2023. V. 89(5). Р. 975890501. doi: 10.1017/S0022377823000806
- Imai T., Ichimura M., Nakashima Y., Sakamoto M., Katanuma I., Yoshikawa M., Kariya T., Hirata M., Kohagura J., Minami R., Numakura T., Ikezoe R., Oki K., Sakamoto K. // Fusion Sci. Technol. 2013. V. 63. Р. 15. doi: 10.13182/FST13-1T29
- Gota H., Binderbauer M.W., Tajima T., Smirnov A., Putvinski S., Tuszewski M., Dettrick S.A., Gupta D.K., Korepanov S., Magee R.M., Park J., Roche T., Romero J.A., Trask E., Yang X., Yushmanov P., Zhai K., DeHaas T., Griswold M.E., Gupta S., Abramov S., Alexander A., Allfrey I., Andow R., Barnett B., Beall M., Bolte N.G., Bomgardner E., Bondarenko A., Ceccherini F., Chao L., Clary R., Cooper A., Deng C., Dunaevsky A., Feng P., Finucane C., Fluegge D., Galeotti L., Galkin S., Galvin K., Granstedt E.M., Hubbard K., Isakov I., Kaur M., Kinley J.S., Korepanov A., Krause S., Lau C.K., Lednev A., Leinweber H., Leuenberger J., Lieurance D., Madura D., Margo J., Marshall D., Marshall R., Matsumoto T., Matvienko V., Meekins M., Melian W., Mendoza R., Michel R., Mok Y., Morehouse M., Morris R., Morton L., Nations M., Necas A., Nicks S., Nwoke G., Onofri M., Ottaviano A., Page R., Parke E., Phung K., Player G., Sato I., Schindler T.M., Schroeder J.H., Sheftman D., Sibley A., Siddiq A., Signorelli M., Slepchenkov M., Smith R.J., Snitchler G., Sokolov V., Song Y., Steinhauer L.C., Stylianou V., Sweeney J., Titus J.B., Tkachev A., Tobin M., Ufnal J., Valentine T., Van Drie A.D., Ward J., Weixel C., White C., Wollenberg M., Ziaei S., the TAE Team, Schmitz L., Lin Z., Ivanov A.A., Asai T., Baltz E.A., Dikovsky M., Heavlin W.D., Geraedts S., Langmore I., Norgaard P.C., Von Behren R., Madams T., Kast A. and Platt J.C. // Nucl. Fusion. 2021. V. 61. P. 106039. doi: 10.1088/1741-4326/ac2521
- Yakovlev D., Chen Z., Bagryansky P., Bragin A., Kotelnikov I., Kuzmin E., Prikhodko V., Shikhovtsev I., Usov P., Wang Z., Zeng Q., Dong L., Zhang K., Ivanov A., Yu J. // Nucl. Fusion. 2022. V. 62(1). Р. 076017. doi: 10.1088/1741-4326/ac5224
- Burdakov A., Azhannikov A., Astrelin V., Beklemishev A., Burmasov V., Derevyankin G., Ivanenko V., Ivanov I., Ivantsivsky M., Kandaurov I., Konyukhov V., Kotelnikov I., Kovenya V., Kozlinskaya T., Kuklin K., Kuznetsov A., Kuznetsov S., Lotov K., Timofeev I., Makarov A., Mekler K., Nikolaev V., Popov S., Postupaev V., Polosatkin S., Rovenskikh A., Shoshin A., Shvab I., Sinitsky S., Sulyaev Yu., Stepanov V., Trunyov Yu., Vyacheslavov L., Zhukov V. // Fusion Sci. Technol. 2007. V. 51. P. 106. doi: 10.13182/FST07-A1327
- Bagryansky P.A., Anikeev A.V., Denisov G.G., Gospodchikov E.D., Ivanov A.A., Lizunov A.A., Kovalenko Yu.V., Malygin V.I., Maximov V.V., Korobeinikova O.A. // Nuclear Fusion. 2015. V. 55. P. 053009. doi: 10.1088/0029-5515/55/5/053009
- Амиров В.Х., Астрелин В.Т., Багрянский П.А., Беклемишев А.Д., Бурдаков А.В., Горбовский А.И., Котельников И.А., Магоммедов Э.М., Полосаткин С.В., Поступаев В.В., Приходько В.В., Савкин В.Я., Сковородин Д.И., Солдаткина Е.И., Соломахи А.Л., Сорокин А.В., Судников А.В., Христо М.С., Черноштанов И.С., Шиянков С.В., Щербаков В.И., Яковлев Д.В. // Физика плазмы. 2023. T. 49. № 9. doi: 10.31857/S0367292123600322
- Postupaev V.V., Batkin V.I., Burdakov A.V., Burmasov V.S., Ivanov I.A., Kuklin K.N., Lykova Yu.A., Melnikov N.A., Mekler K.I., Nikishin A.V., Polosatkin S.V., Rovenskikh A.F., Sidorov E.N. and Skovorodin D.I. // Nucl. Fusion. 2022. V. 62. Р. 086003. https://DOI.org/10.1088/1741-4326/ac69fa
- Akhmetov T.D., Davydenko V.I., Ivanov A.A., Murakhtin S.V. // Plasma Physics and Technology. 2018. V. 5. № 3. P. 125. https://DOI.org/10.14311/ppt.2018.3.125
- Sudnikov A.V., Beklemishev A.D., Postupaev V.V., Burdakov A.V., Ivanov I.A., Vasilyeva N.G., Kuklin K.N., Sidorov E.N. // Fusion Engineering Design. 2017. V. 122. P. 85. doi: 10.1016/j.fusengdes.2017.09.005
- Postupaev V.V., Sudnikov A.V., Beklemishev A.D., Ivanov I.A. // Fusion Eng. Des. 2016. V. 106. Р. 29–33. https://DOI.org/10.1016/j.fusengdes.2016.03.029
- Beklemishev A.D. // Fusion Sci. Technol. 2013. V. 63. 1T. P. 355. doi: 10.13182/FST13-A16953
- Beklemishev A.D. // Phys. Plasmas. 2015. Р. 103506. doi: 10.1063/1.4932075
- Beklemishev A.D. // AIP Conf. Proc. 2016. V. 1771. P. 040006. doi: 10.1063/1.4964191
- Sudnikov A.V., Beklemishev A.D., Postupaev V.V., Ivanov I.A., Inzhevatkina A.A., Sklyarov V.F., Burdakov A.V., Kuklin K.N., Rovenskikh A.F., Melnikov N.A. // Plasma and Fusion Res. 2019. V. 14. Р. 2402023. doi: 10.1585/pfr.14.2402023
- Sudnikov A.V., Beklemishev A.D., Inzhevatkina A.A., Ivanov I.A., Postupaev V.V., Burdakov A.V., Glinskiy V.V., Kuklin K.N., Rovenskikh A.F., Ustyuzhanin V.O. // Journal of Plasma Physics. 2020. V. 86. № 5. Р. 905860515. doi: 10.1017/S0022377820001245
- Sudnikov A.V., Ivanov I.A., Inzhevatkina A.A., Larichkin M.V., Lomov K.A., Postupaev V.V., Tolkachev M.S., Ustyuzhanin V.O. // Journal of Plasma Physics. 2022. V. 88. № 1. Р. 905880102. doi: 10.1017/S0022377821001276
- Бурдаков А.В., Поступаев В.В. // Успехи физических наук. 2018. T. 188. С. 651–671.
- Burdakov A., Azhannikov A., Astrelin V., Beklemishev A., Burmasov V., Derevyankin G., Ivanenko V., Ivanov I., Ivantsivskiy M., Kandaurov I., Konyukhov V., Kotelnikov I., Kovenya V., Kozlinskaya T., Kuklin K., Kuznetsov A., Lotov K., Timofeev I., Makarov A., Mekler K., Nikolaev V., Popov S., Polosatkin S., Rovenskikh A., Shoshin A., Sinitsky S., Sulyaev Yu., Stepanov V., Trunyov Yu., Vyacheslavov L., Zhukov V. // Fusion Science and Technology. 2007. V. 51. P. 106. doi: 10.13182/FST07-A1327
- Инжеваткина А.А., Бурдаков А.В., Иванов И.А., Ломов К.А., Поступаев В.В., Судников А.В., Устюжанин В.О. // Физика плазмы. 2021. Т. 47. № 8. doi: 10.31857/S0367292121080059
- Ivanov I., Ustyuzhanin V., Sudnikov A., Inzhevatkina A. // J. Plasma Phys. 2021. V. 87. № 2. Р. 845870201. doi: 10.1017/S0022377821000131
- Chung K.S. // Plasma Sourс. Sci. Technol. 2012. V. 21. P. 063001. doi: 10.1088/0963-0252/21/6/063001
- Hudis M., Lidsky L. // Journal of Applied Physics. 1970. V. 41. P. 5011. doi: 10.1063/1.1658578
- Gosselin J.J., Thakur S.C., Sears S.H., McKee J.S., Scime E.E., Tynan G.R. // Physics of Plasmas. 2016. V. 23. P. 073519. doi: 10.1063/1.4954820
Supplementary files

















