Analytical solution to the problem of injection or reduction of the formation pressure in the reservoir with a fracture
- Authors: Il’yasov A.M.1, Kireev V.N.2
-
Affiliations:
- OOO "RKh-BashNIPIneft"
- Ufa University of Science and Technology
- Issue: No 2 (2024)
- Pages: 23-34
- Section: Articles
- URL: https://journal-vniispk.ru/1024-7084/article/view/266722
- DOI: https://doi.org/10.31857/S1024708424020034
- EDN: https://elibrary.ru/rjpulk
- ID: 266722
Cite item
Full Text
Abstract
The problem of injection of Newtonian fluid at a constant flow rate through an injection well into an initially undisturbed infinite reservoir with an erosive vertical main fracture of constant width is considered. Using the Laplace transform method, analytical solutions are obtained for the pressure fields in the fracture and reservoir, the flow velocity in the fracture, as well as the equations for fluid trajectories in the reservoir and in the main fracture are derived. The solutions obtained are also applicable to the problem of fluid withdrawal into a production well intersected by a vertical main fracture. Nonstationary two-dimensional pressure fields in the reservoir, as well as the pressure and velocity fields in the fracture, are constructed.
Full Text
Часто из-за высоких давлений на нагнетательных скважинах образуются разрывы породы – трещины авто-ГРП. Эти трещины могут распространяться вплоть до добывающих скважин. С течением времени эти трещины промываются нагнетаемыми фильтрационными потоками и из-за эрозии стенок преобразуются в незакрепленные проппантом трещины с некоторым характерным раскрытием. В результате образуется система скважина–трещина–пласт, в которой на начальных, но довольно продолжительных временах возникает так называемый билинейный поток [1], представляющий одномерное течение в трещине и перпендикулярное трещине фильтрационное течение в пласте с прямолинейными траекториями частиц.
Вероятно, впервые билинейный поток в окрестности закрепленной проппантом вертикальной трещины ГРП конечной проводимости был изучен в работе [1], в которой операционным методом получена зависимость забойного давления добывающей скважины от времени на больших временах при постоянном дебите скважины. Получена асимптотика падения забойного давления как корень четвертой степени от времени. Решение для давления в пласте в этой работе не было получено.
Моделированию билинейного потока в последнее время посвящен ряд отечественных публикаций. В работе [2] рассмотрено течение в бесконечной трещине, закрепленной проппантом. Описание фильтрационного течения в трещине сведено к интегральному уравнению типа свертки. Методом преобразования Лапласа получены решения для полей давления в трещине при постоянном давлении и постоянном расходе на забое добывающей скважины.
В случае работы скважины с постоянным дебитом, как и в работе [1], получена зависимость забойного давления от времени в степени одна четвертая, однако эволюция давления в пласте также не рассматривается.
В работе [3] пласт и трещина также предполагаются бесконечными. Для билинейного течения методом преобразования Лапласа получено решение как для давления в закрепленной трещине, так и для давления в пласте при постоянном давлении на забое скважины. В труде [4] решена аналогичная задача, где задан постоянный дебит на скважине. На больших временах получена асимптотика давления на скважине как функция времени в степени одна четвертая.
Полученные в [3, 4] решения применимы как для добывающих, так и для нагнетательных скважин с точностью до замены знака депрессии (репрессии) или расхода. В работе [5] с использованием результатов [4] построены решения для давления (расхода) при ступенчатых изменениях расхода (давления). Такие ступенчатые тесты применяются в полевых испытаниях для определения параметров трещины ГРП. В работе [6] операционным методом найдены аналитические решения для закрепленной трещины конечной длины при заданном забойном давлении или заданном расходе на скважине. В случае конечной трещины решения представляются в виде интегралов от рядов.
Во всех перечисленных работах предполагается, что трещина закреплена проппантом, течение в ней подчиняется закону Дарси и описывается уравнением пъезопроводности. В данной работе рассматривается задача о билинейном течении в системе трещина–пласт, в которой трещина с постоянным раскрытием не закреплена проппантом и ее эффективная проницаемость может на порядки превосходить проницаемость закрепленных трещин ГРП. Поэтому течения в таких трещинах в общем случае не являются ползущими и не описываются уравнением пьезопроводности. В данной работе предлагается подход, использующий осредненные по сечению трещины авто-ГРП уравнения сохранения массы и импульса в гидравлическом приближении
1. Постановка задачи, математическая модель и безразмерные уравнения
Рассматривается задача о билинейном потоке в сопряженной системе трещина/пласт в бесконечном пласте. Одна четвертая часть этой системы для нагнетательной скважины показана на рис. 1. Скважина может быть как нагнетательной, так и добывающей. Трещина имеет постоянную ширину. Для простоты предполагается, что трещина заполнена той же ньютоновской жидкостью, что и пласт.
Рис. 1. Схема к постановке задачи.
Уравнения сохранения массы и движения несжимаемой жидкости в гидравлическом приближении с осредненными по сечению параметрами течения для трещины постоянной ширины с нулевой проекцией силы тяжести на направление потока, но с учетом проницаемости стенок канала с пористостью (просветностью) m, имеют вид [7]
где β – параметр Кориолиса порядка единицы, отвечающий за неравномерность распределения истиной скорости по сечению.
Члены уравнения импульсов слева по отношению к силе гидравлического трения Ffr имеют следующие порядки:
где L, Т – соответственно характерные длина и время процесса, в течение которых заметно изменяются искомые переменные задачи.
Для ширин трещин w ≤ 0.001 м и длин трещин порядка L = 100 м следует, что конвективным слагаемым можно пренебречь по сравнению с силой трения вплоть до турбулентных течений, когда сила пристенного трения становится уже квадратичной. Для воды ρ = 1000 кг/м3, μ = 0,001 Па×с для местной производной имеем оценку
Таким образом нестационарное слагаемое можно учитывать только для быстрых процессов с характерными временами изменения параметров Т ≤ 1 с. Для задачи нагнетания давления в пласт характерные время изменения параметров значительно больше и, следовательно, можно полностью пренебречь инерционным слагаемым в уравнении импульсов.
Линеаризованная система уравнений с несжимаемой жидкостью в трещине примет вид
(1.1)
(1.2)
(1.3)
где v – скорость течения жидкости ГРП в трещине; w – раскрытие трещины; uL – скорость фильтрационной утечки по нормали к стенкам трещины; k – проницаемость пласта; μ – динамическая вязкость жидкости; pr – давление в пласте; ρ – постоянная плотность жидкости в трещине; p – давление в трещине; m – коэффициент пористости породы; βl и βs – коэффициенты сжимаемости жидкости в пласте и скелета породы соответственно.
В системе уравнений (1.1)–(1.3) течение в трещине описывается уравнениями в гидравлическом приближении, а давление в пласте, в отличие от давления в трещине, является функцией обеих пространственных координат.
На стенке трещины выполняется динамическое условие непрерывности давления:
(1.4)
В начальный момент жидкость в трещине и пласте покоится, а давление в трещине равно пластовому давлению:
(1.5)
где pk – пластовое давление.
Поскольку проницаемость пород на несколько порядков меньше проницаемости трещины, то предполагается, что вся жидкость из скважины попадает в трещину при закачке жидкости или из трещины в скважину при отборе жидкости (то есть жидкость не фильтруется через стенки скважины). Кроме того, согласно постановке задачи, трещина симметрична относительно скважины. Таким образом, граничное условие на скважине есть
(1.6)
где Q0 – постоянный расход закачки (отбора) жидкости; h – высота трещины.
На бесконечности потребуем равенства давлений в трещине и пласте пластовому давлению:
(1.7)
Уравнения (1.1)–(1.7) образуют замкнутую систему.
Введем безразмерные переменные:
(1.8)
где характерные и безразмерные параметры, а также размерный параметр С равны
(1.9)
где L – расстояние, пройденное частицей в пласте вдоль траектории, которое можно принять равным размерам реального конечного пласта. В случае закачки жидкости в пласт берется положительный расход Q0, а при отборе жидкости из пласта – отрицательный. В обоих случаях параметры A и B являются положительными величинами, а параметр С имеет размерность скорости и зависит от знака расхода Q0.
С учетом (1.8), (1.9) безразмерные уравнения (1.1) – (1.7) примут вид
(1.10)
(1.11)
(1.12)
(1.13)
(1.14)
(1.15)
(1.16)
2. Применение метода преобразования лапласа
Применим преобразование Лапласа [8] по безразмерному времени
(2.1)
к системе уравнений (1.10)–(1.16). Обозначим изображения искомых функций следующим образом:
(2.2)
С учетом начальных условий (1.14) получим следующую систему обыкновенных дифференциальных уравнений (ОДУ) для изображений:
(2.3)
(2.4)
(2.5)
Безразмерное условие непрерывности давления в изображениях преобразуется к виду
(2.6)
Граничное условие (1.15) для изображения запишется в форме
(2.7)
Условия на бесконечности (1.16) примут вид
(2.8)
Получим следующее решение системы ОДУ (2.3)–(2.5) с дополнительными условиями (2.6) – (2.8):
(2.9)
Для нахождения оригиналов изображений (2.9) применяется теорема обращения Меллина [8]:
(2.10)
Для всех изображений (2.9) начало координат ω = 0 является одновременно и полюсом, и точкой ветвления.
Для интегрирования изображений рассмотрим замкнутый контур на комплексной плоскости с разрезом вдоль отрицательной действительной полуоси, показанный на рис. 2. Внутри выбранного контура и на контуре функции (2.9) являются однозначными аналитическими функциями.
Рис. 2. Контур интегрирования.
Обход от точки А1 до С происходит по часовой стрелке. Далее обходится контур CDEFB1A1. Обозначим дуги А1С и FB1 соответственно через CR1 и CR2. Окружность DE обозначается через Cr, а координаты точек F(C) и E(D) – соответственно через (-R, 0) и (-r, 0). Координаты точек А1 и В1 равны a, соответственно.
Сначала с использованием (2.10) находится оригинал изображения скорости жидкости в трещине (2.9):
(2.11)
Поскольку внутри рассматриваемого контура и на контуре нет ни полюсов, ни точек ветвления, то по теореме Коши [8] имеем
(2.12)
Заметим, что изображения (2.9) стремятся к нулю при ω → ∞. По лемме Жордана [8] интегралы по CR1 и CR2 в (2.12) стремятся к нулю при R → ∞.
На контуре Cr имеем Подстановка этих выражений в интеграл по этому контуру дает:
(2.13)
Остается рассмотреть интегралы на нижнем и верхнем берегах разреза вдоль действительной оси. Заметим, что вдоль нижнего разреза а вдоль верхнего разреза Вычислим соответствующие интегралы:
(2.14)
(2.15)
Из выражений (2.11)–(2.15) следует
(2.16)
В (2.16) сделаем замену координат Тогда получим
(2.17)
Применение данной техники к изображениям (2.9) пластового давления и давления в трещине дает расходящиеся интегралы при стягивании в точку контура Cr вокруг начала координат. Вычислим функции-оригиналы другим способом. Согласно (2.9), изображение пластового давления
(2.18)
Тогда с учетом того, что функция-оригинал изображения ω1/4
(2.19)
и из теоремы об умножении изображений, а также (2.18) и (2.19) следует
(2.20)
где
(2.21)
Вычисляя интеграл (2.21) по контуру на рис. 2, получим
(2.22)
Далее, из (2.20) и (2.22) для пластового давления следует решение
(2.23)
Из (1.13) и (2.23) следует решение для давления в трещине
(2.24)
Непосредственная проверка показывает, что выражения (2.17), (2.23 и (2.24) являются точными решениями системы уравнений (1.10)–(1.12). Для полученных решений проверка граничного условия (1.15) выполняется элементарно. Первое и второе граничные условия (1.16) следуют из построения ограниченных решений для изображений пластового давления при y → ∞ и давления в трещине при x → ∞, а также из представлений (2.20) и (2.21). Выполнение начальных условий для (2.17), (2.23) и (2.24) следует из теоремы обращения Меллина при t < 0 [9].
Знаки размерных давлений (2.23), (2.24) и выражения для скорости (2.17) автоматически определяются знаком расхода Q0. Таким образом, полученные решения применимы как к закачке жидкости в пласт, так и к отбору жидкости из пласта в соответствии с условиями (1.8) и (1.9).
Из (2.23) получим выражения для составляющих размерной скорости фильтрации в пласте:
(2.251)
(2.252)
В свою очередь из (2.251) следует выражение для размерной утечки в пласт (приток из пласта):
(2.26)
Знаки всех полученных выражений определяются знаком расхода Q0.
Выражение (2.26) для утечки можно, например, использовать при численном моделировании водоизоляции магистральных трещин ширины w неньютоновскими гелями [9]. В этом случае задается расход закачки Q0 на скважине, а закачиваемый гель вытесняет воду в трещине поршневым образом. Выражение (2.26) можно применить для моделирования утечки жидкости из трещины в пласт в области течения, занятой пластовой водой. Корректная утечка воды из трещины в пласт существенно влияет на определение правильной глубины проникновения геля в трещину, а значит, и на эффективность данного технологического процесса.
Уравнения траекторий жидкости в пласте имеют вид
(2.27)
где правая часть (1.28) определяется решением (2.251).
Решение (2.17) определяет закон движения жидкости в трещине:
(2.28)
Полученные решения применимы к реальному пласту и трещине конечной протяженности до тех пор, пока волна давления не достигнет границы пласта или конца трещины. Это равносильно тому, что частица жидкости достигла соответствующих границ. Поэтому уравнения траекторий (2.27) и (2.28) должны быть использованы для определения момента времени, до которого полученные решения справедливы для трещины и пласта конечных размеров и в дальнейшем будут применены при построении графиков решений.
Из решения (2.24) следует закон изменения забойного давления со временем:
(2.29)
Отсюда выражение для забойного давления в размерных переменных имеет вид
(2.30)
где введена эффективная проницаемость не закрепленной трещины kf = w2/12. Это решение пропорционально корню четвертой степени от времени также как и асимптотическое решение для забойного давления в закрепленной проппантом трещине на больших временах [1, 2, 4]. Сравнение с формулой
(2.31)
из работы [4] показывает, что решение (2.30) имеет тот же характер зависимости от параметров за исключением множителя (1 – m)1/2 в числителе. Постоянные коэффициенты в решениях (2.30) и (2.31) отличаются незначительно. Таким образом, при заданном расходе на скважине зависимость забойного давления от времени для трещины отличается от аналогичной зависимости для трещины, закрепленной проппантом присутствием множителя (1 – m)1/2.
Поскольку в рассматриваемой постановке задачи нет характерной длины, то она, как и следовало ожидать, не входит в уравнения (2.30) и (2.31).
3. Результаты численных расчетов
По полученным аналитическим решениям построим графики для двумерного давления давления в пласте, давления и скорости в трещине, а также утечек в пласт в некоторые моменты времени. Результаты расчетов показаны на рис. 3–6.
Рис. 3. Изменение давления в трещине в моменты времени (а–в) – t = 3, 6 и 12 ч для различных расходов закачки Q0. Ширина трещины w = 10–4 м. Проницаемость пласта k = 1 мД: 1–3 – Q0 = 10, 50, 100 м3/сут.
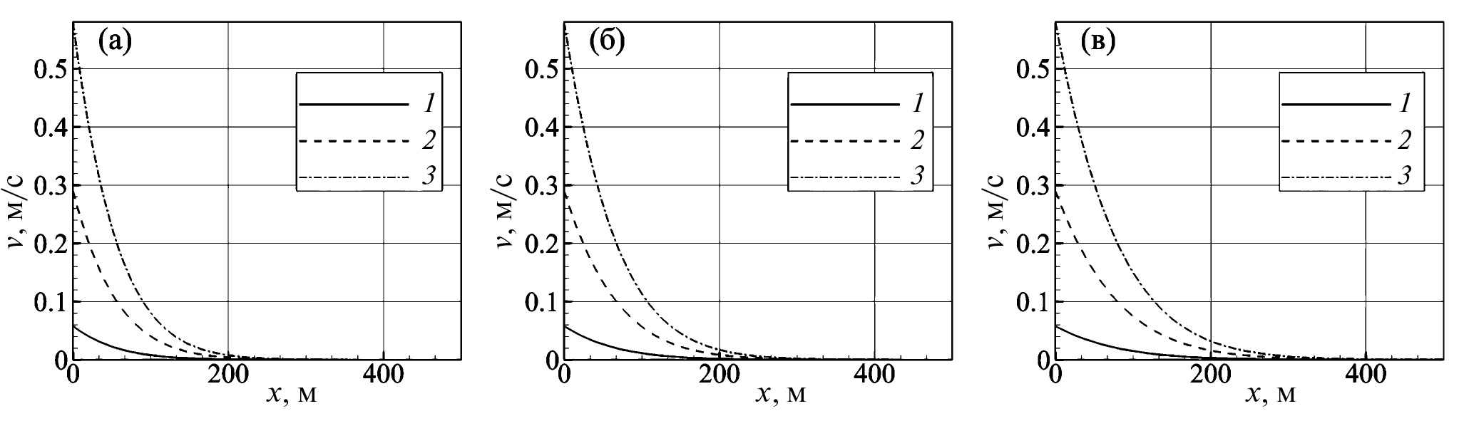
Рис. 4. Изменение скорости течения по длине трещины в моменты времени (а–в) – t = 3, 6 и 12 ч для различных расходов закачки Q0. Ширина трещины w = 10–4 м. Проницаемость пласта k = 1 мД: 1–3 – Q0 = 10, 50, 100 м3/сут.
При построении графиков использовались следующие параметры. В качестве жидкости бралась вода с плотностью ρ = 1000 кг/м3 и вязкостью μ = 0.001 Па×с. Коэффициент упругоемкости воды βl = 10–10 Па-1. Коэффициент упругоемкости скелета породы βs = 10–11 Па–1. Пористость пласта равна m = 0.1. Проницаемости пород варьировали от 1 до 100 мД. Длина трещины равна Lx = 500 м. Протяженность пласта в направлении y равна Ly = 125 м. Ширина трещины w варьировала от 5 × 10-5 до 1.5 × 10–4 м. Пластовое давление равно pk = 250 атм (2.5 × 107 Па). Расход закачки жидкости варьировал от Q0 = 10 м3/сут до Q0 = 100 м3/сут.
Поскольку полученное решение справедливо для бесконечных протяженностей трещины и пласта, то при применении полученного решения к пласту и трещине конечной протяженности необходимо контролировать координаты фронта жидкости в трещине и пласте при закачке жидкости через добывающую скважину.
Полученные решения для давления и скорости течения в трещине, а также для давления в пласте справедливы для времен, когда как координата фронта жидкости в пласте, так и координата фронта жидкости в трещине, рассчитанные по уравнениям траекторий (2.27) и (2.28), еще не достигли соответствующих границ. То есть одновременно должны выполняться неравенства xf < Lx, yr < Ly. Эти условия соблюдаются при построении графиков решений.
На рис. 3 показано изменение давления по длине трещины для трех моментов времени t = 3, 6 и 12 ч при различных расходах закачки Q0 = 10, 50 и 100 м3/сут при проницаемости пласта k = 1 мД и ширине трещины w = 0.0001 м. Видно, что чем выше расход, тем выше давление и тем с большей скоростью падает давление по длине трещины. Со временем давление в трещине повышается.
Аналогичные кривые давления получаются при фиксированном расходе Q0 и ширине трещины w. В этом случае давление в трещине увеличивается с уменьшением проницаемости пласта вследствие меньших утечек жидкости из трещины в пласт, а темпы падения давления увеличиваются с увеличением проницаемости пласта (с увеличением фильтрационных утечек).
Также было исследовано влияние ширины трещины на изменение давления по длине трещины при фиксированном расходе закачки Q0 и фиксированной проницаемости пласта k. В этом случае давление и темпы падения давления по длине трещины увеличиваются с уменьшением ширины трещины.
На рис. 4 представлено изменение скорости течения по длине трещины для тех же моментов времени, что и на рис. 3 при тех же параметрах расчета. Видно, что чем выше расход закачки, тем выше скорость течения в трещине и тем выше темпы падения скорости по длине трещины.
Аналогичные кривые получаются при фиксированном расходе Q0 и фиксированной ширине трещины w. С увеличением проницаемости породы уменьшается скорость течения и увеличиваются темпы падения скорости по длине трещины вследствие большей утечки.
Также было изучено влияние ширины трещины на изменение скорости течения в трещине при фиксированном расходе Q0 и фиксированной проницаемости пласта k. Выяснено, что с уменьшением ширины трещины увеличивается скорость течения и увеличиваются темпы падения скорости по длине трещины из-за более высокого гидравлического сопротивления.
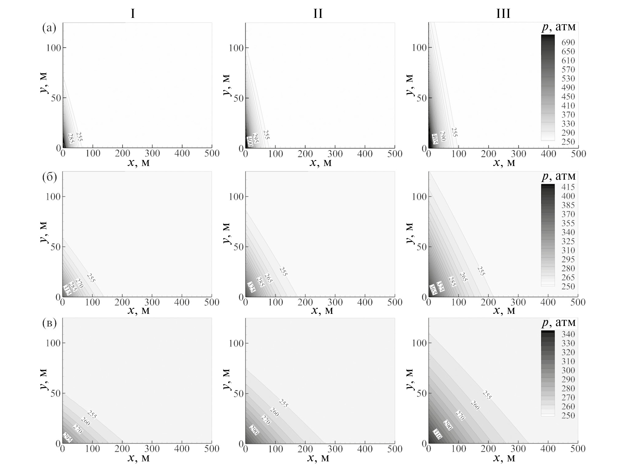
На рис. 5 при расходах Q0 = 10, 50 и 100 м3/сут показаны изолинии нестационарного двухмерного поля давления в пласте для тех же моментов времени, что и на предыдущих рисунках для проницаемости пласта k = 1 мД и ширине трещины равной w = 0.0001 м. Видно как со временем происходит нагнетание давления в пласт при билинейном течении в системе эрозионная трещина/водонасыщенный пласт. Изолинии наклонены под некоторым углом к оси х. C течением времени фронт давления продвигается вглубь двухмерной области, а наклон изолиний к оси абсцисс остается постоянным для каждого фиксированного расхода закачки. Естественно, что с ростом расхода закачки Q0 давление в пласте увеличивается, а фронт давления быстрее проникает в пласт, что видно по приведенным графикам и шкалам давления.
Рис. 5. Распространение давления в пласте в моменты (I–III) – t = 3, 6 и 12 ч. Ширина трещины w = 10–4 м. Проницаемость пласта k = 1 мД: (а–в) – Q0 = 10, 50, 100 м3/сут.
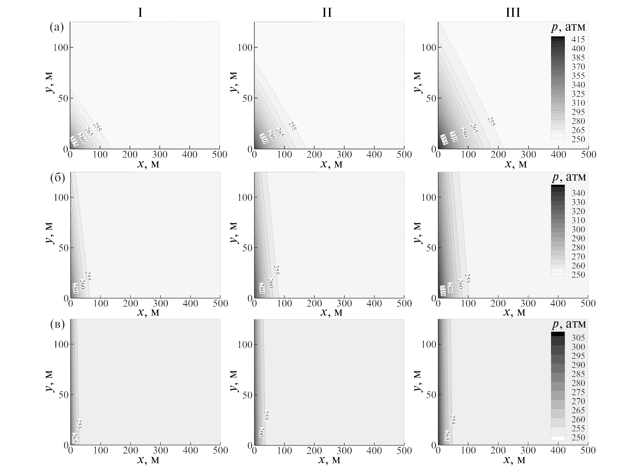
На рис. 6 показаны изолинии нестационарного двухмерного поля давления в пласте для тех же моментов, что и на предыдущих рисунках для расхода закачки Q0 = 50 м3/сут и ширине трещины w = 0.0001 м. Видно, что с увеличением проницаемости пласта k наклон изолиний к оси абсцисс увеличивается. При k → ∞ решение двухмерного уравнения пьезопроводности стремится к решению одномерного уравнения теплопроводности по координате х. Это означает, что нагнетание давления в пласте в основном происходит через скважину, а нагнетание давления через трещину пренебрежимо мало.
Рис. 6. Распространение давления в пласте в моменты (I–III) – t = 3, 6 и 12 ч. Ширина трещины w = 10–4 м. Расход закачки Q0 = 50 м3/сут: (а–в) – k = 1, 10, 100 мД.
На рис. 7 показаны изолинии нестационарного двухмерного поля давления в пласте для тех же моментов времени t = 3, 6 и 12 ч для расхода закачки Q0 = 50 м3/сут и проницаемости пласта k = 1 мД. Видно, что с увеличением ширины трещины w наклон изолиний к оси абсцисс уменьшается. При w → ∞ решение двухмерного уравнения пьезопроводности стремится к решению одномерного уравнения теплопроводности по координате y. Это означает, что нагнетание давления в пласте в основном происходит через трещину, а нагнетанием давления через скважину можно пренебречь.
Рис. 7. Распространение давления в пласте в моменты (I–III) – t = 3, 6 и 12 ч. Проницаемость пласта k = 1 мД. Расход закачки Q0 = 50 м3/сут: (а–в) – w = 5 × 10-5, 10-4, 1.5 × 10–4 м.
Полученные аналитические решения могут быть использованы при тестировании численных схем симуляторов, моделирующих процессы фильтрации в линейно-упругих пластах с эрозионными вертикальными трещинами авто-ГРП.
Заключение
Представлена модель билинейного нестационарного течениия в системе эрозионная трещина/водонасыщенный линейно-упругий пласт бесконечной протяженности. Получены аналитические решение для нестационарных полей давления в пласте и трещине, а также скорости течения в трещине при мгновенном включении насоса с постоянным расходом на нагнетательной скважине в изначально невозмущенной системе “трещина–пласт”.
Получено аналитическое выражение для фильтрационных утечек из трещины в пласт, а также уравнения траекторий течения жидкости в трещине и пласте, которые позволяют определить времена, при которых полученные решения справедливы для трещин и пластов конечных размеров.
Построены графики полей давления в трещине и пласте, а также скорости течения в трещине для пласта и трещины конечной протяженности. Полученные решения также описывают течение флюида в трещине и пласте при отборе жидкости в добывающую скважину при постоянном дебите.
About the authors
A. M. Il’yasov
OOO "RKh-BashNIPIneft"
Author for correspondence.
Email: amilyasov67@gmail.com
Russian Federation, Ufa
V. N. Kireev
Ufa University of Science and Technology
Email: kireev@anrb.ru
Russian Federation, Ufa
References
- Cinco-Ley H., Samaniego V.F. Transient Pressure Analysis for fractured wells // J. Petrol. Techonol. 1981. V. 33. № 9. P. 1749–1766.
- Нагаева З.М., Шагапов В.Ш. Об упругом режиме фильтрации в трещине, расположенной в нефтяном или газовом пласте // ПММ. 2017. Т. 81. № 3. С. 319–329.
- Хабибуллин И.Л., Хисамов А.А. К теории билинейного режима фильтрации в пластах с трещинами гидроразрыва // Вестн. Башкирского ун-та. 2018. Т. 23. № 4. С. 958–963.
- Хабибуллин И.Л., Хисамов А.А. Нестационарная фильтрация в пласте с трещиной гидроразрыва // Изв. РАН. МЖГ. 2019. № 5. С. 6–14.
- Башмаков Р.А., Шагапов В.Ш., Фокеева Н.О. Особенности фильтрации флюидов в коллекторах, подверженных гидроразрыву пласта, при переходных режимах работы скважины // ПМТФ. 2022. Т. 63. № 3. С. 117–127.
- Хабибуллин И.Л., Хисамов А.А. Моделирование неустановившейся фильтрации жидкости в пласте с трещиной гидроразрыва // ПМТФ. 2022. Т. 63. № 4. С. 116–125.
- Чарный И.А. Неустановившееся движение реальной жидкости в трубах. М.: Недра, 1975. 296 с.
- Лаврентьев М.А., Шабат Б.В. Методы теории функций комплексного переменного. СПб.: Лань, 2002. 749 с.
- Ильясов А.М., Булгакова Г.Т. Моделирование установки и устойчивости гелевых экранов в магистральных трещинах // ПМТФ. 2018. Т. 59. № 2. С. 198–208.
Supplementary files









