Structure of Swirling Flow in the Channel Branching Area at Moderate Reynolds Numbers
- Authors: Molochnikov V.M.1,2, Nikiforov I.V.1, Pashkova N.D.1
-
Affiliations:
- Kazan Scientific Center of the Russian Academy of Sciences
- Tupolev Kazan National Research Technical University
- Issue: No 5 (2024)
- Pages: 25-40
- Section: Articles
- URL: https://journal-vniispk.ru/1024-7084/article/view/283798
- DOI: https://doi.org/10.31857/S1024708424050034
- EDN: https://elibrary.ru/NRBDRB
- ID: 283798
Cite item
Full Text
Abstract
The results of experimental studies of steady-state swirling flow in the area of channel branching, that imitates the proximal end-to-side anastomosis of the human femoral artery, are given. The experiments were carried out at a Reynolds number of 1460. This corresponds to the range of physiological values when estimating by the maximum blood flow rate in the artery during the period of cardiac contractions. For both branches, an equal ratio of the flow rates was maintained. At the inlet to the branching area, the degree of flow swirl was equal to 0.125. Using the SIV (Smoke Image Velocimetry) technique, flow was visualized and the instantaneous vector flow velocity fields of each branch were measured. The main patterns of the influence of swirl on the vortex structure of flow in the main artery below the branching area and in the shunt have been revealed. The possibility of using flow swirl to create more favorable hemodynamic conditions in the anastomotic area is being considered. A particular attention is paid to the appearance of signs of local flow turbulization in the presence and absence of swirl.
Full Text
Разветвляющиеся каналы часто встречаются в различных технических устройствах: системах транспортировки горючего и охлаждающей жидкости, элементах химических технологий и т.д. Часто область разветвления представляет собой гладкий прямой канал с ответвлением, установленным к нему под некоторым углом. При этом в каналах ниже разветвления, как правило, формируются отрывные течения, интенсивность которых зависит как от угла между ответвлением и подводящим каналом, так и от доли расхода, протекающего через каждое ответвление. Отрыв потока приводит к повышению гидродинамического сопротивления таких каналов и другим неблагоприятным последствиям.
Отдельной и чрезвычайно важной разновидностью разветвляющихся каналов являются элементы сердечно-сосудистой системы человека и, в частности, область соединения шунта, обходящего пораженный участок артерии, с артерией-хозяином (проксимальный и дистальный анастомоз). Режим течения крови в таких сосудах, как правило, ламинарный. Отрыв потока может инициировать более ранний (по числу Рейнольдса) переход к турбулентности [1] в артерии или шунте в области анастомоза. Кроме того, для отрывной области характерно наличие зон низкого напряжения сдвига, его значительных временных и пространственных градиентов. Как показали многочисленные исследования, эти факторы часто приводят к интенсивному росту внутреннего слоя стенки артерии и шунта (гиперплазия интимы), сужению просвета сосудов вплоть до их полной закупорки (окклюзии) и необходимости повторного хирургического вмешательства [2–5]. Согласно опубликованным данным [6–8], примерно 10–15% случаев использования сосудистых трансплантантов заканчиваются окклюзией в течение первого года после операции, а около половины сохраняет свою работоспособность в течение 5–10 лет [9].
Известно, что закрутка потока может способствовать уменьшению пространственных масштабов отрывных областей. Однако эти выводы подтверждены, главным образом, для классического случая отрыва — турбулентного [10–12] или ламинарного [13, 14] закрученного течения в осесимметричном канале с внезапным расширением. Причем в случае ламинарного течения подобные исследования проводились лишь в области достаточно низких чисел Рейнольдса (Re < 800) [15, 16]. Привлекательным выглядит использование закрутки потока для создания более благоприятных гемодинамических условий в области анастомоза, однако публикации результатов подобных исследований носят единичный характер. Так, в работах H. Ha с соавторами [17], впервые в экспериментах с использованием модели кровеносного сосуда «in vitro» (а не в живом сосуде «in vivo») предпринята попытка использовать закрутку потока в шунте для уменьшения размеров отрывной области в артерии-хозяине дистального анастомоза «конец-в-бок» под углом 45°. Выявлен целый ряд последствий положительного влияния закрутки на формирование вихревых структур и вторичных течений в области отрыва потока и на распределение сдвиговых напряжений на стенках сосудов в области анастомоза. Исследования в [17] проведены для стационарного режима течения. Позже эти же авторы выполнили подобные исследования для пульсирующего закрученного течения [18]. Они показали, что закрутка приводит к выравниванию асимметричного распределения напряжения сдвига на стенке сосуда, уменьшает протяженность отрывных областей, снижает амплитуду колебаний параметров потока и разрушает вторичные течения (подобие вихрей Дина), которые в незакрученном потоке локализуются в пределах рециркуляционных областей. В цитируемых работах [17, 18] закрутка потока в модели дистального анастомоза выполнялась при помощи четырехходовых шнековых завихрителей. Рядом авторов для обеспечения закрутки потока предложены различные варианты спиральных сосудистых трансплантантов. Уменьшение области рециркуляции в стенозированном сосуде за счет закрутки потока при помощи спиральных трубок различной конфигурации в стационарном и пульсирующем потоке экспериментально установлено в [19]. Благоприятное воздействие закрутки потока на структуру течения в области дистального анастомоза при использовании спиральной конфигурации модели шунта выявлено на основе визуальных исследований в [20, 21].
Несмотря на обнадеживающие результаты, можно констатировать, что исследования влияния закрутки потока на гемодинамику в области анастомоза находятся в начальной стадии. Между тем, установленным считается факт естественной физиологической закрутки потока крови в крупных артериальных сосудах [22]. Этот факт был впервые обнаружен в первой половине прошлого века и позднее многократно подтвержден с использованием современной диагностической техники [23–25]. Однако в многочисленных экспериментальных и расчетных исследованиях гемодинамики сосудистых трансплантантов естественная физиологическая закрутка потока не моделируется и не принимается во внимание.
В настоящей работе представлены результаты экспериментальных исследований влияния закрутки потока на структуру течения в области разветвления каналов, имитирующей проксимальный анастомоз бедренной артерии человека. На данном этапе рассматривается стационарный режим течения. Особое внимание уделяется последствиям воздействия закрутки на течение в областях отрыва потока, формируемых в основной артерии и шунте, а также на появление признаков локальной турбулизации потока.
ЭКСПЕРИМЕНТАЛЬНАЯ УСТАНОВКА И МЕТОДИКА ПРОВЕДЕНИЯ ИССЛЕДОВАНИЙ
Экспериментальные исследования проводились в специализированной установке, схема и подробное описание которой представлены в [26]. Здесь ограничимся лишь кратким описанием принципа ее работы. Расход рабочей жидкости в тракте установки обеспечивается за счет гидростатического напора, создаваемого напорным баком, в котором уровень жидкости поддерживается постоянным. Величина расхода регулируется путем включения в работу необходимой номенклатуры сопел в дозаторе, который установлен в магистрали между напорным баком и рабочим участком. После прохождения через рабочий участок жидкость поступает в бак-хранилище, откуда при помощи насоса возвращается в напорный бак.
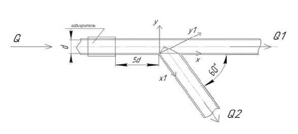
Рабочий участок установки выполнен в форме разветвляющегося канала, имитирующего проксимальный анастомоз бедренной артерии «конец-в-бок» (рис. 1). Все элементы рабочего участка изготовлены из прозрачных трубок с внутренним диаметром d = 17.4 мм. Материал трубок — поликарбонат. Боковое ответвление (шунт) располагается под углом 60° к основному каналу (артерии) [27].
Рис. 1. Схема рабочего участка установки и система координат.
В настоящих экспериментах на расстоянии 5 d вверх по потоку от области разветвления устанавливался лопаточный завихритель (рис. 2). Во входном сечении завихрителя угол установки (угол атаки) лопаток составлял 0 градусов с осью канала, в выходном — 23°. Такая конструкция завихрителя должна была обеспечить значение степени закрутки потока Y = 0.12 – 0.17 перед разветвлением. В качестве степени закрутки Y используется наиболее часто применяемая величина, представляющая собой отношение осевого потока момента количества движения к осевому потоку осевого количества движения закрученного потока
, (1)
Здесь: Uq и Ux — локальная окружная и осевая скорость, соответственно; r – текущий радиус; ρ – плотность рабочей жидкости; R – радиус канала.
Рис. 2. Вешний вид лопаточного завихрителя.
Перед завихрителем располагался прямолинейный участок трубы с внутренним диаметром d = 17.4 мм. Его длина L = 900 мм (L / d = 53) выбиралась из условия ее достаточности для достижения (при числе Рейнольдса, реализуемом в эксперименте) развитого ламинарного течения перед входом в рабочий участок с профилем скорости, соответствующим решению Пуазейля.
Установка была снабжена системой измерений мгновенных двумерных векторных полей скорости потока SIV (Smoke Image Velocimetry) [28, 29]. Метод SIV является аналогом классического метода PIV, однако, в отличие от последнего, использует многократно более высокую концентрацию трассеров, в качестве которых в настоящем исследовании использовались полиамидные частицы диаметром 5 мкм. Благодаря этой особенности метода при обработке покадрового изображения рассматривается не перемещение отдельных частиц (трассеров), как принято в классической технике PIV, а фрагментов с наиболее похожим друг на друга распределением яркости. Кроме того, метод использует алгоритмы, устойчивые к большим относительным смещениям фрагментов изображений. По этой причине он обеспечивает более высокое, по сравнению с PIV, пространственное разрешение и способствует снижению шумов измерений.
Измерительная область рабочего участка размещалась в прозрачном боксе. Бокс был заполнен глицерином, коэффициент преломления которого практически такой же, как у поликарбоната. Стенки бокса в области измерений, через которые формируется лазерный нож и проводится съемка картины течения, были выполнены из стекла. Такая конструкция обеспечивает возможность измерения мгновенных векторных полей скорости потока в плоскости лазерного ножа с использованием полевых оптических методов без заметных искажений.
В качестве рабочей жидкости использовался водный раствор глицерина с массовым содержанием последнего 56.3% (кинематическая вязкость ν = 7.85 × 10–6 м2/с при температуре 24.3°С). Температура рабочей жидкости при проведении серии опытов изменялась не более, чем на 0.5° и контролировалась при помощи аттестованного датчика температуры. Вязкость рабочей жидкости подтверждалось прямыми измерениями при помощи вискозиметра с пределом погрешности 0.35%.
Эксперименты включали визуализацию потока, которая позволяла получить качественную картину течения и проследить ее динамику, а также измерения мгновенных векторных полей скорости как в случае закрутки потока перед разветвлением, так и при ее отсутствии. Измерения выполнялись в подводящем канале ниже по потоку от завихрителя, в обоих ответвлениях в геометрической плоскости симметрии разветвления и в параллельных ей плоскостях. Исследования проводились на стационарном режиме течения при числе Рейнольдса Re = 1460, рассчитанном по внутреннему диаметру рабочего участка d и среднерасходной скорости потока <U> в подводящем канале. Выбранное для экспериментов значение числа Рейнольдса соответствовало интервалу физиологических значений при оценке по максимальному расходу крови в бедренной артерии человека за период сердечных сокращений. Соотношение расходов по ответвлениям в экспериментах составляло Q1 / Q = Q2 / Q = 0.5.
РЕЗУЛЬТАТЫ ИССЛЕДОВАНИЙ И ОБСУЖДЕНИЕ
2.1. Структура течения в подводящем канале
По результатам SIV-измерений проанализирована эволюция структуры течения на участке гладкого канала (подводящем участке артерии) между завихрителем и областью разветвления (анастомозом). Здесь при представлении результатов, в отличие от рис. 1, начало координат располагалось в выходном сечении завихрителя. Установлено, что степень закрутки потока вблизи завихрителя составляет Y = 0.16, а зависимость Y (x / d) имеет немонотонный характер, который можно объяснить отсутствием осевой симметрии поля течения вблизи завихрителя из-за влияния следа за его лопатками, характерным для лопаточных завихрителей [30]. При x / d > 2.5 степень закрутки плавно снижается с замедлением темпа снижения при приближении к области разветвления, и достигает величины Y ≈ 0.125 непосредственно перед разветвлением (рис. 3), что находится в пределах естественных физиологических значений.
Рис. 3. Изменение степени закрутки с увеличением расстояния от завихрителя.
Профили продольной компоненты скорости потока Ux вблизи завихрителя имеют характерную М-образную форму (рис. 4а), однако в непосредственной близости от завихрителя область возвратных течений отсутствует. Далее вниз по потоку профили Ux (y) в значительной степени выравнивается. Сопоставление профилей скорости в двух взаимно перпендикулярных плоскостях xy и xz свидетельствует, что за исключением сечения, расположенного непосредственно за завихрителем, они хорошо согласуются между собой. Интенсивность пульсаций скорости на оси канала составляет порядка 8–9%, а вблизи стенки — от 20 до 40% от среднерасходной скорости потока (рис. 4б) в зависимости от расстояния от завихрителя. В зоне стабилизации степени закрутки потока Y вблизи разветвления (x / d > 3.5) окружная компонента скорости при r / R > 0.15 слабо изменяется по радиусу канала (рис. 5).
Рис. 4. Профили продольной компоненты скорости потока (а) и ее среднеквадратичных пульсаций (б) в гладком канале вниз по течению от завихрителя.
Рис. 5. Профили окружной компоненты скорости потока в канале вниз по течению от завихрителя.
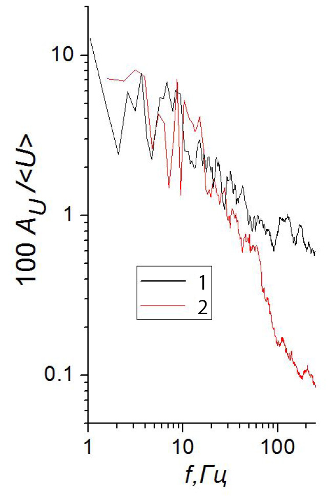
Скорость потока в сечении перед разветвлением демонстрирует колебания с частотой порядка 1 Гц и амплитудой около 0.4 <U>. Эти колебания могут быть следствием прецессии ядра вихря, формируемого в прямолинейном канале между завихрителем и областью разветвления. Возникновение прецессии может быть вызвано наличием зоны существенного торможения потока в центре канала вблизи завихрителя или небольшой асимметрией расположения завихрителя относительно оси канала.
2.2. Влияние закрутки потока на структуру течения в области разветвления каналов
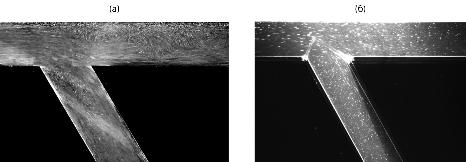
Визуализация течения показала, что при отсутствии закрутки потока в обоих ответвлениях формируются стационарные отрывные области: в ответвлении Q1 (артерия) — вблизи верхней образующей, а в ответвлении Q2 (шунт) — вблизи образующей, прилегающей к тупому углу ответвления (рис. 6а). В слое смешения на границе этих областей видны крупномасштабные вихревые структуры, которые периодически сносятся вниз по потоку. Подобное явление наблюдалось авторами и при обтекании поперечного полуцилиндрического выступа, расположенного на стенке прямоугольного канала при умеренных числах Рейнольдса [31]. Оно связано, по-видимому, с конвективной неустойчивостью слоя смешения на границе рециркуляционной области. Визуализация течения в плоскости симметрии разветвления показала, что закрутка потока приводит к ликвидации области возвратного течения в ответвлении Q1. Однако на этом режиме вблизи оси симметрии ответвления при x / d ≈ 1.0 появляется область сильно заторможенного течения протяженностью приблизительно 1.5–2.5 диаметра канала, хорошо видная на картине визуализации (рис. 6б). По координате y в плоскости симметрии ответвления размер этой области составляет приблизительно 0.3 d. В следе за областью торможения видны низкочастотные колебания потока.
Рис. 6. Стоп-кадры визуализации течения в области разветвления каналов (проксимальный анастомоз) при Re = 1460: а — без закрутки потока; б — с закруткой потока при Y = 0.125.
Данные визуализации показали, что, в отличие от ответвления Q1, закрутка потока не вносит радикальных изменений в структуру течения в ответвлении Q2, а приводит лишь к некоторому изменению пространственного масштаба области отрыва потока вблизи образующей, примыкающей к тупому углу ответвления (рис. 6).
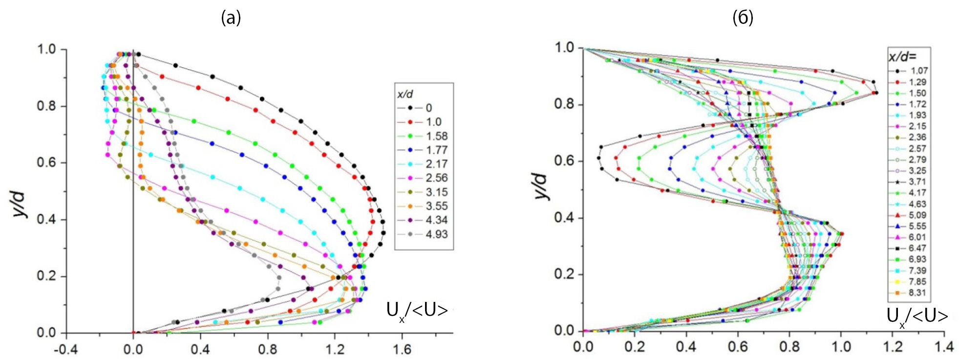
Результаты SIV измерений подтвердили выводы, сделанные на основе визуальных наблюдений. В результате анализа профилей скорости в ответвлении Q1 (рис. 7а) установлено, что область возвратного течения (область отрыва потока) вблизи верхней образующей ответвления под действием закрутки полностью исчезает (рис. 7а). Появление зоны торможения, обнаруженное в результате визуализации течения, подтверждается наличием области значительного дефекта скорости на профилях ее продольной компоненты (рис. 7б). О пространственной форме этой области можно судить по зависимостям Ux (x / d) при различных значениях z / R (рис. 8). Эти зависимости построены в параллельной xz плоскости, смещенной от нее на расстояние 0.11 d, т.е. проходящей через точку минимума профиля скорости при x / d = 1.07 (см. рис. 7б). Видно, что, несмотря на отсутствие возвратного течения в плоскости симметрии разветвления (плоскости xy), в верхней части ответвления Q1 (при z / R > 0.34) вблизи боковой стенки формируется рециркуляционная область, протяженность которой по координате x / d составляет до 1.0 d при приближении к стенке канала.
Рис. 7. Профили скорости в ответвлении Q1: а — без закрутки; б — с закруткой потока.
Рис. 8. Зависимости распределения продольной компоненты скорости потока по длине ответвления Q1 на различных расстояниях от плоскости симметрии.
Механизм образования зоны торможения потока (зоны дефекта скорости) и области возвратного течения вблизи боковой стенки ответвления, по-видимому, связан с явлением распада вихря, прецессия которого наблюдалась в подводящем канале (артерии) перед разветвлением.
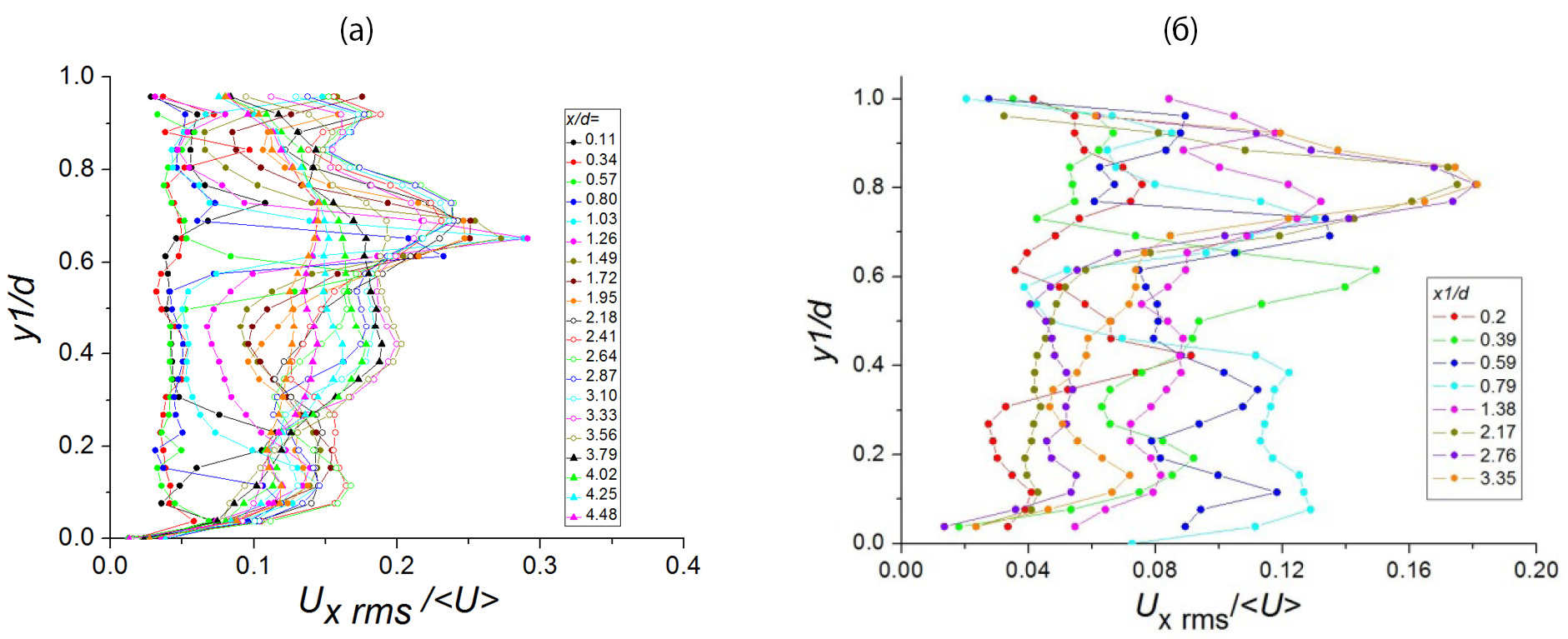
Перестройка потока в ответвлении Q1 (рис. 9) под влиянием закрутки влечет за собой изменения в распределении интенсивности пульсаций продольной компоненты скорости потока Ux rms. В обоих случаях максимальные значения Ux rms достигаются в сдвиговых слоях, где поперечный градиент скорости наибольший: при отсутствии закрутки — в окрестности границы отрывной области, в закрученном потоке — в окрестности границ области торможения (дефекта скорости). Однако при отсутствии закрутки максимальные значения пульсаций max(Ux rms) по длине отрывной области растут вплоть до x / d ≈ 5, а в случае закрутки потока их наибольшие значения наблюдаются в начале области торможения, затем max(Ux rms) практически монотонно снижается вниз по течению (рис. 10).
Рис. 9. Профили среднеквадратичных пульсаций скорости в ответвлении Q1: а — без закрутки; б — с закруткой потока.
Рис. 10. Изменение максимальных значений интенсивности пульсаций продольной компоненты скорости потока в ответвлении Q1: 1 – при отсутствии закрутки; 2 – на верхней и 3 – нижней границе области торможения закрученного потока.
Степень закрутки потока Y в ответвлении Q1 при удалении от области разветвления постепенно затухает (рис. 11). Выравнивается и распределение окружной компоненты скорости потока Uq по радиусу канала r (рис. 12), при этом наибольшая неравномерность Uq (r) наблюдается вблизи оконечности области дефекта скорости. Максимальные значения окружной компоненты скорости снижаются от Uq / <U> = 0.19 при x / d = 2.15 до Uq / <U> = 0.07 при x / d = 4.22. При этом положение максимума Uq смещается к оси канала. Небольшое отличие окружной скорости от нуля на оси канала объясняется погрешностью измерений малых значений окружной скорости в этой области и погрешностями в позиционировании лазерного ножа.
Рис. 11. Степень закрутки потока в ответвлении Q1.
Рис. 12. Распределение окружной компоненты скорости потока по радиусу канала в ответвлении Q1.
Значительно меньшее влияние закрутки на структуру потока в ответвлении Q2 (шунте), обнаруженное по результатам визуализации течения (рис. 6), также подтверждается данными SIV измерений. Так, область возвратного течения вдоль образующей, прилегающей к тупому углу разветвления, сохраняется, однако под влиянием закрутки ее продольный размер в этом ответвлении возрастает почти в 1.5 раза: с 0.8 d без закрутки (рис. 13а) до примерно 2 d при ее наличии (рис. 13б). Однако поперечный размер этой области (по координате y) практически не изменяется. Максимальная скорость в зоне высокоскоростной струи, образующейся над областью отрыва потока в этом ответвлении (шунте) также остается неизменной. Однако в закрученном потоке размер этой области по координате y становится несколько больше, в результате чего увеличивается поперечный градиент скорости на ее границе (рис. 13а), что приводит к ожидаемому росту интенсивности пульсаций продольной компоненты скорости в этой области. Это хорошо видно как на профилях пульсаций (рис. 14), так и при сравнении изменения максимальных значений интенсивности пульсаций max (Ux rms/<U>) по длине ответвления Q2 (рис. 15).
Рис. 13. Профили продольной компоненты скорости в ответвлении Q2: а — с закруткой; б — без закрутки потока.
Рис. 14. Профили среднеквадратичных пульсаций продольной компоненты скорости потока в ответвлении Q2: а — с закруткой; б — без закрутки потока.
Рис. 15. Изменение максимальных значений интенсивности пульсаций продольной компоненты скорости потока в ответвлении Q2: 1 – при отсутствии закрутки; 2 – в условиях закрутки потока.
Формирование зоны торможения (дефекта скорости) в ответвлении Q1 (артерии) или отрыва потока в ответвлении Q2 (шунте) могут вызвать нарастание возмущений и последующий переход к локальной турбулентности даже при рассматриваемом в настоящем эксперименте числе Рейнольдса. В литературе отсутствует общепризнанное однозначное определение термина «турбулентность» [32]. Поэтому чаще всего в классических работах приводятся некоторые признаки турбулизации течения [33]. В случае развитой однородной и изотропной турбулентности таким признаком может служить наличие в спектре пульсаций скорости так называемого «инерционного интервала», в пределах которого происходит каскадная передача энергии от крупных вихрей к мелким (диссипативным) и справедлив закон «–5/3». Однако определение начала ламинарно-турбулентного перехода на основе такого подхода проблематично. По этой причине возможную турбулизацию рассматриваемых течений будем оценивать по нарастанию амплитуды пульсаций скорости, заполнению высокочастотной области спектра пульсаций, а также, где это возможно, по наличию перемежаемости — чередованию участков ламинарного и турбулентного течения на осциллограммах скорости потока. Появление последнего признака иногда отмечается в качестве одного из этапов перехода к турбулентности [33].
Анализ осциллограмм скорости показывает, что в случае закрутки потока в начале области торможения в ответвлении Q1 (x/d = 1.3) наблюдаются низкочастотные пульсации скорости высокой амплитуды (кривые 1 и 3 на рис. 16). Как показывают данные визуализации течения, область торможения потока представляет собой сложную вихревую структуру, основу которой составляют два последовательных крупномасштабных вихря, вращающихся в противоположных направлениях. Размеры этих вихрей, их пространственное и взаимное положение изменяются по времени, что приводит к низкочастотным колебаниям, как самой зоны торможения, так и формы ее границ. За пределами этой зоны (между зоной торможения и стенками ответвления) амплитуда пульсаций скорости резко снижается (кривая 2 на рис. 16). Вниз по потоку непосредственно за зоной торможения на осциллограммах скорости наблюдается перемежающийся характер течения (рис. 17). Кроме того, амплитуда пульсаций в высокочастотной области спектра здесь выше, чем на границах зоны торможения (рис. 18). Эти факты свидетельствует о появлении признаков локального ламинарно-турбулентного перехода. С удалением от зоны торможения (x / d ≥ 2.5) амплитуда пульсаций скорости в высокочастотной области спектра существенно снижается, что подтверждает локальность процесса ламинарно-турбулентного перехода.
Рис. 16. Осциллограммы продольной компоненты скорости в области торможения потока (дефекта скорости) ответвления Q1 при x / d = 1.3: 1 – y / d = 0.46 (нижняя граница зоны торможения); 2 – высокоскоростной поток ниже зоны торможения; 3 – y / d = 0.76 (верхняя граница зоны торможения).
Рис. 17. Перемежающийся характер течения в ответвлении Q1 непосредственно за зоной торможения при x / d = 2.8.
Рис. 18. Сравнение спектров пульсаций продольной компоненты скорости потока в ответвлении Q1: 1 – x / d = 2.8; y / d = 0.76 (за зоной торможения); 2 – x / d = 1.3; y / d = 0.46 (слой смешения в нижней части зоны торможения).
При отсутствии закрутки потока вихревая структура течения в ответвлении Q1 (артерии) совершенно другая. На границе отрывной области, которая формируется в этом ответвлении, формируются квазирегулярные крупномасштабные вихревые структуры, которые периодически сносятся вниз по потоку. Движение этих вихрей приводит к отчетливой периодичности пульсаций скорости на осциллограммах как в слое смешения на границе отрывной области, так и за ее пределами (рис. 19) с частотой fv = 22.7 Гц (кривая 1 на рис. 20). Крупномасштабные вихри сохраняют достаточно высокую интенсивность на протяжении более трех калибров вниз по потоку от области разветвления: при x / d = 3 в спектрах пульсаций скорости ответвления Q1 еще наблюдается максимум амплитуды на частоте fv. Затем вихри постепенно теряют свою интенсивность, и при x / d = 4.5 локальный максимум амплитуды на частоте fv пропадает (рис. 20). Наряду с формированием и движением крупномасштабных вихрей, в ответвлении Q1 при отсутствии закрутки потока имеют место признаки локального ламинарно-турбулентного перехода, а именно заполнение высокочастотной области спектра в пределах слоя смешения на границе отрывной области. Относительно высокие амплитуды пульсаций скорости в этой части спектра сохраняются приблизительно до x / d = 3.5 – 4.0, а далее вниз по потоку они существенно снижаются.
Рис. 19. Осциллограммы скорости потока в ответвлении Q1 при отсутствии закрутки при x / d = 1.5: 1 – y / d = 0.16 (в зоне высокоскоростной струи над областью отрыва потока); 2 – y / d = 0.52 (в слое смешения на границе отрывной области).
Рис. 20. Сравнение спектров пульсаций продольной компоненты скорости потока в ответвлении Q1: 1 – x / d = 1.5; y / d = 0.52 (слой смешения на границе области отрыва потока); 2 – x / d = 4.5; y / d = 0.47 (слой смешения на границе области отрыва потока ниже по течению).
Крупномасштабные квазирегулярные вихревые структуры, которые при отсутствии закрутки формируются в слое смешения отрывной области ответвления Q1, способны вызывать интенсивные пульсации давления. Эти пульсации передаются на стенки ответвления (артерии) и могут рассматриваться в качестве одного из неблагоприятных факторов, ухудшающих гемодинамическую ситуацию в артерии в области анастомоза. Отметим, что в случае закрутки потока квазипериодическое образование крупномасштабных вихрей в ответвлении Q1 не наблюдается.
Вихревая структура течения в ответвлении Q2 при отсутствии закрутки потока схожа с соответствующей структурой в ответвлении Q1: в слое смешения на границе отрывной области также формируются крупномасштабные квазирегулярные вихревые структуры (рис. 21). Эти вихри сносятся вниз по потоку с частотой fv ≈ 21 Гц (рис. 22), близкой к частоте формирования подобных вихрей в ответвлении Q1 при отсутствии закрутки потока. Однако амплитуда пульсаций скорости на частоте fv образования этих вихрей существенно ниже, чем в ответвлении Q1. Тем не менее, частота fv ≈ 21 Гц в спектре пульсаций скорости хорошо выделяется и при x / d = 4.5 (кривая 2 на рис. 22). Амплитуда пульсаций скорости в относительно высокочастотной области спектра наибольшая при x / d = 2.5, а затем снижается, однако ее величина при отсутствии закрутки потока мала, что не позволяет судить о появлении признаков ламинарно-турбулентного перехода в ответвлении Q2 при отсутствии закрутки потока.
Рис. 21. Осциллограммы скорости потока в ответвлении Q2 при отсутствии закрутки: 1 – x / d = 1.0; y / d = 0.9 (в зоне высокоскоростной струи над областью отрыва потока); 2 – x / d = 2.5; y / d = 0.85 (в слое смешения на границе отрывной области).
Рис. 22. Сравнение спектров пульсаций продольной компоненты скорости потока в ответвлении Q2: 1 – x / d = 2.5; y / d = 0.85 (слой смешения на границе области отрыва потока в зоне наибольших среднеквадратичных пульсаций скорости); 2 – x / d = 4.5; y / d = 0.8 (слой смешения на границе области отрыва потока ниже по течению).
В случае закрутки потока в слое смешения на границе отрывной области ответвления Q2, как показывает визуализация течения, также формируются крупномасштабные вихревые структуры. Зона начала их образования совершает продольные колебания. Эти колебания отражаются на осциллограмме в виде низкочастотных пульсаций скорости, на которые накладываются пульсации относительно высокой частоты (кривая 2 на рис. 23). По-видимому, высокий уровень максимальных значений среднеквадратичных пульсаций скорости в слое смешения на границе этой области (рис. 15) вызван именно низкочастотными колебаниями области отрыва потока. В зоне высокоскоростной струи над отрывной областью подобные пульсации, в отличие от случая отсутствия закрутки потока, отсутствуют (кривая 1 на рис. 23). Наличие высокочастотных пульсаций скорости в слое смешения (заполнение высокочастотной области спектра) ответвления Q2 в случае закрутки потока можно рассматривать в качестве признака локальной турбулизации течения. Наиболее заметен этот процесс в начальных сечениях отрывной области (кривая 1 на рис. 24). Далее вниз по потоку амплитуда пульсаций скорости в области относительно высоких частот существенно снижается (рис. 24).
Рис. 23. Осциллограммы скорости потока в ответвлении Q2 в присутствии закрутки: 1 – x / d = 0.57; y / d = 0.76 (над отрывной областью в начале ее формирования); 2 – x / d = 1.03; y / d = 0.65 (в слое смешения в области наибольших пульсаций скорости).
Рис. 24. Спектры пульсаций скорости потока в ответвлении Q2 в присутствии закрутки потока: 1 – x / d = 1.03; y / d = 0.65 (в слое смешения в области наибольших пульсаций скорости); 2 – x / d = 3.1; y / d = 0.69 (в слое смешения вниз по потоку).
ЗАКЛЮЧЕНИЕ
Выполнены экспериментальные исследования структуры стационарного закрученного потока в области разветвления каналов, имитирующей проксимальный анастомоз бедренной артерии человека. Ответвление (шунт) устанавливалось под углом 60 градусов к прямолинейному каналу (артерии). Число Рейнольдса, при котором проводились исследования, соответствовало максимальному значению расхода крови в артерии за период сердечных сокращений. Степень закрутки потока перед разветвлением Y = 0.125 находилось в пределах значений, характерных для естественной физиологической закрутки крови в артерии. На основе анализа результатов визуализации течения и SIV-измерений мгновенных векторных полей скорости потока установлены основные закономерности влияния закрутки на вихревую структуру течения в обоих ответвлениях.
Установлено, что вблизи верхней образующей ответвления Q1 при отсутствии закрутки потока формируется отрывная область. Потеря устойчивости слоя смешения на внешней границе этой области приводит к образованию крупномасштабных квазирегулярных вихревых структур. Эти структуры сносятся вниз по потоку с частотой fv = 22.7 Гц и сохраняются до x / d ≈ 3. В области x / d от 1 до 3.5–4.0 в слое смешения наблюдаются признаки локального ламинарно-турбулентного перехода: заполнение высокочастотной области спектра и высокий уровень пульсаций скорости в этой области. Пульсации давления, генерируемые квазирегулярными вихревыми структурами, могут передаваться на стенки ответвления, что, наряду с низким поверхностным трением в рециркуляционной области и пульсациями скорости, обусловленными процессами ламинарно-турбулентного перехода, оказывают неблагоприятное воздействие на гемодинамику в области ответвления Q1 (артерии).
Закрутка потока кардинально изменяет структуру течения в ответвлении Q1. Область возвратного течения, наблюдаемая в плоскости симметрии ответвления при отсутствии закрутки, полностью исчезает. При этом вблизи начала ответвления Q1 в окрестности его оси симметрии образуется зона торможения потока (зона дефекта скорости), сложной пространственной конфигурации, в которой имеется небольшая область возвратного течения вблизи боковой образующей ответвления. Механизм формирования этой зоны заключается, по-видимому, в распаде вихря, прецессия которого наблюдается в закрученном потоке перед областью разветвления. Крупномасштабные квазирегулярные вихревые структуры, формирующиеся при отсутствии закрутки потока в слое смешения рециркуляционной области, на границах зоны торможения отсутствуют. В начале зоны торможения интенсивность пульсаций скорости в закрученном потоке выше, чем в слое смешения отрывной области при отсутствии закрутки, однако протяженность области, где наблюдается это превышение, составляет всего 1–2 диаметра ответвления. Под влиянием закрутки примерно в 2.5 раза сокращается протяженность области, в которой наблюдаются признаки локальной турбулизации потока. Таким образом, закрутка потока на уровне естественных физиологических значений оказывает благоприятное влияние на гемодинамическую обстановку в артерии ниже проксимального анастомоза.
Установлено, что в закрученном потоке отрывная область в ответвлении Q2 сохраняется, однако ее протяженность увеличивается примерно в 1.5 раза. При этом поперечный размер этой области практически не изменяется. Под влиянием закрутки исчезают крупномасштабные квазирегулярные вихревые структуры, формирующиеся при отсутствии закрутки в слое смешения отрывной области. Однако, если при отсутствии закрутки признаков локального ламинарно-турбулентного перехода в ответвлении Q2 не обнаружено, то в закрученном потоке такие признаки наблюдаются в начальных сечениях отрывной области. Таким образом, закрутка потока в артерии оказывает в большей степени неблагоприятное суммарное влияние на гемодинамику ответвления Q2 (шунта) проксимального анастомоза.
Полученные результаты могут быть полезны не только для анализа гемодинамики при шунтировании артерий, но и при проектировании разветвляющихся каналов систем транспортировки текучих сред и систем охлаждения в различных технических устройствах.
About the authors
V. M. Molochnikov
Kazan Scientific Center of the Russian Academy of Sciences; Tupolev Kazan National Research Technical University
Author for correspondence.
Email: vmolochnikov@mail.ru
Russian Federation, Kazan; Kazan
I. V. Nikiforov
Kazan Scientific Center of the Russian Academy of Sciences
Email: ilya.nkfrv1@gmail.com
Russian Federation, Kazan
N. D. Pashkova
Kazan Scientific Center of the Russian Academy of Sciences
Email: pashkova-2000@mail.ru
Russian Federation, Kazan
References
- Бойко А.В., Грек Г.Р., Довгаль А.В., Козлов В.В. Возникновение турбулентности в пристенных течениях, Новосибирск: Наука. Сиб. Предприятие РАН. 1999. 328 с.
- Tiwari A., Cheng K.S., Salacinski H., Hamilton G., Seifalian A.M. Improving the patency of vascular bypass grafts: the role of suture materials and surgical techniques on reducing anastomotic compliance mismatch //European journal of vascular and endovascular surgery. — 2003. V. 25, № 4. P. 287–295. https://doi.org/10.1053/ejvs.2002.1810
- Henry F.S., Collins M.W., Hughes P.E., How T.V. Numerical investigation of steady flow in proximal and distal end-to-side anastomoses // J. Biomech. Eng. 1996. V.118. №3. P. 302– 310. https://doi.org/10.1115/1.2796011
- Liu X., Sun A., Fan Y., Deng X. Physiological significance of helical flow in the arterial system and its potential clinical applications // Annals of Biomed. Eng. 2015. V. 43. P. 3–15. https://10.1007/s10439-014-1097-2
- Molochnikov V.M., Dushin N.S., Pashkova N.D., Gataulin Ja. A., Smirnov E.M., Yukhnev A. D. Flow Structure and Transition to Local Turbulence Downstream of an Asymmetric Narrowing that Imitates Arterial Stenosis //Fluid Dynamics. 2023. V. 58. №2 P. 214–226. https://doi.org/10.1134/S0015462822602303
- Canver C.C. Conduit options in coronary artery bypass surgery //Chest. 1995. V. 108. № 4. P. 1150–1155. https://doi.org/10.1378/chest.108.4.1150
- Davies M.G., Hagen P.O. Pathobiology of intimal hyperplasia //British Journal of Surgery. 1994. V. 81. № 9. P. 1254–1269. https://doi.org/10.1002/bjs.1800810904
- Ghista D.N., Kabinejadian F. Coronary artery bypass grafting hemodynamics and anastomosis design: a biomedical engineering review // Biomedical engineering online. 2013. V. 12. P. 1–28. https://doi.org/10.1186/1475-925X-12-129
- Kuyanova J., Dubovoi A., Fomichev A., Khelimskii D., Parshin D. Hemodynamics of vascular shunts: trends, challenges, and prospects // Biophysical Reviews. 2023, V.15. №5. P. 1287–1301. https://doi.org/10.1007/s12551-023-01149-3
- Dellenback P.A., Metzger D.E., Neitzel G.P. Measurements in turbulent swirling flow through an abrupt axisymmetric expansion // AIAA journal. 1988. V. 26. № 6. P. 669–681. https://doi.org/10.2514/3.9952
- Mak H., Balabani S. Near field characteristics of swirling flow past a sudden expansion //Chemical engineering science. 2007. V. 62. № 23. P. 6726–6746. https://doi.org/10.1016/j.ces.2007.07.009
- Vanierschot M. Large scale flow instabilities in sudden expansion flows in the subcritical swirl regime //Proceedings of the 19th International Symposium on Applications of Laser and Imaging Techniques to Fluid Mechanics. LISBON Simposia, 2018. 10 pp.
- Hammad K.J., Ötügen M.V., Arik E.B. A PIV study of the laminar axisymmetric sudden expansion flow //Experiments in fluids. 1999. V. 26. № 3. P. 266–272. https://doi.org/10.1007/s003480050288
- Badekas D., Knight D.D. Eddy correlations for laminar axisymmetric sudden expansion flows // J. Fluids Eng. 1992. V. 114. № 1. P. 119–121. https://doi.org/10.1115/1.2909986
- Khe A.K. Vanina V.S., Cherevko A.A., Parshin D.V., Chebotnikov A.V., Boiko A.V., Tulupov A.A. Application of magnetic resonance imaging for studying the three-dimensional flow structure in blood vessel models // Journal of Applied Mechanics and Technical Physics. 2019. V. 60. P. 257–264. https://link.springer.com/article/10.1134/S002189441902007X
- Boiko A.V. Akulov A.E., Chupakhin A.P., Cherevko A.A., Denisenko N.S., Savelov A.A., Stankevich Yu. A., Khed A.K., Yanchenko A.A., Tulupov A.A. Measurement of viscous flow velocity and flow visualization using two magnetic resonance imagers //Journal of Applied Mechanics and Technical Physics. 2017. V. 58. P. 209–213. https://link.springer.com/article/10.1134/S0021894417020031
- Ha H., Choi W., Park H., Lee S.J. Advantageous swirling flow in 45° end-to-side anastomosis // Exp. Fluids. 2014. V. 55. P. 1–13. https://doi.org/10.1007/s00348-014-1861-y
- Ha H., Choi W., Lee S.J. Beneficial fluid-dynamic features of pulsatile swirling flow in 45° end-to-side anastomosis // Medical Engineering and Physics. 2015. V.37. P. 272–279. https://doi.org/10.1016/j.medengphy.2015.01.007
- Ha H., Hwang D., Choi W.-R., Baek J., Lee S.J. Fluid-Dynamic Optimal Design of Helical Vascular Graft for Stenotic Disturbed Flow // PLOS ONE. 2014. V. 9. № 10. e111047. https://doi.org/10.1371/journal.pone.0111047
- Bernad S.I. Bosioc A., Bernad E.S., Craina M.L. Comparison between experimentally measured flow patterns for straigth and helical type graft //Bio-Medical Materials and Engineering. 2014. V. 24. № 1. P. 853–860.
- Bernad S.I., Bosioc A.I., Bernad E.S., Craina M.L. Helical type coronary bypass graft performance: Experimental investigations //Bio-Medical Materials and Engineering. 2015. V. 26. № s1. P. S477-S486
- Агафонов А.В., Талыгин Е.А., Бокерия Л.А., Городков А.Ю. Гидродинамические особенности закрученного потока крови в левых отделах сердца и аорте //Acta Naturae (русскоязычная версия). 2021. Т. 3. №. 4. С. 4–16.
- Kilner P.J., Yang G.Z., Mohiaddin R.H., Firmin D.N., Longmore D.B. Helical and retrograde secondary flow patterns in the aortic arch studied by three-directional magnetic resonance velocity mapping //Circulation. 1993. V. 88. № 5. P. 2235–2247. https://doi.org/10.1161/01.CIR.88.5.2235
- Stonebridge P.A. Suttie S.A., Ross R., Dick J. Spiral laminar flow: a survey of a three-dimensional arterial flow pattern in a group of volunteers //European Journal of Vascular and Endovascular Surgery. 2016. V. 52. № 5. P. 674–680. https://doi.org/10.1016/j.ejvs.2016.07.018
- Багаев С.Н., Захаров В.Н., Орлов В.А. Основополагающие явления и законы в структурно-функциональной организации сердечно-сосудистой системы //Атеросклероз. — 2022. Т. 7. №. 2. С. 68–89.
- Молочников В.М., Хубулава Г.Г., Калинин Е.И., Пашкова Н.Д., Никифоров И.В. Экспериментальное и численное исследование структуры потока в модели дистального анастомоза бедренной артерии // Российский журнал биомеханики. 2023. №3. С. 36–52
- Kuyanova Y.O. Presnyakov S.S., Dubovoi A.V., Chupakhin A.P., Parshin, D.V. Numerical study of the tee hydrodynamics in the model problem of optimizing the low-flow vascular bypass angle //Journal of Applied Mechanics and Technical Physics. 2019. V. 60. P. 1038–1045. https://link.springer.com/article/10.1134/S0021894419060087
- Mikheev N.I., Dushin N.S. A Method for Measuring the Dynamics of Velocity Vector Fields in a Turbulent Flow Using Smoke Image-Visualization Videos // Instruments and Experimental Techniques. 2016. V. 59. № 6. Р. 882–889. https://doi.org/10.1134/S0020441216060063
- Mikheev N.I. Goltsman A.E., Saushin I.I., Dushina, O.A. Estimation of turbulent energy dissipation in the boundary layer using Smoke Image Velocimetry // Experiments in Fluids. 2017. V. 58. № 8. Р. 1–10. https://doi.org/10.1007/s00348-017-2379-x
- Helgadóttir Á., Lalot S., Beaubert F., Pálsson H. Mesh twisting technique for swirl induced laminar flow used to determine a desired blade shape //Applied Sciences. 2018. V. 8. № 10. 1865. 17 pp. https://doi.org/10.3390/app8101865
- Molochnikov V.M., Mazo A.B., Malyukov A.V., Kalinin E.I., Mikheev N.I., Dushina O.A., Paereliy A.A. Distinctive features of vortical structures generation in separated channel flow behind a rib under transition to turbulence // Thermophysics and Aeromechanics. 2014. V. 21. № 3. P. 309–317 https://doi.org/10.1134/S0869864314030056
- Davidson P.A. Turbulence: An Introduction For Scientists and Engineers, Oxford University Press: Oxford, MS, USA, 57. 2015. 629 с.
- Uruba V. Turbulence Handbook for Experimental Fluid Mechanics Professionals, Skovlunde: Dantec Dynamic. 23. 2012. 148 c.
Supplementary files



























