Relaxation processes close to the surface of the impacts tress application caused by the pulse electron beam
- Authors: Morozov V.A.1, Ivanov V.S.1, Kats V.M.1
- 
							Affiliations: 
							- St. Petersburg University
 
- Issue: No 4 (2024)
- Pages: 90-102
- Section: Articles
- URL: https://journal-vniispk.ru/1026-3519/article/view/276446
- DOI: https://doi.org/10.31857/S1026351924040069
- EDN: https://elibrary.ru/UCUETS
- ID: 276446
Cite item
Full Text
Abstract
The paper presents outcomes of the study of short-timed shock action of the pulse electron beam on the aluminum obstacle. Analysis of the generation of the stress wave near the loaded surface based on the experimental data is provided. It is proved that wave generation in this case in contrast to theaction of laser beam takes place inside material in the area governed by the depth of electrons invasion.Relaxationofthestress wave starts from the boarder of this area. It was established that strongly non-equilibrium processes are take place in this relaxation area causing dramatic change depending on the shock parameters of the velocity of the stress and strength waves compared theirs stationary values. It is underlined that relaxation process has solo-wave nature in spite of the high stress amplitude. Separation of the elastic and plastic stresses propagation takes place only after the end of relaxation process.
Keywords
Full Text
1. Введение. Экспериментальные исследования вблизи поверхности ударного нагружения представляют значительные трудности и практически не реализуемы традиционными методами нагружения твердых тел (соударение, использование взрывчатых веществ и т.д.). Разработанные в последние десятилетия способы генерации коротких механических импульсов в твердых телах с помощью лазеров и пучков заряженных частиц, а также развитие методов регистрации таких импульсов напряжения позволяют проводить исследования поведения материалов в тонкой приповерхностной зоне ударного нагружения. Эта область характеризуется существенно неустановившимися неравновесными ударно-волновыми процессами, описание которых в реальных средах не решается в рамках представлений механики сплошных сред [1, 2]. При этом подавляющая часть работ, посвященных поведению сплошной среды при ударном нагружении, посвящена изучению установившихся или квазиустановившихся процессов. Процессы на начальной стадии нагружения (неустановившиеся процессы вблизи поверхности нагружения) при этом моделируются введением интегральных величин, например параметра инкубационного времени [3]. Такой подход достаточно хорошо описывает прочностные характеристики материала, отступя на некоторое малое расстояние от поверхности нагружения или спустя малое время от начала процесса, но оставляет открытым вопрос о выборе адекватной области, рассматриваемой как зона релаксации, что требует отдельного трудоемкого исследования для каждой конкретной задачи. Эта трудность объясняется отсутствием оценки параметров релаксации у разработанных моделей динамического нагружения. Разработка модели релаксации, дающей конечные оценки таких параметров, является актуальной задачей механики.
В работах [4, 5] при воздействии импульсным лазером на поверхность алюминиевых образцов был обнаружен и исследован аномальный характер зависимостей скорости распространения волны и величин продольного и поперечного составляющих напряжения от расстояния вблизи поверхности ударного нагружения. Вид полученных зависимостей показал их релаксационный характер от некоторого значения, определяемого величиной ударной нагрузки, до значений при установившемся ударно-волновом процессе. Был сделан вывод о высокой динамической жесткости алюминия вблизи поверхности ударного нагружения, объясняющей такой характер изменения указанных параметров.
Ввиду отсутствия достоверной модели, описывающей процессы формирования и распространения волн вблизи поверхности нагружения, а также сложности измерения амплитуды упругого предвестника в этой области, кривые затухания упругого предвестника обычно строятся, начиная с некоторой глубины (2–3 мм) материала, и экстраполируются на плоскость удара, либо амплитуда упругого предвестника считается постоянной по мере распространения упругопластической волны [6, 7].
В работе [8] предложена модель, описывающая затухание амплитуды упругого предвестника с учетом обнаруженных в работах [4, 5] релаксационных явлений вблизи поверхности нагружения. Экспериментальные исследования, описанные в работе [9], подтвердили как наличие релаксационных процессов в области ≤10-3 м от плоскости нагружения, так и высказанное в работе [8] предположение, что об упругопластическом характере поведения материала можно говорить только по окончании релаксационных процессов в приповерхностной зоне, обусловленных сильно неравновесным состоянием среды. Следовательно, начальная амплитуда упругого отклика материала неадекватна начальному нагружению и интерполяция данных о величине упругого предвестника по начальному значению ударной нагрузки не является корректной.
Настоящая работа посвящена исследованию релаксационных процессов вблизи поверхности ударного нагружения импульсным электронным пучком. Такое нагружение в отличие от лазерного имеет ряд специфических особенностей, которые и будут рассмотрены далее. Существенным качественным отличием электронного облучения твердого тела от лазерного является большая глубина проникновения электронов по сравнению с электромагнитными колебаниями (светом). К настоящему времени накопилось большое количество работ как теоретических, так и экспериментальных, освещающих процессы прохождения электронов через вещество. Процесс взаимодействия электронных пучков с твердыми телами определяется как свойствами самого пучка (энергетическим спектром частиц в пучке, распределением по плотности, углом падения электронов на мишень), так и свойствами среды (плотностью, атомным весом, потенциалом ионизации и др.). Основным видом потерь при прохождении электронов с кинетической энергией <0.5 МэВ (как в нашей работе) через вещество являются потери на ионизацию. При такой энергии существенную долю составляют отраженные от поверхности электроны.
Когда энергетически заряженные частицы падают на поверхность твердого тела, значительная часть поглощенной энергии проявляется как энергия акустических колебаний (фононов). Одним из проявлений фононного возбуждения является генерирование упругих волн. Поглощенная веществом энергия электронного пучка называется дозой облучения, а производная от энергии по координате есть функция глубины дозы облучения или профиль энергетического вклада. Его отыскание сводится в основном к статистическим методам Монте-Карло. Профиль энергетического вклада является важной характеристикой, поскольку он определяет механические напряжения, которые появляются в твердых телах при воздействии электронных пучков. По мере увеличения вкладываемой электроным пучком энергии возможно пластическое деформирование материала мишени, образование дефектов, упрочнение поверхности и даже его частичное плавление и испарение.
2. Формирование волн напряжений вблизи нагружаемой поверхности. Качественное описание формирования волн напряжений вблизи поверхности материала, нагружаемого кратковременным импульсным электронным пучком, проведенное на основе выполненных экспериментов, пожалуй, впервые, приведено в работе [10]. В монографии [11] рассмотрены особенности формирования волн напряжений в термоупругой среде. В частности, проанализировано формирование волн вблизи нагружаемой поверхности. В книге [12] рассматривается формирование знакопеременных импульсов нагрузки вблизи поверхности нагружения, генерируемых импульсным тепловыделением от электронного излучения, в акустическом приближении. Представлены результаты компьютерного моделирования генерации волн сжатия и растяжения в металлической мишени. Предполагается, что скорость распространения волны сжатия меняется слабо. Однако, как будет показано в настоящей работе и отмечено в работе [5], эта скорость, релаксируя от неравновесного к стационарному состоянию, меняется существенно.
Математические модели, описывающие термоупругое взаимодействие сильноточных электронных пучков с различными материалами, как правило, используют несвязанную теорию термоупругости. В соответствии с этой теорией в случае одномерного нагружения динамическое уравнение термоупругости имеет следующий вид [13]:
(2.1)
где E(x,t) – энергия в единице объема определяется по закону
(2.2)
T0(x) – начальная температура в точке x; cv – удельная теплоемкость при постоянном объеме; ΔT(x,t) – изменение температуры в точке x в момент времени t; Γ – параметр Грюнайзена, предполагаемый независимым от времени.
В соответствии с уравнением (2.1) смещение в любой точке определяется вложенной удельной энергией, величина которой зависит от параметров электронного пучка и характеристик облучаемого материала.
При рассмотрении процесса формирования волны смещения при термоупругом ударе электронным пучком необходимо учитывать также размеры зоны и форму профиля вклада электронов в материал. На границах зоны вклада формируются две волны смещения противоположных направлений. Одна волна распространяется в глубь материала, вторая волна после отражения на передней (облучаемой) поверхности меняет знак напряжения на противоположный и с некоторым запаздыванием t*, равным времени прохождения по зоне вклада, распространяется далее в том же направлении, что и первая. В результате происходит наложение двух волн, причем форма результирующей волны зависит от соотношения между длительностью электронного импульса τ и t*. С целью изучения количественных характеристик взаимодействия этих волн в процессе возникновения и распространения по материалу в работе [10] была разработана экспериментальная методика, позволяющая одновременно измерять смещения облучаемой (передней) и свободной (тыльной) поверхностей мишени с помощью лазерного интерферометра Майкельсона.
Для описания нагружения среды импульсным электронным пучком в настоящей работе рассмотрим решение линейного волнового уравнения относительно напряжения:
(2.3)
Граничные и начальные условия:
Здесь – напряжение, c – продольная скорость звука.
Функция энерговыделения в правой части уравнения (2.3) определяется согласно закону Бугера:
(2.4)
где χ – массовый коэффициент поглощения энергии излучения, ρ0 – начальная плотность, q0 – плотность потока мощности, R – глубина проникновения излучения в среду, f(t) – временная функция ввода энергии.
Как известно, внутри упругого материала прямоугольный импульс напряжения распадается на два половинной амплитуды [11, 12]. Они распространяются в обе стороны со скоростью волны c. Рассмотрим случай мгновенного тепловыделения вблизи поверхности нагружения. Одна волна половинной амплитуды движется к свободной (облучаемой) поверхности и отражается от нее, другая – в глубь материала. Согласно закону Бугера (2.4), начальный фронт волны будет экспоненциальным. Следуя работе [11], для простоты рассмотрения заменим его треугольником (рис. 1).
Рис. 1. Формирование импульсов напряжения. 1 – начальные напряжения, 2 – полуволна, идущая в глубь материала, 3 – полуволна, идущая к свободной поверхности, 4 – отраженная волна, 5 – суперпозиция волн
Пусть начальное напряжение имеет вид f(x) (экспонента, треугольник, прямоугольник и т.д.), то в момент времени t оно будет следующим:
(2.5)
При x = ct функция f(t) имеет разрыв, равный f(0). Первое слагаемое первой строки соответствует волне половинной амплитуды, бегущей влево к границе. Для второй строки это слагаемое соответствует части волны, отраженной от свободной поверхности. Вторые слагаемые обеих строк уравнения (2.5) указывают на движение части волны вправо.
Длина области вклада энергии пучка электронов определяется их энергией. Пусть она имеет размер R. При этом длина формирующегося импульса будет 2R (рис. 2). Его форма существенно зависит от безразмерного соотношения характерных параметров рассматриваемой задачи:
(2.6)
где τ – длительность электронного импульса.
Рис. 2. Сформировавшиеся импульсы напряжения. 1 – импульс сжатия, 2 – импульс растяжения
В случае тепловыделения в области вклада энергии электронного пучка треугольной формы и прямоугольного по времени при Θ = 0 волна напряжения имеет разрыв между сжимающей и растягивающей полуволнами (рис. 2). При Θ < 1 перепад напряжений становится все более пологим, а при Θ = 1 треугольная полуволна сжатия уходит от полуволны растяжения, и при дальнейшем увеличении длительности тепловыделения ненапряженный участок между полуволнами все более увеличивает свою длину.
В настоящей работе τ = 10-7с, χ = 3 м3/кг, ρ0 = 2700 кг/м3, с = 6200 м/с. Согласно выражению (2.6) Θ = 5 (>1), поэтому далее будем рассматривать релаксацию амплитуды только сжимающей полуволны и скорость ее распространения, а также траекторию движения волны.
Таким образом, анализ формирования волн вблизи нагружаемой среды коротким импульсным электронным пучком показал, что их формирование начинается не с поверхности образца, как при лазерном облучении, а в некоторой области, определяемой глубиной пробега электронов в среде R, что является принципиальным отличием. Как будет показано далее, релаксация амплитуды волны начинается не с поверхности образца, а от границы R области вклада энергии электронного пучка, где сформировался импульс напряжения сжатия.
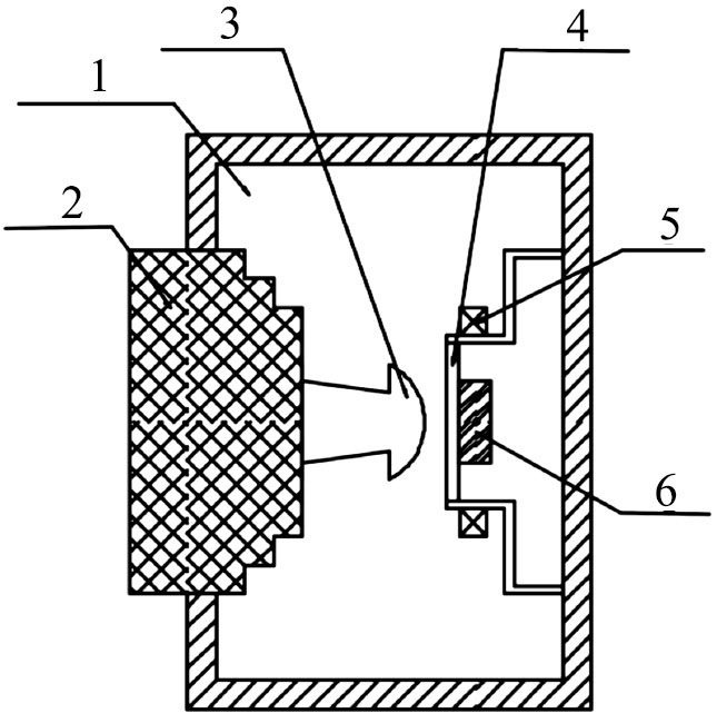
3. Экспериментальная методика и результаты эксперимента. В работе в качестве источника электронного пучка использовался генератор коротких высоковольтных импульсов ГКВИ-300 со средней энергией электронов в спектре 200 кэВ и длительностью импульса 100 нс. Воздействие электронного пучка на образцы осуществлялось в вакуумной камере при давлении остаточных газов ~102 Па и комнатной температуре. Исследуемые образцы выполнялись в виде пластин диаметром 30 мм, толщиной от 0.5 до 3 мм из поликристаллического алюминия. Тыльная сторона образцов была отполирована. К ней через слой вакуумного масла прижимался специально разработанный широкополосный пьезоэлектрический датчик, информация с которого передавалась на широкополосный осциллограф. Схема эксперимента представлена на рис. 3.
Рис. 3. 1 – вакуумная камера, 2 – высоковольтный ввод, 3 – катод, 4 – образец, 5 – измеритель тока (пояс Роговского), 6 – пьезодатчик
Для измерения времени прохождения импульса напряжения от места его формирования до сечения, где проводилось измерение с помощью пьезодатчика, применялась схема синхронизации. Задающим элементом схемы являлся измеритель тока электронного пучка (пояс Роговского), сигнал с которого подавался на вход запуска развертки осциллографа (CH1). На второй вход осциллографа (CH2) сигнал приходил с пьезодатчика. По интервалу времени между этими сигналами и определялось время прохождения импульса напряжения по образцу. Изменение амплитуды импульса по мере его прохождения также фиксировалось пьезодатчиком. Осциллограмма, приведенная на рис. 4, иллюстрирует сказанное выше.
Рис. 4. Характерная осциллограмма импульса тока пучка I (отн. ед.) и импульса напряжения сжатия σ (отн. ед) (время t в нс)
В табл. 1 приведены времена (t) прохождения импульса через образцы различной толщины, на основании которых построена экспериментальная траектория движения импульса сжатия x(t) (рис. 5). Начало координат введено с учетом глубины формирования импульса сжатия (см. рис. 2, точка R) и отстоит от нагружаемой поверхности на 150 мкм. Последовательное увеличение толщины образцов позволило задать пять интервалов приращения координаты распространения импульса.
Таблица 1. Зависимость координаты траектории движения импульса сжатия (x) от времени (t)
| t, нс | 65 | 120 | 170 | 245 | 295 | 
| x, мм | 0.46 | 0.83 | 1.15 | 1.62 | 1.93 | 
Рис. 5. Изменение скорости распространения импульса напряжения v(t) (м/с), изменение координаты x(t) (мм), зависимость x(t) = ct (время t в нс)
Для построения зависимости скорости распространения импульса напряжения сжатия от времени v(t) на каждом из пяти интервалов траектории движения импульса x(t) была оценена средняя скорость как отношение величины интервала xi к времени его прохождении ti с координатой ti в середине интервала ti. Данные для построения этой зависимости приведены в табл. 2. По данным табл. 2 построен график изменения скорости распространения импульса напряжения сжатия от времени, приведенный на рис. 5.
Таблица 2. Средние скорости распространения импульса сжатия
| Интервал | I | II | III | IV | V | 
| Длина интервала, xi, мм | 0.46 | 0.37 | 0.32 | 0.47 | 0.31 | 
| Время прохождения интервала импульсом, ti, нс | 65 | 55 | 50 | 75 | 50 | 
| Время достижения импульсом середины интервала ti, нс | 32.5 | 92.5 | 145 | 207.5 | 270 | 
| Средняя скорость на интервале vi, м/с | 7100 | 6700 | 6400 | 6300 | 6200 | 
Из рис. 5 следует, что скорость распространения импульса сжатия релаксирует в неравновесной области от начального значения 7100 м/с до стационарного значения 6200 м/с. График траектории движения импульса x(t) также иллюстрирует релаксационный характер распространения импульса сжатия, отклоняясь от стационарной траектории x(t) = ct.
Как было сказано выше, в каждом выбранном сечении образца с помощью пьезодатчика измерялся профиль напряжения сжатия. На рис. 6 приведена кривая изменения амплитуды напряжения сжатия от координаты σ(x). Данный рисунок показывает также релаксационный характер изменения амплитуды импульса сжатия в неравновесной области от его первоначального значения 320 МПа до стационарного значения 90 МПа.
Рис. 6. Изменение амплитуды импульса напряжения сжатия (МПа) от координаты (мм)
Таким образом, проведенные исследования по короткому ударному воздействию электронного пучка на алюминиевую преграду выявили явление релаксации скорости движения упругого импульса напряжения v(t) (рис. 5) и его амплитуды (x) (рис. 6) в неравновесной области от некоторого первоначального значения до их стационарного значения. Время релаксации составило tp = 145 нс, а длина релаксации xp = 1.5 мм.
Заключение. Анализируя полученные результаты, можно сделать вывод, что при воздействии кратковременного импульсного пучка электронов на металлические преграды (на примере алюминия) в приповерхностной области наблюдаются сильнонеравновесные релаксационные процессы. Формирование волны напряжения имеет принципиальное отличие от лазерного импульсного воздействия. Оно заключается в том, что осуществляется в некоторой области, длина которой определяется глубиной пробега электронов пучка в среде. Сам процесс формирования импульсов сжатия и растяжения определяется соотношением параметров пучка и среды, таких как длительность электронного импульса, скорость распространения импульсов, энергия электронов и плотность среды. Только после завершения формирования импульса напряжения начинается релаксация его амплитуды. Необходимо отметить, что релаксационный процесс осуществляется одноволновым способом и только после его завершения происходит разделение волны сжатия на упругую часть (упругий предвестник) и пластическую часть, о чем сообщалось в наших работах ранее [9, 14].
Восстановление первоначального давления в области энерговыделения плотных электронных пучков является важной задачей для исследования прочности материалов и еще далеко не решенной. Полученные результаты содержат информацию, которая может найти применение в решении ряда вопросов по взаимодействию сильноточных электронных пучков с преградой.
About the authors
V. A. Morozov
St. Petersburg University
							Author for correspondence.
							Email: v.morozov@spbu.ru
				                					                																			                												                	Russian Federation, 							St. Petersburg						
V. S. Ivanov
St. Petersburg University
														Email: st048035@student.spbu.ru
				                					                																			                												                	Russian Federation, 							St. Petersburg						
V. M. Kats
St. Petersburg University
														Email: v.kats@spbu.ru
				                					                																			                												                	Russian Federation, 							St. Petersburg						
References
- Khantuleva T.A. Specific Features of Processes Far from Equilibrium // Mathematical Modeling of Shock-Wave Processes in Condensed Matter: From Statistical Thermodynamics to Control Theory Shock Wave and High Pressure Phenomena. Springer, 2022. P. 31–63. https://doi.org/10.1007/978- 981-19-2404-0_2
- Khantuleva T.A. The Shock-Induced Planar Wave Propagation in Condensed Matter. // Mathematical Modeling of Shock-Wave Processes in Condensed Matter: From Statistical Thermodynamics to Control Theory Shock Wave and High Pressure Phenomena. Singapore: Springer, 2022. P. 209–249. https://doi.org/10.1007/978-981-19-2404-0_7
- Petrov Y.V., Utkin A.A. Failure-Delay Effect under Influence Pulse Dynamic Loads. // Mech. Solids. 2022. V. 57. P. 75–85. https://doi.org/10.3103/S0025654422010125
- Sudenkov Yu.V., Filippov N.M., Ronzhin O.F., Nedbai A.I. Action of the loading rate on perfornamnce of the elastic-vicious-plastic media (in Russian) // Pisma v ZhTF. 1980. V. 6. № 18. P. 1102–1105.
- Sudenkov Yu.V. Relaxation of elastic constant of aluminum close to the surface of the impact stress (in Russian) // Pisma v ZhTF. 1983. V. 9. № 23. P. 1418–1422.
- Wood D. On Longitudinal Plane Waves of Elastic-Plastic Strain in Solids // J. Appl. Mech. 1952. V. 19. № 4. P. 521–525. https://doi.org/10.1115/1.4010552
- Kanel G.I., Razorenov S.V., Utkin A.V., Fortov V.E. Shock-wave effects in condensed media. (in Russian). M.: Yanus-K, 1996. 407 p.
- Baizakov O.D., Morozov V. A., Sudenkov Yu.V. Model of elastic wave dumping (in Russian). In: Gazodinamika i teploobmen. V. 9: Dynamics of homogeneous and non-homogeneous media. L.: Leningrad University Publishing, 1987. P. 187–191.
- Morozov V.A., Sudenkov Yu.V. Generation and evolution of pulse stresses in solid bodies with respect to relaxation processes close to the surface of the impact stress application (in Russian). In: Fizicheskaya mekhanika. V. 6. Dynamic processes in gases and solid bodies. L.: Leningrad University Publishing, 1990. P. 150–159.
- Meshcheryakov Yu.I., Morozov V.A. On interaction of pressutre waves initiated with high-current pulse electron beam in solid body (in Russian) // Zhurnal tekhnicheskoi fiziki. 1979. V. 49. № 9. P. 1982–1986.
- Galiev Sh.U., Babich Yu.N., Zhurakhovskii S.V., Nechitailo N.V., Romashchenko V.A. Numerical simulation of wave processes in bounded media. (in Russian). Kyiv: Naukova dumka, 1989. 200 p.
- Kanel G.I. Shock waves in physics of solid state (in Russian). M.: Fizmatlit, 2018. 208 p.
- Oswald R.B., McLean F.B., Schalhorn D.R., Buxton L.D. One‐ Dimensional Thermoelastic Response of Solids to Pulsed Energy Deposition // J. Appl. Phys. 1971. V. 42. P. 3463–3473. https://doi.org/10.1063/1.1660755
- Morozov V.A., Bogatko V.I. Elastoplastic Wave Formation in a Near-Surface Region under Short-Term Loading // Dokl. Phys. 2008. V. 53. № 8. P. 462–465. https://doi.org/10.1134/S1028335808080144
Supplementary files
 
				
			 
					 
						 
						 
						 
						 
				
 
  
  
  Email this article
			Email this article 






