Скользящее взаимодействие пучков ускоренных протонов с искривленной диэлектрической поверхностью
- Авторы: Жиляков Л.А.1, Куликаускас В.С.1
-
Учреждения:
- Московский государственный университет им. М.В. Ломоносова, НИИЯФ им. Д.В. Скобельцына
- Выпуск: № 1 (2023)
- Страницы: 99-102
- Раздел: Статьи
- URL: https://journal-vniispk.ru/1028-0960/article/view/137666
- DOI: https://doi.org/10.31857/S1028096023010272
- EDN: https://elibrary.ru/BLWNWR
- ID: 137666
Цитировать
Полный текст
Аннотация
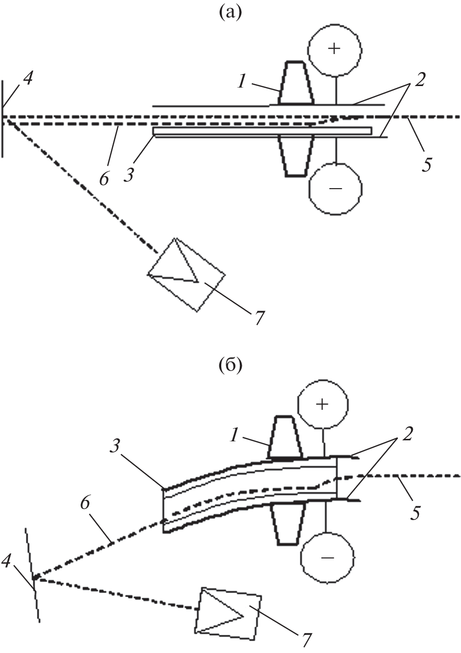
Работа направлена на продолжение исследования эффекта “гайдинга” в различных аспектах. Благодаря этому эффекту возможно организовать бесконтактное прохождение пучков ускоренных заряженных частиц вдоль диэлектрической поверхности. В частности, при взаимодействии с диэлектрической пластиной эффект гайдинга обеспечивает прохождение пучков протонов без ионизационных потерь энергии. Проведен эксперимент по скользящему взаимодействию пучков ускоренных протонов с искривленной диэлектрической стенкой, в котором пучки протонов прижимались к поверхности стенки внешним электрическим полем. Для пучков, испытавших такое взаимодействие, проводили измерения энергетического спектра. Сравнение энергетических спектров исходного пучка и пучка, прошедшего в скользящем режиме вдоль искривленной диэлектрической стенки, показало, что в этом взаимодействии так же, как и при скольжении вдоль плоской диэлектрической стенки, пучки протонов не испытывают ионизационных потерь энергии.
Об авторах
Л. А. Жиляков
Московский государственный университет им. М.В. Ломоносова,НИИЯФ им. Д.В. Скобельцына
Автор, ответственный за переписку.
Email: zhiliakovla@mail.ru
Россия, 119991, Москва
В. С. Куликаускас
Московский государственный университет им. М.В. Ломоносова,НИИЯФ им. Д.В. Скобельцына
Email: zhiliakovla@mail.ru
Россия, 119991, Москва
Список литературы
- Stolterfoht N., Bremer J.-H., Hoffmann V., Hellhammer R., Fink D., Petrov A., Sulik B. // Phys. Rev. Lett. 2002. V. 88. P. 133201. https://doi.org./10.1103/PhysRevLett.88.133201
- Жиляков Л.А., Костановский А.В., Иферов Г.А., Куликаускас В.С., Похил Г.П., Швей И.В. // Поверхность. Рентген., синхротр. и нейтрон. исслед. 2002. № 11. С. 65.
- Stolterfoht N., Hoffmann V., Hellhammera R., Pesica Z.D., Finka D., Petrova A., Sulikab B. // Nucl. Instrum. Methods Phys. Res. B. 2003. V. 203. P. 246. https://doi.org./10.1016/S0168-583X(02)02224-3
- Sahana M.B., Skog P., Vikor Gy., Kumar R.T.R., Schuch R. // Phys. Rev. A. 2006. V. 73. P. 040901. https://doi.org./10.1103/PhysRevA.73.04090
- Вохмянина К.А., Жиляков Л.А., Похил Г.П. // Изв. РАН. Сер. физ. 2006. Т. 70. № 6. С. 828.
- Vokhmyanina K.A., Zhilyakov L.A., Kostanovsky A.V., Kulikauskas V.S., Petukhov V.P., Pokhil G.P. // J. Phys. A. 2006. V. 39. P. 4775.
- Stolterfoht N. // Phys. Rev. A. 2013. V. 87. P. 032901. https://doi.org./10.1103/PhysRevA.87.032901
- Lemella C., Burgdörfera J., Aumayrb F. // Prog. Surf. Sci. 2013. V. 88. № 3. P. 237. https://doi.org./10.1016/j.progsurf.2013.06.001
- Víkora Gy., Rajendrakumara R.T., Pešib Z.D., Stolterfoht N., Schucha R. // Nucl. Instrum. Methods Phys. Res. B. 2005. V. 233. P. 218. https://doi.org./10.1016/j.nimb.2005.03.109
- Matefi-Tempfli S., Matefi-Tempfli M., Piraux L., Juhasz Z., Biri S., Fekete E., Ivan I., Gall F., Sulik B., Vıkor Gy., Palinkas J., Stolterfoht N. // Nanotechnology. 2006. V. 17. P. 3915. https://doi.org./10.1088/0957-4484/17/15/050
- Fursatz M., Meissl W., Pleschko S., Gebeshuber I.C., Stolterfoht N., Winter H.P., Aumayr F. // J. Phys.: Conf. Ser. 2007. V. 58. P. 319. https://doi.org./10.1088/1742-6596/58/1/071
- Skog P., Soroka I.L., Johansson A., Schuch R. // Nucl. Instrum. Methods Phys. Res. B. 2007. V. 258. P. 145. https://doi.org./10.1016/j.nimb.2006.12.127
- Juhasz Z., Sulik B., Biri I.S., Tokesi K., Fekete E., Matefi-Tempflic S., Matefi-Tempflic M., Víkor G., Takacs E., Palinkas J. // Nucl. Instrum. Methods Phys. Res. B. 2009. V. 267. P. 321. https://doi.org./10.1016/j.nimb.2008.10.017
- Li D.H., Wang Y.Y., Zhao Y.T., Xiao G.Q., Zhao D., Xu Z.F., Li F.L. // Nucl. Instrum. Methods Phys. Res. B. 2009. V. 267. P. 469. https://doi.org./10.1016/j.nimb.2008.11.041
- Nebiki T., Yamamoto T., Narusawa T., Breese M.B.H., Teo E.J., Watt F. // J. Vac. Sci. Technol. A. V. 21. № 5. P. 1671. https://doi.org./10.1116/1.1597889
- Hasegawa J., Shiba S., Fukuda H., Oguri Y. // Nucl. Instrum. Methods Phys. Res. B. 2008. V. 266. P. 2125. https://doi.org./10.1016/j.nimb.2008.02.051
- Sekiba D., Yonemura H., Nebiki T., Wilde M., Oguraae S., Yamashita H., Matsumoto M., Kasagi J., Iwamura Y., Itoh T., Matsuzaki H., Narusawa T., Fukutani K. // Nucl. Instrum. Methods Phys. Res. B. 2008. V. 266. P. 4027. https://doi.org./10.1016/j.nimb.2008.06.032
- Iwai Y., Ikeda T., Kojima T.M., Yamazaki Y., Maeshima K., Imamoto N., Kobayashi C.T., Nebiki T., Narusawa T., Pokhil G.P. // Appl. Phys. Lett. 2008. V. 92. P. 023509 https://doi.org./10.1063/1.2834695
- Nebiki T., Yamamoto T., Narusawa T., Breese M.B.H., Teo E.J., Watt F. // J. Vac. Sci. Technol. A. 2003. V. 21. P. 1671. https://doi.org./10.1116/1.1597889
- Wickramarachchi S.J., Dassanayake B.S., Keerthisinghe D., Ayyad A., Tanis J.A. // Nucl. Instrum. Methods Phys. Res. B. 2011. V. 269. P. 1248. https://doi.org./10.1016/j.nimb.2010.11.089
- Wang W., Chen J., Yu D.Y., Yang B., Wu Y.H., Zhang M.W., Ruan F.F., Cai X.H. // Phys. Scripta. 2011. V. 144. P. 014023. https://doi.org./10.1088/0031-8949/2011/T144/014023
- Gong Z., Yan S., Ma H., Nie R., Xue J., Wang Y. // Nucl. Instrum. Methods Phys. Res. B. 2012. V. 272. P. 370. https://doi.org./10.1016/j.nimb.2011.01.103
- Kojima T.M., Ikeda T., Kanai Y., Yamazaki Y., Esaulov V.A. // J. Phys. D. 2011. V. 44. P. 355201. https://doi.org./10.1088/0022-3727/44/35/355201
- Kojima T.M., Ikeda T., Kanaia Y., Yamazaki Y. // Nucl. Instrum. Methods Phys. Res. B. 2015. V. 354. P. 16. https://doi.org./10.1016/j.nimb.2014.11.031
- Жиляков Л.А., Куликаускас В.С. // Поверхность. Рентген., синхротр. и нейтрон. исслед. 2022. № 6. С. 71. https://doi.org./10.31857/S1028096022060188
- Черняев А.П. Взаимодействие ионизирующего излучения с веществом. М.: Физматлит, 2004. 152 с.
Дополнительные файлы





