Исследование зависимости выхода нейтронов и протонов DD-реакции из Ti и CVD-алмаза от угла поворота мишени
- Авторы: Негодаев М.А.1, Мещанинов С.А.2, Артемьев К.К.2, Родионов Н.Б.2, Амосов В.Н.2, Цехош В.И.1, Попович А.Ф.1, Шпаков К.В.1, Русецкий А.С.1, Скопинцев Д.А.2
-
Учреждения:
- Физический институт им. П.Н. Лебедева РАН
- Частное учреждение “ИТЭР-Центр”
- Выпуск: № 2 (2023)
- Страницы: 3-8
- Раздел: Статьи
- URL: https://journal-vniispk.ru/1028-0960/article/view/137702
- DOI: https://doi.org/10.31857/S1028096023020073
- EDN: https://elibrary.ru/DSKWEQ
- ID: 137702
Цитировать
Полный текст
Аннотация
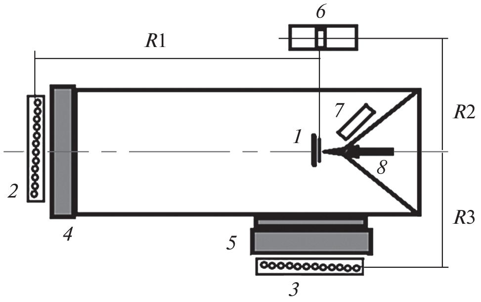
На ионном ускорителе ГЕЛИС исследована зависимость выхода продуктов ядерной DD-реакции (нейтронов и протонов) от угла поворота мишеней из Ti и CVD-алмаза относительно оси пучка ионов D+ с энергиями Е ≤ 35 кэВ. Детектирование нейтронов проводили двумя независимыми методами: пропорциональными счетчиками, наполненных 3Не, и сцинтилляционным детектором с кристаллом стильбена. Детектирование протонов выполнено с помощью алмазного детектора. Детекторы располагали сбоку и позади мишени. Мишень CVD-алмаза имела поликристаллическую структуру и текстуру с ориентацией зерен (100). Кристаллическая структура титановой мишени была однородна и изотропна. Измерения показали зависимость потока нейтронов, зарегистрированного детекторами, от ориентации мишени из текстурированного CVD-алмаза в пучке ионов дейтерия с энергиями 25 и 30 кэВ. Выход протонов из мишени CVD-алмаза показал зависимость от угла поворота мишени при энергии ионов дейтерия 25 кэВ. Для мишени из Ti подобные эффекты не были обнаружены. Ориентационная зависимость выхода нейтронов и протонов из текстурированного алмаза объясняется эффектом каналирования ионов дейтерия в его структуре.
Об авторах
М. А. Негодаев
Физический институт им. П.Н. Лебедева РАН
Email: ruseckijas@lebedev.ru
Россия, 119991, Москва
С. А. Мещанинов
Частное учреждение “ИТЭР-Центр”
Email: ruseckijas@lebedev.ru
Россия, 123182, Москва
К. К. Артемьев
Частное учреждение “ИТЭР-Центр”
Email: ruseckijas@lebedev.ru
Россия, 123182, Москва
Н. Б. Родионов
Частное учреждение “ИТЭР-Центр”
Email: ruseckijas@lebedev.ru
Россия, 123182, Москва
В. Н. Амосов
Частное учреждение “ИТЭР-Центр”
Email: ruseckijas@lebedev.ru
Россия, 123182, Москва
В. И. Цехош
Физический институт им. П.Н. Лебедева РАН
Email: ruseckijas@lebedev.ru
Россия, 119991, Москва
А. Ф. Попович
Физический институт им. П.Н. Лебедева РАН
Email: ruseckijas@lebedev.ru
Россия, 119991, Москва
К. В. Шпаков
Физический институт им. П.Н. Лебедева РАН
Email: ruseckijas@lebedev.ru
Россия, 119991, Москва
А. С. Русецкий
Физический институт им. П.Н. Лебедева РАН
Автор, ответственный за переписку.
Email: ruseckijas@lebedev.ru
Россия, 119991, Москва
Д. А. Скопинцев
Частное учреждение “ИТЭР-Центр”
Email: ruseckijas@lebedev.ru
Россия, 123182, Москва
Список литературы
- Bagulya A.V., Dalkarov O.D., Negodaev M.A. et al. // Bull. Lebedev Phys. Inst. 2012. V. 39. P. 247. https://www.doi.org/10.3103/S1068335612090011
- Bagulya A.V., Dalkarov O.D., Negodaev M.A. et al. // Bull. Lebedev Phys. Inst. 2012. V. 39. P. 325. https://www.doi.org/10.3103/S1068335612120019
- Bagulya A.V., Dalkarov O.D., Negodaev M.A. et al. // Bull. Lebedev Phys. Inst. 2013. V. 40. P. 282. https://www.doi.org/10.3103/S1068335613100023
- Bagulya A.V., Dalkarov O.D., Negodaev M.A. et al. // Bull. Lebedev Phys. Inst. 2013. V. 40. P. 305. https://www.doi.org/10.3103/S1068335613110018
- Bagulya A.V., Dalkarov O.D., Negodaev M.A., Rusetskii A.S., Chubenko A.P. // Phys. Scr. 2015. V. 90. P. 074051. https://www.doi.org/10.1088/0031-8949/90/7/074051
- Bagulya A.V., Dalkarov O.D., Negodaev M.A. et al. // Nucl. Instrum. Methods Phys. Res. B. 2015. V. 355. P. 340. https://doi.org/10.1016/j.nimb.2015.01.021
- Bagulya A.V., Dalkarov O.D., Negodaev M.A., Pivovarov Yu.L., Rusetskii A.S., Tukhfatullin T.A. // Nuclear Instrum. Methods Phys. Res. B. 2017. V. 402. P. 243. https://www.doi.org/10.1016/J.NIMB.2017.02.059
- Bagulya A.V., Dalkarov O.D., Negodaev M.A., Rusetskii A.S. // Phys. Particles Nuclei. 2017. V. 48. № 5. P. 691. https://www.doi.org/10.1134/S106377961705004 5
- Dalkarov O.D., Negodaev M.A., Rusetskii A.S., Chubenko A.P., Pivovarov Yu. L., Tukhfatullin T.A. // Phy. Rev. Accelerators and Beam. 2019. V. 22. P. 034201. https://www.doi.org/10.1103/PHYSREVACCELBEAMS. 22.034201
- Dalkarov O.D., Negodaev M.A., Rusetskii A.S. et al. // J. Phys.: Conf. Series. 2019. V. 1390. P. 012002. https://www.doi.org/10.1088/1742-6596/1390/1/012002
- Dalkarov O.D., Negodaev M.A., Rusetskii A.S. et al. // J. Surf. Invest.: X-ray, Synchrotron Neutron Tech. 2020. V. 14. № 2. P. 220. https://www.doi.org/10.1134/S102745102002024X
- Dalkarov O.D., Negodaev M.A., Rusetskii A.S. et al. // JINST. 2020. V. 15. P. C06062. https://doi.org/10.1088/1748-0221/15/06/C06062
- Bagulya A.V., Dalkarov O.D., Negodaev M.A. et al. // Nucl. Instrum. Methods Phys. Res. B. 2017. V. 402. P. 243. https://www.doi.org/10.1016/j.nimb.2017.02.059
- Negodaev M.A., Kirsanov M.A., Popovich A.F. et al. // Bull. Lebedev Phys. Inst. 2022. V. 49. № 4. P. 110. https://www.doi.org/10.3103/S1068335622040030
- Dalkarov O.D., Negodaev M.A., Rusetskii A.S. et al. // Instrum. Experimental Tech. 2020. V. 63. № 1. P. 19. https://www.doi.org/10.1134/S002044122001011X
- Ralchenko V.G., Pleuler E., Lu F.X., Sovyk D.N., Bolshakov A.P., Guo S.B., Tang W.Z., Gontar I.V., Khomich A.A., Zavedeev E.V., Konov V.I. // Diam. Relat. Mater. 2012. V. 23. P. 172. https://www.doi.org/10.1016/j.diamond.2011.12.031
- Abdrashitov S.V., Bogdanov O.V., Korotchenko K.B. et al. // Nucl. Instrum. Methods Phys. Res. B. 2017. V. 402. P. 106. https://doi.org/10.1016/j.nimb.2017.03.132
- Korotchenko K.B., Tukhfatullin T.A., Pivovarov Y.L., Eikhorn Yu.L. // J. Phys.: Conf. Ser. 2016. V. 732. P. 012031. https://doi.org/10.1088/1742-6596/732/1/012031
- Korotchenko K.B., Tukhfatullin T.A., Pivovarov Y.L., Eikhorn Yu.L. // J. Phys.: Conf. Ser. 2016. V. 732. P. 012031. 1https://doi.org/10.1088/1742-6596/732/1/01203
- Dalkarov O.D., Glushkov N.A., Negodaev M.A., Rusetsky A.S., Oginov A.V., Kirsanov M.A., Popovich A.F. // J. Surf. Invest.: X-ray, Synchrotron Neutron Tech. 2020. V. 14. № 2. P. 226. https://www.doi.org/10.1134/S1027451020020251
- Артемьев К.К., Амосов В.Н., Родионов Н.Б. и др. // Сборник тезисов XIX Всероссийской конференции “Диагностика высокотемпературной плазмы”, 27 сентября–1 октября 2021 г., Сочи. С. 179.
- ANSYS Engineering Simulation Software (2022) ANSYS, Inc. https://www.ansys.com/ Cited 20 June 2022.
Дополнительные файлы








