Operando дифракционное исследование Mn–Ce катализаторов окисления СО
- Авторы: Винокуров З.С.1,2, Афонасенко Т.Н.3, Мищенко Д.Д.1,2, Сараев А.А.1,2, Айдаков Е.Е.1, Рогов В.А.1, Булавченко О.А.1
-
Учреждения:
- Институт катализа им. Г.К. Борескова СО РАН
- Центр коллективного пользования “СКИФ” Институт катализа им. Г.К. Борескова
- Центр новых химических технологий Института катализа им. Г.К. Борескова СО РАН
- Выпуск: № 6 (2023)
- Страницы: 74-80
- Раздел: Статьи
- URL: https://journal-vniispk.ru/1028-0960/article/view/137771
- DOI: https://doi.org/10.31857/S1028096023060171
- EDN: https://elibrary.ru/DMMCHA
- ID: 137771
Цитировать
Полный текст
Аннотация
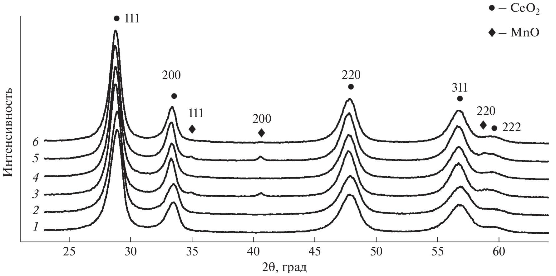
Методом соосаждения приготовлена серия MnOx–CeO2 катализаторов с мольным соотношением Mn : Ce = 3 : 7 при варьировании температуры прокаливания от 300 до 800°С. Катализаторы были охарактеризованы методами порошковой рентгеновской дифракции, низкотемпературной адсорбции азота, рентгеновской фотоэлектронной спектроскопии, а также была протестирована каталитическая активность в реакции окисления СО всех образцов. Показано, что во всех катализаторах образуется твердый раствор (Mn,Ce)O2 со структурой флюорита. На основании проведенных исследований был выбран катализатор, полученный при температуре прокаливания 600°С, для дальнейших исследований эффекта влияния топохимического восстановления на каталитическую активность в реакции окисления СО методом рентгеновской дифракции в режиме operando. Эксперимент проходил последовательно в пошаговом режиме: ступенчатый нагрев/охлаждение в реакционной смеси 1% СО + 2% О2 в режиме 150–175–200–175–150°С (этапы 1, 3 и 5); восстановление образца в смеси 10% СО + He при 400°С (этап 2); восстановление образца в смеси 10% Н2 + He при 400°С (этап 4). Было показано, что восстановительная обработка приводит к расслоению исходного твердого раствора (Mn,Ce)O2 и появлению дисперсных оксидов марганца на поверхности, обогащение поверхности оксидом марганца приводит к увеличению активности в реакции окисления СО.
Ключевые слова
Об авторах
З. С. Винокуров
Институт катализа им. Г.К. Борескова СО РАН; Центр коллективного пользования “СКИФ” Институт катализа им. Г.К. Борескова
Автор, ответственный за переписку.
Email: vinokurovzs@catalysis.ru
Россия, 630090, Новосибирск; Россия, 630559, Кольцово
Т. Н. Афонасенко
Центр новых химических технологий Института катализа им. Г.К. Борескова СО РАН
Email: vinokurovzs@catalysis.ru
Россия, 630090, Омск
Д. Д. Мищенко
Институт катализа им. Г.К. Борескова СО РАН; Центр коллективного пользования “СКИФ” Институт катализа им. Г.К. Борескова
Email: vinokurovzs@catalysis.ru
Россия, 630090, Новосибирск; Россия, 630559, Кольцово
А. А. Сараев
Институт катализа им. Г.К. Борескова СО РАН; Центр коллективного пользования “СКИФ” Институт катализа им. Г.К. Борескова
Email: vinokurovzs@catalysis.ru
Россия, 630090, Новосибирск; Россия, 630559, Кольцово
Е. Е. Айдаков
Институт катализа им. Г.К. Борескова СО РАН
Email: vinokurovzs@catalysis.ru
Россия, 630090, Новосибирск
В. А. Рогов
Институт катализа им. Г.К. Борескова СО РАН
Email: vinokurovzs@catalysis.ru
Россия, 630090, Новосибирск
О. А. Булавченко
Институт катализа им. Г.К. Борескова СО РАН
Email: vinokurovzs@catalysis.ru
Россия, 630090, Новосибирск
Список литературы
- Kousi K., Tang C., Metcalfe I.S. et al. // Small. 2021. V. 17. № 21. P. 2006479. https://www.doi.org/10.1002/smll.202006479.2
- Neagu D., Tsekouras G., Miller D.N. et al. // Nature Chem. 2013. V. 5. № 11. P. 916. https://www.doi.org/10.1038/nchem.1773
- Chanthanumataporn M., Hui J., Yue X. et al. // Electrochimica Acta. 2019. V. 306. P. 159. https://www.doi.org/10.1016/j.electacta.2019.03.126
- Tan J., Lee D., Ahn J. et al. // J. Mater. Chem. A. 2018. V. 6. № 37. P. 18133. https://www.doi.org/10.1039/C8TA05978K
- Otto S.-K., Kousi K., Neagu D. et al. // ACS Appl. Energy Mater. 2019. V. 2. № 10. P. 7288. https://www.doi.org/10.1021/acsaem.9b01267
- Myung J., Neagu D., Miller D.N. et al. // Nature. 2016. V. 537. № 7621. P. 528. https://www.doi.org/10.1038/nature19090
- Neagu D., Oh T.-S., Miller D.N. et al. // Nat. Commun. 2015. V. 6. № 1. P. 8120. https://www.doi.org/10.1038/ncomms9120
- Nishihata Y., Mizuki J., Akao T. et al. // Nature. 2002. V. 418. № 6894. P. 164. https://www.doi.org/10.1038/nature00893
- Bulavchenko O.A., Vinokurov Z.S., Afonasenko T.N. et al. // Dalton Trans. 2015. V. 44. № 35. P. 15499. https://www.doi.org/10.1039/C5DT01440A
- Bulavchenko O.A., Vinokurov Z.S., Afonasenko T.N. et al. // Mater. Lett. 2020. V. 258. P. 126768. https://www.doi.org/10.1016/j.matlet.2019.126768
- Bulavchenko O.A., Vinokurov Z.S., Afonasenko T.N. et al. // Mater. Lett. 2022. V. 315. P. 131961. https://www.doi.org/10.1016/j.matlet.2022.131961
- Gates-Rector S., Blanton T. // Powder Diffr. 2019. V. 34. № 4. P. 352. https://www.doi.org/10.1017/S0885715619000812
- Lutterotti L. // Nucl. Instrum. Methods Phys. Res. B. 2010. V. 268. № 3–4. P. 334. https://www.doi.org/10.1016/j.nimb.2009.09.053
- Qi G., Yang R.T. // J. Phys. Chem. B. 2004. V. 108. № 40. P. 15738. https://www.doi.org/10.1021/jp048431h
- Frey K., Iablokov V., Sáfrán G., Osán J. et al. // J. Catalysis. 2012. V. 287. P. 30. https://www.doi.org/10.1016/j.jcat.2011.11.014
- Feng G., Han W., Wang Z. et al. // Catalysts. 2018. V. 8. № 11. P. 535. https://www.doi.org/10.3390/catal8110535
- Zhang L., Spezzati G., Muravev V. et al. // ACS Catal. 2021. V. 11. № 9. P. 5614. https://www.doi.org/10.1021/acscatal.1c00564
- Watanabe S., Ma X., Song C. // J. Phys. Chem. C. 2009. V. 113. № 32. P. 14249. https://www.doi.org/10.1021/jp8110309
- Stobbe E.R., de Boer B.A., Geus J.W. // Catalysis Today. 1999. V. 47. № 1–4. P. 161. https://www.doi.org/10.1016/S0920-5861(98)00296-X
- Lee S.M., Park K.H., Kim S.S. et al. // J. Air Waste Management Association. 2012. V. 62. № 9. P. 1085. https://www.doi.org/10.1080/10962247.2012.696532
Дополнительные файлы







