Разработка однокоординатного детектора для дифракционных экспериментов на пучке синхротронного излучения
- Авторы: Аульченко В.М.1, Глушак А.А.1,2,3,4,5, Жуланов В.В.1,2, Титов В.М.1, Шехтман Л.И.1,2,4
-
Учреждения:
- Институт ядерной физики им. Г. И. Будкера СО РАН
- Новосибирский государственный университет
- Центр коллективного пользования СКИФ Института катализа им. Г.К. Борескова
- Томский государственный университет
- Новосибирский государственный технический университет
- Выпуск: № 8 (2023)
- Страницы: 52-57
- Раздел: Статьи
- URL: https://journal-vniispk.ru/1028-0960/article/view/137797
- DOI: https://doi.org/10.31857/S1028096023080034
- EDN: https://elibrary.ru/OBKFXJ
- ID: 137797
Цитировать
Полный текст
Аннотация
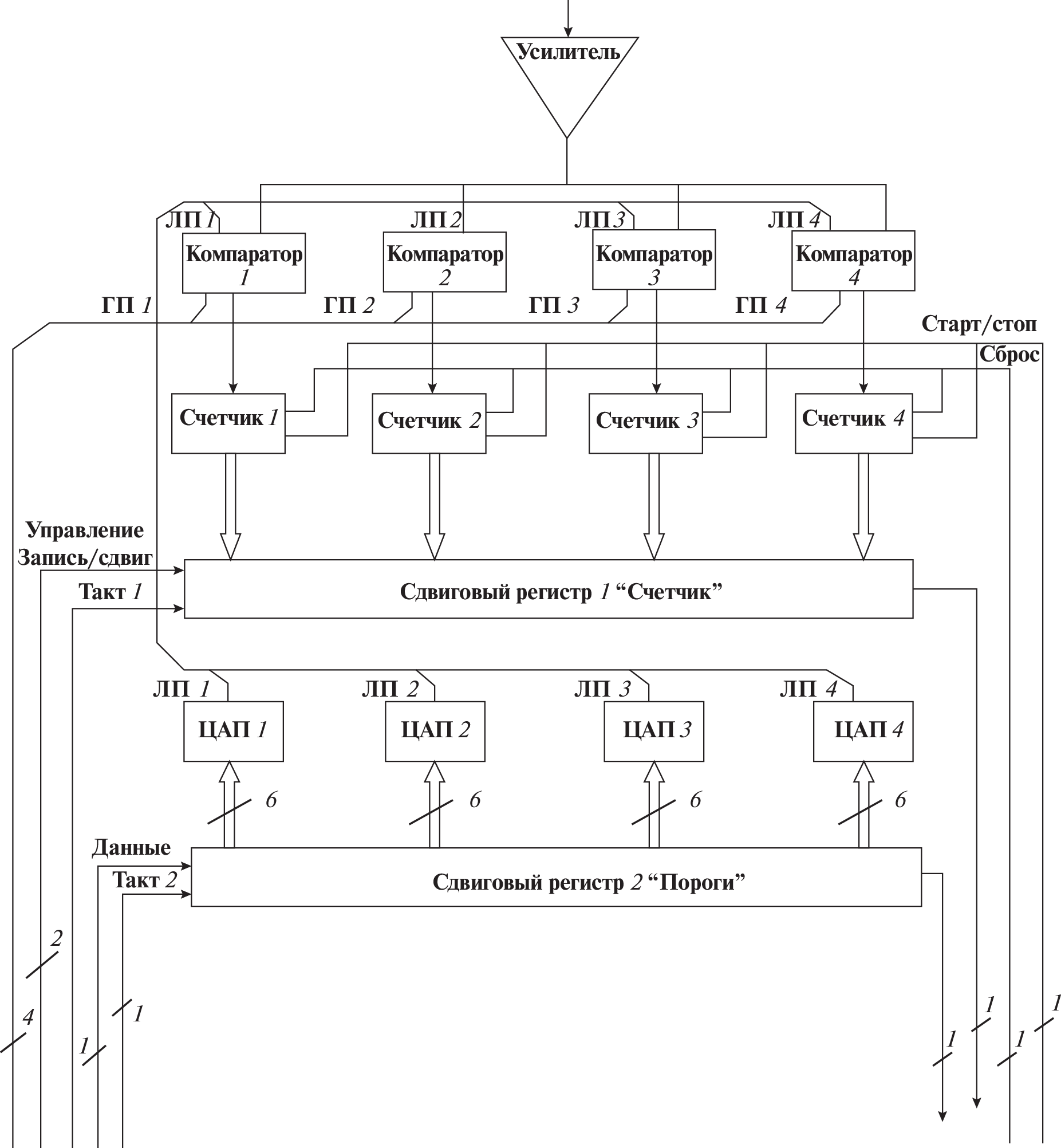
В статье описан однокоординатный детектор для дифракционных экспериментов с применением синхротронного излучения, разработка которого ведется в Институте ядерной физики СО РАН. До недавнего времени для этих целей в институте использовали разработанный ранее детектор ОД-3М с вычисляемыми каналами, основанный на технологии многопроволочных пропорциональных камер. Для обеспечения пространственного разрешения лучше 100 мкм при регистрации фотонов с энергией в широком диапазоне (3–30 кэВ) необходимо применение твердотельных микрополосковых или матричных сенсоров в сочетании со специализированными интегральными схемами регистрации. Новый детектор SOCOD, в котором в качестве регистрирующего элемента использован микрополосковый сенсор на основе арсенида галлия, работает в режиме прямого счета фотонов с энергией 3–30 кэВ и обеспечивает пространственное разрешение лучше 100 мкм при быстродействии до 1 МГц/канал. В статье дано общее описание текущей версии детектора, структурной схемы регистрирующего канала, программного обеспечения, позволяющего управлять работой детектора и отображать полученные результаты, и разработанного алгоритма выравнивания порогов срабатывания в каналах. Приведены результаты электронных тестов, работы алгоритма выравнивания и их обсуждение.
Об авторах
В. М. Аульченко
Институт ядерной физики им. Г. И. Будкера СО РАН
Email: A.A.Glushak@inp.nsk.su
Россия, 630090, Новосибирск
А. А. Глушак
Институт ядерной физики им. Г. И. Будкера СО РАН; Новосибирский государственный университет; Центр коллективного пользования СКИФ Института катализа им. Г.К. Борескова; Томский государственный университет; Новосибирский государственный технический университет
Автор, ответственный за переписку.
Email: A.A.Glushak@inp.nsk.su
Россия, 630090, Новосибирск; Россия, 630090, Новосибирск; Россия, 630090, Новосибирск; Россия, 634050, Томск; Россия, 630073, Новосибирск
В. В. Жуланов
Институт ядерной физики им. Г. И. Будкера СО РАН; Новосибирский государственный университет
Email: A.A.Glushak@inp.nsk.su
Россия, 630090, Новосибирск; Россия, 630090, Новосибирск
В. М. Титов
Институт ядерной физики им. Г. И. Будкера СО РАН
Email: A.A.Glushak@inp.nsk.su
Россия, 630090, Новосибирск
Л. И. Шехтман
Институт ядерной физики им. Г. И. Будкера СО РАН; Новосибирский государственный университет; Томский государственный университет
Email: A.A.Glushak@inp.nsk.su
Россия, 630090, Новосибирск; Россия, 630090, Новосибирск; Россия, 634050, Томск
Список литературы
- Schmitt B. et al. // Nucl. Instrum. Methods Phys. Res. A. 2003. V. 501. P.267. https://doi.org/10.1016/S0168-9002(02)02045-4
- Bergamaschi A. et al. // J. Synchrotron Rad. 2010. V. 17. P. 653. https://doi.org/10.1107/S0909049510026051
- Heijne E.H.M. // Radiation Measurements. 2021. V. 140. P. 106436. https://doi.org/10.1016/j.radmeas.2020.106436
- Mozzanica A., Bergamaschi A., Dinapoli R. et al. // Nucl. Instrum. Methods Phys. Res. A. 2009. V. 607. P. 250. https://doi.org/10.1016/j.nima.2009.03.166
- Aulchenko V.M., Zhulanov V.V., Kulipanov G.N. et al. // Physics-Uspekhi. 2018. V. 61. № 6. P. 515. https://doi.org/10.3367/UFNe.2018.01.038339
- Pruuel E.R., Ten K.A., Tolochko B.P. et al. // Technical Phys. 2013. V. 58. № 1. P. 24. https://doi.org/10.1134/S1028335813010035
- Titov V.M., Pruuel E.R., Ten K.A. et al. // Combustion, Explosion and Shock Waves. 2011. V. 47. № 6. P. 615. https://doi.org/10.1134/S0010508211060013
- Aulchenko V., Ponomarev S., Shekhtman L. et al. // Nucl. Instrum. Methods. Phys. Res. A. 2003. V. 513. P. 388. https://doi.org/10.1016/j.nima.2003.08.067
- Aulchenko V., Zhulanov V., Shekhtman L. et al. // Nucl. Instrum. Methods. Phys. Res. A. 2005. V. 543. P. 350. https://doi.org/10.1016/j.nima.2005.01.254
- Aulchenko V.M., Evdokov O.V., Shekhtman L.I. et al. // J. Instrumentation. 2008. V. 3. P. 05005. https://doi.org/10.1088/1748-0221/3/05/P05005
- Aulchenko V.M., Evdokov O.V., Shekhtman L.I. et al. // Nucl. Instrum. Methods. Phys. Res. A. 2009. V. 603. P. 73. https://doi.org/10.1016/j.nima.2008.12.163
- Aulchenko V.M., Baru S.E., Evdokov O.V. et al. // Nucl. Instrum. Methods. Phys. Res. A. 2010. V. 623. P. 600. https://doi.org/10.1016/j.nima.2010.03.083
- Shekhtman L.I., Aulchenko V.M., Kudryavtsev V.N. et al. // Phys. Procedia. 2016. V. 84. P. 189. https://doi.org/10.1016/j.phpro.2016.11.033
- Aulchenko V., Pruuel E., Shekhtman L., et al. // Nucl. Instrum. Methods Phys. Res. A. 2017. V. 845. P. 169. https://doi.org/10.1016/j.nima.2016.05.096
- Shekhtman L.I., Aulchenko V.M., Zhulanov V.V. et al. // Bulletin of the RAS: Phys. 2019. V. 83. № 2. P. 220. https://doi.org/10.3103/S1062873819020254
- Aulchenko V.M., Bukin M.A., Velikzhanin Yu.S. et al. // Nucl. Instrum. Methods Phys. Res. A. 1998. V. 405. P. 269. https://doi.org/10.1016/S0168-9002(97)00169-1
- Aulchenko V.M., Evdokov O.V., Kutovenko V.D. et al. // Nucl. Instrum. Methods. Phys. Res. A. 2009. V. 603. P. 76. https://doi.org/10.1016/j.nima.2008.12.164
- Aulchenko V.M., Baru S.E., Sidorov V.A. et al. // Nucl. Instrum. Methods Phys. Res. 1983. V. 208. Iss. 1–3. P. 443. https://doi.org/10.1016/0167-5087(83)91166-3
Дополнительные файлы







