Features of Formation of Surface Layers of Titanium Alloy VT6 under Conditions of N+ Ions Implantation
- Authors: Vorobyov V.L.1, Bykov P.V.1, Gilmutdinov F.Z.1, Ulyanov A.L.1, Bayankin V.Y.1
-
Affiliations:
- Udmurt Federal Research Center, Ural Branch of the RAS
- Issue: No 12 (2023)
- Pages: 82-89
- Section: Articles
- URL: https://journal-vniispk.ru/1028-0960/article/view/232225
- DOI: https://doi.org/10.31857/S1028096023100217
- EDN: https://elibrary.ru/PQWWDR
- ID: 232225
Cite item
Full Text
Abstract
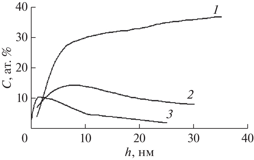
The effect of implantation of N+ ions on the chemical composition and atomic structure of the surface layers of titanium alloy VT6 is investigated. The accumulation of nitrogen in the surface layers up to concentrations of 30 at % and more and the formation of chemical compounds of titanium nitride TiN in the form of phase inclusions is shown. Presumably, this is due to processes of chemical nature, in particular, the chemical activity of titanium atoms, their tendency to interact with nitrogen atoms. In addition, despite the fact that in the conditions of ion bombardment, the integral oxygen concentration in the surface layers decreases due to sputtering, nevertheless, oxidation of the components of the titanium alloy VT6 is observed in deeper layers. Presumably, both oxygen from the natural oxide layer and from the residual atmosphere of the vacuum chamber, penetrating into deeper surface layers during irradiation, participate in the oxidation of titanium alloy components. The accumulation of nitrogen, the formation of titanium nitrides and the oxidation of the components of the titanium alloy VT6 indicate a significant role of chemical processes in the formation of the structural-phase state of the surface layers of titanium alloy VT6 under the conditions of implantation of N+ ions.
About the authors
V. L. Vorobyov
Udmurt Federal Research Center, Ural Branch of the RAS
Author for correspondence.
Email: Vasily_L.84@udman.ru
Russia, 426067, Izhevsk
P. V. Bykov
Udmurt Federal Research Center, Ural Branch of the RAS
Email: Vasily_L.84@udman.ru
Russia, 426067, Izhevsk
F. Z. Gilmutdinov
Udmurt Federal Research Center, Ural Branch of the RAS
Email: Vasily_L.84@udman.ru
Russia, 426067, Izhevsk
A. L. Ulyanov
Udmurt Federal Research Center, Ural Branch of the RAS
Email: Vasily_L.84@udman.ru
Russia, 426067, Izhevsk
V. Ya. Bayankin
Udmurt Federal Research Center, Ural Branch of the RAS
Email: Vasily_L.84@udman.ru
Russia, 426067, Izhevsk
References
- Козлов Д.А., Крит Б.А., Столяров В.В., Овчинников В.В. // Физика и химия обработки материалов. 2010. № 1. С. 50.
- Комаров Ф.Ф. Ионная имплантация в металлы. М.: Энергоатомиздат, 1990. 262 с.
- Jin J., Chen Y., Gao K., Huang X. // Appl. Surf. Sci. 2014. V. 305. P. 93. https://www.doi.org/10.1016/j.apsusc.2014.02.174
- Сунгатулин А.Р., Сергеев В.П., Федорищева М.В., Сергеев О.В. // Известия Томского политехнического университета. 2009. Т. 315. № 2. С. 134.
- Братушка С.Н., Маликов Л.В. // Вопросы атомной науки и техники. 2011. № 6. С. 126.
- Rautray T.R., Narayanan R., Kim K.-H. // Prog. Mater. Sci. 2011. V. 56. Iss. 8. P. 1137. https://www.doi.org/10.1016/j.pmatsci.2011.03.002
- Höhl F., Berndt H., Mayr P., Stock H.-R. // Surf. Coat. Technol. 1995. V. 74. P. 765. https://www.doi.org/10.1016/0257-8972(95)08274-3
- Воробьев В.Л., Быков П.В., Колотов А.А., Гильмутдинов Ф.З., Аверкиев И.К., Баянкин В.Я. // Физика металлов и металловедение. 2021. Т. 122. № 12. С. 1. https://www.doi.org/10.31857/S0015323021120135
- Itoh Y., Itoh A., Azuma H., Hioki T. // Surf. Coat. Technol. 1999. V. 111. Iss. 2–3. P. 172. https://www.doi.org/10.1016/S0257-8972(98)00728-2
- Thair L., Mudali U.K., Rajagopalan S., Asokamani R., Raj B. // Corrosion Sci. 2003. V. 45. Iss. 9. P. 1951. https://www.doi.org/10.1016/S0010-938X(03)00027-1
- Nath V.C., Sood D.K., Manory R.R. // Surf. Coat. Technol. 1991. V. 49. Iss. 1–3. P. 510. https://www.doi.org/10.1016/0257-8972(91)90109-A
- Воробьев В.Л., Гильмутдинов Ф.З., Быков П.В. и др. // Химическая физика и мезоскопия. 2018. Т. 20. № 3. С. 355.
- Воробьев В.Л., Гильмутдинов Ф.З., Быков П.В. и др. // Физика металлов и металловедение. 2018. Т. 119. № 9. С. 903. https://www.doi.org/10.1134/S0015323018090140
- Шелехов Е.В., Свиридова Т.А. // Металловедение и термическая обработка металлов. 2000. № 8. С. 16. https://www.doi.org/10.1007/BF02471306
- Рабинович В.А., Хавин З.Я. Краткий химический справочник. Издание 2-е, исправленное и дополненное. Ленинградское отделение: Химия, 1978. 392 с.
- Болгар А.С., Литвиенко В.Ф. Термодинамические свойства нитридов. Киев: Наук. думка, 1980. 282 с.
- NIST XPS Database (2012) NIST. https://srdata.nist.gov/xps/EnergyTypeValSrch.aspx.
- Нефедов В.И. Рентгеноэлектронная спектроскопия химических соединений. Справочник. М.: Химия, 1984. 256 с.
- Kurdi J., Ardelean H., Marcus P., Jonnard P., Arefi-Khonsari F. // Appl. Surf. Sci. 2002. V. 189. Iss. 1–2. P. 119. https://www.doi.org/10.1016/S0169-4332(02)00017-X
- Ardelean H., Petit S., Laurens P., Marcus P., Arefi-Khonsari F. // Appl. Surf. Sci. 2005. V. 243. Iss. 1–4. P. 304. https://www.doi.org/10.1016/j.apsusc.2004.09.122
- Lindsay J.R., Rose H.Jr., Swartz W.E.Jr., Watts P.H., Jr., Rayburn K.A. // Appl. Spectroscopy. 1973. V. 27. Iss. 1. P. 1. https://www.doi.org/10.1366/000370273774333876
- Gougousi T., Barua D., Young E.D., Parsons G.N. // Chem. Mater. 2005. V. 17. № 20. P. 5093. https://www.doi.org/10.1021/cm0510965
- Liu Y., Wang D., Deng C. et al. // J. Alloys Compd. 2015. V. 628. P. 208. https://www.doi.org/10.1016/j.jallcom.2014.12.144
- Vorob’ev V.L., Dobysheva L.V., Drozdov A.Yu. et al. // J. Electron Spectroscopy Related Phenomena. 2021. V. 252. P. 147124. https://www.doi.org/10.1016/j.elspec.2021.147124
- Biesinger M.C., Lau Leo W.M., Gerson A.R. et al. // Appl. Surf. Sci. 2010. V. 257. Iss. 3. P. 887. https://www.doi.org/10.1016/j.apsusc.2010.07.086
- Idriss H. // Surf. Sci. 2021. V. 712. P. 121894. https://www.doi.org/10.1016/j.susc.2021.121894
Supplementary files










