Влияние вакуумного ультрафиолетового излучения на изменение инфракрасных фурье-спектров поглощения, электрических и гидрофобных свойств композита на основе полиимидных трековых мембран, заполненных кремнеземом
- Авторы: Черкашина Н.И.1, Павленко В.И.1, Ручий А.Ю.1, Домарев С.Н.1, Форова Е.В.1
-
Учреждения:
- Белгородский государственный технологический университет им. В.Г. Шухова
- Выпуск: № 9 (2024)
- Страницы: 25-34
- Раздел: Статьи
- URL: https://journal-vniispk.ru/1028-0960/article/view/276010
- DOI: https://doi.org/10.31857/S1028096024090039
- EDN: https://elibrary.ru/EIPEJW
- ID: 276010
Цитировать
Полный текст
Аннотация
Вакуумное ультрафиолетовое излучение имеет очень короткую длину волны и является составной частью космического излучения. Большой потенциал для защиты от космического излучения имеют композитные материалы на основе полиимида. В работе представлены результаты исследований влияния вакуумного ультрафиолетового излучения на полиимидную пленку, полиимидную трековую мембрану и композитный материал на основе полиимидной трековой мембраны, заполненной нановолокнами диоксида кремния. Исследованы потеря массы, диэлектрические свойства, инфракрасные фурье-спектры и смачиваемость исследуемых образцов до и после воздействия вакуумного ультрафиолетового излучения. Обнаружено, что наименьшие потери массы при облучении происходят в композитном материале на основе полиимидной трековой мембраны, заполненной SiO2; диэлектрическая проницаемость композитной пленки после облучения увеличилась на 65.8%. Установлено, что воздействие вакуумного ультрафиолетового излучения на исследуемые пленки сопровождается разрушением небольшого количества следующих связей: C=O, C–O, C–C и C–N. Наименьший ущерб вакуумное ультрафиолетовое излучение нанесло разработанному композитному материалу. Анализ краевого угла смачивания исследуемых образцов показал, что поверхности полиимидной пленки, полиимидной трековой мембраны и композитного материала остались гидрофильными после облучения. Изменений в структуре поверхности пленок не обнаружено.
Полный текст
ВВЕДЕНИЕ
Источниками космической радиации являются солнечные и галактические лучи. Космическое излучение состоит из электромагнитных волн различной длины, включая гамма-лучи, рентгеновское и ультрафиолетовое излучение, видимый свет, инфракрасное и радиоволновое излучение, а также потоки заряженных частиц: протонов, нейтронов, электронов, позитронов, дейтронов и альфа-частиц [1–7].
Для защиты от перегрева и космического излучения различных элементов космических аппаратов применяют различные терморегулирующие покрытия [8]. Терморегулирующие покрытия могут быть созданы на основе такого материала, как полиимид [9, 10]. Полиимид — это полимерный материал, который обладает высокой термической и химической стабильностью, а также отличной электроизоляционной способностью [11–14]. Композитные материалы на основе полиимида имеют большой потенциал для применения и внедрения в космической отрасли [15–17].
Космическое излучение по-разному влияет на полиимидные композитные пленки в зависимости от состава терморегулирующего покрытия и условий облучения [18, 19].
Особое внимание уделяют воздействию вакуумного ультрафиолетового (ВУФ) излучения в космосе на полиимиды и изделия на их основе. ВУФ-излучение имеет очень короткую длину волны, обычно в диапазоне от 100 до 200 нм [20, 21].
В работе [22] изучено воздействие ВУФ-излучения и протонов с низкой энергией на алюминизированные полиимидные пленки, покрытые оксидом индия-олова (ITO) 0.9In2O3∙0.1SnO2. Результаты исследований показали, что при кратковременном воздействии (менее 50 дней пребывания в космосе) ВУФ-излучения с длиной волны около 115 нм пленки устойчивы и их термооптические свойства не ухудшились. Воздействие протонов с низкой энергией (ниже 10 кэВ) привело к увеличению коэффициента поглощения солнечного излучения образцами.
При воздействии ВУФ-излучения с длиной волны 115–200 нм на полиимидную пленку в условиях вакуума 1 × 10–3 Па и во временном промежутке от 0 до 1600 эквивалентных солнечных часов (ESH) или от 0 до 320 ч, в работе [23] зафиксировали следующие изменения: относительное удлинение и прочность на разрыв образцов на начальной стадии облучения уменьшаются, а при более длительном пребывании под ультрафиолетовым излучением эти параметры увеличиваются до стабильных значений. Основная причина — разрушение карбонильной, эфирной связей, а также связей C–N и C–C на начальном этапе облучения. На позднем этапе облучения азот осаждается на пленке и поверхность полиимида обогащается, а также небольшое количество карбонильной и эфирной связей восстанавливаются. Реакции восстановления протекают между ионами углерода, азота, кислорода и бензольными кольцами, а эфирные и углерод-азотные связи постепенно пропадают. При облучении полиимидной пленки протонами наблюдали разрушение молекулярной цепи пиромеллитового диангидрида (ПМДА).
В работе [24] исследовали влияние ВУФ-излучения на алюминизированную бесцветную полиимидную пленку. Авторы пришли к выводу, что облучение пленок в течение 2000 эквивалентных солнечных часов приводит к повышению индекса желтизны, увеличению коэффициента поглощения солнечного излучения и снижению излучающей способности материала. В работе [24] такой эффект объяснен как следствие улетучивания ионов кислорода с поверхности пленки и образования свободных кислородных связей. В тоже время прочность при растяжении, модуль Юнга и температура разложения образцов снизились. Такие наблюдения связаны с процессами разрушения и восстановления молекулярной структуры пленок.
Исследование [25] показало, что после воздействия ВУФ-излучения прочность на разрыв полиимидных пленок и пропускание ультрафиолетового излучения ухудшились. В материале обнаружено много трещин, что связанно с разрывом эфирных связей и имидных колец. Масса полиимидных пленок до и после облучения оставалась постоянной.
Целью настоящей работы является исследование потерь массы, инфракрасных (ИК) фурье-спектров поглощения, электрических и гидрофобных свойств полиимидной композитной пленки, наполненной нановолокнами диоксида кремния, в следствии воздействия на нее ВУФ-излучения.
МАТЕРИАЛЫ И МЕТОДЫ ИССЛЕДОВАНИЯ
Материалы
Исследования проводили на следующих пленках: полиимидная пленка (ПИ) толщиной 20 мкм марки ПМ-1 производства ООО “Урал-Изолит”, Россия; полиимидная трековая мембрана (ПИТМ) толщиной 20 мкм производства Ion Track Technology For Innovative Product (it4ip), Бельгия; композитный материал на основе полиимидной трековой мембраны, заполненной нановолокнами диоксида кремния (ПИТМ/НДК).
Композитный материал синтезировали посредством осаждения наночастиц диоксида кремния в пустотах полиимидной трековой мембраны. Для этого ПИТМ помещали в раствор тетраэтоксисилана (ТЭОС) и воздействовали ультразвуком для удаления лишнего воздуха. Далее в раствор заливали слабый раствор уксусной кислоты, что катализировало реакцию гидролиза тетраэтоксисилана. Диоксид кремния оседал в треках мембраны с образованием нановолокон. Реакция проходила при постоянном перемешивании в течение 1.5 ч. Подробное описание синтеза композита представлено в работе [26].
Методы исследования
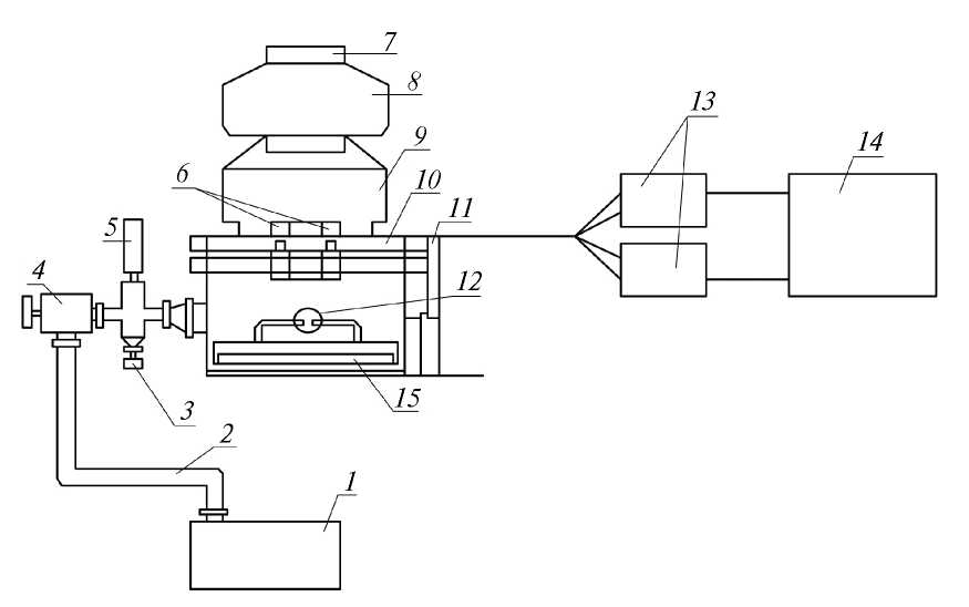
Для облучения пленок использовали вакуумную ультрафиолетовую установку, представленную на рис. 1. “Установка для испытаний образцов вакуумным ультрафиолетом в условиях, приближенных к околоземному космическому пространству” является уникальной. Она спроектирована компанией ООО “Вакуумные системы и электроника” (г. Новосибирск) специально по заказу лаборатории космического материаловедения БГТУ им. В.Г. Шухова. Исследуемые образцы помещали на стеклянные подложки, закрепляли с помощью проволоки из нержавеющей стали, после чего помещали в камеру прибора (рис. 1б). Над каждой ячейкой прибора расположены 12 ультрафиолетовых ламп. После достижения вакуума 145 мТорр в камере, включали ультрафиолетовые лампы при токе 2.7 А и напряжении 7.5 В. Облучение происходило ультрафиолетовым монохроматическим светом с длиной волны в диапазоне 90–115 нм. Температура внутри камеры составляла 20°С. Давление в камере контролировали при помощи модульного датчика вакуума GRANVILLE-PHILLIPS Mini-Convectron серии 275.
Рис. 1. Схема вакуумной ультрафиолетовой установки: 1 — спиральный насос; 2 — сильфон; 3 — напускающий клапан; 4 — клапан; 5 — вакуумметр; 6 — эксимерные лампы; 7 — отвод озона; 8 — вентилятор; 9 — кожух вентилятора; 10 — верхний фланец; 11 — петля; 12 — фланец подачи азота; 13 — высоковольтные блоки; 14 — низковольтный блок питания; 15 — охлаждаемая площадка.
Измерение массы образцов производили с помощью лабораторных весов CAS CAUW 220D с дискретностью отсчета 0.1 мг. ИК-спектры поглощения исходных и облученных образцов снимали при помощи спектрометра Sintecon IR10 в диапазоне 5000–500 см–1 со спектральным разрешением ≤ 2 см–1.
Для измерения емкости исходных и облученных пленок нами были получены 2 контакта площадью 4 см2 из фольгированного текстолита. Текстолит нарезали на пластины и со стороны медной фольги с помощью тонера нарисовали фигуры с заданной площадью. Далее пластины помещали в нагретый до 80°С раствор шестиводного хлорного железа (FeCl3∙6H2O) и вытравливали в течение 30 мин. Концентрация FeCl3 в дистиллированной воде составила 1/3. Полученные пластины соединили с контактами мультиметра. Измерения проводили при помощи мультиметра Elitech ММ 300.
Морфологию исходных и облученных материалов исследовали методом растровой электронной микроскопии (РЭМ) с помощью микроскопа Tescan MIRA 3 LMU.
ЭКСПЕРИМЕНТАЛЬНАЯ ЧАСТЬ
Анализ исследуемых образцов методом растровой электронной микроскопии
Изображения исследуемых материалов до обработки ВУФ-излучением в течение 60 ч представлены на рис. 2. Изображения пленок после облучения не представлены, так как весомых изменений обнаружить не удалось. Из изображений видно, что у исходной полиимидной пленки гладкая и ровная поверхность. Царапины на поверхности, скорее всего, связаны с дефектами на производстве самой пленки. Кроме того, на поверхности присутствуют небольшие включения (светлые пятна на рис. 2а), которые, возможно, образовались путем попадания частиц из воздуха при полимеризации пленки. После обработки ВУФ-излучением, согласно РЭМ, поверхность полиимидной пленки сильных изменений не претерпела. Известно, что ВУФ-излучение затрагивает лишь поверхностные слои полимеров в диапазоне до 1 мкм и не затрагивает глубинные слои [27]. При облучении может изменяться лишь шероховатость поверхности [28].
Рис. 2. РЭМ-изображения исходных полиимидной пленки (а), полиимидной трековой мембраны (б) и композитной пленки (в).
На РЭМ-изображении поверхности исходной полиимидной трековой мембраны (рис. 2б) наблюдается множество отверстий-пор. Поры расположены хаотично; встречаются как единичные, так и перекрывающиеся поры. Диаметр пор практически везде одинаков и составляет около 200 нм, что соответствует заявленной документации производителя Ion Track Technology For Innovative Product. После облучения полиимидной трековой мембраны ВУФ-излучением в течение 60 ч изменений в структуре поверхности не наблюдали.
На рис. 2в представлено РЭМ-изображение исходной композитной пленки на основе полиимидной трековой мембраны, заполненной нановолокнами диоксида кремния. Заметно, что большая часть пор оказалась заполнена. Наличие малого количества (до 5%) незаполненных пор может быть связано либо с несовершенством технологии заполнения, или с тем, что поровое пространство забито пылевидными частицами, или с тем, что поры не сквозные. После воздействия на композитную пленку ВУФ-излучения в течение 60 ч изменений в структуре поверхности также зафиксировано не было.
Исследование потерь массы
Перед измерением массы исследуемые образцы выдерживали в вакуумной камере при 145 мТорр в течение 20 мин. Анализ потерь массы исследуемых пленок (рис. 3) показал, что полиимид и полиимидная трековая мембрана теряют основную массу в течение 48 ч облучения. При дальнейшем облучении графики потери массы выходят на плато. Максимальные потери массы составили 0.95% и 0.87% для ПИ и ПИТМ соответственно. Композитная пленка теряет основную массу в течение 54 ч облучения, после чего график потери массы выходит на плато. Максимальные потери массы ПИТМ/НДК составили 0.75%. Таким образом, наименьшие потери массы наблюдали в композитном материале на основе полиимидной трековой мембраны, заполненной нановолокнами диоксида кремния.
Рис. 3. Потери массы в образцах полиимидной пленки (1), полиимидной трековой мембраны (2) и композитной пленки (3) в результате облучения. Закрашенные области соответствуют доверительному интервалу измеряемой величины.
Анализ электрических параметров
Диэлектрические свойства тонких пленок на основе полиимида зависят от их структуры, температуры и напряженности электрического поля. Снизить диэлектрическую проницаемость полиимидных пленок может увеличение свободного объема в полиимиде.
Электрическую емкость измеряли для расчета диэлектрической проницаемости исходных и облученных вакуумным ультрафиолетовым излучением тонких пленок. Расчет относительной диэлектрической проницаемости производили при помощи следующей формулы:
ε = Cd/(ε0S),
где ɛ — относительная диэлектрическая проницаемость; S — площадь обкладки конденсатора, равная 0.0004 м2; d — расстояние между пластинами, равное 0.00002 м; ɛ0 — электрическая постоянная, равная 8.85 × 10–12 Ф/м; C — измеренная электрическая емкость в Ф. Измеренные данные и результаты расчетов представлены в табл. 1.
Таблица 1. Электрические параметры тонких пленок
Параметры | Образцы | |||||
ПИ | ПИТМ | ПИТМ/НДК | ||||
Исходный | Облученный | Исходный | Облученный | Исходный | Облученный | |
Электрическая емкость, нФ | 0.21 | 0.24 | 0.18 | 0.21 | 0.14 | 0.22 |
Диэлектрическая проницаемость | 1.19 | 1.35 | 1.01 | 1.19 | 0.76 | 1.26 |
Благодаря пустотам (трекам от ионов, возникшим в процессе изготовления) в полиимидной мембране доля свободного объема полимера увеличилась, вследствие чего уменьшилась диэлектрическая проницаемость исходного материала на 15.1% по сравнению с полиимидной пленкой. Заполнение пустот в ПИТМ наночастицами диоксида кремния также привело к снижению диэлектрической проницаемости пленки на 24.8% по сравнению с чистой полиимидной трековой мембраной. Однако, согласно табл. 1, воздействие вакуумного ультрафиолетового излучения привело к увеличению диэлектрической проницаемости для всех образцов: для полиимида, полиимидной трековой мембраны и композитного материала увеличение составило 13.4, 17.8 и 65.8% соответственно. Предположительно, изменения значений диэлектрической проницаемости после облучения связаны с образованием на поверхности материала свободных радикалов. Вследствие увеличения диэлектрической проницаемости величины пробивного, порогового и рабочего напряжения пленок можно повысить.
Исследования инфракрасных фурье-спектров
На рис. 4 представлены ИК фурье-спектры поглощения полиимида до воздействия ВУФ-излучения и после.
Рис. 4. ИК фурье-спектр поглощения полиимида до (1) и после воздействия ВУФ-излучения в течение 60 ч (2).
После облучения в течение 60 ч (300 эквивалентных солнечных часов) заметно, что небольшое количество связей C=O разрушилось, так как интенсивность соответствующих полос поглощения при 1776, 1728, 1599 см–1 несколько снизилась. Также по ИК-спектру видно, что некоторое количество эфирных связей также разрушилось, поскольку интенсивность полос поглощения в диапазоне 1310–1200 см–1 и полосы поглощения при 1170 см–1 снизилась. Интенсивность пиков при 1378, 1502, 1454, 117 см–1 снизилась, значит, связи C–N, C–C в бензольном кольце и C–C разрушились.
На рис. 5 представлены ИК фурье-спектры поглощения полиимидной трековой мембраны до облучения и после. Согласно спектру, практически все полосы поглощения идентичны обычному полиимиду, так как полиимидная трековая мембрана представляет собой полиимидную пленку с большим количеством сквозных пор.
Рис. 5. ИК фурье-спектр поглощения полиимидной трековой мембраны до (1) и после воздействия ВУФ-излучения в течение 60 ч (2).
После воздействия ВУФ-излучения интенсивность полос поглощения при 1176, 1725, 1600, 1504, 1455, 1381, 1288, 1249, 1168 и 1121 см–1 снизилась. Следовательно, небольшое количество карбонильной, эфирной связей, а также связи углерод–углерод и углерод–азот разрушилось. Интенсивности разрушенных связей соизмеримы с интенсивностью разрушенных связей в полиимиде.
На рис. 6 представлены ИК фурье-спектры поглощения полиимидной трековой мембраны с нановолокнами диоксида кремния до облучения и после. Согласно рис. 6, большинство полос поглощения соответствуют полосам поглощения полиимидной трековой мембране, однако появляются и новые пики, соответствующие колебаниям связей соединений диоксида кремния. Хорошо выраженная полоса поглощения средней интенсивности при 468 см–1 соответствует колебанию связи Si–OH. Пик при 939 см–1 показывает наличие колебаний связи Si–O–Si. Широкая полоса поглощения при 1160 см–1 является наложением нескольких полос поглощения, соответствующих колебаниям связи C–O, деформационным колебаниям связей C–C, деформационным плоскостным колебаниям связи C–H в бензольном кольце, колебаниям связи C–O–C; а также колебаниям связей Si–O–C при 1121 см–1, ассиметричным колебаниям связи Si–O–Si при 1080 см–1 и валентным симметричным колебаниям связи Si–O–Si при 1045 см–1.
Рис. 6. ИК фурье-спектр поглощения полиимидной трековой мембраны с нановолокнами диоксида кремния до (1) и после воздействия ВУФ-излучения в течение 60 ч (2).
После облучения композитного материала ВУФ-излучением интенсивность полос поглощения в ИК-спектре при 1776, 1727, 1600, 1506, 1455, 1381, 1290, 1246 и 1170 см–1 снизилась. Это означает, что связи C=O, C–O, C–C, C–N разрушились в небольшом количестве. Полосы поглощения, соответствующие колебаниям связей соединений диоксида кремния, не претерпели изменений. Интенсивность полос поглощения после облучения композитного материала больше, чем у полиимида и полиимидной трековой мембраны, то есть облучение повлияло на композитный материал в меньшей степени.
Изменение смачиваемости поверхностей исследуемых образцов
Результаты анализа краевого угла смачивания показали, что поверхность полиимидной пленки является гидрофильной. Заметно, что после облучения вакуумным ультрафиолетовым излучением краевой угол смачивания увеличился на 21.8%, то есть поверхность полиимидной пленки стала менее гидрофильной.
Поверхность полиимидной трековой мембраны также гидрофильная. Следует отметить, что при нанесении капли воды на полиимидную трековую мембрану часть воды попала в пустоты мембраны, поэтому краевой угол смачивания исходных ПИ и ПИТМ отличаются (краевой угол смачивания ПИТМ меньше на 19.6%). После воздействия ВУФ-излучения краевой угол смачивания ПИТМ увеличился на 19.7%, то есть поверхность стала менее гидрофильной.
Поверхность полиимидной трековой мембраны с наночастицами диоксида кремния до облучения обладает гидрофильными свойствами (краевой угол смачивания больше, чем у ПИ на 13.1%). После облучения краевой угол смачивания композита увеличился на 21.7% (краевой угол смачивания ~ 90°). Поверхность пленки также стала менее гидрофильной.
Увеличение угла смачивания пленок после облучения, вероятно, может быть связано с изменением шероховатости поверхности вследствие фотолиза и внедрением кислорода в структуру полимера [29, 30].
ЗАКЛЮЧЕНИЕ
Установлено, что композитная пленка на основе полиимидной трековой мембраны, заполненной нановолокнами диоксида кремния, обладает устойчивостью к воздействию ВУФ-излучения с длиной волны 90–115 нм. Наименьшие потери массы при облучении по сравнению с чистой ПИ пленкой и ПИТМ наблюдали в композитном материале на основе ПИТМ, заполненном нановолокнами SiO2.
После воздействия ВУФ-излучения диэлектрическая проницаемость разработанной композитной пленки увеличилась на 65.8%. Согласно анализу ИК фурье-спектров исходных и облученных материалов, облучение в течении 60 ч (300 эквивалентных солнечных часов) влияет на пленки посредством разрушения небольшого количества связей C=O, C–O, C–C и C–N. Наибольший ущерб ВУФ-излучение нанесло пленкам ПИ и ПИТМ, в отличие от композитного материала. Анализ смачиваемости исследуемых пленок показал, что после облучения краевой угол смачивания всех образцов увеличивался. Поверхности пленок ПИ, ПИТМ и ПИТМ/НДК стали менее гидрофильными.
Так как диоксид кремния обладает высокой отражательной способностью, а введение его в поры трековой мембраны позволяют создать материал, в котором полностью отсутствует агрегация наночастиц, то такой композитный материал может найти применение при разработке терморегулирующего покрытия в космической отрасли. Дальнейшие исследования будут направлены на изучение изменения термооптических характеристик (интегральный коэффициент поглощения и степень излучения) разработанных композитных пленок под воздействием ВУФ-излучения.
ФИНАНСИРОВАНИЕ РАБОТЫ
Исследование выполнено при финансовой поддержке Российского научного фонда, грант № 19-79-10064 (продление), https://rscf.ru/project/19-79-10064/ с использованием оборудования на базе Центра высоких технологий БГТУ им. В.Г. Шухова.
КОНФЛИКТ ИНТЕРЕСОВ
Авторы данной работы заявляют, что у них нет конфликта интересов.
Об авторах
Н. И. Черкашина
Белгородский государственный технологический университет им. В.Г. Шухова
Email: artiem.ruchii.99@mail.ru
Россия, Белгород, 308012
В. И. Павленко
Белгородский государственный технологический университет им. В.Г. Шухова
Email: artiem.ruchii.99@mail.ru
Россия, Белгород, 308012
А. Ю. Ручий
Белгородский государственный технологический университет им. В.Г. Шухова
Автор, ответственный за переписку.
Email: artiem.ruchii.99@mail.ru
Россия, Белгород, 308012
С. Н. Домарев
Белгородский государственный технологический университет им. В.Г. Шухова
Email: artiem.ruchii.99@mail.ru
Россия, Белгород, 308012
Е. В. Форова
Белгородский государственный технологический университет им. В.Г. Шухова
Email: artiem.ruchii.99@mail.ru
Россия, Белгород, 308012
Список литературы
- Boezio M., Munini R., Picozza P. // Prog. Particle Nucl. Phys. 2020. V. 112. P. 103765. https://www.doi.org/10.1016/j.ppnp.2020.103765
- Журавлева И.В. // Моделирование систем и процессов. 2019. Т. 12. № 3. С. 11. https://www.doi.org/10.12737/2219-0767-2019-12-3-11-16
- Павленко В.И., Черкашина Н.И., Носков А.В. // Поверхность. Рентген., синхротр. и нейтрон. исслед. 2021. № 2. С. 54. https://www.doi.org/10.31857/S1028096020110126
- Singh A.K., Bhargawa A. // Adv. Space Res. 2020. V. 65. № 7. P. 1831. https://www.doi.org/10.1016/j.asr.2020.01.006
- Новосадов Н.И. Разработка технологии производства полиимидного композита космического назначения. // Международная научно-техническая конференция молодых ученых, Белгород. 2020. С. 7104. https://elibrary.ru/item.asp?id44102902
- Lee J.H., Kim H.N., Jeong H.Y., Cho S.O. // Nucl. Engineering Technol. 2020. V. 52. № 8. P. 1817. https://www.doi.org/10.1016/j.net.2020.01.016
- Dobney W., Mols L., Mistry D., Tabury K., Baselet B., Baatout S. // Front. Nucl. Medicine. 2023. V. 3. https://www.doi.org/10.3389/fnume.2023.1225034
- Михайлов М.М., Горончко В.А., Лебедев С.М. // Поверхность. Рентген., синхротр. и нейтрон. исслед. 2021. № 7. С. 14. https://www.doi.org/10.31857/S1028096021070128
- Zhuo L., Cai Y., Shen D., Gou P., Wang M., Hu G., Xie F. // Chem. Engineering J. 2023. V. 451. P. 138808. https://www.doi.org/10.1016/j.cej.2022.138808
- Mehr H.M.S., Hammer T.J., Soucek M.D. // J. Coat. Technol. Res. 2021. V. 18. № 6. P. 1445. https://www.doi.org/10.1007/s11998-021-00470-4
- Yin L., He Y., Guo W., Wang S., He J., Wang T. // Adv. Composites Hybrid Mater. 2023. V. 6. № 6. P. 212. https://www.doi.org/10.1007/s42114-023-00795-1
- Tao K., Sun G., Zhang S., Wang J., Chen R., Han S. // Macromolecular Rapid Communications. 2023. P. 2300510. https://www.doi.org/10.1002/marc.202300510
- Gao M.Y., Zhai L., Mo S., Jia Y., Liu Y., He M.H., Fan L. // Chinese J. Polymer Sci. 2023. V. 41. № 12. P. 1921. https://www.doi.org/10.1007/s10118-023-2985-4
- Kausar A. // J. Thermoplastic Composite Mater. 2023. V. 36. № 12. P. 5034. https://www.doi.org/10.1177/089270572311735960
- Zhang Y., Dai S., Yin Z., Yan W., Li Q., Yuan H., Zhang Xu, Chen L., Luo J., Ouyang X., Liao B., Hao W., Zhu J. // SmartMat. 2023. P. 1225. https://www.doi.org/10.1002/smm2.1225
- Li H., Kong X., Wang S., Gong M., Lin X., Zhang L., Wang D. // Molecules. 2023. V. 28. № 7. P. 3095. https://www.doi.org/10.3390/molecules28073095
- Guo Y., Qiu H., Ruan K., Zhang Y., Gu J. // Nano-Micro Letters. 2022. V. 14. P. 1. https://www.doi.org/10.1007/s40820-021-00767-4
- Михайлов М.М., Горончко В.А. // Космические аппараты и технологии. 2022. Т. 6. № 2(40). С. 102. https://www.doi.org/10.26732/j.st.2022.2.04
- Мяленко Д.М. // Актуальные вопросы молочной промышленности, межотраслевые технологии и системы управления качеством. 2020. Т. 1. № 1. С. 406. https://www.doi.org/10.37442/978-5-6043854-1-8-2020-1-406-411
- Lu W., Ren S., Zhang Y., Wen X., Zhang Z., Wang A. // Environmental Sci. Pollution Res. 2023. V. 30. № 57. P. 1. https://www.doi.org/10.1007/s11356-023-30612-7
- Кузин С.В., Богачев С.А., Кириченко А.С., Перцов А.А. // Поверхность. Рентген., синхротр. и нейтрон. исслед. 2023. № 12. С. 31. https://www.doi.org/10.31857/S1028096023120117
- Dembska M., Renger T., Sznajder M. // Metallurgical Mater. Trans. A. 2020. V. 51. № 9. P. 4922. https://www.doi.org/10.1007/s11661-020-05906-x
- Shen Z.C., Ding Y.G., Wang Y.Z., He H.B. // J. Phys.: Conf. Series. 2021. V. 1765. № 1. P. 012024. https://www.doi.org/10.1088/1742-6596/1765/1/ 012024
- Feng J., Wang Y., Qin X., Lv Y., Huang Y., Yang Qi, Li G., Kong M. // Polymer Degradation and Stability. 2022. V. 199. P. 109915. https://www.doi.org/10.1016/j.polymdegradstab. 2022.109915
- Chen J., Zhao T., Zhou L., Xu B., Ju Y., Zhang Q., Wu, Z. // J. Macromolecular Sci. B. 2023. P. 1. https://www.doi.org/10.1080/00222348.2023.2272099
- Cherkashina N., Pavlenko V., Domarev S., Kashibadze N. // Chem. Engineering. 2023. V. 7. № 2. P. 32. https://www.doi.org/10.3390/chemengineering7020032
- Скурат В.Е. // Химия высоких энергий. 2019. Т. 53. № 1. С. 79. https://www.doi.org/10.1134/S0023119319010133
- Каманина Н.В., Тойкка А.С., Зверева Г.Н., Кужаков П.В., Барнаш Я.В., Тарасов С.А. // Жидкие кристаллы и их практическое использование. 2021. Т. 21. № 4. С. 47. https://www.doi.org/10.18083/LCAppl.2021.4.47
- Pavlenko V.I., Zabolotny V.T., Cherkashina N.I., Edamenko O.D. // Inorg. Mater.: Appl. Res. 2014. V. 5. № 3. P. 219. https://www.doi.org/10.1134/S2075113314030137
- Павленко В.И., Бондаренко Г.Г., Черкашина Н.И., Едаменко О.Д. // Перспективные материалы. 2013. № 3. С. 14.
Дополнительные файлы








