Управляемое наноструктурирование тонких пленок методом наклонного напыления
- Авторы: Трушин О.С.1, Фаттахов И.С.1,2, Чебохин М.М.1,2, Попов А.А.1, Мазалецкий Л.А.1,2
-
Учреждения:
- Ярославский филиал Физико-технологического института им. К.А. Валиева РАН
- Ярославский государственный университет им. П.Г. Демидова
- Выпуск: № 11 (2024)
- Страницы: 32-40
- Раздел: Статьи
- URL: https://journal-vniispk.ru/1028-0960/article/view/281118
- DOI: https://doi.org/10.31857/S1028096024110041
- EDN: https://elibrary.ru/RETWFC
- ID: 281118
Цитировать
Аннотация
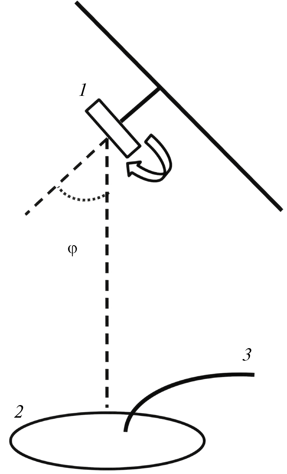
Методом электронно-лучевого испарения получены тонкие пленки различного состава (Al, Co, Ge, SiO2) на наклонных подложках из Si(001). Установлено, что при углах падения испаряемого материала на подложку более 70° (скользящее напыление) на поверхности подложки формируются массивы отдельно стоящих наклонных наноколонн с латеральными размерами от 10 до 100 нм и отношением длина/поперечный размер не менее 10. При включении вращения подложки в процессе роста пленки формируется массив наноспиралей, закрученных в одну сторону. Такие пленки представляют собой киральные метаматериалы и обладают выраженной оптической активностью. Моделирование процессов роста пленок в условиях наклонного напыления методом Монте-Карло показало хорошее качественное согласие с данными эксперимента. Установлено, что в основе наблюдаемых процессов наноструктурирования при наклонном напылении лежат универсальные механизмы конкуренции растущих кристаллических зерен в условиях затенения соседей. Это дает возможность получать в таких условиях наноструктурированные пленки различных материалов с требуемыми функциональными характеристиками.
Полный текст
Об авторах
О. С. Трушин
Ярославский филиал Физико-технологического института им. К.А. Валиева РАН
Автор, ответственный за переписку.
Email: otrushin@gmail.com
Россия, Ярославль, 150067
И. С. Фаттахов
Ярославский филиал Физико-технологического института им. К.А. Валиева РАН; Ярославский государственный университет им. П.Г. Демидова
Email: otrushin@gmail.com
Россия, Ярославль, 150067; Ярославль, 150003
М. М. Чебохин
Ярославский филиал Физико-технологического института им. К.А. Валиева РАН; Ярославский государственный университет им. П.Г. Демидова
Email: otrushin@gmail.com
Россия, Ярославль, 150067; Ярославль, 150003
А. А. Попов
Ярославский филиал Физико-технологического института им. К.А. Валиева РАН
Email: otrushin@gmail.com
Россия, Ярославль, 150067
Л. А. Мазалецкий
Ярославский филиал Физико-технологического института им. К.А. Валиева РАН; Ярославский государственный университет им. П.Г. Демидова
Email: otrushin@gmail.com
Россия, Ярославль, 150067; Ярославль, 150003
Список литературы
- Амиров И.И., Селюков Р.В., Наумов В.В., Горлачев Е.С. // Микроэлектроника. 2021. Т. 50. 1. С. 3.
- Hawkeye M.M., Brett M.J. // J. Vac. Sci. Technol. A. 2007. V. 25. P. 1317. doi: 10.1116/1.2764082
- Barranco A., Borras A., Gonzalez-Elipe A.R., Palmero A. // Progress Mater. Sci. 2016. V. 76. P. 59. doi: 10.1016/j.pmatsci.2015.06.003
- Hawkeye M.M., Taschuk M.T., Brett M.J. Glancing Angle Deposition of Thin Films. London: John Wiley & Sons, Ltd, UK. 2014. 299 p.
- Karabacak T., Singh J. P., Zhao Y.-P., Wang G.-C., Lu T.-M. // Phys. Rev. B. 2003. V. 68. P. 125408. doi: 10.1103/PhysRevB.68.125408
- Bouaouina B., Mastail C., Besnard A., Mareus R., Nita F., Michel A., Abadias G. // Mater. Design. 2018. V. 160. P. 338. doi: 10.1016/j.matdes.2018.09.023
- Smy T., Vick D., Brett M. J., Dew S.K., Wu A.T., Sit J.C., Harris K.D. // J. Vac. Sci. Technol. A. 2000. V. 18. № 5. P. 2507. doi: 10.1116/1.1286394
- Suzuki M., Taga Y. // J. Appl. Phys. 2001. V. 90. № 11. P. 5599. doi: 10.1063/1.1415534
- Belyaev B.A., Izotov A.V., Solovev P.N. // Russ. Phys. J. 2016. V. 59. № 2. P. 301. doi: 10.1007/s11182-016-0771-2
- Hubartt B.C., Liu X., Amar J.G. // J. Appl. Phys. 2013. V. 114. P. 083517. doi: 10.1063/1.4819446
- Mes-adi H., Saadouni K., Mazroui M. // Thin Solid Films. 2021. V. 721. P. 13855. doi: 10.1016/j.tsf.2021.138553
- Grigoriev F.V., Sulimov V.B., Tikhonravov A.V. // J. Non-Crystalline Solids. 2019. V. 512. P. 98. doi: 10.1016/j.jnoncrysol.2019.02.016
- Esposito M., Tasco V., Todisco F., Cuscunà M., Benedetti A., Scuderi M., Nicotra G., Passaseo A. // Nano Lett. 2016. V. 16. № 9. P. 5823. doi: 10.1021/acs.nanolett.6b02583
- Singh J.H., Nair G., Ghosh A., Ghosh A. // Nanoscale. 2013. V. 5. P. 7224. doi: 10.1039/c3nr02666c
- Gibbs J.G., Mark A.G., Eslami S., FischerP. // Appl. Phys. Lett. 2013. V. 103. P. 213101. doi: 10.1063/1.4829740
- Faryad M., Lakhtakia A. // Adv. Opt. Photon. 2014. V. 6. P. 225. doi: 10.1364/AOP.6.000225
- Gansel J.K., Thiel M., Rill M.S., Decker M., Bade K., Saile V., Freymann G., Linden S., Wegener M. // Science. 2009. V. 325. P. 1513. doi: 10.1126/science.1177031
- Schaferling M. Chiral Nanophotonics // Springer Ser. in Opt. Sci. Springer International Publishing Switzerland, 2017. P. 205.
- Трушин О.С., Попов А.А., Пестова А.Н., Мазалецкий Л.А., Акулов А.А. // Письма в ЖТФ. 2021. Т. 47. Вып. 12. С. 31. doi: 10.21883/PJTF.2021.12.51064.18748
- Трушин О.С., Попов А.А., Пестова А.Н., Мазалецкий Л.А., Акулов А.А., Ломов А.А. // Изв. РАН. Сер. физ. 2022. Т. 86. № 5. С. 650. doi: 10.31857/S0367676522050283
- Трушин О.С., Фаттахов И.С., Попов А.А., Мазалецкий Л.А., Ломов А.А., Захаров Д.М., Гайдукасов Р.А., Мяконьких А.В., Шендрикова Л.А. // ФТТ. 2023. Т. 65. Вып. 6б. С. 996. doi: 10.21883/FTT.2023.06.55656.16H
Дополнительные файлы









