Study of digital diagram formation for optimum interference and noise reduction in antenna arrays of different shapes with directional radiators
- Авторлар: Nechaev Y.B.1, Peshkov I.V.2
-
Мекемелер:
- Voronezh State University
- Bunin Yelets State University
- Шығарылым: Том 25, № 2 (2022)
- Беттер: 73-82
- Бөлім: Articles
- URL: https://journal-vniispk.ru/1810-3189/article/view/143684
- DOI: https://doi.org/10.18469/1810-3189.2022.25.2.73-82
- ID: 143684
Дәйексөз келтіру
Толық мәтін
Аннотация
In the paper the digital beamforming is examined in azimuth and elevation, which allows more accurate formation of nulls and maximum of the radiation pattern. The minimum variance distortionless response beamformer, the sample matrix inversion algorithm using regularization, and the null steering algorithms at the output of cylindrical, hemispherical and planar lattices are considered. The ratio of the useful signal power to the active interference plus noise resulting power and the bit error ratio at the output of digital antenna arrays are estimated depending on the directivity of the antenna elements and the number of averaging samples. It has been established that a hemispherical antenna array can significantly increase the transmission reliability in comparison with the considered ones, which will reduce the computational load without using complicated diagramming algorithms.
Толық мәтін
Введение
Цифровое формирование диаграммы направленности антенными решетками (АР) для усиления полезного радиосигнала и подавления шума и помех представляет серьезный исследовательский интерес в таких областях, как радиолокация, гидролокация и беспроводные телекоммуникационные системы [1]. Различаются антенные решетки, пригодные для азимутального и угломестного сканирования [2–5], являющиеся в настоящее время актуальным направлением применения для цифрового диаграммообразования. Так, в задачах сверхвысокочастотной связи такие подходы применяются для построения сетей связи пятого поколения для более точной пространственной фильтрации [6]. Кроме того, для коротковолновой связи также необходимо точное формирование нулей и максимумов диаграммы направленности по углу места, т. к. известны суточные колебания волн, отраженных от ионосферы [7]. Однако распространенной причиной снижения характеристик адаптивных алгоритмов является недостаточная изученность влияния характеристик отдельных антенных элементов (АЭ) на формирование цифровой диаграммы направленности (ДН) в азимутальной и угломестной плоскостях. Для осуществления всех перечисленных преимуществ цифровых антенных решеток (ЦАР) необходимо формирование ДН заданной формы, что означает определение весовых коэффициентов. Статистически оптимальный алгоритм подавления помех и шума [8], а также алгоритм управления нулями и обращения пространственной корреляционной матрицы остаются довольно популярными для этой цели. Можно утверждать, что представляется актуальным исследование АР с направленными элементами в совокупности с алгоритмами адаптивного диаграммообрзования по азимуту и углу места для выбора оптимальной конфигурации цифровой антенной решетки, снижающей ошибки при передаче инфокоммуникационных сигналов.
1. Основные предположения
Предположим, что M радиосигналов приходят на антенную решетку с различных направлений где – угол места; – азимут. Для произвольной геометрической конфигурации комплексный вектор сигналов на выходе АР описывается выражением [9]:
(1)
где – N-мерный вектор, описывающий сигналы на выходе каждого антенного элемента АР; – М-мерный вектор сигналов; – N-мерный вектор шума; – N × M матрица направляющих векторов.
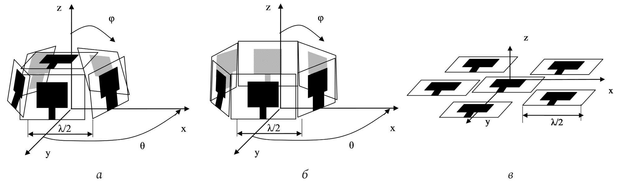
Рассмотрим структуру цилиндрической (ЦиАР) и других антенных решеток, состоящих из направленных излучателей (рис. 1).
Рис. 1. Схематическое изображение антенных решеток с направленными излучателями: а – полусферная; б – цилиндрическая; в – плоская
Обозначим -усиление и фазу АЭ в зависимости от частоты и направления, тогда вектор распределения фазы и амплитуды АР:
(2)
где
– волновое число, описывающее скорость изменения фазы распространяющейся волны в направлениях x, y, z, - радиус-вектор к n-му АЭ и – коэффициент усиления n-го АЭ. Направляющие векторы антенных решеток в форме полусферы (рис. 1, а), цилиндра (рис. 1, б) и на плоскости (рис. 1, в) достаточно громоздки и описаны в более ранних работах [10].
Для исследования эффекта влияния коэффициента направленного действия (КНД) на характеристики цифрового диаграммообразования необходимо иметь модель диаграммы излучения гипотетической антенны. Предполагается, что ДН симметрична в трехмерной плоскости, тогда модель ДН по мощности в дальней зоне относительно изотропной антенны представляется как [11]:
(3)
где D – коэффициент направленного действия.
2. Цифровое диаграммообразование
Цель формирования ДН при приеме, учитывая пространственную характеристику интересующего пользователя, состоит в том, чтобы получить сигнал от этого отправителя (полезный сигнал) без изменения, с максимально возможным подавлением помех и шума. Пространственная характеристика может быть оценена заранее, с использованием, например, методов из [9].
В телекоммуникационных системах выходной сигнал в момент времени k получается линейной комбинацией данных с N антенных элементов:
(4)
где – вектор весовых коэффициентов. Изменяя можно расположить луч диаграммы направленности в любом направлении и адаптивно управлять ее формой, чтобы суммарная мощность помех и аддитивного шума были минимальны при несущественных искажениях полезного сигнала, т. е. [12]:
при (5)
где – сигнал с элементов АР, содержащий только помехи и шум.
3. Управляющий нулями формирователь ДН
Данный алгоритм используется, чтобы погасить помехи, приходящие с известных координат путем формирования нулей ДН в определенных направлениях. Весовой вектор получается, исходя из следующих условий:
(6)
где – направляющий вектор полезного сигнала; – направляющий вектор помех. В случае, когда количество сигналов M, прибывших на АР, меньше, чем число АЭ N, было предложено решение [13]:
(7)
где I – единичная матрица N × M.
Хотя ДН, полученная этим формирователем, имеет нули в направлениях помех, данный метод не разрабатывался для минимизации некоррелированного шума на выходе АР. Этого возможно достичь, выбирая значения которые минимизируют среднюю выходную мощность в зависимости от выше обозначенных ограничений. Варианты применения схемы управления нулями ДН для какой-либо мобильной коммуникационной системы, размещенной на базовой станции, описан в [14–16].
4. Оптимальный алгоритм диаграммообразования
Зачастую требуется подавить как шум, так и активные помехи. Решением для этих ограничений является формирователь ДН, который максимизирует отношение выходного сигнала к помехе и шуму.
Тогда отношение мощности сигнала к сумме мощностей помех и шума (ОСПШ) на выходе АР [17]:
(8)
Выражение, которое максимизирует ОСПШ, может быть получено составлением функционала Лагранжа и приравниванием его градиента к нулю. И тогда вектор весовых коэффициентов принимает вид [18]:
(9)
Выражение (9) является статистически оптимальным в отношении выходного ОСПШ. Однако данный алгоритм требует большого объема вычислений для получения обратной матрицы
5. Алгоритм обращения выборочной корреляционной матрицы
В практических приложениях истинная матрица обычно неизвестна и вместо нее используется оценочная версия получаемая из набора K временных отсчетов [4]:
(10)
Основной идеей алгоритма обращения выборочной корреляционной матрицы (SMI-Sample matrix inversion) является замена на Тогда весовые векторы SMI могут быть получены [19]:
(11)
Оценка весового вектора требует инверсии матрицы тогда процесс получения обновленной матрицы выполняется следующим образом [20]:
(12)
где
.
И, таким образом, весовой вектор известен в любой момент времени k.
Известно, что использование вместо вызывает некоторое снижение характеристик ЦАР в случае, когда полезный сигнал присутствует в отсчетах вектора С увеличением количества выборок значения элементов матрицы приближаются к величинам теоретической матрицы , получающейся усреднением бесконечного числа непрерывных временных отсчетов. При условии отсутствия компонент полезного сигнала в выборках, и когда направляющий вектор полезного сигнала точно известен, оцениваемые весовые коэффициенты приближаются к своим оптимальным значениям, т. е. [20].
Поскольку на практике в матрице содержатся как компоненты полезного сигнала, так и помехи с шумом, использование алгоритма SMI сопряжено с опасностью подавления информационного сообщения, поскольку полезный сигнал воспринимается алгоритмом как помеха. Для снижения уровня боковых лепестков и устранения подавления полезного сигнала необходимо провести регуляризацию матрицы [21]:
(13)
где e – коэффициент регуляризации, снижающий уровень боковых лепестков ДН.
6. Результаты моделирования
В данном разделе будут рассматриваться цилиндрические, полусферные и плоские цифровые антенные решетки (рис. 1), N = 6, межэлементное расстояние составляет . Будем оценивать диаграмму направленности в трехмерной плоскости, т. е. по азимуту и углу места. В частности, будут подвергаться пристальному вниманию отношение сигнал/помеха + шум (8) и вероятность битовой ошибки на выходе ЦАР соответствующих решеток.
Далее будем рассматривать на выходе цифровой антенной решетки статистически оптимальный алгоритм подавления помех и шума (выражение (9), «SNIR» на рис. 2 и 5), управляющий нулями (выражение (7), «Null» на рис. 2 и 5), а также алгоритм обращения выборочной корреляционной матрицы с применением регуляризации (выражение (13), «Rrr01» и «Rrr1» на рис. 2 и 5), описываемый формулой (11) («Rrr» на рис. 2 и 5). В случае использования (9) в отсчетах присутствуют только компоненты помех и шума, а в случае SMI для получения матрицы (10) добавляется помимо помех и шума также и полезный сигнал.
Рис. 2. Характеристики цифровых антенных решеток в зависимости коэффициента направленного действия отдельного элемента: а – ОСПШ; б – битовая ошибка QPSK
Рис. 5. Характеристики ЦАР в зависимости числа отсчетов усреднения корреляционных матриц для: а – рассматриваемых алгоритмов; б – антенных решеток после использования SMI, e = 1
Кроме того, предполагается использовать АЭ, у которых КНД установлен от 1 (всенаправленный излучатель) до 15, т. е. остронаправленного излучателя. Сделано это для оценки влияния характеристик направленности каждой конкретной антенны на общую ДН цифровой антенной решетки в целом в азимутальной и угломестной плоскости. При этом на ЦАР подаются полезный сигнал, координаты которого заданы по азимуту , углу места , а также активная помеха с . Данные сообщения моделируются как комплексные с единичной мощностью с гауссовским распределением, отношение сигнал/шум (ОСШ) на входе ЦАР составляет 0 дБ. При этом предполагается, что используется 100 выборок с выходов АЭ для получения пространственных матриц.
Из графиков на рис. 2 можно сделать несколько выводов. В первую очередь необходимо отметить, что явна зависимость от направленности отдельного элемента в характеристиках антенной решетки в целом. Очевидно, что отношение сигнала к помехе с шумом на выходе ЦАР зависит от характеристик направленности каждого излучателя, при этом в противоположном друг для друга направлении полусферной геометрии АР от остальных форм. Из рис. 2, а видно, что при использовании плоских и цилиндрических АР отношение сигнал/помеха + шум на выходе ЦАР увеличивается с ростом КНД элементов от 1 до 6 дБ, в этом случае разница ОСПШ практически в 2 раза между данными значениями направленности. Дальнейшее повышение КНД элементов свыше 6 дБ приводит к снижению ОСПШ на выходе ЦиАР после цифрового диаграммообразования также двукратно от 10 до 5 дБ. В то же самое время использование полусферной АР для цифровых антенных решеток вызывает практически линейный подъем ОСПШ на выходе от 6 до 24 дБ при пропорциональном изменении направленности элементов.
На графиках из рис. 2, б показаны вероятности битовой ошибки рассматриваемых антенных решеток и алгоритмов диаграммообразования в зависимости от направленности элементов. Из рис. 2 видно, что кривые а и б взаимно обратные. Так, к примеру, битовая ошибка полусферных решеток снижается от 10-3 до 10-9 с увеличением КНД антенн. При этом использование АР цилиндрической и планарной геометрий вызывает волнообразный характер изменения появления ошибок QPSK-сигнала, т. е. колебание в пределах 10-3 до 10-5 для ЦиАР и 10-3 до 10-8 для плоской АР.
На следующих графиках из рис. 3 показаны характеристики цифровых антенных решеток в зависимости от положения полезного сигнала и активной помехи в пространстве. Месторасположение данных равномощных источников по азимуту фиксировано, но при этом они смещались по углу места от 0° и 90°, наряду с этим ОСШ = = –10 дБ. Оценивалось ОСПШ на выходе ЦАР для оптимального алгоритма (9) для рассматриваемых форм решеток.
Рис. 3. Отношение мощности полезного сигнала к сумме мощностей помехи и шума на выходе ЦАР в зависимости от направления на источник по углу места и КНД отдельного элемента для: а – кольцевой АР; б – полусферной АР; в – плоской АР; г – вероятность битовой ошибки, D = 6 дБ
При смещении источников сигналов в угломестной плоскости от 0° до 90° происходят значительные колебания отношения сигнал/помеха + шум на выходе ЦАР. Так, если источники полезного сигнала имеет координату по углу места, равную 0° (т. е. над цифровой антенной решеткой), то при использовании цилиндрической АР ОСПШ имеет отрицательные или близкие к нулю значения (рис. 3, а), другими словами, тогда уровень сигнала много ниже уровня негативных воздействий. При этом плоская антенная решетка имеет максимальные значения по уровню полезного сигнала (рис. 3, в). При этом данные две формы АР значительно влияют на ОСПШ в зависимости от КНД элементов. Значения сигнал/помеха + шум заметно повышаются при смещении от до 45°. При дальнейшем перемещении источников сигналов сверх ОСПШ повышается от 20 до 30 дБ для ЦиАР. Плоская форма размещения АЭ дает зеркальные значения цифрового диаграммообразования в сравнении с цилиндрической АР. Полусферная форма антенной решетки имеет более плавные значения на выходе ЦАР в зависимости от положения по углу места. Так, при КНД элемента, равного 6 дБ, изменения отношения сигнал/помеха + шум находятся в пределах 20÷25 дБ (рис. 3, б). Вероятность битовой ошибки полусферной АР значительно меньше, чем при других рассматриваемых типов, т. е. 0,02÷0,0022 и 0,45÷0,09 соответственно.
На следующих графиках из рис. 4 показаны характеристики цифровых антенных решеток в зависимости от положения равномощных источников по азимуту от 0° до 90° и 50° до 140° соответственно, координаты по углу места фиксированы на 45°, отношение сигнал/шум на входе ЦАР составляет –10 дБ.
Рис. 4. Отношение мощности полезного сигнала к сумме мощностей помехи и шума на выходе ЦАР в зависимости от направления на источник по азимуту и КНД отдельного элемента для: а – кольцевой АР; б – полусферной АР; в – плоской АР; г – вероятность битовой ошибки, D = 6 дБ
Как видно из графиков на рис. 4, при смещении источников сигнала в азимутальной плоскости от 0° до 90° происходят колебания параметров. Изменчивость величин происходит не линейно, а волнообразно в зависимости от покрытия тем или иным элементом определенного сектора. Особенно при увеличении направленности антенного элемента. Так, если КНД элементов равно 15 дБ, то при цифровом диаграммообразовании ЦиАР колебания выходного ОСПШ составляют 8 дБ, а при использовании полусферной АР – 16 дБ. При снижении направленности отдельного элемента до 6 дБ колебания выходного отношения сигнал/ помеха + шум для ЦиАР находятся в пределах 1 дБ, а полусферной решетки – 3 дБ. В этом смысле плоская антенная решетка схожа по своему поведению с последней. При этом вероятность битовой ошибки полусферной АР также значительно меньше, чем у других рассматриваемых типов, в частности ЦиАР, т. е. 0,003÷0,03 и 0,11÷0,09 соответственно.
Рассмотрим зависимость от числа отсчетов усреднения шумовой корреляционной матрицы (10). В этом случае моделировались два источника равной мощности, при этом отношение сигнал/шум на входе ЦАР составляет –10 дБ. КНД отдельного элемента фиксировано на D = 6 дБ.
Из рис. 5 видно, что если в каналах присутствуют только помехи и шум, т. е. используется алгоритм (9), выходное отношение сигнал/помеха + шум практически не зависит от числа отсчетов (рис. 5, а). Однако при использовании алгоритма SMI, когда к выборкам подмешивается полезный сигнал, что, как правило, происходит в реальных приложениях, выходные значения ОСПШ зависят от их числа прямо пропорционально. К примеру, происходит повышение от 6 до 22 дБ при увеличении числе отсчетов от 10 до 1000 при коэффициенте регуляризации, равном 0,1 (рис. 5, а).
Кроме того, разница между ОСПШ в зависимости от коэффициента регуляризации (13) составляет 3 дБ при e = 0,1 и 7 дБ при e = 1 относительно ситуации, когда e = 0 (рис. 5. а). Из рис. 2 и 5, б видно, что если угол склонения составляет 45°, то плоская АР имеет лучшую вероятность битовой ошибки, чем кольцевая, при этом больше, чем полусферная. Например, считая установившийся режим при K = 100, 0,1128 (плоская), 0,1855 (ЦиАР) и 0,0395 (полусфера).
Заключение
В статье исследованы алгоритмы цифрового диаграммообразования в составе цилиндрических, полусферных и планарных АР в зависимости от коэффициента направленного действия антенного элемента. Цифровое формирование диаграммы направленности производится с помощью оптимального накопительного алгоритма подавления помех и шума, в том числе с применением регуляризации пространственной матрицы. Важнейшие характеристики диаграммообразования, такие как отношение мощности полезного сигнала к сумме помехи и шума, а также вероятность битовой ошибки на выходе ЦАР оцениваются для идеальных изотропных, а также направленных элементов для рассматриваемых форм АР и алгоритмов. С помощью компьютерной симуляции установлено, что значительное понижение ошибок передачи данных, а также высокий коэффициент ОСПШ могут быть достигнуты, если использовать подходящее значение коэффициента направленного действия оптимальным образом подобранной формы расположения антенных элементов.
В ходе исследования выявлено, что вероятность битовой ошибки сигнала с модуляцией QPSK после применения полусферной ЦАР также на несколько порядков ниже и данные значения много стабильнее во всем диапазоне нахождения источников сигналов в пространстве, чем у других рассматриваемых АР. Колебания выходного ОСПШ в угломестной и азимутальной плоскости у последней значительно меньше, и в целом полученные значения превышены на 5–10 дБ относительно цилиндрических и планарных цифровых АР. Оптимальным выбором числа отсчетов усреднения пространственной корреляционной матрицы являются значения свыше 100, но не превышающие 1000, т. к. дальнейшее увеличение числа выборок приведет к росту вычислительной сложности диаграммообразования без существенного выигрыша отношения сигнал/помеха + шум и вероятности битовой ошибки.
Таким образом, можно сказать, что оптимальным выбором коэффициента направленного действия для высокой мощности полезного сигнала и подавления шума и помех является значение в пределах 6–8 дБ с полусферным расположением антенных элементов. В качестве подхода для формирования ДН предпочтительно использовать алгоритм управления нулями либо обращения пространственной корреляционной матрицы с числом выборок около 100÷200 и коэффициентом регуляризации 0,1 и выше.
Авторлар туралы
Yury Nechaev
Voronezh State University
Email: vnn-61@mail.ru
Doctor of Physical and Mathematical Sciences, professor of the Department of Information Systems, Voronezh State University, Voronezh, Russia.
Research interests: applied electrodynamics, antenna theory and technology, signal processing systems modeling.
Ресей, 1, Universitetskaya Square, Voronezh, 394018Ilya Peshkov
Bunin Yelets State University
Хат алмасуға жауапты Автор.
Email: ilvpeshkov@gmail.com
ORCID iD: 0000-0001-8370-6954
Candidate of Physical and Mathematical Sciences, associate professor of the Department of Physics, Radio Engineering and Electronics, Bunin Yelets State University, Yelets, Lipetsk region, Russia.
Research interests: digital signal processing, electronics, digital beamformig.
Ресей, 28, 1, Kommunarov Street, Yelets, Lipetsk region, 399770Әдебиет тізімі
- Bogale E., Wang X., Le L.B. Massive MIMO and mmWave for 5G wireless HetNet: Potential benefits and challenges. IEEE Vehicular Technology Magazine, 2016, vol. 11, no. 1, pp. 64–75. DOI: https://doi.org/10.1109/MVT.2015.2496240
- Huang P., Xu W., Qi W. Two dimension digital beamforming preprocessing in multibeam ScanSAR. Progress in Electromagnetics Research, 2013, vol. 136, pp. 495–508. DOI: https://doi.org/10.2528/PIER12111502
- Halbauer H. et al. 3D beamforming: Performance improvement for cellular networks. Bell Labs Technical Journal, 2013, vol. 18, no. 2, pp. 37–56. DOI: https://doi.org/10.1002/bltj.21604
- Nechaev Yu.B., Peshkov I.W., Fortunova N.A. The estimation of radio direction-finding performance in volume antenna arrays with directive radiators by music method. 2018 Systems of Signal Synchronization, Generating and Processing in Telecommunications (SYNCHROINFO), 2018, pp. 1–6. DOI: https://doi.org/10.1109/SYNCHROINFO.2018.8457063
- Nechaev Yu.B. Estimation of the Cramer-Rao boundary of convex antenna arrays with directional emitters for DF. Vestnik NTU «KPI». Serija Radiotehnika, Radioapparatostroenie, 2018, no. 75, pp. 16–24. DOI: https://doi.org/10.20535/RADAP.2018.75.16-24 (In Russ.)
- Eckhardt H., Klein S., Gruber M. Vertical antenna tilt optimization for LTE base stations. 2011 IEEE 73rd Vehicular Technology Conference (VTC Spring), 2011, pp. 1–5. DOI: https://doi.org/10.1109/VETECS.2011.5956370
- Budyak V.S., Vorfolomeev A.A. Space-time discretization in HF receiving multichannel antenna systems. 2011 International Siberian Conference on Control and Communications (SIBCON), 2011, pp. 71–75. DOI: https://doi.org/10.1109/SIBCON.2011.6072598
- Balanis C., Ioannides P. Introduction to Smart Antennas. San Francisco: Morgan and Claypool Publishers, 2007, 174 p.
- Friedlander B., Tuncer T. Classical and Modern Direction-of-Arrival Estimation. Burlington: Academic Press, 2009, 456 p. DOI: https://doi.org/10.1016/C2009-0-19135-3
- Peshkov I.W. et al. The comparison of digital beamforming technology for optimal noise reduction in conformal antenna arrays with directive radiators. 2020 Systems of Signal Synchronization, Generating and Processing in Telecommunications (SYNCHROINFO), 2020, pp. 1–6. DOI: https://doi.org/10.1109/SYNCHROINFO49631.2020.9166041
- Jackson B.R. et al. Direction of arrival estimation using directive antennas in uniform circular arrays. IEEE Transactions on Antennas and Propagation, 2015, vol. 63, no. 2, pp. 736–747. DOI: https://doi.org/10.1109/TAP.2014.2384044
- Monzingo R.A., Haupt R.L., Miller T.W. Introduction to Adaptive Arrays. Raleigh: SciTech Publishing Inc., 2011, 510 p.
- Godara L.C. Smart Antennas. Boca Raton: CRC Press, 2004, 448 p.
- Venkataramana D., Sanyal S.K., Misra I.S. Digital signal processor-based broad null beamforming for interference reduction. Circuits, Systems, and Signal Processing, 2016, vol. 35, no. 1, pp. 211–231. DOI: https://doi.org/10.1007/s00034-015-0056-y
- Chiba I., Takahashi T., Karasawa Y. Transmitting null beam forming with beam space adaptive array antennas. Proceedings of IEEE Vehicular Technology Conference (VTC), 1994, vol. 3, pp. 1498–1502. DOI: https://doi.org/10.1109/VETEC.1994.345345
- Friedlander B., Porat B. Performance analysis of a null-steering algorithm based on direction-of-arrival estimation. IEEE Transactions on Acoustics, Speech, and Signal Processing, 1989, vol. 37, no. 4, pp. 461–466. DOI: https://doi.org/10.1109/29.17526
- Van Veen B.D., Buckley K.M. Beamforming: A versatile approach to spatial filtering. IEEE ASSP Magazine, 1988, vol. 5, no. 2, pp. 4–24. DOI: https://doi.org/10.1109/53.665
- Tiong S.K. et al. Minimum variance distortionless response beamformer with enhanced nulling level control via dynamic mutated artificial immune system. The Scientific World Journal. 2014. Vol, 2014, pp. 164053. DOI: https://doi.org/10.1155/2014/164053
- Xie J. et al. A robust adaptive beamforming method based on the matrix reconstruction against a large DOA mismatch. EURASIP Journal on Advances in Signal Processing, 2014, vol. 2014, no. 1, p. 91. DOI: https://doi.org/10.1186/1687-6180-2014-91
- Carlson B.D. Covariance matrix estimation errors and diagonal loading in adaptive arrays. IEEE Transactions on Aerospace and Electronic Systems, 1988, vol. 24, no. 4, pp. 397–401. DOI: https://doi.org/10.1109/7.7181
- Du L., Li J., Stoica P. Fully automatic computation of diagonal loading levels for robust adaptive beamforming. IEEE Transactions on Aerospace and Electronic Systems, 2010, vol. 46, no. 1, pp. 449–458. DOI: https://doi.org/10.1109/TAES.2010.5417174
Қосымша файлдар







