Малогабаритное устройство формирования и обработки радиолокационных сигналов L- и S-диапазонов частот
- Авторы: Азаров А.В.1, Данилов Д.Ю.1, Зябриков С.Ю.1
-
Учреждения:
- МИРЭА – Российский технологический университет
- Выпуск: Том 28, № 3 (2025)
- Страницы: 37-48
- Раздел: Статьи
- URL: https://journal-vniispk.ru/1810-3189/article/view/343628
- DOI: https://doi.org/10.18469/1810-3189.2025.28.3.37-48
- ID: 343628
Цитировать
Полный текст
Аннотация
Обоснование. В настоящее время наблюдается интенсивное развитие систем дистанционного зондирования Земли, в связи с чем возрастает интерес к малым космическим аппаратам для решения различного класса задач, что приводит к ужесточению требований масса-габаритных показателей систем и устройств, входящих в состав малых космических аппаратов мини и микроспутникового класса, что, в свою очередь, накладывает ограничения к номенклатуре применяемых компонентов и универсальности разрабатываемых решений на их основе. В ходе текущего этапа работ проведен аналитический обзор тенденций состояния решаемой научно-технической проблемы и перспективных направлений развития бортовой целевой аппаратуры L- и S-диапазонов частот. Цель состоит в создании облика малогабаритной бортовой аппаратуры с применением технологий программно определяемого радио и нового класса трансиверов на базе систем на кристалле. Методы. В рамках исследования были использованы методы анализа и моделирования структур перспективной аппаратуры. Также была проведена оценка возможности адаптации существующих программно определяемых устройств для применения в составе радиолокатора. Результаты исследования показали, что рассматриваемые в работе программно определяемые радиосистемы и их составные части подлежат адаптации к задачам радиолокации, выбраны наиболее современные ключевые элементы, на основе которых составлена структурная схема. Заключение. В результате проведенных исследований выбраны ключевые элементы и построена структурная схема малогабаритного устройства формирования и обработки радиолокационных сигналов L- и S-диапазонов частот на основе адаптирования программно определяемой радиосистемы NAT-AMC для решения задач радиолокации в малогабаритном форм-факторе.
Полный текст
Введение
За последнее десятилетие технологии программно определяемых радиосистем стали жизнеспособными для применения в условиях космического пространства при решении задач связи и радиолокации благодаря предоставлению недорогих аппаратных средств и гибких программных решений. Гибкость, обеспечиваемая концепцией программно определяемой радиосистемы, не только позволяет реализовать одновременное использование нескольких стандартов на одной платформе, но также упрощает внедрение одного стандарта на различных платформах. Перепрограммирование архитектуры системы или изменение параметров зондирующего сигнала на эксплуатационном этапе жизненного цикла с одновременным снижением масса-габаритных показателей устройства позволяет, в свою очередь, использовать такое решение на малых космических аппаратах класса мини- и микроспутников.
1. Обзор тенденций состояния решаемой проблемы
Эволюция современных приемопередающих трактов показывает перспективным применение решений в сочетании радиочастотного интерфейса и технологий цифровой обработки сигналов (ЦОС) / базовой системы на кристалле (СнК) наряду с программными средствами с открытым исходным кодом. Для повышения нагрузки на процессорную часть программируемых логических интегральных схем (ПЛИС) разработаны новые ядра для них. Такие усовершенствования позволили разрабатывать, внедрять и проверять достоверность нескольких сигналов с использованием новой архитектуры конвейерного принципа обработки. Таким образом, эта технология представляется подходящей для поддержки одновременного использования нескольких диапазонов для радиолокационной съемки.
Программно определяемые радиосистемы (ПОР) предлагают функциональные возможности, которые труднодостижимы, такие как переконфигурируемость, адаптивность и автономность, что, в свою очередь, допускает ограниченный объем перепроектирования подсистемы. ПОР могут быть разработаны для создания универсального решения для систем спутниковой связи и радиолокации. Преимущества, предлагаемые ПОР, и непрерывный прогресс в коммерческой цифровой электронике вызвали интерес к малогабаритным радиолокаторам для небольших спутников. Такая гибкость и адаптируемость достигается за счет высокого энергопотребления и сложности [1].
Процесс приведения ПОР от первоначальной концепции и требований к реальности сопряжен с множеством вызовов и трудностей. Хотя теоретические исследования ПОР находятся в стадии расцвета и дают много интересных результатов, внедрение аппаратного обеспечения и разработка систем продвигаются более медленными темпами из-за сложностей, связанных с проектированием и разработкой ПОР на различных уровнях – аппаратном, программном и системном.
Ключевым элементом ПОР всегда были и остаются радиочастотные интерфейсы с гибкой регулировкой частоты, которые могут быть легко соединены с частями ПОР, выполняющими цифровую обработку, будь то чисто программные системы, или сочетание аппаратного и программного обеспечения. ПОР-приемопередатчик должен быть способен использовать любую доступную полосу частот. Он должен иметь широкий динамический диапазон (чтобы иметь возможность работать с большим количеством помех), одновременно принимая желаемый сигнал.
2. Обзор программно определяемых радиосистем
На данный момент проанализированы различные реализации ПОР с архитектурой на основе ЦАП/АЦП и на основе специализированных связных трансиверов с удовлетворяемыми требованиями к полосе пропускания сигнала для радиолокации. В таблице 1 приведена сравнительная характеристика наиболее популярных устройств. Рассмотрим подробнее структурные схемы ПОР, приведенных в таблице. На рис. 1 представлена структурная схема HackRF One, на рис. 2 структурная схема bladeRF x115, на рис. 3 структурная схема Pluto + SDR, на рис. 4 структурная схема USRP B210 [2], на рис. 5 построена обобщенная структурная схема USRP X310, на рис. 6 – структурная схема NAT-AMC-ZYNQUP-SDR.
Таблица. Программно определяемые радиосистемы
Table. Software-defined radio systems
Наименование ПОР | Диапазон частот, МГц | Ширина полосы, МГц | Разрядность АЦП/ЦАП, бит | Быстродействие АЦП/ЦАП, MSPS | Мощность передачи, дБм | Размер, мм |
HackRF One | 1–6000 | 20 | 8 | 20 | > –10/15 | 130 × 80 × 25 |
bladeRF x115 | 300–3800 | 28 | 12 | 40 | 6 | 140 × 101,5 × 25 |
Pluto + SDR | 70–6000 | 40 | 12 | 61,44 | > 10 | 120 × 65 × 25 |
USRP B210 | 50–6000 | 61,44 | 12 | 61,44 | > 10 | 97 × 155 × 39 |
USRP X310 | 10–6000 | 160 | 14/16 | 200/800 | > 20 | 270 × 218 × 39 |
NAT-AMC | 75–6000 | 200 | 14 | 307,2 | 6 | 94 × 69 × 50 |
Рис. 1. Структурная схема HackRF One
Fig. 1. HackRF One block diagram
Рис. 2. Структурная схема bladeRFx115
Fig. 2. BladeRFx115 block diagram
Рис. 3. Структурная схема Pluto+ SDR
Fig. 3. Pluto+ SDR block diagram
Рис. 4. Структурная схема Pluto+ SDR
Fig. 4. Pluto+ SDR block diagram
Рис. 5. Структурная схема USRP X310
Fig. 5. USRP X310 block diagram
Рис. 6. Структурная схема NAT-AMC
Fig. 6. NAT-AMC block diagram
HackRF One состоит из 32-битной микропроцессорной системы LPC4320, которая содержит в своем составе одно ядро Cortex M4 и одно ядро Cortex M0, вентильную матрицу CPLD на XC2C64A, аналоговый выходной каскад ЦАП/АЦП на MAX5864 и радиочастотный трансивер на MAX2837, за синхронизацию работы схемы отвечает тактовый программируемый многоканальный генератор Si5351C, повышающий конвертер частоты построен на синтезаторе частот со встроенным смесителем RFFC5072, коммутация приемной и передающей частей осуществляется посредством переключателей, выходные разъемы SMA, интерфейс управления USB 2.0.
BladeRF x115 состоит из ПЛИС части на Altera (поглощен компанией Intel в 2015 г.) поколения Cyclone V EP4CE115F23CBN и трансивера AD9361, за синхронизацию работы схемы отвечает синтезатор частот, построенный на связке ADF4002, AD5621 и тактового буфера – выходные разъемы SMA, интерфейс управления USB 3.0.
Pluto+ SDR построен на ПЛИС Xilinx поколения Zynq XC7Z10/XC7Z20, который представляет собой СНк из матрицы вентилей и микропроцессорную систему, содержащую два ядра ARM Cortex-A9 и APU, существуют вариации ПОР с трансиверами AD9364 и AD9361, которые отличаются количеством каналов приемной и передающей частей, в AD9364 1 приемный и 1 передающий канал, в AD9361 2 приемных и 2 передающих канала, за синхронизацию работы схемы отвечает термостабилизированный тактовый генератор, выходные разъемы SMA, интерфейс управления Ethernet и USB 2.0. Оригинальная схема ADALM – Pluto+ SDR построена на трансивере AD9363 и имеет только USB 2.0 интерфейс.
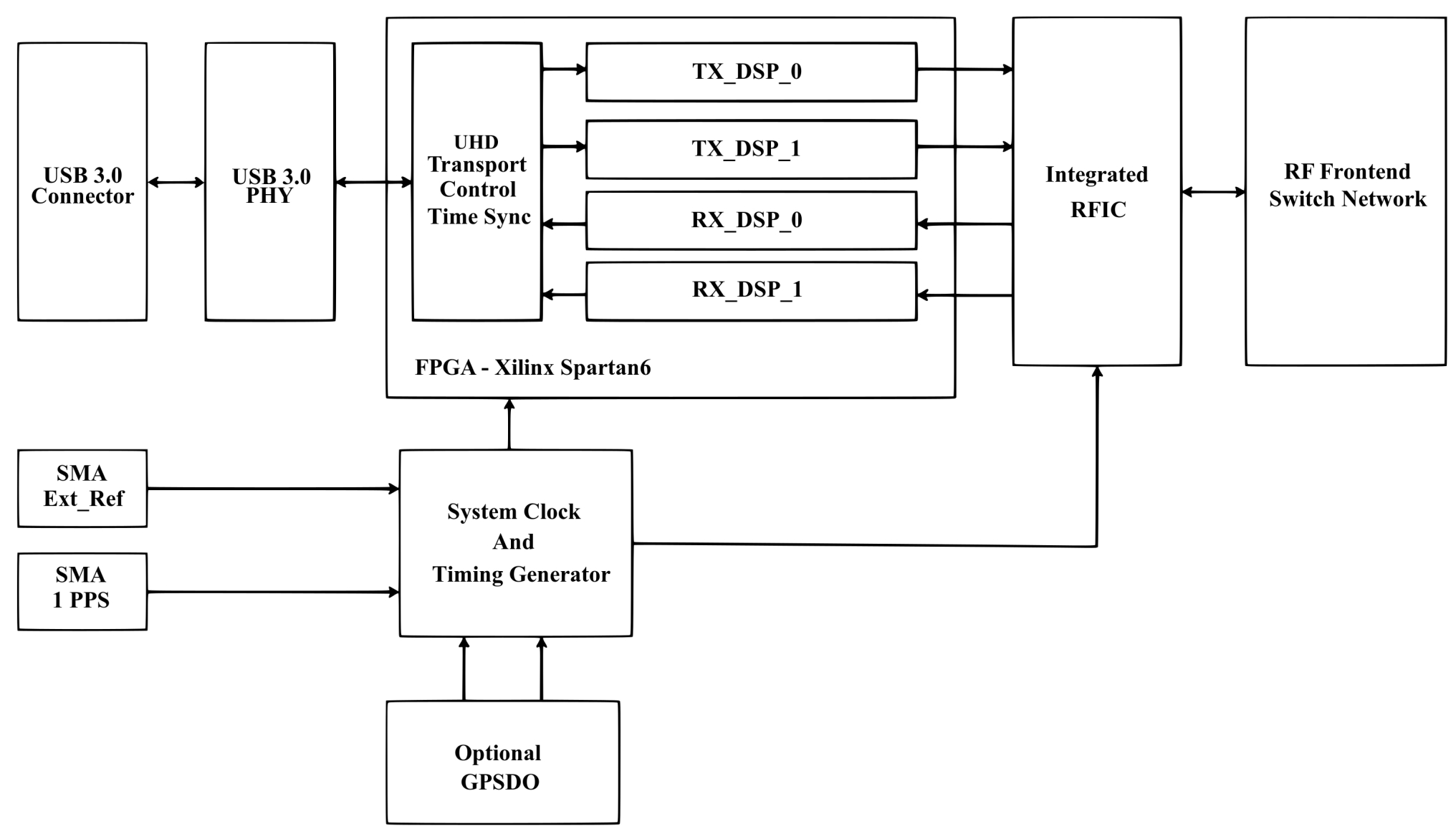
USRP B210 построен на ПЛИС Xilinx поколения Spartan6 XC6SLX75-3FGG484 и трансивера AD9361, за синхронизацию работы схемы отвечает CDLVC1103PWR с внешним термостабилизорованным генератором, выходные разъемы SMA, интерфейс управления USB 3.0 через периферийный контроллер интерфейса USB 3.1 CYUSB3014, так как Spartan 6 не содержит в своей структуре физического интерфейса и реализован на ПЛИС-части [3].
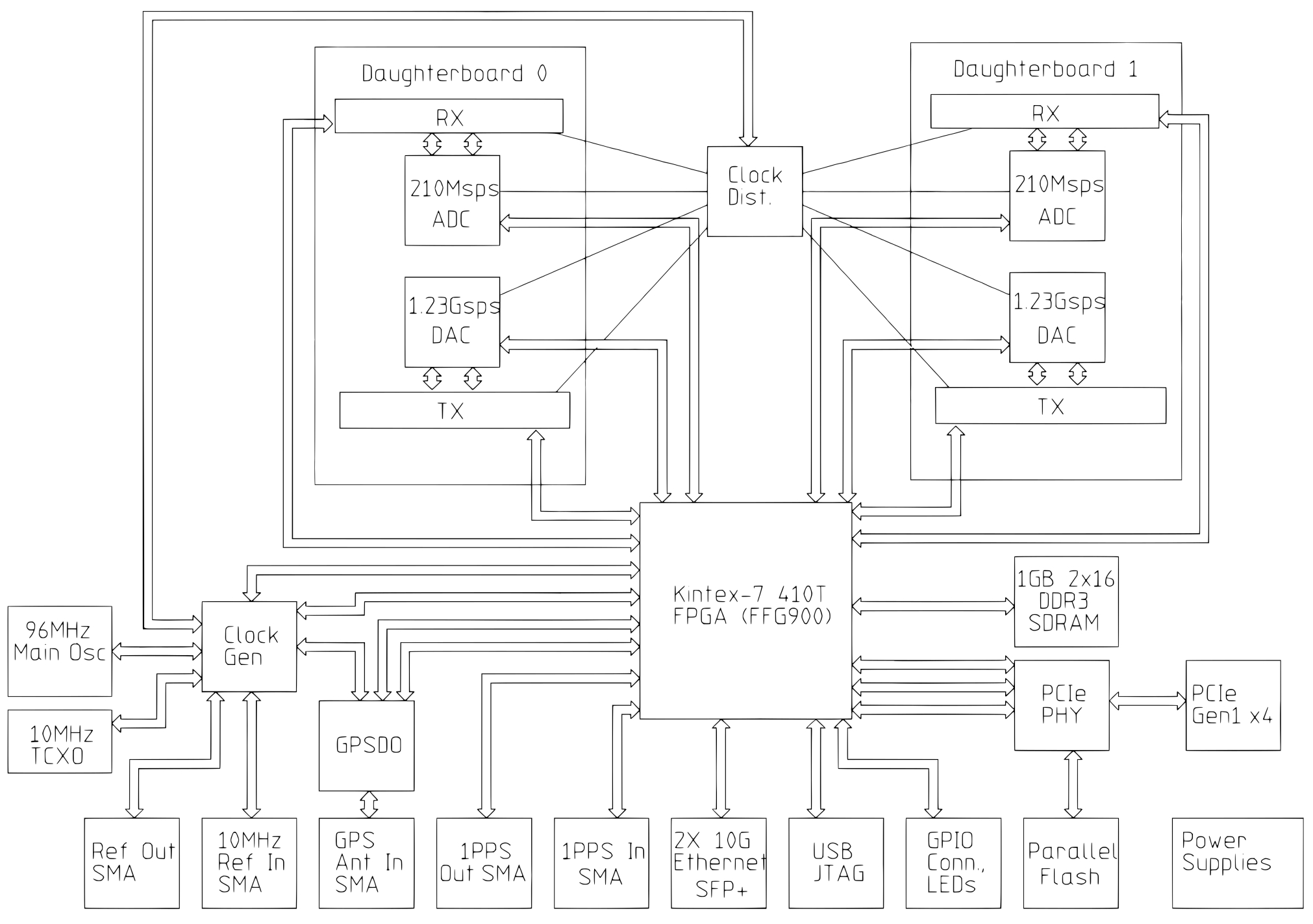
USRP X310, в отличие от предыдущих рассматриваемых ПОР, построен по блочно-модульной конструктивной схеме и имеет возможность заменять дочерние модули трансиверов в зависимости от требуемой полосы частот. Материнская плата Х310 построена на ПЛИС-части Xilinx поколения Kintex-7 XC7K410T, за синхронизацию работы схемы отвечает LMK04803BISQ. Дочерние модули трансиверов содержат ЦАП AD5623RBRMZ-3 и АЦП AD7922ARMZ, выходные разъемы SMA, интерфейсы управления PCI Express Gen1, Ethernet 2 × 10 Gb/s, с использованием оптических трансиверов SFP, USB.
NAT-AMC-ZYNQUP-SDR так же, как и USRP X310, построен по блочно-модульной конструктивной схеме, но в формате FMC, в отличие от X310. Материнская плата построена на ПЛИС-части Xilinx поколения Zynq UltraScale+ ZU7EG или ZU11EG в зависимости от требуемого количества вентилей матрицы, за синхронизацию работы схемы отвечает прецизионный Si5374 с ультранизким джиттером. Дочерний модуль трансивера построен на нескольких ADRV9009, синхронизация работы между которыми осуществляется с помощью HMC7044, интерфейс связи между ПЛИС и трансивером, в отличие от всех предыдущих рассматриваемых вариантов ПОР, – JESD204B, что, в свою очередь, накладывает ряд ограничений по возможности применений подобных трансиверов, но, например, с меньшей полосой пропускания, как у AD9371, который имеет полосу пропускания 125 МГц и интерфейс JESD204B, выходные разъемы NAT-AMC-ZYNQUP-SDR SMA, интерфейсные для управления USB, Ethernet 10/40 Gb/s, PCI Express Gen3.
3. Особенности построения ПОР
Компоненты приемо предающих трактов, такие как усилители мощности, часто проявляют нелинейность. Из-за нелинейных характеристик боковые полосы модуляции взаимодействуют и создают интермодуляционные искажения. Таким образом, помехи могут создаваться из-за интермодуляционных искажений. Поскольку ПОР могут принимать очень широкую полосу частот, вполне вероятно, что они более восприимчивы к интермодуляционным искажениям. Этого можно избежать, установив узкие цифровые фильтры вокруг интересующего сигнала. Система должна обеспечивать высокую линейность МШУ и гетеродина, адекватную фильтрацию, низкий уровень фазовых шумов гетеродина и генерации паразитных сигналов при классическом построении [4; 5], а также иметь хорошую помехозащищенность от блокираторов сигнала при радиоэлектронной борьбе. Ключевыми требованиями к передатчику являются линейность усилителя мощности (УМ) и низкий уровень шума, необходимые для снижения мощности утечки в соседнем канале, высокая эффективность УМ и отвод тепла, а также низкие вносимые потери фильтра для снижения энергопотребления.
Новейшие инновационные решения в радиочастотном тракте и улучшения в возможностях обработки основной полосы частот в настоящее время начинают приводить к изменению восприятия ПОР, например к перемещению цифрового части как можно ближе к антенне. Существует широкий спектр вариантов решения проблем радиотрактов и задач в ПОР.
В идеальной ПОР радиочастотный сигнал преобразуется в цифровую область как можно ближе к антенне. Таким образом, осуществляется цифровая обработка сигнала. Следовательно, АЦП требует более высокой полосы пропускания аналогового входного сигнала и частоты дискретизации, т. е. удвоения требуемой полосы пропускания сигнала для соответствия критериям Найквиста. Однако существует компромисс между полосой пропускания аналогового входа и частотой дискретизации. Аналогичным образом в течение последних нескольких лет применялись различные подходы к обработке основной полосы частот. Быстрое развитие полупроводниковых технологий значительно улучшило цифровую часть. Повсеместно внедряемые принципы микроминиатюризации позволили повысить сложность, что привело к росту производительности и более глубокой степени интегрированной функциональности цифровых схем. Таким образом, цифровые процессоры и программное обеспечение могут легко справляться с требованиями радиолокации.
В условиях реальных временных ограничений задача архитектуры и проектирования основной полосы частот состоит в том, чтобы:
- Достичь достаточной вычислительной мощности, обрабатывая широкополосные сигналы с высокой скважностью в рамках приемлемых ограничений по размеру, массе и мощности.
- Адаптировать к условиям помех и шума, мгновенно изменяя части обработки сигнала путем загрузки различных программных модулей, чтобы по-прежнему поддерживать на приемлемом уровне отношение сигнал/шум.
- Решить архитектурные задачи программного обеспечения, такие как параллелизм, обработка протоколов, перенос и структура кода.
Различные платформы ПОР используют разные типы параллелизма. Наиболее распространенным подходом к переконфигурируемому модулю основной полосы частот является использование ЦОС-процессоров, специализированных интегральных схем и ПЛИС, также известных как микропрограммный подход. Хотя ЦОС-процессоры, возможно, являются оригинальной технологией, позволяющей использовать ПОР, они лучше всего подходят для менее трудоемких форм обработки сигналов, чем для приложений с очень высокой скоростью. Они часто используются для сложной автономной обработки данных, которые были получены и подвергнуты начальной обработке / хранению с помощью другого типа устройства, такого как ПЛИС. Полузаказные интегральные схемы, как правило, представляют собой компактные конструкции, которые используют небольшие аппаратные ресурсы и имеют низкое энергопотребление. Их можно использовать для разработки компонентов, таких как микропроцессоры, блоки памяти или даже СнК. Основным недостатком встроенных ИС является то, что они выводятся на рынок в течение длительного времени и требуют высоких затрат на запуск. Кроме того, аппаратная структура не может быть изменена после изготовления чипов. Хотя ПЛИС применяют аналогичный подход к проектированию и реализуют те же функции, что и полузаказные интегральные схемы, они обеспечивают разработчику большую гибкость, сокращают время разработки и возможность повторного применения существующих решений при разработке новых продуктов. Кроме того, из-за присущего им параллелизма ПЛИС обычно используются для выполнения трудоемких функций цифровой обработки сигналов, что очень хорошо соответствует требованиям ПОР.
Обработка радиолокационных сигналов включает фильтрацию, отделение информации от шума, сжатие и извлечение признаков искомого сигнала. На протяжении многих лет проблемы с ЦОС решались с использованием различных программных и микропрограммных средств. Алгоритмы ЦОС уже давно выполняются на стандартных компьютерах, а также на специализированных процессорах, называемых цифровыми сигнальными процессорами, с использованием программных языков, таких как C/C++, и на специализированном оборудовании, таком как специализированная интегральная схема. В настоящее время для цифровой обработки сигналов используются дополнительные технологии, включая более мощные микропроцессоры общего назначения, ПЛИС, цифровые контроллеры сигналов (в основном для промышленных применений, таких как управление двигателем) и потоковые процессоры, в которых языки описания аппаратного обеспечения, такие как VHDL и Verilog, играют важную роль. Эти языки часто лучше подходят для приложений с ограниченными ресурсами, которыми необходимо точно управлять. Они заставляют учитывать и уточнять даже мельчайшие детали, такие как назначения памяти и потоки. Можно использовать этот низкоуровневый элемент управления для устранения накладных расходов в большинстве высокоуровневых реализаций. На этом уровне можно воспользоваться преимуществами целевой архитектуры или свойствами операционной системы хоста для достижения большей производительности. Однако проблема здесь заключается в отсутствии поддержки программного обеспечения и хорошей документации. Платформы VHDL и GNU Radio имеют легкодоступные блоки, которые можно использовать напрямую. Однако они сопряжены с большими накладными расходами, поскольку блоки слишком универсальны.
Проектирование и внедрение систем ПОР требует сочетания многих разрозненных дисциплин, включая аппаратное обеспечение, встроенное ПО, программное обеспечение, аналоговые схемы, ЦОС и функциональные возможности, как описано выше.
Возможность перепрограммирования в полевых условиях является еще одной ключевой особенностью ПОР, обновления программного обеспечения могут выполняться без какого-либо вмешательства пользователя.
Динамические изменения в функциональности ПОР иногда обсуждаются в контексте радиоприемного тракта, который может динамически изменять свою работу для обеспечения максимальной воспринимаемой пользователем производительности и оптимальной спектральной эффективности. В частности, системы ПОР потенциально могут предлагать реконфигурируемые возможности многорежимной работы.
Платформы на базе СнК, многоядерных и многопроцессорных СнК лучше всего подходят для таких приложений с повышенной эффективностью на системном уровне. Однако задача здесь заключается в эффективном использовании ресурсов и оптимизации дизайна.
В последнее десятилетие ПОР в основном использовались в более крупных космических миссиях ЕКА или НАСА в качестве полезной нагрузки или в качестве испытательного стенда и были менее конкурентоспособны по сравнению с теми, что применялись на Земле. Однако в последние годы в приложениях для малых спутников также использовались технологии ПОР. Спутники на НОО с орбитальными периодами ~98 мин вращаются ~14,7 раза в день. Таким образом, в среднем они посещают определенное среднеширотное место на Земле 5–6 раз в день примерно по 5–15 мин каждый в зависимости от высоты. Возможность переконфигурирования включает в себя изменение / замену программных модулей на борту спутника после запуска, что является одним из основных атрибутов ПОР. В связи с этим крайне важно эффективно использовать это время для выполнения различных задач, таких как загрузка данных радиомаяка / телеметрии и полезной нагрузки, телеуправление спутником и перенастройка программных модулей, когда это необходимо.
4. Предлагаемое малогабаритное устройство формирования и обработки радиолокационных сигналов
Для решения радиолокационных задач в двух диапазонах требуемая ширина полосы для L-диапазона 85 МГц, для S-диапазона 200 МГц, частотный диапазон от 1000 до 4000 МГц соответственно. Из таблицы видно, что по критерию частотного диапазона подходят все рассматриваемые макеты ПОР, по критерию ширины полосы пропускания для L-диапазона – USRP X310, но ширины полосы недостаточно для решения задачи в S-диапазоне частот, макетный образец ПОР, подлежащий доработке под требуемы характеристики и наборы интерфейсов NAT-AMC-ZYNQUP-SDR, конструктивно представляет собой модуль для серверного шасси 1U, внешний вид представлен на рис. 7, в варианте FMC-модуля конструктивно не подходит для включения в состав МКА мини- и микроразмера, использование возможно путем дополнения необходимых интерфейсов для встраивания в состав РСА МКА взамен отдельного блока формирования и отдельного блока обработки радиолокационных сигналов и изменения форм-фактора плат и конструкции.
Рис. 7. Внешний вид модуля ПОР NAT-AMC
Fig. 7. Appearance of the SDR NAT-AMC module
В классическом варианте построения приемопередающий блок объединяет основные аналоговые компоненты радиолокационной аппаратуры, такие как усилитель мощности (УМ), малошумящий усилитель (МШУ), приемник, устройство формирования зондирующего сигнала [6] и др., которые можно заменить трансивером в радиочастотном тракте устройства формирования и обработки радиолокационных сигналов с помощью микросхемы цифрового радиочастотного трансивера ADRV9009, а остальную часть в виде МШУ и УМ предлагается оставить без изменений, такой подход приводит к уменьшению массагабаритных характеристик и упрощению схемотехнического решения. Цифровой трансивер представляет собой интегрированный 4-канальный приемопередатчик, в составе которого 2 канала для передачи и 2 канала для приема сигналов, рабочий диапазон частот от 75 до 6000 МГц, ширина полосы на канал 200 МГц, ширина синтезированной полосы 450 МГц, интерфейс связи JESD204B [7], структурная схема представлена на рис. 8, интерфейс управления режимами SPI имеет GPIO для управления внешними устройствами, такими как выходной усилитель мощности и программируемый аттенюатор или переключатель, для решения задач радиолокации достаточно использовать один трансивер, в отличие от решений задач связи, один канал для формирования линейно-частотно модулированных зондирующих сигналов (ЛЧМ) вертикальной поляризации (ВП) и один канал для формирования ЛЧМ зондирующих сигналов горизонтальной поляризации (ГП), аналогичным образом с приемным трактом 1 ВП + 1 ГП-каналов.
Рис. 8. Структурная схема трансивера ADRV9009
Fig. 8. Block diagram of the ADRV9009 transceiver
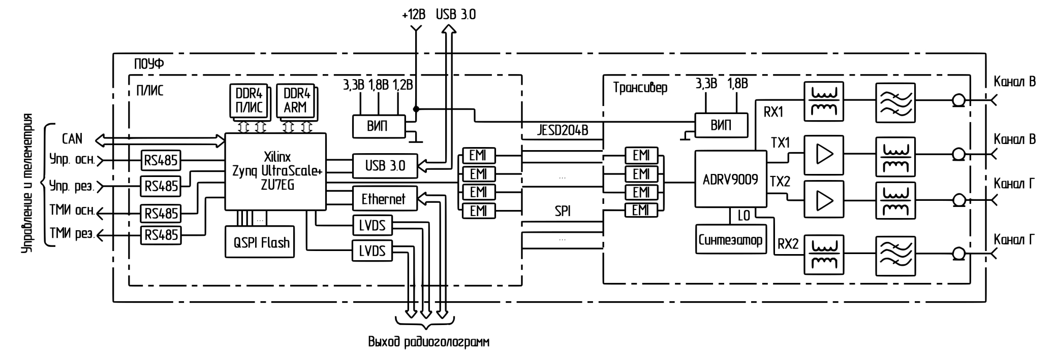
ПЛИС-часть устройства предлагается построить на Xilinx Zynq UltraScale+ ZU7EG ввиду наличия необходимых блоков, в том числе для реализации протокола JESD204B для связи с трансивером радиочастотного тракта, структурная схема ПЛИС ZU7EG представлена на рис. 9
Рис. 9. Структурная схема ПЛИС ZU7EG
Fig. 9. Block diagram of the ZU7EG FPGA
ПЛИС ZU7EG содержит в своем составе 4 высокопроизводительных ядра для решения общих задач Cortex-A53, построенных на архитектуре ARM®, 2 ядра процессора обработки в реальном масштабе времени, отлично подходящих при первичной обработке радиоголограм, и 1 графический двуядерный видеопроцессор Mali-400 MP2. Для вывода данных предлагается использовать Ethernet [8] из состава ПЛИС-части, для большей аппаратной совместимости с ранними версиями бортовой аппаратуры на программируемой логике реализуется LVDS-интерфейс, при управлении режимами работы используется CAN-интерфейс, в свою очередь, для обеспечения совместимости – UART с трансиверами физического уровня RS-485, для связи с трансивером ADRV9009 необходимо использовать JED204B для управления режимами трансивера SPI, для оценки режимов работы – значения Voltage/temp monitor в качестве телеметрируемых параметров. На рис. 10 представлена предлагаемая структура программно определяемого устройства формирования и обработки радиолокационных сигналов, которое состоит из модуля ПЛИС и модуля трансивера, описанных ранее. В модуле трансивера дополнительно установлены выходные усилители и входные полосовые фильтры частот (ППФ), фильтры состоят из 7 короткозамкнутых шлейфов с четвертьволновыми связями [9].
Рис. 10. Структура программно определяемого устройства формирования и обработки радиолокационных сигналов
Fig. 10. Structure of a software-defined device for generating and processing radar signals
Заключение
К достоинствам предлагаемого решения можно отнести универсальность использования и наличие возможности встраивания в уже существующие РСА в рамках ускоренной модернизации, а также и применение при проектировании новых РСА в составе МКА мини- и микроспутникового размера. Благодаря программному переконфигурированию появляется возможность подстраивать как параметры цифровой обработки сигнала и параметры зондирующих импульсов на участке активного существования аппаратуры, так и вносить фундаментальные изменения в алгоритмы формирования и обработки вплоть до замены. Принцип переконфигурируемости ПОР позволяет минимизировать затраты при проектировании новых устройств благодаря отсутствию необходимости перепроектирования аппаратной ПЛИС-части и радиочастотной части трансивера. Уменьшенные габариты устройства соответствуют формату CubeSat 2U.
К недостаткам предлагаемого решения можно отнести высокое энергопотребление 60 Вт, в сравнении с решениями, построенными на специальных микросхемах формирования ЛЧМ и ЦОС DSP-микросхем, высокую стоимость применяемой компонентной базы.
Об авторах
Андрей Вадимович Азаров
МИРЭА – Российский технологический университет
Автор, ответственный за переписку.
Email: andrey_91@bk.ru
SPIN-код: 8722-8465
аспирант
Область научных интересов: радиопередающие и радиоприемные устройства, радиотехнические системы зондирования, локации и навигации, программно определяемые радиосистемы
Россия, 119454, г. Москва, пр. Вернадского, 78Денис Юрьевич Данилов
МИРЭА – Российский технологический университет
Email: vut638@inbox.ru
Область научных интересов: радиопередающие и радиоприемные устройства, радиотехнические системы зондирования, локации и навигации, программно определяемые радиосистемы
Россия, 119454, г. Москва, пр. Вернадского, 78Сергей Юрьевич Зябриков
МИРЭА – Российский технологический университет
Email: vmmarket@mail.ru
аспирант
Область научных интересов: радиопередающие и радиоприемные устройства, радиотехнические системы зондирования, локации и навигации, программно определяемые радиосистемы
Россия, 119454, г. Москва, пр. Вернадского, 78Список литературы
- Оценка пространственного разрешения радиолокатора с синтезированной апертурой антенны VHF-диапазона частот, размещенного на борту беспилотного летательного аппарата по реальной траектории полета / А.В. Борисенков [и др.] // Физика волновых процессов и радиотехнические системы. 2024. Т. 27, № 2. С. 100–110. DOI: https://doi.org/10.18469/1810-3189.2024.27.2.100-110
- Нгуен В.К. Мониторинг судоходства в прибрежных морских районах полуактивной радиолокационной системы с использованием сигналов подсвета спутникового базирования // Известия вузов России. Радиоэлектроника. 2022. № 1. С. 6–16. DOI: https://doi.org/10.32603/1993-8985-2022-25-1-6-16
- Пешков И.В., Фортунова Н.А., Жигулин В.А. Реализация программно-определяемого радиоприемника на базе программируемых логических интегральных схем // Огарев-Online. 2022. Т. 10, № 13. URL: https://ogarev-online.ru/2311-2468/article/view/272751
- Пассивные локационные системы. Перспективы и решения / Е.М. Ильин [и др.] // Вестник СибГУТИ. 2015. № 2 (30). С. 7–20. URL: https://www.elibrary.ru/vnvwuh
- Лопатченко А.С., Малевич И.Ю., Савенко С.А. ЛЧМ-радиолокатор подповерхностного зондирования с повышенной разрешающей способностью // Доклады БГУИР. 2015. № 3 (89). С. 43–48. URL: https://doklady.bsuir.by/jour/article/view/489
- Скрынский В.Р. Радиолокационный комплекс для беспилотных летательных аппаратов // Физика волновых процессов и радиотехнические системы. 2024. Т. 27, № 4. С. 68–72. DOI: https://doi.org/10.18469/1810-3189.2024.27.4.68-72
- Макаренко В. Приемопередатчики ADRV9008/ADRV9009 для систем SDR // Беспроводные технологии. 2019. № 1 (54). С. 32–34. URL: https://elibrary.ru/emobio
- Садеков Д., Ежов В. Zynq Ultrascale+ – адаптируемая интеллектуальная платформа для промышленного Интернета вещей // Электроника: наука, технология, бизнес. 2020. № 4 (195). С. 64–69. DOI: https://doi.org/10.22184/1992-4178.2020.195.4.64.67
- Неганов В.А., Петров И.А. Широкополосные шлейфные структуры и их применение при проектировании устройств СВЧ // Физика волновых процессов и радиотехнические системы. 2016. Т. 19, № 3. С. 70–77. URL: https://journals.ssau.ru/pwp/article/view/7142
Дополнительные файлы












