The introduction of vertical solar power plants into the energy system of the European part of Russia
- Authors: Bubenchikov A.A.1, Goryunov V.N.1, Dorogov B.B.1
-
Affiliations:
- Omsk State Technical University
- Issue: Vol 20, No 1 (2024)
- Pages: 102-110
- Section: POWER INDUSTRY
- URL: https://journal-vniispk.ru/1816-9228/article/view/255105
- DOI: https://doi.org/10.18822/byusu202401102-110
- ID: 255105
Cite item
Full Text
Abstract
Subject of research: optimal placement and operating modes of solar power plants, taking into account the reduction of carbon dioxide emissions.
Purpose of research: determine the influence of different orientations of photovoltaic power plants on carbon dioxide emissions
Object of research: photovoltaic plants
Methods of research: a combination of data coverage analysis models and an analytical hierarchy process
Main results of research: It is shown that vertical photovoltaic systems can reduce storage capacity or reduce the utilization rate of gas-fired power plants. Without any storage options, it is possible to reduce total carbon dioxide emissions to 10.2 million tons per year.
Full Text
ВВЕДЕНИЕ
Выбросы парниковых газов происходят главным образом в результате использования энергии. Очевидно, что энергия ветра и солнца – в изобилии и доступна повсеместно. Кроме того, за последние годы резко упали затраты на возобновляемую электроэнергию от ветряных и фотоэлектрических электростанций, и сегодня возобновляемая электроэнергия обходится дешевле, чем энергия, основанная на ископаемом топливе. К сожалению, энергия ветра и солнца доступна не всегда. Солнечная энергия используется для производства электроэнергии с четкими циклами день – ночь и лето – зима. Энергетические системы будущего требуют большого количества дешевой ветровой и фотоэлектрической электроэнергии в сочетании с гибкостью линий электропередачи, управлением спросом, накоплением энергии и объединением энергетических секторов.
В областях с большой плотностью населения наличие площадей для фотоэлектрических электростанций является решающим вопросом. Часто обсуждается, следует ли выделять территорию для производства продуктов питания или электроэнергии. Также из-за быстрого сокращения биологических видов, нужно больше пространства для продвижения биоразнообразия.
В настоящее время разработаны две концепции:
- Фотоэлектрические модули монтируются так высоко, что сельскохозяйственная обработка может производиться под модулями.
- Сельскохозяйственная обработка производится между рядами модулей. Частным случаем этой концепции является установка бифациальных модулей вертикально, что сводит к минимуму потерю площади.
Чтобы различать солнечную и энергетическую систему, в данной статье все системы, независимо от их размера, будут называться солнечными электростанциями.
Типичный пик выработки солнечной электроэнергии на электростанциях с наклоном примерно на 20–35 ° к югу (для северного полушария) смещен с полудня на утренние и послеполуденные часы. Теоретический потенциал энергии высок из-за доступности сельскохозяйственных земель – до 1700 ТВт·ч/год.
Общая выработка электроэнергии установки (в кВт·ч), использующей вертикально установленные двухфазные модули, может быть немного выше, чем при использовании оптимальных наклонных систем, будет ли она немного выше или в конечном итоге ниже, зависит от двухфазности используемых модулей, широты установки, рассеянной доли инсоляции и альбедо грунта.
При моделировании энергетических систем часто рассматриваются только оптимальные наклонные системы и системы слежения, поскольку вертикальная система является относительно новой на рынке. Установки, использующие вертикальные двухфазные модули, не всегда могут быть ориентированы с востока на запад из-за ограничений, таких как топография или геометрия соответствующего участка земли. Чтобы учесть влияние различных ориентаций, в расчеты солнечной отдачи также включаются вертикальные бифациальные системы, ориентированные с севера на юг.
Чтобы сделать эффект выравнивания модулей видимым, базовые параметры модели энергетической системы поддерживаются постоянными. Систематически изменяется только доля установленной мощности различных вариантов фотоэлектрических систем и рассматриваются два сценария, в которых интегрировано или отсутствует крупномасштабное хранилище электроэнергии. Аналогичным образом не рассматриваются средства отслеживания. При сочетании различных распределений выработки фотоэлектрической энергии сравниваются результирующие выбросы CO2, а также потребление природного газа электростанциями с газовым пиком. Следовательно, в данной статье исследуется влияние изменения выработки солнечной энергии на энергетическую систему, чтобы оценить степень, в которой фотоэлектрические электростанции, использующие вертикально установленные двухфазные модули, могут внести свой вклад в будущую энергетическую систему.
РЕЗУЛЬТАТЫ И ОБСУЖДЕНИЕ
Принятие решения о выборе площадки для солнечной электростанции
К концу 2020 года, на фоне сбоев в цепочке поставок и задержек в строительстве, вызванных кризисом Covid-19, производство электроэнергии из возобновляемых источников выросло на 5 %, главным образом, благодаря реализации новых проектов в области ветровой и солнечной энергетики, и потому, что возобновляемые источники энергии, как правило, используются раньше других источников энергии [14].
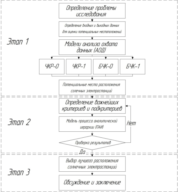
Разработана структура с комбинацией моделей анализа охвата данных (АОД) и процесса аналитической иерархии (ПАИ) для определения наиболее подходящих площадок. Для этой цели были использованы две базовые модели, Чарнса-Купера-Роудса (ЧКР) и Банкера-Чарнса-Купера (БЧК), а также модель оценки эффективности в АОД. По результатам АОД, местоположения с идеальными показателями эффективности затем были ранжированы. На рис. 1 подробно описана процедура исследования. Для описания необходимо на первом этапе использовать модели АОД, чтобы сузить список местоположений путем измерения их эффективности.
Рисунок 1. Схема принятия решения [2].
Путем применения методологии АОД получены веса факторов (т. е. критериев и подкритериев) и альтернатив (местоположений), которые влияют на процесс принятия решений для фотоэлектрических объектов (табл. 1). Веса факторов: критерий 1 (К1) – характеристика местоположения, критерий 2 (К2) – технические параметры, критерий 3 (К3) – экономические факторы, критерий 4 (К4) – социальные факторы, критерий 5 (К5) – характеристики окружающей среды.
Таблица 1. Матрица попарного сравнения между критериями [2].
Критерии | К1 | К2 | К3 | К4 | К5 | Вес |
К1 | 0,053 | 0,029 | 0,041 | 0,076 | 0,034 | 0,047 |
К2 | 0,158 | 0,088 | 0,068 | 0,107 | 0,051 | 0,094 |
К3 | 0,263 | 0,265 | 0,205 | 0,178 | 0,305 | 0,243 |
К4 | 0,368 | 0,441 | 0,616 | 0,533 | 0,508 | 0,494 |
К5 | 0,158 | 0,176 | 0,068 | 0,107 | 0,102 | 0,122 |
Сумма | 1 | 1 | 1 | 1 | 1 | 1 |
Следующая процедура представляет пример определения веса (весов собственного вектора) основных критериев (К1, К2, К3, К4 и К5) и расчета коэффициента согласованности. Аналогичные процедуры для подкритериев и альтернатив применяются для получения их весовых коэффициентов.
Вычисляется наибольший собственный вектор (λmax) для определения индекса согласованности (CI), случайного индекса (RI) и коэффициента согласованности (CR) следующим образом:
Здесь рассматриваются пять основных критериев. Мы получаем n = 5. Следовательно, λmax и CI вычисляются следующим образом:
Для n = 5 мы получаем RI = 1,12, а коэффициент консистенции (CR) рассчитывается следующим образом:
Из результата следует, что CR = 0,042 < 0,1, следовательно, матрица попарного сравнения согласована, и результаты являются удовлетворительными.
Входные параметры скорости ветра и осадков снижают эффективность фотоэлектрической системы. Фактически ветер также обладает охлаждающим эффектом, который повышает эффективность фотоэлектрических модулей, где снижение температуры солнечного модуля на 1 оС может привести к повышению эффективности на 0,5 %.
Температуры Европейской части России значительно отличаются, разнообразная география и климат приводят к различным условиям для использования солнечной энергией, которые варьируются в зависимости от местоположения [1].
Что касается результатов взвешивания критериев, социальный (К4) имеет наибольший приоритет (0,494) среди остальных. Высота над уровнем моря, расстояние от солнечной электростанции, стоимость передачи электроэнергии, вспомогательные механизмы и топография являются наиболее значимыми подкритериями в их наборе. Согласно обобщенному рейтингу, «механизмы поддержки», «стоимость передачи электроэнергии» и «спрос на потребление электроэнергии» с весами 0,332, 0,122 и 0,086 соответственно, признаны наиболее значимыми подкритериями.
После определения наиболее предпочтительного варианта рельефа для каждого подкритерия производится сравнение всех наиболее предпочтительных вариантов рельефа, чтобы определить окончательный рейтинг вариантов.
В результате анализа будет получен окончательный рейтинг вариантов рельефа, который будет указывать на наиболее предпочтительный вариант для установки солнечной электростанции [17].
Распределение выхода солнечной энергии
В качестве типа установки используется фиксированная высота, а в качестве типа модуля – кристаллический кремний. Во всех случаях средняя выработка энергии рассчитывается в четырех различных точках Европейской части России (Архангельск – Север, Пермь – Восток, Краснодар – Юг, Калининград – Запад). Эти профили объединяются в один результирующий профиль для каждого варианта рельефа путем усреднения профилей каждого местоположения [3].
Сокращения:
- о–Ю – обращенный на Юг;
- о–С – обращенный на Север;
- о–В – обращенный на Восток;
- о–З – обращенный на Запад;
- СУТ – стандартные условия тестирования;
- ФЭГИС – Фотоэлектрическая Географическая Информационная Система;
Распределение выхода энергии для наклонных солнечных электростанций, обращенных на юг (о–Ю), было рассчитано при угле наклона модуля 20 °, поскольку такое условие часто используется для фотоэлектрических установок, которые оптимизированы по финансовым параметрам, т. е. инвестиционным затратам и затратам на площадь. Годовая выработка энергии для электростанции о–Ю составляет 1020 кВт·ч. Для вертикальных бифациальных солнечных электростанций рассчитывается выход энергии для двух солнечных модулей, обращенных на восток и запад (о–ВЗ) или север и юг (о–СЮ), и почасовая сумма обоих используется во всех последующих расчетах. Бифациальность принимается равной 90 %, т. е. мощность задней панели модулей составляет 90 % от мощности передней панели в стандартных условиях тестирования (СУТ). В случае электростанции о–ВЗ мощность распределяется как на восток, так и на запад, т. е. 95 % мощности системы СУТ доступно с обеих сторон. Годовой выход энергии составляет 999 кВт·ч.
Выработка энергии от реальных вертикальных электростанций может быть немного выше, чем рассчитано по ФЭГИС (Фотоэлектрическая географическая информационная система). Альбедо с поверхности земли может быть плохо интегрировано в алгоритм моделирования ФЭГИС, что приводит к более низким значениям по сравнению с измеренными данными. Для дальнейших расчетов мы используем данные ФЭГИС, поэтому эффект может быть недооценен. Для о–СЮ задняя сторона модуля всегда обращена на север. В табл. 2 перечислены различные варианты солнечных электростанций, их характеристики расположения и годовая производительность. В дополнение к единственному анализу профилей выработки электроэнергии для всех типов фотоэлектрических систем в качестве примера для иллюстрации взаимосвязи распределений определен комбинированный профиль с долями 25 % о–Ю, 50 % о–ВЗ и 25 % о–СЮ [11].
Таблица 2. Уклон и азимут солнечных электростанций в ФЭГИС.
Параметр | о–Ю | о–ВЗ | о–СЮ | Комбинация 25/50/25 |
Уклон | 20° | 90° | 90° | смешанный |
Азимут | 0° | −90° и 90° | 0° и 180° | смешанный |
Годовая выработка | 1020 кВт•ч | 999 кВт•ч | 926 кВт•ч | 986 кВт•ч |
Моделирование энергетической системы
Необходимо сократить выбросы парниковых газов к 2030 году минимум на 80 % по сравнению с 1990 годом (рис. 2). Это соответствует значению ниже 250 млн т CO2/год к 2030 году в качестве целевого показателя на пути к климатической нейтральности. Следует отметить, что при достижении поставленной цели не учитывается экспорт или импорт электроэнергии, чтобы рассмотреть максимально безопасный сценарий.
Рисунок 2. Выбросы парникового газа по годам в CO2-эквиваленте [6].
Электрические и водородные приводы заменяют около 70 % ископаемого топлива. Следовательно, крупномасштабное экологически нейтральное производство водорода с помощью электролиза играет важную роль в сокращении выбросов CO2 и гарантии надежности поставок. Водород является важным энергоносителем для работы гибких газовых электростанций, которые компенсируют потери электроэнергии благодаря энергетической системе, основанной на переменных возобновляемых источниках энергии. Выброс парниковых газов измеряется в СО2–эквивалентах, на рис. 2 представлено количество выбросов за 10 лет при разных условиях защиты климата.
Для обеспечения высокой гибкости системы (в случае интеграции) в краткосрочной перспективе используется электрический накопитель мощностью 1 ТВт и емкостью 1 ТВт·ч.
В предлагаемой модели спрос на электроэнергию к 2030 году увеличится до 1214 ТВт·ч/год и будет зависеть, главным образом, от допущений по энергосбережению и переходу на другое топливо. Наибольшие неопределенности связаны с теплоснабжением зданий и промышленности.
Выбросы CO2 снижаются до желаемого уровня в 227 млн тонн в год, если в модель интегрированы накопители электроэнергии и фотоэлектрические системы, на 100 % ориентированные на юг.
Выход солнечной энергии с различной ориентацией модуля позволяет снизить зависимость от солнечной активности и повысить устойчивость системы энергоснабжения.
При переходе на другое топливо возможно использование различных источников энергии, таких как ветроэнергетика, гидроэнергетика, биомасса и т. д. Вариация использования этих источников также может влиять на количество электроэнергии, производимой системой [4].
Выход солнечной энергии с различной ориентацией модуля
При сравнении отдачи энергии с различной ориентацией модулей становятся очевидными различия во временном распределении мощности. На рис. 3 в качестве примера показан солнечный летний день.
Рисунок 3. Производство фотоэлектрической электроэнергии солнечным летним днем с различной ориентацией [6].
Производство электроэнергии с использованием фотоэлектрических установок с наклоном на юг (о–Ю) и вертикальных фотоэлектрических установок с направлением восток – запад (о–ВЗ) могут дополнять друг друга. Вертикальные электростанции с направлением север – юг (о–СЮ) в целом обеспечивают более низкую производительность. Комбинированная система, состоящая из 25 % о–Ю, 50 % о–ВЗ и 25 % о–СЮ, показывает хорошо сбалансированную генерацию с 7 утра до 16 вечера.
Солнечные электростанции, обращенные к Северу и Югу (синие), вырабатывают в целом на 27 % меньше электроэнергии в солнечный летний день по сравнению с электростанциями о–Ю (табл. 2). Два пика в 0,18 Вт приходятся на 5 часов утра и 6 часов вечера из-за влияния стороны солнечного модуля, обращенной на север. Кроме того, очевиден общий меньший пик в полдень – 0,59 Вт. Если упомянутые выше ориентации модулей объединить с точки зрения выработки электроэнергии, то в результате получится профиль, сочетающий в себе преимущества и недостатки электростанций. Разделение мощности на 25 % о–Ю, 50 % о–ВЗ и 25 % о–СЮ солнечных электростанций (серый пунктир) приводит к устойчивой и более широкой кривой выработки электроэнергии в течение дня, в которой, в частности, доминируют электростанции о–ВЗ. Высокий полуденный пик нивелируется снижением выработки электроэнергии электростанциями ВНС [6].
Таблица 3. Пример выработки энергии электростанциями различной ориентации в солнечный летний и зимний день.
Направление | Производительность в летний день, Вт | Производительность в зимний день, Вт |
о–Ю | 6.3 | 2.2 |
о–ВЗ | 7.5 | 1.7 |
о–СЮ | 4.6 | 4.0 |
смеш. 25/50/25 | 6.6 | 2.4 |
Таким образом, вертикальный монтаж бифациальных солнечных модулей в направлении восток – запад в качестве дополнения к электростанциям, ориентированным на юг, может обеспечить дополнительную ценность для стабилизации электросети. Это дополнительное значение обусловлено, в частности, дополнительными схемами выработки электроэнергии для балансировки в дневное время, поскольку обычный полуденный пик на южных установках смещен в сторону утренних и вечерних часов. В этой образцовой модели на 2030 год (сокращение выбросов CO2 на 80% по сравнению с 1990 годом) можно сэкономить 10,2 млн тонн CO2/год без накопления электроэнергии, ориентируя 80 % установленной фотоэлектрической мощности (эквивалентно 280 ГВт) вертикально с востока на запад.
Причинами сокращения выбросов являются изменение в распределении солнечной энергии, более эффективное использование накопителей электроэнергии и, как следствие, снижение спроса на выработку электроэнергии на гибких электростанциях, работающих на ископаемом газе. Меньшая экономия за счет крупномасштабной интеграции аккумуляторных батарей является результатом того факта, что приходится сокращать потребление электроэнергии на юге. Стабилизирующий эффект вертикальной выработки электроэнергии, ориентированной с востока на запад, тем не менее, заметен, хотя и в меньшей степени [18].
Вертикальная ориентация фотоэлектрических модулей может применяться на двухсторонних электростанциях открытого типа, а также на фасадах зданий или вдоль транспортной инфраструктуры. Следовательно, концепция вертикальных фотоэлектрических систем значительно увеличивает пространство, доступное для применения солнечной энергии, и в то же время обеспечивает подход к адаптации производства энергии к спросу на энергию.
Оптимизация энергосбережения также имеет важное значение. Реализация энергоэффективных технологий, улучшение энергетической эффективности зданий и промышленных процессов могут значительно снизить потребление электроэнергии [3].
ЗАКЛЮЧЕНИЕ И ВЫВОДЫ
В этой статье предлагается комбинированный подход АОД и ПАИ для оценки солнечных ресурсов с учетом различных качественных и количественных факторов. Для демонстрации эффективности модели используется тематическое исследование солнечной энергетики Европейской части России. Результаты этого исследования могут стать важным материалом для заинтересованных сторон в области возобновляемых источников энергии для ускорения их развития в свете быстрого технического прогресса, национальных обязательств по охране окружающей среды и целей устойчивого развития. Поскольку инструменты, использованные в исследовании, могут быть применены в любой точке мира, это исследование может стать полезным руководством для других исследователей, правительств или частных инвесторов.
В будущих исследованиях стоит рассмотреть системы возобновляемой энергетики, такие как солнечная фотоэлектрическая энергия ветра и солнечная биомасса, для получения более рентабельных и технически осуществимых проектов по использованию возобновляемых источников энергии. Соответственно, оценка возможностей в производстве такого количества видов возобновляемых источников энергии практически обязательна, и может внести значительный вклад в развитие возобновляемой энергетики. Всестороннее исследование может быть проведено путем включения других критериев оценки, таких как цена земли, уклон местности, облачность и другие факторы, которые могут повлиять на выбор площадки для солнечных фотоэлектрических установок.
About the authors
Anton A. Bubenchikov
Omsk State Technical University
Author for correspondence.
Email: privetomsk@mail.ru
ORCID iD: 0000-0002-2923-1123
SPIN-code: 4357-5273
Candidate of Technical Sciences, Associate Professor
Russian Federation, OmskVladimir N. Goryunov
Omsk State Technical University
Email: vladimirgoryunov2016@yandex.ru
SPIN-code: 2765-2945
Doctor of Technical Sciences, Professor
Russian Federation, OmskBoris B. Dorogov
Omsk State Technical University
Email: boris.dorogov.75@mail.ru
SPIN-code: 8291-5213
Postgraduate Student
Russian Federation, OmskReferences
- Avramenko, A. A. Exploring relationship between oil prices and renewable energy investments / A. A. Avramenko, A. A. Mujumdar // Market Economy Problems. – 2020. – No. 1. – P. 116–125.
- C. –N. Wang, N. –A. –T. Nguyen, T. –T. Dang and J. Bayer, «A Two–Stage Multiple Criteria Decision Making for Site Selection of Solar Photovoltaic (PV) Power Plant: A Case Study in Taiwan,» in IEEE Access, vol. 9, pp. 75509–75525, 2021
- C.–C. Kung and B. A. McCarl, «The potential role of renewable electricity generation in Taiwan», Energy Policy, vol. 138, Mar. 2020.
- Dmitrii Bogdanov, Ashish Gulagi, Mahdi Fasihi, Christian Breyer Full energy sector transition towards 100% renewable energy supply: integrating power, heat, transport and industry sectors including desalination Appl Energy, 283 (2021).
- E. Vartiainen, G. Masson, C. Breyer, D. Moser and E. R. Medina, «Impact of weighted average cost of capital capital expenditure and other parameters on future utility–scale PV levelised cost of electricity», Prog. Photovolt. Res. Appl., vol. 28, no. 6, pp. 439–453, Jun. 2020.
- Integration of vertical solar power plants into a future German energy system / Sophia Reker // Smart Energy. – 2022. – № 7. С. 1–12. – URL: https://www.sciencedirect.com/ (дата обращения 06.01.2024)
- K. Hansen, C. Breyer and H. Lund, «Status and perspectives on 100% renewable energy systems», Energy, vol. 175, pp. 471–480, May 2019.
- K.–C. Huang, C.–J. Lee, S.–L. Chan and C.–H. Tai, «Vulnerability assessment and adaptation strategies for the impact of climate change on agricultural land in Southern Taiwan», Sustainability, vol. 12, no. 11, pp. 4637, Jun. 2020.
- Kenneth Hansen, Brian Vad Mathiesen, Iva Ridjan Skov Full energy system transition towards 100% renewable energy in Germany in 2050 Renew Sustain Energy Rev, 102 (2019), pp. 1–13.
- Kenneth Hansen, Christian Breyer, Henrik Lund Status and perspectives on 100% renewable energy systems Energy, 175 (2019), pp. 471–480.
- M. Jaxa–Rozen and E. Trutnevyte, «Sources of uncertainty in long–term global scenarios of solar photovoltaic technology», Nature Climate Change, vol. 11, no. 3, pp. 266–273, Mar. 2021.
- M. Shao, Z. Han, J. Sun, C. Xiao, S. Zhang and Y. Zhao, «A review of multi–criteria decision making applications for renewable energy site selection», Renew. Energy, vol. 157, pp. 377–403, Sep. 2020.
- Mammadov, N. Analysis of the smart grid system for renewable energy sources / N. Mammadov, K. Mukhtarova // Universum: технические науки. – 2023. – No. 2–6(107). – P. 64–67.
- N. M. Haegel et al., «Terawatt–scale photovoltaics: Transform global energy», Science, vol. 364, no. 6443, pp. 836–838, 2019.
- Optimized Controller Gains Using Grey Wolf Algorithm for Grid Tied Solar Power Generation with Improved Dynamics and Power Quality / Veramalla Rajagopal; Danthurthi Sharath; Gundeboina Vishwas // Chinese Journal of Electrical Engineering. – 2022. – № 8. С. 75–85. – URL: https://ieeexplore.ieee.org/ (дата обращения 07.01.2024).
- V. C. Broto and J. Kirshner, «Energy access is needed to maintain health during pandemics», Nature Energy, vol. 5, no. 6, pp. 419–421, Jun. 2020.
- Булин, М. Н. Анализ факторов, влияющих на выбор потенциальной площадки возобновляемых источников энергии / М. Н. Булин. – Текст: непосредственный // Альтернативная энергетика. – 2021. – Т. 2, № 2. – С. 60–63.
- Гухман, Г. А. Развитие использования возобновляемых источников энергии / Г. А. Гухман. – Текст: непосредственный // Энергия: экономика, техника, экология. – 2020. – № 4. – С. 32–37.
Supplementary files





