Technologies to improve wellbore cleaning
- Authors: Tretyak A.Y.1
-
Affiliations:
- South Russian State Polytechnic University (NPI) named after M.I. Platov
- Issue: Vol 335, No 6 (2024)
- Pages: 7-13
- Section: Articles
- URL: https://journal-vniispk.ru/2500-1019/article/view/263519
- DOI: https://doi.org/10.18799/24131830/2024/6/4716
- ID: 263519
Cite item
Full Text
Abstract
Relevance. The main technological process when constructing oil and gas wells is effective wellbore cleaning, especially when drilling horizontal and deviated wells. The article deals with the peculiarities of wellbore drilling technology according to the traditional method in combination with water and hydrocarbon-based polymer-clay solutions, as well as improvement of drilling mud removal properties taking into account density, drilling pump productivity, rheological parameters of the fluid, geometry of the well annulus, shape and concentration of drill cuttings particles. Insufficient cleaning of the well bottom hole causes undesirable phenomena leading to various complications. The object of the research is the technology of cuttings transportation along the wellbore to the surface. The basic formulas characterizing the work of interchangeable hydromonitor nozzles are given. The quality of wellbore cleaning depends on the degree of flow turbulence.
Aim. To develop technical solutions that contribute to improving the quality of wellbore cleaning.
Methods. Optimal geometrical parameters of hydraulic nozzles for double-deck anti-vibration bit and design of drill pipes with helical ribs have been established by experimental works.
Results and conclusions. A double-deck anti-vibration bit with interchangeable hydro-monitor nozzles and drill pipes with helical ribs were developed. Implementation of these developments in the practice of drilling operations will improve the quality of wellbore cleaning by creating a turbulent regime of drilling fluid flow.
Full Text
Введение
Самым важным процессом во всей технологии сооружения нефтегазовых скважин является эффективная очистка ствола скважины. Задача становится еще более актуальной, когда сооружаются наклонно-направленные и горизонтальные скважины, а зенитный угол составляет более 80°, при этом технология промывки таких скважин значительно отличается от технологии промывки вертикальных скважин [1].
Правильно подобранная технология очистки ствола скважины оказывает существенное влияние на аварийность, стоимость и скорость бурения. Неэффективная очистка скважины приводит к накоплению шлама в стволе, что способствует возникновению затяжек, заклинок, образованию шламовых подушек и прихвату бурильной колонны.
При промывке горизонтальной части скважин частицы шлама распределяются достаточно равномерно в поперечном сечении потока, а направление силы тяжести частиц горных пород – перпендикулярно потоку жидкости, следовательно, механизм удаления шлама в стволе скважин иной. В этом случае шлам накапливается в нижней части ствола скважины, а при бурении вертикальных и наклонно-направленных скважин крупные частицы шлама могут повторно попадать на забой скважины и измельчаться резцами долота, что способствует уменьшению скорости бурения.
Скорость движения бурового раствора зависит от производительности бурового насоса, реологических параметров жидкости, геометрии кольцевого пространства скважин, размера, плотности, формы и концентрации частиц шлама.
Вынос разбуренной горной породы на устье скважины происходит двумя путями: мелкие частицы шлама растворяются в буровом растворе, при этом увеличивается его вязкость и плотность, крупные частицы шлама выносятся на дневную поверхность за счет скоростного напора промывочной жидкости. Выносная способность бурового раствора зависит от скорости восходящего потока, степени турбулентности и его структурно-механических свойств. Сумма этих факторов и определяет выносную эффективность бурового раствора. Особенно важен фактор турбулентности бурового раствора при сооружении наклонно-направленных и горизонтальных скважин [2, 3].
Известно, что при разрушении долотом горной породы на забое скважины образуется скопление крупных частиц шлама, которые повторно попадают под резцы долота и разрушаются на более мелкие. Механическая скорость бурения будет значительно повышаться, если улучшить качество очистки ствола скважины.
Методы и результаты исследования
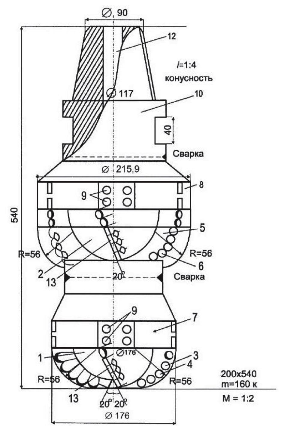
С целью оптимизации очистки ствола скважин разработано двухъярусное антивибрационное долото со сменными насадками (рис. 1).
Рис. 1. Двухъярусное антивибрационное долото: 1 – забуривающий ярус; 2 – разбуривающий ярус; 3 – режущие лопасти нижнего забуривающего яруса; 4 – резцы нижнего разбуривающего яруса; 5 – режущие лопасти верхнего разбуривающего яруса; 6 – резцы верхнего разбуривающего яруса; 7, 8 – стабилизаторы; 9 – штыри; 10 – хвостовик; 11 – сменные гидромониторные насадки; 12 – промывочное отверстие; 13 – конусные PDC верхнего и нижнего ярусов
Fig. 1. Two-tier antivibration chisel: 1 – small driller tier; 2 – large drilling tier; 3 – cutting blades of the lower boring small tier; 4 – cutters of the lower drilling big tier; 5 – cutting blades of the top drilling big tier; 6 –blades of the top drilling big tier; 7, 8 – stabilizers; 9 – pins; 10 – shank; 11 – replaceable hydro-monitor nozzles; 12 – washing hole; 13 – cone PDCs of the upper and lower tiers
При проектировании породоразрушающего инструмента главной задачей является выбор геометрических параметров резцов и гидромониторных насадок. На процессы очистки ствола скважины влияют параметры истекающей струи бурового раствора, которые зависят от конструкции гидромониторных насадок. При выборе оптимального профиля насадок, их количества и ориентации гидромониторных отверстий необходимо учитывать инженерные расчеты и результаты моделирования течения потока промывочной жидкости в гидромониторных каналах. Известно, что режим промывки скважины будет оптимальным, если скорость истечения бурового раствора из насадок будет более 40 м/с, при этом будет получен наибольший гидромониторный эффект за счет увеличения силы удара струи о забой скважины [4–8].
Известно, что из-за возникновения гидромеханического давления под действием высокого напора струи бурового раствора, выходящей из гидромониторных насадок долота, происходит гидравлический удар, в результате чего поры горной породы на забое скважины, расширяясь, разрушаются. Происходит одновременно гидромеханическое разрушение горных пород струёй бурового раствора и резцами PDC бурового долота, при этом осуществляется эффективная очистка забоя скважины от шлама. При истечении бурового раствора через насадки потенциальная энергия жидкости (давление) переходит в кинетическую энергию, то есть в скоростной напор струи. Выходящий из насадок буровой раствор становится турбулентным.
Схема установки резцов PDC показана на рис. 2.
Рис. 2. Двухъярусное антивибрационное долото (вид снизу): 4 – резцы нижнего разбуривающего яруса; 6 – резцы верхнего разбуривающего яруса; 11 – сменные гидромониторные насадки; 13 – конусные PDC верхнего и нижнего ярусов
Fig 2. Two-tier antivibration bit (bottom view): 4 – cutters of the lower drilling tier; 6 – cutters of the upper drilling tier; 11 – replaceable hydro-monitor nozzles; 13 – cone PDCs of the upper and lower tiers
При изготовлении высокоэффективных буровых долот главной задачей является подбор параметров гидромониторных насадок. При выборе оптимального профиля гидромониторных насадок, их количества и ориентации необходимо, прежде всего, выполнить инженерные расчеты. Критерием качества очистки забоя скважины является число Рейнольдса (Re), которое позволяет определить режим течения бурового раствора. Число Рейнольдса определяется по формуле:
где V – средняя скорость течения бурового раствора, м/с; – кинематическая вязкость, м3/с; – гидравлический радиус, d – диаметр скважины, м.
Если Re<2000, то буровой раствор будет двигаться по стволу скважины в ламинарном режиме, если 2000<Re<4000, то будет выполняться переходный режим, если Re>4000, то режим будет турбулентным.
Известно, что из-за возникновения гидромеханического давления под действием высокого напора струи бурового раствора, выходящей из гидромониторных насадок долота, происходит гидравлический удар, в результате чего улучшается разрушение горных пород. Происходит одновременно гидромеханическое разрушение горных пород струёй бурового раствора и резцами PDC бурового долота, при этом осуществляется эффективная очистка забоя скважины от шлама. При истечении бурового раствора через насадки потенциальная энергия жидкости (давление) переходит в кинетическую энергию, то есть в скоростной напор струи. Выходящий из насадок буровой раствор становится турбулентным, так как число Рейнольдса (Re) превышает 4000. Турбулентное течение бурового раствора характеризуется вихреобразным, беспорядочным движением, что способствует улучшению степени очистки забоя скважины. Механическое воздействие струи бурового раствора на забой скважины оценивается давлением или силой удара струи в месте контакта его с породой, что определяется скоростью струи, ее размером и плотностью [9–12].
Гидравлические потоки способствуют увеличению механической скорости бурения, если буровой шлам вовремя удаляется с забоя скважины.
Для двухъярусного антивибрационного долота были разработаны сменные гидромониторные насадки для бурения крепких, мягких и средней крепости горных пород (рис. 3, 4).
Рис. 3. Гидромониторная насадка для крепких пород: 1 – корпус с резьбой; 2 – паз под ключ; 3 – конус формирования давления струи; 4 – канал формирования напора струи
Fig. 3. Hydromonitor nozzle for hard rocks: 1 – body with thread; 2 – turnkey groove; 3 – cone of jet pressure formation; 4 – channel of jet pressure formation
Рис. 4. Гидромониторная насадка для пород мягких и средней крепости: 1 – корпус с резьбой; 2 – паз под ключ; 3 – конус формирования напора струи; 4 – канал формирования напора струи
Fig. 4. Hydromonitor nozzle for soft and medium strength rocks: 1 – body with thread; 2 – turnkey groove; 3 – cone of jet head formation; 4 – jet head formation channel
Оптимальные конструкции гидромониторных насадок улучшают вынос шлама и разрушают горные породы.
Расход бурового раствора, выходящего из насадок, определяется по формуле [13]:
,
где – коэффициент сжатия струи; – коэффициент сопротивления; w – площадь сечения насадок; Н – напор.
Потери давления в насадках долота определяются по формуле, МПа:
где – плотность бурового раствора, кг/м3; Q – подача насоса, л/с; Аd – площадь насадок, мм2.
Потери давления (энергии) на входе, Па:
где V – скорость потока в насадках долота, м/с; KL=0,5 – квадратный вход; KL=0,05 – круглый вход.
Скорость подъема (выноса) частиц Vвын определяется по формуле:
где Vпотока – скорость потока в кольцевом пространстве; Vч – скорость погружения частиц.
Площадь насадок долота определяют по формуле:
где A – площадь насадок долота, мм2; – гидравлические потери в долоте, МПа; Q – подача насосов, л/с.
Давление, передаваемое на забой, при использовании стандартного долота рассчитывается по формуле:
где Pзаб – давление струи на забой, МПа; dн – диаметр насадки, м; x – расстояние от насадки до забоя, м.
Скорость вылета струи из насадки должна быть не менее 40 м/с и определяется:
где =0,62 – коэффициент скорости; HH – рабочий напор воды перед насадкой, м.
Расход воды через насадку определяется:
где – коэффициент расхода; =0,92–0,96, ; a – коэффициент сжатия струи, ; w – площадь поперечного сечения насадки, м2.
Диаметр насадки рекомендуется рассчитывать по формуле:
где Q – подача насоса при оптимальном режиме работы, м3/ч; H1 – напор насоса при данной насадке.
В работах многих авторов сказано, что для качественной очистки ствола скважины требуется максимально увеличить расход бурового раствора, но в этом случае винтовой двигатель и забойная телеметрическая система могут быть повреждены. С целью решения данной проблемы предлагается включение в состав компановки низа буровой колонны (КНБК) специальных буровых труб с винтовыми ребрами (рис. 5).
Рис. 5. Общий вид буровой колонны с винтовыми ребрами: 1 – переводник под гладкую буровую колонну; 2 – винтовая буровая колонна; 3 – долото. Для Æ 140 мм: n=200 об/мин (3,5 р/с); Va=3–3,5 м/с; t=100 мм (»1 м); шаг винта h=90 %
Fig. 5. General view of the drill string with helical ribs: 1 – smooth drill string translator; 2 – screw drill string; 3 – drill bit. For Æ 140 mm: n=200 rpm (3,5 r/s); Va=3–3.5 m/s; t=100 mm (»1 m); screw pitch h=90 %
За счет создания винтовых ребер на бурильных трубах повышается выноса шлама буровым раствором и создается турбулентный режим движения жидкости при вращении буровой колонны. Механическое перемешивание частиц шлама в наклонном и горизонтальном стволе улучшает вынос шлама с нижней части ствола в верхнюю. Применение буровой колонны, имеющей винтовые линии (пазы), будет способствовать уменьшению силы прилипания снаряда к стенкам скважины.
Применение специальных буровых труб с винтовыми ребрами, выступающими на 30 мм, позволит при вращении бурильной колонны обеспечить эффективное поднятие частиц шлама по стволу скважины. Изменяющийся угол наклона спиральных винтовых ребер на буровых штангах способствует ускорению движения шлама и выносу частиц горных пород с максимальной скоростью на поверхность.
Использование двухъярусного антивибрационного долота с гидромониторными насадками для бурения крепких, мягких и средних горных пород, а также бурильных труб с винтовыми ребрами будет способствовать турбулизации входящего потока промывочной жидкости и, как результат, улучшению качества очистки ствола скважины, что в конечном виде будет способствовать повышению скорости бурения.
При такой комплектации происходит процесс взаимодействия вращающейся колонны с восходящим потоком бурового раствора, в результате чего совершается переход ламинарного течения в турбулентный, при этом значительно улучшается качество очистки ствола скважины [14–20].
Выводы
На качество очистки ствола скважины от бурового шлама оказывают влияние, в первую очередь, несколько факторов – это, в частности, параметры бурового раствора: скорость движения потока по стволу скважины, плотность и вязкость. Кроме того, заметное влияние в данном случае оказывают параметры шлама (плотность частиц, размер и форма, а также их концентрация). При этом не менее важное значение имеет комплектация специальным инструментом бурильной колонны, а также угол наклона ствола скважины.
Наличие специальных гидромониторных насадок на буровом долоте, его двухъярусность и включение в состав КНБК буровых труб с винтовыми ребрами позволит создать турбулентный режим движения жидкости и улучшить транспортировку бурового шлама на поверхность.
Разработанные технологии для улучшения степени очистки ствола скважины, при сочетании в одной технологической цепочке двухъярусного антивибрационного долота со специальными, съемными гидромониторными насадками и бурильных труб с винтовыми ребрами, позволит создать предпосылки для повышения производительности буровых работ.
На качество очистки ствола скважины от бурового шлама оказывают влияние, в первую очередь, несколько факторов – это, в частности, параметры бурового раствора: скорость движения потока по стволу скважины, плотность и вязкость. Кроме того, заметное влияние в данном случае оказывают параметры шлама (плотность частиц, размер и форма, а также их концентрация). При этом не менее важное значение имеет комплектация специальным инструментом бурильной колонны, а также угол наклона ствола скважины.
Наличие специальных гидромониторных насадок на буровом долоте, его двухъярусность и включение в состав КНБК буровых труб с винтовыми ребрами позволит создать турбулентный режим движения жидкости и улучшить транспортировку бурового шлама на поверхность.
Разработанные технологии для улучшения степени очистки ствола скважины, при сочетании в одной технологической цепочке двухъярусного антивибрационного долота со специальными, съемными гидромониторными насадками и бурильных труб с винтовыми ребрами, позволит создать предпосылки для повышения производительности буровых работ.
About the authors
Alexander Ya. Tretyak
South Russian State Polytechnic University (NPI) named after M.I. Platov
Author for correspondence.
Email: 13050465@mail.ru
ORCID iD: 0000-0001-7362-5536
Dr. Sc., Professor, Head of the Oil and Gas Techniques and Technologies Department
Russian Federation, 132, Prosvesvcheniya street, Novocherkassk, 346400References
- Balaba V.I., Zinchenko O.D. Technical means for increasing the efficiency of hydro-transport of cuttings when drilling inclined and horizontal sections of a wellbore. Equipment and technologies for the oil and gas complex, 2015, no. 3, pp. 23–27. (In Russ.)
- Neskoromnykh V.V., Pushmin P.S. Methodology of the optimal parameters of re-mode and conditions of well drilling. Izvestiya Sibirskogo upravleniya Sect. of Earth Sciences Section of RANS, 2011, no. 1 (38), рр. 151–157. (In Russ.)
- Lambin A.I. Cuttings removal efficiency indicators during directional drilling. Earth Science and Subsoil Use, 2022, vol. 45, no. 3, pp. 285–293. (In Russ.)
- Neskomnykh V.V., Popova M.S., Parakhonko E.V. Development of rock-destroying tool with PDC cutters. Bulletin of the Tomsk Polytechnic University. Geo Assets Engineering, 2020, vol. 331, no. 2, pp. 131–138. (In Russ.)
- Kharlamov S.N., Dzhankhorbani M., Zaikovsky V.V. Transportation of sludge by drilling mud in horizontal wells. Part 1. Modeling the structure of dispersed flows. Bulletin of the Tomsk Polytechnic University. Geo Assets Engineering, 2023, vol. 334, no. 10, pp. 34–48. (In Russ.)
- Tretyak A.Ya., Nyrkov E.A., Sidorova E.V., Borisov K.A. Results of the application of new designs of drill bits reinforced with PDC comb-shaped cutters. Sustainable development of mountain territories, 2019, vol. 11, no. 4 (42), pp. 519–527. (In Russ.) doi: 10.21177/1998-4502-2019-11-4-519-527.
- Tretyak A.Ya., Popov V.V., Grossu A.N., Borisov K.A. Innovative approaches to the design of highly effective rock-destroying tools. Mining information and analytical bulletin (scientific and technical journal), 2017, no. 8, pp. 225–230. (In Russ.) doi: 10.25018/0236-1493-2017-8-0-225-230.
- Tretyak A.Ya., Savenko O.V., Grossu A.N., Borisov K.A. New two-tier bit of the cutting type. Oil. Gas. Journal Russia, 2015, no. 5, pp. 50–53. (In Russ.)
- Bruyaka V.A., Grinev A.M., Remnev V.V., Snotlout D.V. Modeling of the flow of flushing fluid from the hydraulic monitor holes of PDC bits. (In Russ.) Available at: https://www.crm.ics.org.ru/uploads/crmissues/crm_2013_4/13413.pdf (accessed 10 November 2021).
- Great Encyclopedia of Oil and Gas. Hydromonitor effect. (In Russ.) Available at: https://www/ngpedia/ru/id624023p4.html (accessed 10 November 2021).
- Tretyak A.A., Balaba V.I., Popov V.V., Fomenko N.E., Borisov K.A., Tkachev V.A. New generation drilling bits. IOP Conf. Series: Earth and Environmental Science, 2017, vol. 87, Iss. 5, no. 052029.
- Tretyak A.Ya., Litkevich Yu.F., Kruglova T.N. Device and technology of continuous well flushing. Bulletin of the Tomsk Polytechnic University. Geo Assets Engineering, 2023, vol. 334, no. 5, pp. 181–188. (In Russ.) doi: 10.18799/24131830/2023/5/4142.
- Babayan E.V., Chernenko A.V. Engineering calculations in drilling. Moscow, Infra-Engineering Publ., 2016. 440 p. (In Russ.)
- Ashrafi S.B., Anemangely M., Sabah M., Ameri M.J. Application of hybrid artificial neural networks for predicting rate of penetration (ROP): a case study from Marun oil flied. Journal of Petroleum Science and Engineering, 2019, vol. 175, pp. 604–623.
- Beilin F., Dourfaye A., King W. The current state of PDC bit technology. P. 3. World Oil, November 2010, vol. 2, pp. 67–71.
- Bentsen R.G., Wilson D.C. Optimization techniques for weight on and rotary speed. The J. of Canad. Petr., 2000, no. 4.
- Soares C., Daigle H., Gray K. Evaluation of PDC bit ROP models and the effect of rock strength on model coefficients. Journal of Natural Gas Science and Engineering, 2016, vol. 34, pp. 1225–1236.
- Syzrantseva K., Arishin V., Dvoynikov M. Optimization of the damping element of axial vibrations of the drilling string by computer simulation. Journal of Engineering and Applied Sciences, 2016, vol. 11 (10), pp. 2312–2315.
- Jiren T., Yiyu L., Zhaolong G., Binwei X., Huijuan S. A new method of combined rock drilling. International Journal of Mining Science and Technology, 2014, vol. 24, Iss. 1, pp. 1–6.
- Zhao Y., Noorbakhsh A., Koopialipoor M., Azizi A., Tahir M.M. A new methodology for optimization and prediction and prediction of rate of penetration during drilling operations. Engineering with Computers, 2019. doi: 10.1007/s00366-019-00715.
Supplementary files







