Перепутывание в нелинейной двухкубитной модели Тависа — Каммингса
- Авторы: Захаров Р.К.1, Башкиров Е.К.1
-
Учреждения:
- Самарский национальный исследовательский университет имени академика С.П. Королева
- Выпуск: Том 29, № 2 (2023)
- Страницы: 72-80
- Раздел: Физика
- URL: https://journal-vniispk.ru/2541-7525/article/view/243604
- DOI: https://doi.org/10.18287/2541-7525-2023-29-2-72-80
- ID: 243604
Цитировать
Полный текст
Аннотация
В данной статье исследована динамика перепутывания двух идентичных сверхпроводящих кубитов, резонансно взаимодействующих с выделенной модой поля компланарного микроволнового резонатора без потерь посредством однофотонных переходов при наличии нелинейностей третьего и пятого порядков. На основе решения уравнения эволюции системы для фоковских начальных состояний поля резонатора рассчитан критерий перепутанности кубитов – отрицательности. Результаты вычисления отрицательности показывают, что для начальных сепарабельных состояний нелинейность резонатора может приводить к существенному увеличению максимальной степени перепутывания кубитов. Показано, что для начальных перепутанных состояний кубитов и интенсивных полей резонатора учет нелинейностей приводит к стабилизации степени перепутывания кубитов в резонаторе, способствует исчезновению эффекта мгновенной смерти перепутывания кубитов.
Полный текст
Введение
Одной из наиболее изученных модельных систем в квантовой оптике является двухуровневый атом, взаимодействующий с выделенной модой электромагнитного поля резонатора без потерь. Эта предельно простая квантовая система имеет тем не менее нетривиальную квантовую динамику, описываемую гамильтонианом Джейнса — Каммингса [1]. Экспериментальная реализация такой модели на микроволновых частотах позволила наблюдать все основные эффекты квантовой оптики, такие как коллапс и восстановлеие осцилляций Раби, сжатие и антипуассоновскую статистику поля, резонаторы и др. [2]. Многоатомное расширение модели также часто называют моделью Тависа — Каммингса. Новый импульс к изучению модели Джейнса — Каммингса и ее обобщений, в частности многоатомной модели Джейнса — Каммингса, связан с ее использованием в квантовой информатике, а именно для описания динамики сверхпроводящих колец с джозефсоновскими переходами, примесных спинов и других искусственных атомов в резонаторах [3–9]. Такие искусственные атомы могут использоваться в качестве логических элементов квантовых компьютеров и квантовых сетей. Поля резонаторов при этом используются для генерации, контроля и управления перепутанными состояниями сверхпроводящих кубитов и других искусственных атомов. В этой связи представляет большой интерес исследовать случай, когда резонатор, с которым связан кубит, обладает нелинейностью, вызывая неэквидистантность энергетических уровней поля резонатора. Кубиты в нелинейном резонаторе описываются нелинейным гамильтонианом многоатомной модели Джейнса — Каммингса. Включение нелинейности значительно обогащает физику системы, позволяя, в частности, значительно более эффективно использовать поле резонатора для управления степенью перепутывания кубитов. Динамика кубитов в нелинейных резонаторах активно исследовалась в последнее время в большом количестве теоретических и экспериментальных работ [10–17]. В частности, в работе П. Бертета с соавторами [18] теоретически и экспериментально изучена динамика сверхпроводящего кубита в резонаторе с нелинейностями третьего и пятого порядка. Представляет интерес обобщить указанную модель на случай двух кубитов в неидеальном резонаторе. В настоящей статье нами исследована динамика перепутывания двух сверхпроводящих кубитов, взаимодействующих с полем идеального нелинейного комланарного резонатора в рамках нелинейной двукубитной модели Тависа — Каммингса.
1. Модель и точное решение квантового уравнения Лиувилля
Рассмотрим систему, состоящую из двух джозефсоновских сверхпроводящих кубитов, вставленых в середине линии передачи компланарного резонатора. Джозефсоновские кубиты могут рассматриваться с электротехнической точки зрения как сосредоточенная бездиссипативная нелинейная индуктивность. В результате модовая структура резонатора глубоко модифицируется. В пределе, когда частоты управляющих сигналов генерируют гармоники, резонансные с высшими модами резонатора, резонатор можно аппроксимировать только одной нелинейной модой. В этом случае, следуя работе [18], запишем гамильтониан нашей системы в резонансном приближении в виде
(1)
где a+ (a) – оператор рождения (уничтожения) фотонов резонаторной моды поля, и – повышающий и понижающий оператор в i-м кубите и γ – константа взаимодействия кубитов с полем резонатора и и – константы нелинейности соответственно третьего (постоянная Керра) и пятого порядка, имеющие вид
Здесь , где Lt – полная индуктивность системы, равная Lt = Lq + Lc, где = Lq и Lc – индуктивности кубитов и резонатора соответственно и p = Lq = Lt. Z – импеданс резонатора.
В частности, в работе П. Бертета с соавторами [18] рассматриваемая модель была реализована со следующими параметрами в Гц
Таким образом, отношение константы нелинейности третьего порядка к константе кубит-полевого взаимодействия составляло . Константа в работе [18] не измерялась. Проведем оценку возможных значений константы нелинейности пятого порядка. Индуктивности сверхпроводящих кубитов лежат в интервале от 1 до 10 нГн, а индуктивности компланарных резонатов в интервале от 100 до 1000 нГн. Тогда значения безрамерного параметра лежат в интервале от 0.001 до 0.1. В результате для минимального значения параметра p отношение констант пятого и третьего порядков может достигать значений порядка 10-2.
Обозначим через | +⟩i и | −⟩i и возбужденное и основное состояние i-го кубита. Выберем в качестве начальных состояний подсистемы кубитов сепарабельные состояния вида
|Ψ(0)⟩Q1Q2 = |+; −⟩; (2)
|Ψ(0)⟩Q1Q2 = |+; +⟩; (3)
а также перепутанные состояния вида
|Ψ(0)⟩Q1Q2 = cosθ |+; −⟩ + sinθ|+; −⟩; (4)
где параметр θ определяет начальную степень перепутывания кубитов.
В качестве начального состояния поля резонатора выберем фоковские состояния вида
|Ψ(0)⟩F = |n⟩ (n = 0; 1; 2; · · ·),
где n – число фотонов в резонаторной моде.
Для исследования динамики перепутывания кубитов найдем вначале временную волновую функцию системы для фоковского начального состояния поля. Для это необходимо решить квантовое уравнение Шрёдингера
(5)
с начальным условием
Ψ(0)⟩ = |Ψ(0)⟩Q1Q2|Ψ(0)⟩F :
Решение уравнения (5) будем искать в виде
|Ψ(t)⟩n = X1,n(t)|−, −, n + 2⟩ + X2,n(t)|+, −, n + 1⟩ + X3,n(t)|−, +, n + 1⟩+ X4,n(t)|+, +, n⟩:
Для коэффициентов Xi из (6) получаем уравнения
iX˙1,n(t) = − µn(n + 2)(n + 1)X1,n(t) − (n + 2)(n + 1)X1,n(t) + X2,n(t) + X3,n(t),
iX˙2,n(t) =X1,n(t) − µn(n + 1)(n − 1)X2,n(t) − χ(n + 1)nX2,n(t) + X4,n(t),
iX˙3,n(t) = X1,n1(t) − µn(n + 1)(n − 1)X3,n(t) − χ(n + 1)nX3,n(t) + X4,n(t),
iX˙4,n(t) = X2,n(t) + X3,n(t) − µn(n − 2)(n − 1)X4,n(t) − χ(n − 1)X4,n(t). (7)
Решение системы уравнений (7) имеет чрезвычайно громоздкий вид. Поэтому мы ограничимся в дальнейшем численным решением.
Имея явный вид временной волновой функции системы (6), мы можем вычислить параметр перепутывания кубитов – отрицательность. Для этого необходимо найти редуцированную двухкубитную матрицу плотности. Найдем вначале временную матрицу плотности полной системы "два кубита+мода поля" стандартным для чистых состояний образом
ρn(t) = |Ψ(t)⟩n n⟨Ψ(t)|: (8)
Редуцированную матрицу плотности двух кубитов мы можем вычислить, усредняя (8) по переменным поля
Перейдем к вычислению критерия перепутывания кубитов.
ρn,qubit-qubit (t) = SpFρn(t).
2. Вычисление отрицательности и обсуждение результатов
Определим отрицательность для двух кубитов стандартным образом [19; 20]
N(t) = (9)
где – отрицательные собственные значения частично транспонированной по переменным одного кубита редуцированной двухкубитной матрицы плотности. Для неперепутанных состояний N = 0. Для перепутанных состояний 0 < N ≤ 1. Максимальной степени перепутывания соответствует значение N = 1.
Для сепарабельных начальных состояний кубитов (2) и (3) и перепутанного состояния (4) двухкубитная редуцированная матрица плотности имеет вид
ρn,qubit-qubit (t)(t) =
(10)
Матричные элементы (10) для начальных состояний (2)–(4) имеют вид
ρn,11(t) = |X1,n(t)|2, ρn,22(t) = |X2,n(t)|2, ρ33(t) = |X3,n(t)|2;
ρn,44(t) = |X4,n(t)|2, ρn,23(t) = X2,n(t) (t),
Частично транспонированная по переменным одного кубита редуцированная матрица плотности кубитов для (10) может быть представлена в виде
(11)
Матрица (11) имеет всего одно собственное значение, которое может быть отрицательным. В результате отрицательность (9) может быть записана как
Рис. 1. Зависимость отрицательностей N(t) от приведенного времени gt для начального состояния кубитов |+; −⟩. Число фотонов в моде n = 2. Значения нелинейностей χ = μ = 0 (сплошная линия) и χ = 0:1; μ = 0 (штриховая линия) (а) и χ = μ = 0 (сплошная линия) и χ = 0; μ = 0:1 (штриховая линия) (b)
Fig. 1. The negative dependence N(t) on the time gt for the initial state of qubits |+; −⟩. Number of photons in mode n = 2. Mode of nonlinearities χ = μ = 0 (solid line) and χ = 0:1; μ = 0 (dashed line) ( a) and χ = μ = 0 (solid line) and χ = 0; μ = 0,1 (dashed line) ( b)
Результаты компьютерного моделирования временной зависимости отрицательностей N(t) для начального состояния кубитов |+; -⟩ и различных значений параметров нелинейности ꭓ и μ представлены на рис. 1, a, b и рис. 2, a. Число фотонов в резонаторной моде для этих графиков и всех последующих выбрано равным n = 2. Из графиков хорошо видно, что при включении нелинейности степень перепутывания кубитов резко возрастает, достигая для некоторых времен максимального значения N = 1. Интересно отметить, что такое поведение параметра перепутывания кубитов характерно для любых значений параметров нелинейности. При этом при увеличении параметров нелинейности времена, для которых отрицательность достигает максимального значения, уменьшаются в случае фоковских состояний поля резонатора. Например, для значений параметров нелинейностей, достигнутых в эксперименте П. Бертета с соавторами [18] (ꭓ = 0.02, μ = 0), время, для которого наблюдается первый максимум отрицательности, составляет t≈450 g, что значительно превосходит время когерентности в рассматриваемых системах кубитов в резонаторе. Таким образом, для наблюдения предсказываемого эффекта необходимо добиться экспериментально увеличения параметров нелинейностей более, чем на порядок. В силу вышесказанного численное моделирование временного поведения отрицательности проводилось для таких значений параметров нелинейности. Заметим также, что с увеличением числа фотонов в резонаторной моде времена, для которых наблюдаются максимумы отрицательности, увеличиваются.
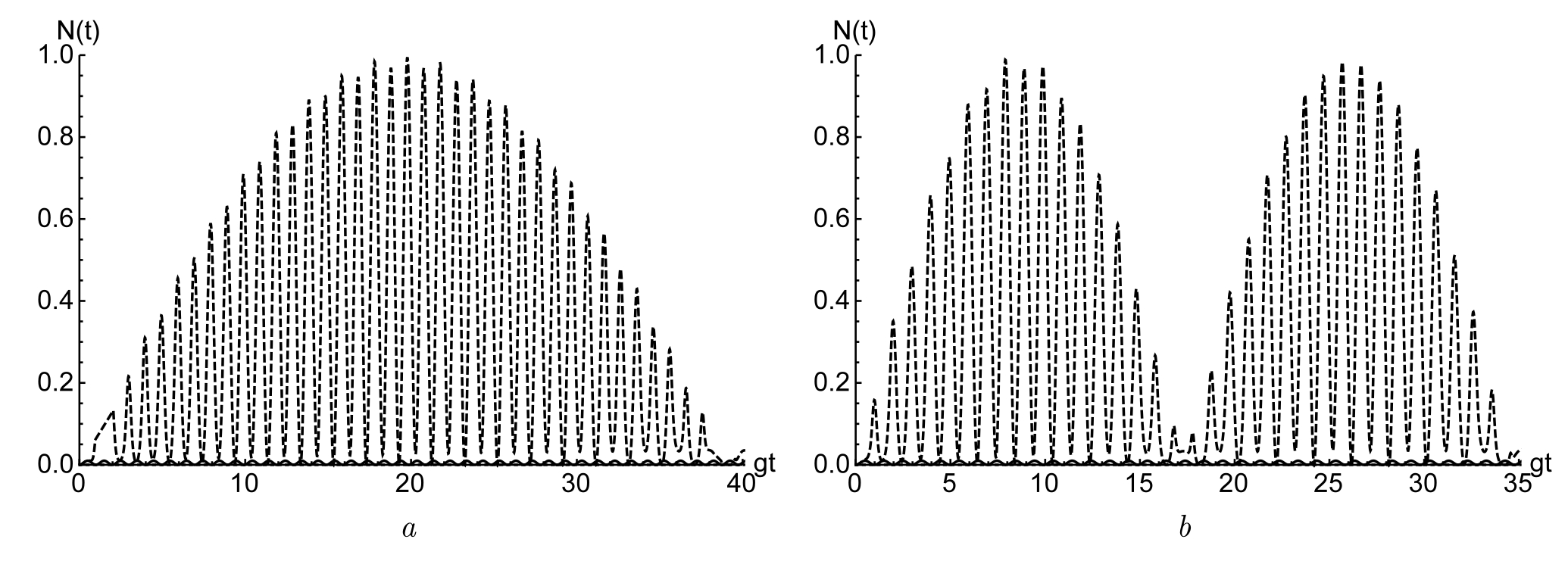
Рис. 2: Зависимость отрицательностей N(t) от приведенного времени gt для начального состояния кубитов |+; +⟩ (а) и перепутанного состояния 1/√2(|+; -⟩ +|-, +⟩ (b). Число фотонов в моде n = 2 (a) и n = 10 (b). Значения нелинейностей ꭓ = 1, μ = 0 (сплошная линия) и ꭓ = 0, μ = 0.5 (штриховая линия) ( a) и ꭓ = μ = 0 (сплошная линия), ꭓ = 1, μ = 0 (штриховая линия) и ꭓ = 0, μ = 0.2 (точечная линия)
Fig. 2. The negative dependence N(t) on the time gt for the initial state of qubits |+; +⟩ ( a) and entangled state 1/√2(|+; -⟩ +|-, +⟩ (b). Number of photons in mode n = 2 and n = 10 (b). Meaning of non-linearity ꭓ = 1, μ = 0 (solid line) and ꭓ = 0, μ = 0.5 (dashed line) ( a) and ꭓ = μ = 0 (solid line), ꭓ = 1, μ = 0 (dashed line) and ꭓ = 0, μ = 0.2 (dotted line)
На рис. 2, a представлена временная зависимость отрицательности от приведенного времени gt для начального состояния кубитов |+; +⟩ и различных значений параметров нелинейности. Заметим, что в отсутствие нелинейности резонатора для такого начального состояния кубитов перепутывание не возникает ни для каких начальных состояний кубитов [21]. При учете нелинейности появляется перепутывание кубитов. Расчеты показывают, что зависимость максимальной степени перепутывания кубитов от нелинейности третьего порядка ꭓ немонотонная. В интервале значений безразмерного параметра нелинейности 0 ˂ ꭓ ˂ 1 с увеличением нелинейности ꭓ максимальная степень перепутывания кубитов растет, а для ꭓ >1, наоборот, уменьшается. Для нелинейности пятого порядка μ ситуация иная. С увеличением параметра μ растет и максимальная степень перепутывания кубитов, достигая максимальных значений при μ ≥ 5. На рис. 2, b показана временная зависимость отрицательности от приведенного времени gt для начального перепутанного состояния кубитов (4) при θ = π/4 и различных значений параметров нелинейности. Число фотонов в моде равно n =10. Для выбранного начального состояния кубитов нелинейности третьего и пятого порядков приводят к уменьшению амплитуд колебаний отрицательности и, соответственно, к стабилизации перепутывания кубитов в резонаторе. Кроме того, они способствуют исчезновению эффекта мгновенной смерти перепутыавния кубитов, т. е. исчезновению перепутывания кубитов на временах меньших времени декогеренции [22; 23]. Описанные эффекты характерны для состояний поля с большим числом фотонов. Для малых чисел фотонов влияние нелинейностей на поведение отрицательности незначительно.
Выводы
Таким образом, в данной статье мы рассмотрели динамику системы, состоящей из двух идентичных кубитов, взаимодействующих с модой поля идеального резонатора с нелинейностямя третьего и пятого порядков. Для количественной оценки меры перепутывания кубитов использовалась отрицательность. Вычисления отрицательности произведены для сепарабельных и белловских начальных состояний кубитов и фоковского состояния поля резонатора. Показано, что для сепарабельного состояния |+; +⟩ учет нелинейностей как третьего, так и пятого порядков приводит к существенному увеличению степени перепутывания кубитов. Хорошо известно, что для резонансной модели Тависа — Каммингса в случае начального состояния перепутывание состояний кубитов не возникает ни для каких начальных состояний поля резонатора [21]. При включении нелинейности резонатора возможно перепутывание кубитов в процессе их дальнейшей эволюции. Для фоковских состояний поля резонатора расчеты показывают, что для малых значений безразмерного параметра нелинейности третьего порядка ꭓ< 1 увеличение параметра нелинейности приводит к увеличению максимальной степени перепутывания кубитов, а для больших значений безразмерного параметра нелинейности ꭓ> 1 имеет место обратная зависимость. С увеличением безразмерного параметра нелинейности пятого порядка μ растет максимальная степень перепутывания кубитов, достигая максимальных значений при μ ≥ 5. Для белловского начального перепутанного состояния кубитов (4) учет нелинейностей третьего и пятого порядков приводит к уменьшению амплитуд колебаний отрицательности и, соответственно, к стабилизации перепутывания кубитов в резонаторе. Наличие нелинейностей способствуют также исчезновению эффекта мгновенной смерти перепутывания кубитов. Указанные эффекты проявляются заметным образом лишь для состояний поля с большим числом фотонов. Для малых чисел фотонов влияние нелинейностей на поведение отрицательности незначительно.
Информация о конфликте интересов: авторы и рецензенты заявляют об отсутствии конфликта интересов.
Information about the conflict of interests: authors and reviewers declare no conflict of interests.
Об авторах
Родион Константинович Захаров
Самарский национальный исследовательский университет имени академика С.П. Королева
Автор, ответственный за переписку.
Email: rk.zakharov@yandex.ru
ORCID iD: 0000-0002-8450-2248
аспирант кафедры общей и теоретической физики
Россия, 443086, Самара, Московское шоссе, 34Евгений Константинович Башкиров
Самарский национальный исследовательский университет имени академика С.П. Королева
Email: bashkirov.ek@ssau.ru
ORCID iD: 0000-0001-8682-4956
доктор физико-математических наук, профессор кафедры общей и теоретической физики
Россия, 443086, Самара, Московское шоссе, 34Список литературы
- Jaynes E.T. Comparison of quantum and semiclassical radiation theory with application to the beam maser // Proceedings of the IEEE. 1963. Vol. 51, Issue 1. P. 89–109. DOI: https://doi.org/10.1109/PROC.1963.1664.
- Shore B.W., Knight P.L. The Jaynes-Cummings model // Journal of Modern Optics. 1993. Vol. 40, Issue 7. P. 1195–1238. DOI: https://doi.org/10.1080/09500349314551321.
- Buluta I., Ashhab S., Nori F. Natural and artificial atoms for quantum computation // Reports on Progress in Physics. 2011. Vol. 74, Number 10. Article number 104401. DOI: http://dx.doi.org/10/1088/0034-4885/74/10/104401.
- Xiang Z.L., Ashhab S., You J.Y., Nori F. Hybrid quantum circuits: Superconducting circuits interacting with other quantum systems // Reviews of Modern Physics. 2013. Vol. 85, Issue 2. P. 623–653. DOI: http://dx.doi.org/10.1103/RevModPhys.85.623.
- Gu X., Kockum A.F., Miranowicz A., Liu Y.X., Nori F. Microwave photonics with superconducting quantum circuits // Physics Reports. 2017. Vol. 718–719. P. 1–102. DOI: https://doi.org/10.1016/j.physrep.2017.10.002.
- Georgescu I.M., Ashhab S., Nori P. Quantum simulation // Reviews of Modern Physics. 2014. Vol. 86, Issue 1. P. 153–185. DOI: https://doi.org/10.1103/RevModPhys.86.153.
- Wendin G. Quantum information processing with super-conducting circuits: a review // Reports on Progress in Physics. 2017. Vol. 80, Number 10. Article number 106001. DOI: http://dx.doi.org/10.1088/1361-6633/aa7e1a.
- Huang H.-L., Wu D., Fan D., Zhu X. Superconducting Quantum Computing: A Review // Science China. Information Sciences. 2020. Vol. 63. Article number 180501. DOI: https://doi.org/10.1007/s11432-020-2881-9.
- Kjaergaard M., Schwartz M.E., Braumüller J., Krantz P., Wang I.-J., Gustavsson S., Oliver W.D. Superconducting Qubits: Current State of Play // Annual Review of Condensed Matter Physics. 2020. Vol. 11. Pp. 369–395. DOI: https://doi.org/10.1146/annurev-conmatphys-031119-050605.
- Du S., Feng H. Dynamics of Entanglement in the Cavity with Nonlinear Medium // Journal of Modern Physics. 2013. Vol. 4. Number 5. Pp. 604–607. DOI: http://dx.doi.org/10.4236/jmp.2013.45086.
- De los Santos-S nchez O., Gonz lez-Guti rrez C., R camier J. Nonlinear Jaynes–Cummings model for two interacting two-level atoms // Journal of Physics B: Atomic Molecular and Optical Physics. 2016. Vol 49, Number 16. Article number 165503. DOI: http://dx.doi.org/10.1088/0953-4075/49/16/165503.
- G omez-Rosas R., Gonz lez-Guti rrez C.A., Torres J.M. Entangling operations in nonlinear two-atom Tavis-Cummings models // Physical Review A. 2021. Vol. 104, Issue 6. Article number 063701. DOI: https://doi.org/10.1103/PhysRevA.104.063701.
- Obada A.-S.F., Ahmed M.M.A., Habeba H.F. Some Statistical Properties for a Non-Linear Tavis — Cummings Model // Applied Mathematics & Information Sciences. 2017. Vol. 11, Issue 1. Pp. 147–154. DOI: http://dx.doi.org/10.18576/amis/110117.
- Yu D., Kwek L.C., Amico L., Dumke R. Nonlinear circuit quantum electrodynamics based on the charge-qubit–resonator interface // Physical Review A. 2018. Vol. 98, Issue 3. Article number 033833. DOI: https://doi.org/10.1103/PhysRevA.98.033833.
- Chen Q., Wen J., Yang W.L., Feng M., Du J. Nonlinear coupling between a nitrogen-vacancy-center ensemble and a superconducting qubit // Optics Express. 2015. Vol. 23, Issue 2. Pp. 1615–1626. DOI: https://doi.org/10.1364/OE.23.001615.
- Bashkirov E.K. Entanglement in Tavis-Cummings model with Kerr nonlinearity induced by a thermal noise // Proc. SPIE 11846, Saratov Fall Meeting 2020: Laser Physics, Photonic Technologies, and Molecular Modeling, 118460W (4 May 2021). DOI: https://doi.org/10.1117/12.2588673.
- Bashkirov E.K. Thermal entanglement in Tavis-Cummings models with Kerr media // Proc. SPIE 12193, Laser Physics, Photonic Technologies, and Molecular Modeling, 121930Q (29 April 2022). DOI: https://doi.org/10.1117/12.2625838.
- Bertet P., Ong F. R., Boissonneault M., Bolduc A., Mallet F., Doherty A.C., Blais A., Vion D., Esteve D. Circuit quantum electrodynamics with a nonlinear resonator // arXiv:1111.0501v1 [quant-ph]. 2011. DOI: https://doi.org/10.48550/arXiv.1111.0501
- Peres A. Separability Criterion for Density Matrices // Physical Review Letters. 1996. Vol. 77, Issue 8. Pp. 1413–1415. DOI: https://doi.org/10.1103/PhysRevLett.77.1413.
- Horodecki R., Horodecki M., Horodecki P. Separability of Mixed States: Necessary and Sufficient Condition // Physics Letters A. 1996. Vol. 223, Issue 1. Pp. 1–8. DOI: https://www.doi.org/10.1016/S0375-9601(96)00706-2.
- Kim M.S., Lee J., Ahn D., Knight P.L. Entanglement induced by a single-mode heat environment // Physical review A. Atomic, molecular, and optical physics. 2002. Vol. 65. Issue 4. Article number 040101(R). DOI: https://doi.org/10.1103/PhysRevA.65.040101.
- Yu T., Eberly J.H. Environment-Induced Sudden Death of Entanglement // Physical Review Letters. 2004. Vol. 93. Article number 140104.
- Sadiek G., Al-Drees W., Abdallah M.S. Manipulating entanglement sudden death in two coupled two-level atoms interacting off-resonance with a radiation field: an exact treatment // Optics Express. 2019. Vol. 27, Issue 23. Pp. 33799–33825. DOI: https://doi.org/10.1364/OE.27.033799.
Дополнительные файлы




