Improving open bore piling and under-reaming technology
- Authors: Abramyan S.G.1, Fomenko N.A.1, Oganesyan O.V.2
-
Affiliations:
- Volgograd State Technical University
- Branch of Russian Railways
- Issue: Vol 14, No 4 (2024)
- Pages: 102-107
- Section: TECHNOLOGY AND CONSTRUCTION ORGANIZATION
- URL: https://journal-vniispk.ru/2542-0151/article/view/287303
- DOI: https://doi.org/10.17673/Vestnik.2024.04.15
- ID: 287303
Cite item
Full Text
Abstract
Based on the analysis of a number of domestic and foreign scientific publications, a case is made emphasizing the relevance of improving operational reliability of buildings and facilities during their construction and reconstruction through soil reinforcement by open bore piling and under-reaming. The key approaches to achieve the efficient use of enlarged-base open bore piles are identified and their advantages are discussed. The authors suggest the improved open bore piling technology for weak-soil areas featuring retrievable casing pipes and a tremie pipe-based concreting process. The pile design and piling process-related specifics are explored. The under-reaming effect is accomplished by the part of the reinforcing cage that is placed in weak soils. This cage part is made of reinforcing bars previously bent in toward the casing pipe. Before concreting, this part of reinforcing cage is shaped accordingly by applying squeeze load. The improved open bore pile is mentioned to be based on the pile design developed and patented by the authors. It is underlined that the improvement of the open bore pile design and piling technology helps reduce the metal intensity and labor cost of the process.
Keywords
Full Text
Актуальность исследования связана с повышением эксплуатационной надежности строительных систем путем усиления грунтов оснований на стадиях строительства и реконструкции. Анализ научных публикаций показывает, что одним из распространенных методов упрочнения слабых грунтов основания является устройство буронабивных, буроинъекционных и анкерных свай [1–3]. Эффективность обеспечения уширения (в том числе контролируемого) буронабивных и буроинъекционных свай в зонах слабых грунтов изучена авторами публикаций [4–6]. Некоторая детализация указанных публикаций показывает, что преимущество таких свай заключается главным образом в более высокой несущей способности по грунту основания; кроме того, немаловажно и то, что на их изготовление требуется гораздо меньшее количество бетона. Обзор отечественной и зарубежной патентной литературы позволяет говорить об использовании на современном этапе особо эффективных конструкций различных приспособлений для устройства уширений в забое скважин. Отметим, что в российских нормативных документах отсутствует расчет несущей способности подобных свай по грунту основания, в связи с чем проведено его выполнение [4]. В [5] изложены основные теоретические положения, касающиеся формообразования уширений на конце свай посредством применения различных технологий, и выделены этапы развития технологии формирования свай с уширениями в российской и мировой строительной практике. В исследовании [6] приводятся данные о том, что несущая способность свай с уширениями в полтора-два раза превышает аналогичный показатель у свай, которые произведены по стандартным технологиям.
В научных публикациях зарубежных авторов по исследуемой теме подчеркивается: устройство монолитной железобетонной сваи с уширенным наконечником из цементного раствора позволяет повысить несущую способность свай и эксплуатационную надежность строительной системы, так как исключается осадка буронабивной сваи [7]; путем статических испытаний авторами исследования [8] установлено, что «использование буронабивной сваи с уширением в нижней части позволяет снизить осадку фундамента в среднем на 43 %»; обоснована целесообразность применения буронабивных свай при возведении высотных зданий, так как повышается несущая способность фундамента [9].
Предлагаются инновационные подходы к уменьшению расхода стали на основе новых конструктивных решений по армированию каркаса сваи [10]; рекомендуется применять взамен стальных обсадных труб стеклопластиковую оболочку, «надежно защищающую сваю от воздействия внешней среды и воспринимающую механические нагрузки, повышая долговечность конструкции» [11].
Важность применения буронабивных свай при возведении зданий и сооружений в стесненных городских условиях рассматривается в публикациях [12, 13]. Отметим также целесообразность применения секущих буронабивных свай при реконструкции объектов недвижимости.
Различные прогрессивные конструктивные и технологические решения по устройству буронабивных и буроинъекционных свай, разработанные на основе анализа патентных источников авторами данной статьи (Абрамян С.Г., Оганесян О.В.), приведены в [14], где подчеркивается, что «применение свай с контролируемым уширением в основании и у боковых поверхностей скважины при усилении слабых грунтов является экономически эффективным в силу их прочности и надежности».
В предлагаемой технологии устройства буронабивной сваи предполагается использование обсадной трубы, которая по мере бетонирования сваи извлекается.
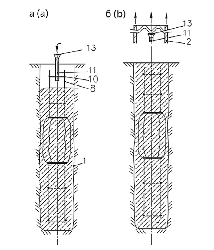
На рис. 1 представлены конструктивные особенности предлагаемой (усовершенствованной) буронабивной сваи.
Рис. 1. Конструктивные особенности буронабивной сваи:
1 – контур сваи; 2 – обсадная труба; 3 – резцы; 4 – арматурный каркас; 5 – арматурные стержни средней части каркаса; 6, 7 – диски-хомуты; 8 – арматурные стержни верхней части каркаса; 9 – упорные шайбы; 10 – поперечные арматурные стержни (хомуты) каркаса (разработано авторами)
Fig. 1. Open bore pile design features:
1 – pile contour; 2 – casing pipe; 3 – cutters; 4 – reinforcing cage; 5 – middle-part reinforcing bars; 6, 7 – clamping discs; 8 – upper-part reinforcing bars; 9 – thrust washers; 10 – reinforcing cage crossbars (clamps) (developed by the authors)
Обсадная труба 2 погружается в скважину необходимой глубины отдельными секциями по мере разработки буровой установкой необходимых параметров грунта и его извлечения. Контур скважины обозначен цифрой 1. Для быстрого погружения в грунт в нижней части 3 обсадной трубы предусмотрены резцы. После в освобожденное от грунта внутреннее пространство обсадной трубы устанавливается арматурный каркас 4 таким образом, чтобы обеспечить защитный слой стержней арматуры в пяте сваи. Арматурный каркас состоит из трех условных (I–III) секций, до погружения в обсадную трубу он полностью собирается на строительной площадке. Средняя (II) секция позволяет выполнить уширение сваи в зоне слабых грунтов. Она выполнена из предварительно прогнутых в сторону обсадной трубы арматурных стержней 5, которые неподвижно соединены снизу и сверху с дисками-хомутами 6 и 7 (см. узел 1а на рис. 1). В отверстия диска-хомута 6 с нижней стороны входит верхняя часть арматурных стержней условной первой секции каркаса, а с верхней стороны – арматурные стержни нижней части второй (средней) секции. Верхняя часть арматурных стержней данной секции (II) входит в отверстия нижней части диска-хомута 7. Арматурные стержни 8 верхней (III) секции каркаса неподвижно закреплены с диском-хомутом 7 упорными шайбами 9 (узел 2 на рис. 1), ограничивающими его проседания, так как верхняя секция в дальнейшем будет использована для технологического решения вдавливания средней части каркаса, т. е. для уширения сваи в зоне слабых грунтов. Устойчивость арматурных стержней по высоте обеспечивается хомутами 10, шаг которых применяется в соответствии с требованиями действующих нормативных документов.
Для достижения необходимой прочности сваи в зоне слабых грунтов количество арматурных стержней средней секции может быть увеличено, что определяется расчетным путем с учетом характеристик грунтов и передаваемой нагрузки на сваю. При этом может применяться меньший диаметр стержней, что при уширении позволит обеспечить дополнительный прогиб арматурных стержней в сторону обсадной трубы путем вдавливания толкателем, т. е. верхней секцией арматурного каркаса. Однако суммарная площадь их сечения должна быть больше суммарной площади стержней нижней части арматурного каркаса.
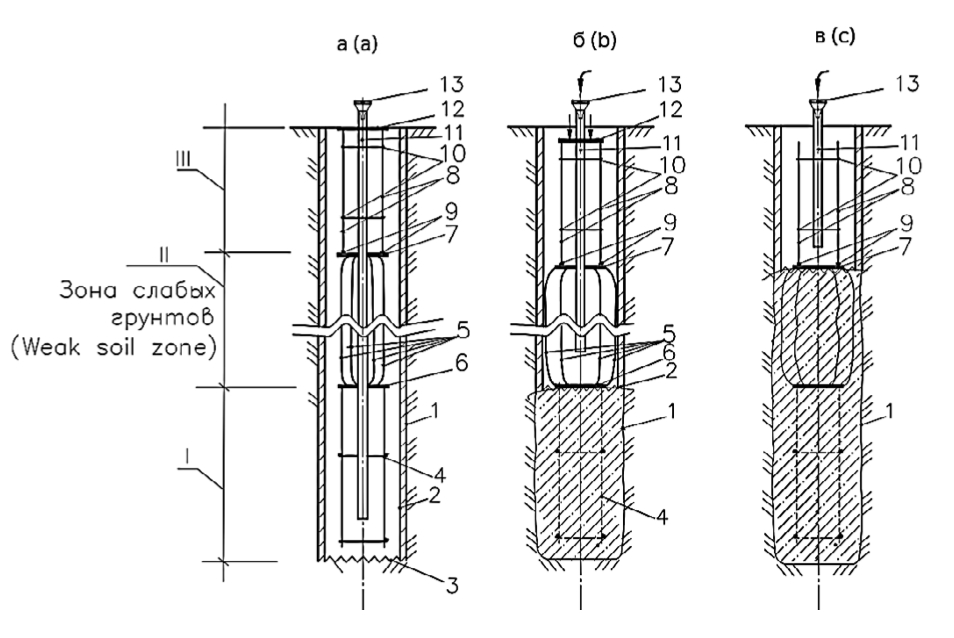
Рассмотрим технологическую последовательность устройства буронабивной сваи (рис. 2 и 3).
Рис. 2. Технологическая последовательность устройства буронабивной сваи:
а – установленные в обсадную трубу арматурный каркас, бетонолитная труба и рабочая платформа, воспринимающая и передающая вдавливающую нагрузку; б – схема подачи бетонной смеси и частично забетонированная (нижняя секция) буронабивная свая; в – схема подачи бетонной смеси в верхнюю секцию и забетонированные I и II секции сваи: 1 – контур сваи; 2 – обсадная труба; 3 – резцы; 4 – арматурный каркас; 5 – арматурные стержни средней части каркаса; 6, 7 – диски-хомуты; 8 – арматурные стержни верхней части каркаса; 9 – упорные шайбы; 10 – поперечные арматурные стержни (хомуты) каркаса; 11 – бетонолитная труба; 12 – рабочая платформа для восприятия и передачи нагрузки; 13 – воронка бетонолитной трубы (разработано авторами)
Fig. 2. Open bore pile flow sheet:
a – casing-held reinforcing cage, tremie pipe and work platform receiving and transmitting squeeze load; b – concrete mixture flowchart and partially concreted (bottom section) open bore pile; c – concrete mixture flowchart for the top section and concreted pile sections I and II: 1 – pile contour; 2 – casing pipe; 3 – cutters; 4 – reinforcing cage; 5 – middle-part reinforcing bars; 6, 7 – clamping discs; 8 – upper-part reinforcing bars; 9 – thrust washers; 10 – reinforcing cage crossbars (clamps); 11 – tremie pipe; 12 – work platform to receive and transmit load; 13 – tremie funnel (developed by the authors)
Рис. 3. Последовательность устройства буронабивной сваи:
а – бетонирование верхней части сваи; б – схема готовой буронабивной сваи с извлеченной частью обсадной трубы и бетонолитной трубы: 1 – контур сваи; 2 – часть извлеченной обсадной трубы; 8 – арматурные стержни; 10 – поперечный хомут; 11 – часть бетонолитной трубы; 13 – воронка бетонолитной трубы (разработано авторами)
Fig. 3. Open bore pile flow sheet:
a – concreting the top pile section; b – finished open bore pile flowchart with the retrieved casing and tremie part: 1 – pile contour; 2 – retrieved casing part; 8 – reinforcing bars; 10 – crosshead clamp; 11 – tremie part; 13 – tremie funnel (developed by the authors)
Бетонирование производят методом вертикально перемещаемой трубы (ВПТ). Количество и длина секций бетонолитной трубы 11 (рис. 2) зависят от глубины сваи. На рис. 2, а представлены установленные в обсадную трубу арматурный каркас и бетонолитная труба. Сверху арматурного каркаса (последняя секция) установлена рабочая металлическая платформа 12, поверхность которой с тыльной стороны перфорирована для вдавливания верхней и средней секций арматурного каркаса, при этом уширяется только средняя часть, так как продольные арматурные стержни верхней части жестко закреплены упорными шайбами 9 к диску-хомуту 7. Вдавливание происходит за счет передачи нагрузки на рабочую платформу 12 с помощью любого устройства для вдавливания строительных конструкций или аналогичного устройства, рассмотренного в патенте [15]. Как видно на рис. 2, б, за счет вдавливания платформа 12 опускается вниз, а секция арматурного каркаса в зоне слабого грунта (II) уширяется (стержни арматурного каркаса данной секции максимально приближены к стенкам обсадной трубы). Схема уширенной секции каркаса приведена также на узле 1, б рис. 1.
В дисках-хомутах 6, 7, а также на рабочей платформе 12, предназначенной для передачи вдавливающей нагрузки на стержни каркаса, предусмотрены отверстия необходимого диаметра, через которые проходят звенья бетонолитной трубы для подачи бетонной смеси, при этом минимальное расстояние от забоя скважины до конца нижнего звена трубы принимается 10 см. Бетонная смесь заполняется через воронку 13, установленную на верхнем звене бетонолитной трубы.
Секции обсадной трубы и звенья бетонолитной трубы извлекаются по мере заполнения скважины бетонной смесью. Например, на рис. 2, б представлена заполненная бетонной смесью часть скважины, где расположена нижняя секция арматурного каркаса. Обсадная труба и бетонолитная труба находятся на уровне средней и верхней секций арматурного каркаса. Вдавливание средней секции арматурного каркаса для образования уширения выполняется синхронно с извлечением необходимых секций обсадной трубы и звеньев бетонолитной трубы. На рис. 2, в представлены заполненные бетонной смесью нижние и средние секции буронабивной сваи.
Далее выполняются работы по бетонированию, извлечению последних секций обсадной трубы и звеньев бетонолитной трубы верхней части скважины (рис. 3).
Технология, подобная описанной технологии устройства буронабивной сваи с уширением, рассмотрена авторами в патенте [16], однако данная технология и конструктивные особенности предлагаемой сваи имеют некоторые преимущества:
- отсутствие в забое скважины металлической пластины, на которую опирается арматурный каркас;
- взамен патрубка, соединяющего стержни нижней и средней части арматурного каркаса, используется диск-хомут, применение которого более надежно обеспечивает прочность сваи;
- имеющаяся в верхней части арматурного каркаса рабочая платформа (впоследствии снимается для дальнейшего использования), воспринимающая необходимую нагрузку от толкателя или любого устройства для вдавливания строительных конструкций, позволяет трансформировать уширяемую часть каркаса до необходимых размеров. Нагрузка для уширения определяется расчетом, при этом учитываются диаметры арматурных стержней и их количество, необходимое для уширения сваи.
Вывод. Предлагаемая усовершенствованная технология устройства буронабивной сваи, основная цель которой – повысить эксплуатационную надежность строящихся или реконструируемых объектов недвижимости, отличается большей эффективностью, поскольку снижается материалоемкость за счет извлечения обсадной трубы (в зонах слабых грунтов обычно используются неизвлекаемые обсадные трубы) и, как было отмечено выше, в забое скважины отсутствует металлическая пластина, что приводит к сокращению трудозатрат.
Средняя секция арматурного каркаса многофункциональная, так как с ее помощью обеспечивается также уширение (в том числе контролируемое) сваи в слабых зонах грунтов, что исключает необходимость применения традиционных уширителей и тем самым приводит к снижению трудозатрат.
About the authors
Susanna G. Abramyan
Volgograd State Technical University
Author for correspondence.
Email: susannagrant@mail.ru
PhD in Engineering Science, Associate Professor, Associate Professor of the Construction Production Technologies Chair
Russian Federation, 400005, Volgograd, Lenin Av., 28Nikolay Al. Fomenko
Volgograd State Technical University
Email: kafedra_tsp@mail.ru
PhD in Engineering Science, Associate Professor, Associate Professor of the Construction Production Technologies Chair
Russian Federation, 400005, Volgograd, Lenin Av., 28Oganes V. Oganesyan
Branch of Russian Railways
Email: ogoganesyan@mail.ru
Chief Engineer Branch of Russian Railways, Directorate of Railway Stations
Russian Federation, 115054, Moscow, Paveletskaya sq., 1aReferences
- Samokhvalov M.A., Gejdt A.V., Paronko A.A. Review of existing designs of drill-and-injection anchor piles. Vestnik MGSU [Monthly Journal on Construction and Architecture], 2019, no. 14(12), pp. 1530‒1554. (in Russian) doi: 10.22227/1997-0935.2019.12.1530-1554
- Salnyi I., Stepanov M., Karaulov А. Experience in strengthening foundations and foun-dations on technogenic soils. E3S Web of Conferences. 2022. V. 363. Article number 02004. doi: 10.1051/e3sconf/202236302004
- Abramyan S.G., Simakov V.S., Protopopov D.N. Technologies for Reinforcing Footings and Foundations of Buildings With Auger Cast Piles Inzhenernyj vestnik Dona [Engineering Bulletin of Don], 2021, no. 4. (in Russian) Available at: http://www. ivdon.ru/ru/magazine/archive/n4y2022/7579
- Chernuk V.P., Semianiuk S.M., Yuskovich V.I., Shlyahova. E.I. Bored Piles with a wide Base – a Worthy Alternative to Driven Piles. Vestnik Brestskogo gosudarstvennogo tekhnicheskogo universiteta. [Vestnik of Brest State Technical University], 2021, no. 2 (125), pp. 35–37. (in Russian)
- Fedorov V.S., Kupchikova N.V. Device Technology, Terminal Broadening of the Piles and Their Impact on the Shaping of Structures of the Foundation. Inzhenerno-stroitel’nyi vestnik Prikaspiya [Engineering and Construction Bulletin of the Caspian Region], 2019, no. 1 (27), pp. 40–56. (in Russian)
- Sokolov N.S. Technological Methods of Installation of Bored-Injection Piles with Multiple Enlargements. Zhilishchnoe stroitel’stvo [Housing Construction], 2016, no 10, pp. 54 – 59. (in Russian)
- Monteiro Fernando, Cunha Renato, Aguiar Marcos and Silva Carlos. (2021). Settlement of bored piles with expander body system in lateritic soils. REM - International Engineering Journal. 74. 309-318. doi: 10.1590/0370-44672020740057
- Aleksandr Paronko, Mikhail Samokhvalov, Oleg Ashikhmin, and Vladimir Gejdt (2023). The results of strengthening the foundation with a bored pile with an enlarged pile base. E3S Web of Conferences 371, 02009. doi: 10.1051/e3sconf/202337102009
- Feng, Yu Qin, and Lu Zhang. “Application and Discussion of Pressure Grouting Technology in Bored Piles.” Applied Mechanics and Materials, vol. 351–352, Trans Tech Publications, Ltd., Aug. 2013, pp. 487–491. doi: 10.4028/ href='www.scientific.net/amm.351-352.487' target='_blank'>www.scientific.net/amm.351-352.487
- Luisa María Gil-Martín, Enrique Hernández-Montes, Myoungsu Shin and Mark Aschheim. (2012). Developments in excavation bracing systems. Tunnelling and Underground Space Technology. 31. 107-116. doi: 10.1016/j.tust.2012.03.002
- Vshivkov A.S., Bochkareva T.M. The use of composite materials in the device technology of bored piles in the casing. Vestnik Permskogo natsional’nogo issledovatel’skogo politekhnicheskogo universiteta. Stroitel’stvo i arkhitektura [PNRPU Bulletin Construction and architecture], 2016, vol. 7, no. 2, pp. 69‒75. . (in Russian) doi: 10.15593/2224-9826/2016.2.07
- Husin Albert, Agusma Divy and Imron Ali. (2024). Works Analysis of Bored Pile, Pile Cap, and Secant Pile based on System Dynamic Model in Residential High-rise Building Projects. 020023. doi: 10.1063/5.0144134
- Bogdanova O.V., Dokudovskaya D.I. Problems of installation of bored piles in urban development in conditions of weak soils of the city of Rostov-on-Don. Inzhenernyj vestnik Dona [Engineering Bulletin of Don], 2018, no. 2. (in Russian) Available at: http://www.ivdon.ru/ru/magazine/archive/n2y2018/5025
- Abramyan S.G., Chereshneva N.V., Oganesyan O.V., et al. Soil stabilizing technologies for earth foundations of construction systems using augured piles and drilled-in piles: Overview of patent information. Vestnik evraziiskoi nauki [The Eurasian Scientific Journal], 2023, 15(6), 18SAVN623. Available at: https://esj.today/PDF/18SAVN623.pdf. (in Russian)
- Kashka S.B., Presnyakov B.M., Bovchalyuk P.I. Ustroistvo dlya vdavlivaniya stroitel’nykh konstruktsii [Device for pressing in building structures]. Patent RF, no. 99100493, 2000.
- Abramyan S.G., Fomenko N.A., Oganesyan O.V. Buronabivnaya svaya [Bored pile]. Patent RF, no. 2023134516, 2024.
Supplementary files





